- Causes des pannes et leur élimination
- Problème n ° 1 - manque de traction dans la colonne
- Problème n ° 2 - Difficultés avec la pression de l'eau
- Problème n ° 3 - pression de gaz insuffisante
- Problème n ° 4 - pas d'allumage lorsqu'il est allumé
- Problème n ° 5 - la présence de blocages dans les tubes
- La mèche ne s'allume pas
- Défaillances électroniques
- Si le geyser s'éteint pendant le fonctionnement
- Méthodes de prévention
- S'allume mais s'assombrit
- Comment réparer les codes de chaudière?
- Erreur de surchauffe de la chaudière
- Basse pression du système
- Il n'y a pas de tirage de chaudière à gaz
- La chaudière n'allume pas la flamme lorsqu'elle est allumée
- La chaudière est allumée, mais la flamme s'éteint immédiatement
- Le panneau donne des erreurs incorrectes
- Réglage de la flamme du geyser
- Dépannage en raison duquel le geyser ne s'enflamme pas
- Pas assez chargé
- En savoir plus sur les piles
- Conseils sur la batterie
- La structure générale d'une colonne ménage
Causes des pannes et leur élimination
Malgré la simplicité de conception, le fonctionnement sans prétention, le chauffe-eau instantané n'est pas à l'abri des pannes. Si le geyser de la marque Vector ne s'allume pas, pas de panique. Il peut y avoir plusieurs raisons au problème, et la plupart d'entre elles peuvent être résolues par vous-même.
Problème n ° 1 - manque de traction dans la colonne
L'absence de tirage indique que les produits de combustion ne peuvent pas être évacués rapidement de la pièce. Cela représente un danger pour les utilisateurs, donc le capteur éteint le geyser.
Parfois, le brûleur s'allume, mais s'éteint immédiatement. Cela peut se produire lorsqu'il n'y a pas assez d'air pour brûler le gaz - la flamme s'éteint en raison d'un manque d'oxygène pour soutenir la combustion.
Dans tous les cas, vous devez d'abord vérifier le tirage en apportant une allumette brûlante dans un trou spécial sur le corps de la colonne. Si la flamme est dirigée vers l'intérieur, la cheminée fonctionne normalement, les produits de combustion seront rapidement éliminés et la cause du dysfonctionnement est différente. Si la flamme reste immobile, dirigée vers le haut ou vers l'utilisateur, il convient d'inspecter soigneusement la cheminée et de la nettoyer.
La suie pénètre dans l'air avec les produits de combustion. Il s'installe progressivement sur les parois de la cheminée, rétrécissant son ouverture. En conséquence, la traction est perdue. Le problème est résolu par un nettoyage en profondeur de la cheminée
Problème n ° 2 - Difficultés avec la pression de l'eau
Une autre raison pour laquelle le gaz domestique ne s'enflamme pas colonne de la marque Vector, il peut y avoir une faible pression d'eau froide ou son absence totale. Avant de commencer à chercher une solution au problème, vous devez vous assurer que l'eau froide est fournie sans interruption, évaluer sa pression. Si la pression d'eau dans le système est insuffisante, l'installation d'une pompe ou le remplacement de vieux tuyaux bouchés peut être une solution.
S'il n'y a pas de problème d'alimentation en eau, il vaut la peine de passer à l'inspection de la colonne. La solution au problème peut être d'ajuster l'alimentation en eau de la colonne. Pour ce faire, la vanne correspondante doit être complètement ouverte.
Une autre cause de pression d'eau insuffisante dans la colonne est un filtre obstrué.Pour l'inspecter, il est nécessaire de couper l'alimentation en eau et en gaz avec des vannes, dévisser les écrous, rincer la grille. Si le nettoyage échoue, le filtre devra être remplacé.
Il faudra quelques minutes pour inspecter le filtre. Cependant, dans certains cas, un rinçage ne suffit pas, un remplacement complet de la pièce est nécessaire.
Problème n ° 3 - pression de gaz insuffisante
Parfois, la pression du gaz n'est pas suffisante pour enflammer la colonne d'écoulement, son fonctionnement normal. Cependant, ce problème ne peut pas être résolu par lui-même. Vous devez contacter le service de gaz.
Problème n ° 4 - pas d'allumage lorsqu'il est allumé
La présence d'un système d'allumage électrique assure le confort d'utilisation de la colonne de gaz, élimine l'utilisation d'une mèche constamment en feu. Or c'est cet élément qui peut engendrer un dysfonctionnement de l'appareil.
Lorsque le robinet est ouvert, l'allumage automatique doit fonctionner. Cette action s'accompagne d'une fissure caractéristique. Si l'allumage ne fonctionne pas ou si l'étincelle est trop faible pour allumer le gaz, la colonne ne pourra pas se connecter. Le remplacement des piles résoudra ce problème.
Les piles sont nécessaires au bon fonctionnement d'un chauffe-eau instantané. Lorsque les batteries sont déchargées, l'allumage électrique ne fonctionne pas, la colonne ne s'allume pas
Problème n ° 5 - la présence de blocages dans les tubes
L'eau et le gaz traversent la colonne de gaz Vector en cours de fonctionnement. L'utilisation de filtres vous permet de les nettoyer des impuretés inutiles. Cependant, la présence de blocages peut empêcher l'appareil de s'allumer.
Cependant, le filtre n'est pas toujours en mesure d'amener l'eau à un état idéal. Les sels solubles pénètrent à l'intérieur de l'appareil de chauffage avec le liquide, se déposent sur les parois de l'échangeur de chaleur.En conséquence, la perméabilité des tubes minces est altérée.
Les spécialistes éliminent le tartre à l'aide de réactifs spécialisés. Un maître de maison peut y remédier en utilisant une solution d'acide citrique ou de vinaigre. Pour nettoyer l'échangeur de chaleur, vous devez le retirer, le placer dans une solution chaude additionnée de vinaigre. Vous pouvez également utiliser des produits spéciaux achetés - "chimie" conçus pour nettoyer les échangeurs de chaleur.
Il est préférable de confier l'élimination du blocage de l'échangeur de chaleur à des artisans qualifiés, car les tubes sont fragiles et, en l'absence de compétences spécialisées, ils sont faciles à endommager
Nous avons discuté en détail du nettoyage et de la réparation de l'échangeur de chaleur dans l'article suivant.
La mèche ne s'allume pas
Si la colonne s'enflamme, mais très mal, il peut y avoir plusieurs raisons. Considérons chacun d'eux:
- Si l'élément piézoélectrique ne fonctionne pas, dans les modèles Astra et Zerten, il peut y avoir des problèmes avec l'allumeur. La mèche doit toujours brûler et elle fonctionne lorsque le robinet est ouvert ou lorsque le bouton correspondant est enfoncé. Si l'élément ne fonctionne pas, la mèche ne brûle pas, alors les jets de la colonne pourraient se boucher. Pour cela, démontez l'appareil, retirez la protection métallique ou le carter et nettoyez l'obstruction du gicleur. Il est préférable de le faire avec un fil fin. Habituellement, après avoir nettoyé le jet, la colonne fonctionne bien. C'est l'une des raisons pour lesquelles la colonne de gaz Astra et d'autres appareils similaires ne s'allument pas.
- Un autre cas est celui des haut-parleurs automatiques qui s'allument longtemps. Le système d'allumage automatique de la colonne fonctionne sur batterie. Lorsque le robinet est ouvert, l'appareil se déclenche et une puissante étincelle se forme, qui allume le brûleur de la colonne.S'il n'y a pas d'étincelle, cela vaut la peine d'essayer de remplacer les piles, mais il est préférable d'installer des piles.
- Le générateur du système hydrodynamique peut également tomber en panne. Le générateur tourne lorsque l'eau le traverse. L'unité, lors de la rotation, génère un courant, à partir duquel une étincelle est alors formée. Si c'est la raison pour laquelle le geyser ne s'allume pas, alors il vaut mieux confier la réparation à des professionnels.

Défaillances électroniques
La présence dans les modèles modernes d'une grande présence de composants électroniques, d'une part, assure une sécurité élevée de l'appareil et une facilité d'utilisation, d'autre part, complique le dépannage et les réparations ultérieures.
Les causes de dysfonctionnement de l'électronique sont principalement liées à l'influence de facteurs externes - chutes de tension dans le réseau, décharges de foudre tombées dans les principales conduites de gaz et eau provenant de fuites à l'intérieur de l'appareil pénétrant sur les cartes. De plus, la défaillance de composants électroniques individuels due à des défaillances de l'électronique elle-même ne peut être exclue.
La raison pour laquelle le vecteur geyser ne s'allume pas peut être un dysfonctionnement de l'électronique et les situations suivantes peuvent se produire :
- Absence d'étincelle lors de l'allumage ;
- Tableau de bord numérique éteint ;
- L'appareil ne démarre pas la première fois ;
- Lorsqu'il fonctionne, il affiche constamment un signal d'alarme ;
- Le système de protection fonctionne constamment;
- L'appareil s'allume, puis s'éteint à nouveau ;
- Le diagnostic d'une panne commence généralement par la vérification des batteries, les batteries anciennes ou déchargées doivent être remplacées par des neuves. S'il y a des traces d'électrolyte sortant vers les bornes, elles doivent être nettoyées.
Si cette opération n'a pas conduit à un dépannage de l'appareil, vous devez appeler l'assistant pour vérifier le boîtier électronique. Le plus souvent, dans de tels modèles, l'unité électronique ne peut pas être réparée, elle est simplement remplacée par une nouvelle. Lors du remplacement du bloc, le maître doit examiner tous les nœuds de l'appareil, et lors de la connexion d'un nouveau bloc, en plus, tester le système et configurer ses paramètres
Une attention particulière est portée à la présence de fuites au niveau des joints des nœuds et à l'intégrité de l'échangeur de chaleur
Si le geyser s'éteint pendant le fonctionnement
Il n'y a pas de traction.
Si la fenêtre est bien fermée dans la pièce, il n'y a pas d'entrée d'air frais, la colonne surchauffe et l'automatisation est activée, ce qui l'éteint. Si après cela, vous avez ouvert la fenêtre, après 10 minutes, vous avez allumé la colonne et que cela fonctionne, la raison a été trouvée.
Le tirage diminue également lorsque le conduit de ventilation est obstrué. Pour vérifier le brouillon, vous devez ouvrir la fenêtre et fermer le canal avec une feuille de papier: si la feuille tient, le brouillon est normal. Vous pouvez aussi le vérifier avec une allumette allumée près du conduit d'évacuation : si la flamme devient horizontale, alors le tirage est bon, sinon, il faut nettoyer le conduit.
Dysfonctionnements du nœud d'eau.
Le brûleur de la colonne de gaz peut également s'éteindre en cas de pression d'eau insuffisante. La raison en est peut-être une crépine bouchée. Pour le nettoyer, vous devez dévisser l'alimentation en eau et nettoyer la maille.
Réparer les fuites dans les connexions.
Un robinet doit être installé sur le tuyau qui alimente en eau le radiateur à colonne de gaz, et un robinet doit également être installé sur le tuyau par lequel le gaz est fourni.Tous les raccords de plomberie sont réalisés avec des écrous-raccords et l'étanchéité est réalisée avec des joints en caoutchouc.
De la différence de température et au fil du temps, l'élasticité des joints diminue - cela conduit au fait que l'eau s'écoule des joints. Les joints doivent être remplacés périodiquement. Si un joint n'est pas suffisant et que de l'eau s'écoule du raccord, deux joints doivent être installés.
Nous nettoyons l'allumeur.
Après un certain temps, l'allumeur se bouche avec de la suie, la flamme de la mèche diminue et le gaz sortant du brûleur ne s'enflamme pas immédiatement. Si le gaz s'accumule, une explosion peut se produire. Pour l'éviter, il est urgent de nettoyer l'allumeur.
Les trous d'aération doivent être nettoyés. Pour ce faire, le jet est retiré et la buse est nettoyée avec un fil fin. Certaines enceintes ont un allumage électrique automatique, mais cela présente des inconvénients : avec une faible pression d'eau, cela fonctionne de manière instable, les piles doivent être changées périodiquement.
Méthodes de prévention

Afin de ne pas avoir à manipuler l'appareil trop souvent ou à appeler constamment le service de réparation, vous devez respecter les règles suivantes :
- Réglez la température au niveau optimal afin qu'il ne soit pas nécessaire de diluer l'eau, le tartre n'apparaîtra pas si rapidement. Afin de ne pas avoir à régler la colonne à chaque saison, il est préférable de choisir un modèle qui mémorise le réglage des modes hiver et été.
- Pour éliminer les sels de l'eau à haute dureté, vous pouvez installer un système électromagnétique qui purifiera le liquide.
- Un nettoyage régulier de la cheminée et des pièces du système de chauffage de l'eau est nécessaire.
- Les haut-parleurs modernes dotés d'un contrôleur électronique intégré sont mieux connectés au réseau via un stabilisateur et non éteints la nuit.
- Si la longueur du tuyau dépasse 3 mètres, la pression lors de l'alimentation en gaz diminuera considérablement.
- Lorsque la colonne est en marche, il est préférable d'ouvrir la fenêtre, une manière aussi simple vous permettra d'obtenir beaucoup d'air pour le fonctionnement normal de l'unité.
- La cheminée et les parties rapidement poussiéreuses de la colonne doivent être périodiquement vérifiées pour la saleté, les toiles d'araignées et autres et se débarrasser d'eux avec des brosses et un aspirateur.
Signes indiquant qu'une maintenance préventive et une inspection technique non planifiées par un spécialiste étaient nécessaires :
- la pression dans l'alimentation en eau est normale, mais l'échangeur de chaleur fonctionne encore pendant une courte période;
- l'unité est constamment éteinte ou ne fonctionne pas en principe, bien que l'alimentation en gaz et en eau soit effectuée en mode optimal;
- souvent, sans raison, une protection thermique se déclenche, provoquant un arrêt du système en fonctionnement ;
- le chauffage de l'eau est réduit, bien qu'il n'y ait aucune violation notable du travail.
Pour vérifier la colonne de l'intérieur, vous devez retirer le boîtier supérieur. Cela se fait à l'aide d'un tournevis cruciforme, qui dévisse la vis située sur la poignée pour fixer la valve de blocage de gaz.
La poignée elle-même s'enlève en tirant sur elle-même. Ensuite, avec un tournevis plat, les vis de fixation du boîtier sont retirées, après quoi il peut être retiré.
Les tâches principales de la maintenance programmée consistent à vérifier les performances globales, à inspecter la colonne à l'intérieur et à l'extérieur pour trouver les endroits qui doivent être nettoyés de la poussière et de la saleté, et à évaluer l'état de l'échangeur de chaleur aussi précisément que possible.
La maintenance préventive et les contrôles périodiques vous permettent d'augmenter la durée de vie de l'appareil grâce à la détection rapide des problèmes de fonctionnement de la colonne.
Le travail lui-même doit généralement être effectué une fois par an, mais si la colonne est déjà ancienne et souvent indésirable, s'il est impossible de la remplacer, des contrôles doivent être organisés plus souvent.
Il est préférable de confier la vérification annuelle à des professionnels des services spécialisés en gaz, car ils seront en mesure de déterminer exactement dans quel état se trouve l'appareil.
Un entretien de qualité comprend généralement un démontage complet de tous les équipements, à la recherche de défauts et de zones de dommages pouvant entraîner des interruptions de fonctionnement du distributeur.
En outre, chaque pièce principale est nettoyée (nettoyage humide et sec), réglage de tous les composants du chauffe-eau à gaz ou les ramener à leur position d'origine, reconnecter et tester l'état de fonctionnement.
S'allume mais s'assombrit
Considérons quelques instants où la colonne s'estompe quelque temps après l'allumage et quels sont les moyens de résoudre ce problème :
L'une des raisons est un tirage insuffisant en raison du manque de circulation d'air à l'intérieur de la pièce où se trouve l'appareil.
Essai de traction
Cela se produit lorsque les fenêtres et les portes sont bien fermées. Pour cette raison, le relais de protection surchauffe, le capteur de surchauffe se déclenche.
Vous pouvez l'éliminer en ouvrant une fenêtre ou une fenêtre, en créant un courant d'air dans la pièce. Le chauffage au gaz brûle une très grande quantité d'oxygène pendant le fonctionnement, donc un apport constant d'air frais est nécessaire pour son fonctionnement.
La deuxième raison de l'atténuation de la colonne peut être un temps de maintien insuffisant du bouton d'allumage. Il doit être maintenu pendant au moins 20 secondes, si vous le maintenez pendant un temps plus court, la colonne s'éteindra.
Un dysfonctionnement du capteur d'évacuation des produits de combustion est le point suivant. Pour vérifier le capteur, vous devez le faire sonner en connectant deux bornes.Normalement, la résistance doit indiquer l'infini. Si la lecture est différente, le capteur devra être remplacé.
Forte pression d'eau froide et faible chaleur - cette situation provoque également souvent la décoloration du chauffe-eau. Cela se produit lorsque vous ouvrez un robinet d'eau froide avec de l'eau chaude. Pour éliminer ce problème, il est nécessaire d'ajuster l'alimentation en eau de manière à ne pas avoir à ouvrir l'eau froide pour diluer l'eau chaude. De plus, il s'agit d'un fonctionnement incorrect de l'appareil, ce qui peut endommager l'appareil de chauffage.
Une pression d'eau élevée peut entraîner un amortissement. Ce problème est particulièrement typique du modèle Lux Eco, qui est conçu pour fonctionner avec une faible pression d'eau. Dans le même temps, la forte pression du conduit plie la membrane de l'unité d'eau, la membrane déplace la tige dans l'alimentation en gaz. Il est nécessaire de régler l'alimentation en gaz ou, si possible, de régler la pression de l'eau.
Le capteur de température s'est déclenché, ce qui protège l'appareil contre la surchauffe.
Vecteur de capteur de température de colonne
Pendant un certain temps après l'allumage, le chauffage fonctionne, puis il s'estompe à nouveau. Si vous essayez d'allumer immédiatement l'appareil, il n'y aura aucun résultat. Au bout d'un moment, environ 25 minutes, le brûleur s'allume, puis s'éteint à nouveau. Le problème est que le capteur est trop sensible. Dans ce cas, seul son remplacement aidera.
Mauvais contact entre le thermocouple et l'électrovanne.
Si le thermocouple est en bon état, il est nécessaire de nettoyer les contacts et l'automatisme.
La conception de l'allumeur lui-même (le dispositif permettant de générer une étincelle électrique).L'électrode est montée de manière à ce que l'étincelle tombe sur le peigne, qui est soudé au bord du brûleur à gaz à une distance d'environ 12 mm de sa sortie. À condition que l'alimentation en gaz soit réglée sur une faible pression d'eau, le gaz quitte le brûleur dans un petit volume et à faible vitesse.
Compte tenu du fait qu'une petite poussée inverse se forme presque toujours à l'intérieur du système, un faible niveau de gaz descend sous la pression de cette poussée, n'atteignant pas l'étincelle. Cette situation peut être corrigée en pliant l'électrode du peigne à un niveau auquel l'étincelle ne tombe pas sur le peigne, mais à travers le gaz exactement au centre du brûleur. Après avoir effectué de telles manipulations, l'appareil s'enflamme presque toujours, l'allumage est rapide, stable et doux.
La formation de trous entre le conduit de fumée, les tuyaux de raccordement du dispositif de conduit de fumée et la cheminée, entre des sections individuelles du conduit de fumée. Il est déterminé visuellement, pour l'éliminer, il est nécessaire de sceller les espaces avec du ruban adhésif résistant à la chaleur ou d'autres matériaux résistants aux températures élevées.
Comment réparer les codes de chaudière?
Erreur de surchauffe de la chaudière
Un dysfonctionnement de la chaudière à gaz sous forme de surchauffe peut survenir en raison d'un manque de circulation. Dans ce cas, vous devez vérifier la pompe et le filtre. Peut-être que le thermostat de surchauffe est cassé.
Basse pression du système
Si la pression n'augmente pas lorsque la chaudière est chauffée, l'étanchéité du système peut simplement être rompue et les connexions doivent être resserrées, après quoi un peu de pression doit être ajoutée. Si ce problème survient presque immédiatement après l'installation de la chaudière, il vous suffit de retirer l'air par le purgeur d'air automatique et d'ajouter un peu d'eau.
Il n'y a pas de tirage de chaudière à gaz

Si la chaudière a une chambre de combustion ouverte, il suffit de voir si elle est obstruée par quelque chose. Si la chambre de combustion est fermée, le condensat s'égoutte du tuyau extérieur, pénètre dans le tuyau intérieur et gèle, en hiver, il se transforme en glaçon, bloquant l'accès de l'air à la chaudière. Pour éliminer ce problème, il est nécessaire de verser le glaçon résultant avec de l'eau chaude. Un autre objet étranger peut également pénétrer dans la cheminée.
La chaudière n'allume pas la flamme lorsqu'elle est allumée
Cela indique un dysfonctionnement de la vanne gaz de la chaudière. Pour vérifier cela, vous pouvez dévisser le tuyau et voir si le gaz est fourni. S'il y a du gaz, vous devez appeler un spécialiste qui remplacera cette vanne.
La chaudière est allumée, mais la flamme s'éteint immédiatement
Dans ce cas, le panneau peut indiquer un dysfonctionnement de la chaudière à gaz sous la forme d'un manque de courant d'ionisation. Vous devez vérifier cela en rallumant la chaudière, en retournant la fiche, en changeant ainsi les phases. Si rien n'a changé, le fonctionnement du courant d'ionisation peut être perturbé en raison de travaux électriques dans la maison. Si la chaudière éteint périodiquement la flamme, cela est dû à des surtensions et un stabilisateur est nécessaire.
Le panneau donne des erreurs incorrectes
Parfois, des erreurs de carte électronique peuvent se produire. Cela se produit à cause d'une mauvaise électricité et d'une alimentation électrique de mauvaise qualité. De là, certaines charges parasites surviennent sur les cartes, à cause desquelles de telles erreurs sont observées. Pour éliminer cela, vous devez déconnecter la chaudière du réseau et la laisser reposer pendant environ 30 minutes. Les condensateurs se déchargeront pendant ce temps et ces charges inutiles disparaîtront. Après cela, la chaudière devrait bien fonctionner.
En général, c'est tout. Si le matériel vous a été utile, n'oubliez pas de le partager en cliquant sur les boutons de médias sociaux sous ce texte.
Découvrez également comment choisir la bonne chaudière à gaz pour qu'il n'y ait plus de problèmes à l'avenir :
Lire aussi :
Réglage de la flamme du geyser
Une autre façon de régler le chauffe-eau consiste à modifier l'alimentation en gaz du brûleur. Cela se fait en ajustant la flamme. Sur le corps des chaudières à eau chaude automatiques et semi-automatiques se trouve un bouton de réglage du gaz qui réduit et augmente l'apport de combustible bleu. La puissance de la colonne dépend de ce levier.
Avec une augmentation de la flamme, le chauffage se produit plus intensément, la consommation de gaz augmente. Les experts recommandent de modifier le débit de gaz pour affiner la flamme du brûleur. Après avoir choisi l'intensité de la combustion, pour des réglages supplémentaires, utilisez le bouton pour modifier la pression de l'eau. Une autre façon de changer la température de combustion est de changer le mode hiver-été.
Pour réduire les coûts de gaz dans les modèles semi-automatiques, vous pouvez régler l'allumeur. Le réglage de la mèche s'effectue au moyen d'un boulon spécial sur le brûleur pilote. Les changements doivent être effectués avec soin. Si la flamme de l'allumeur est trop réduite, le chauffe-eau refusera de fonctionner. Une forte augmentation de l'intensité de la flamme entraînera un important gaspillage de gaz.
La colonne fait référence aux équipements à gaz complexes. Le réglage fin et la maintenance doivent être effectués par un assistant agréé. Vous pouvez modifier indépendamment l'intensité du débit d'eau et la pression du gaz en ajustant vous-même le mode de fonctionnement du chauffe-eau.
Dépannage en raison duquel le geyser ne s'enflamme pas
Il y a un geyser turbocompressé avec allumage électrique. Lorsque l'eau chaude est activée, la colonne émet un clic, mais ne s'allume pas.Une décharge électrique se fait entendre, le ventilateur se met en marche.
La première étape consiste à inspecter, pour cela nous retirons le couvercle de la colonne. Il est monté sur quatre boulons : deux par le bas, deux par le haut. Nous supprimons également les boutons pour le régulateur de flamme, la température, le mode hiver-été. À l'examen, tout semble être intact, les fils n'ont brûlé nulle part, l'eau ne fuit nulle part.
Le principe de fonctionnement est que lorsqu'un écoulement d'eau apparaît, la vanne de gaz est activée, une décharge électrique est créée, le gaz est allumé et en même temps le ventilateur est allumé pour évacuer les produits de combustion usés dans la rue. Si la pression de l'eau est insuffisante ou si la hotte ne fonctionne pas, le gaz s'éteint, la colonne s'éteint.
Alors, ouvrez le robinet et voyez ce qui se passe. L'eau bruissait à travers les tubes de l'échangeur de chaleur, les électrodes donnaient une décharge, le ventilateur s'allumait, mais le gaz ne s'enflammait pas. Vérifions si le relais (micro-interrupteur) fonctionne, ce qui fonctionne avec une pression d'eau suffisante et ouvre la vanne d'alimentation en gaz. Pour cela, tournez à nouveau le robinet, la languette du relais doit s'éloigner.
Cela fonctionne, ce qui signifie que la pression est suffisante pour le fonctionnement de la colonne de gaz. Vérifions maintenant le fonctionnement de la vanne gaz. Pour ce faire, utilisez un tournevis pour déplacer la même languette sans ouvrir l'eau. S'il y a une étincelle sur les électrodes et que le ventilateur démarre, la vanne de gaz fonctionne.
Le défaut a été trouvé assez rapidement, l'électrode d'allumage n'a pas produit d'étincelle. Il y en a deux : extrême. Celui du centre est celui de contrôle, en l'absence de flamme, il coupe l'alimentation en gaz.
Pas assez chargé
Lorsque vous ouvrez l'eau, vous observez un débit normal, lorsque vous l'allumez, il y a un clic caractéristique, une étincelle se forme et tout en général est visuellement bon. Mais il y a un point notable: le brûleur lui-même dans la colonne de gaz ne s'enflamme pas. Si vous regardez par la fenêtre, il n'y a pas de flamme. C'est la raison pour laquelle il n'y a pas d'eau chaude. Le propriétaire n'a pas d'eau chaude, de ce fait il y a beaucoup de désagréments. Cette cause doit être éliminée au plus vite.
La raison du dysfonctionnement et du manque d'eau chaude réside dans un phénomène tout à fait simple. Lorsque les piles cessent de fonctionner, la colonne cesse de fonctionner. Il ne chauffe pas et donc l'alimentation en eau chaude s'arrête.
La charge de la batterie dans les dernières étapes est juste suffisante pour la formation d'une étincelle. Par conséquent, visuellement vous observez une étincelle, il y a aussi un clic perceptible. Mais l'énergie de la batterie n'est pas suffisante pour allumer le brûleur lui-même.
Remplacer les piles vous-même n'est pas difficile. Pour ce faire, ouvrez la boîte avec les piles et retirez-les. Ensuite, vous devez remplacer par de nouvelles batteries puissantes de haute qualité.
En savoir plus sur les piles
La polarité de la batterie est importante. Si vous insérez des piles sans tenir compte de leur polarité, la colonne ne s'allumera pas. Les piles peuvent parfois se coincer dans la boîte, alors gardez un œil sur elles.
Les batteries sont remplacées par des batteries neuves fonctionnelles sous réserve de deux critères principaux :
- la polarité des piles doit être prise en compte ;
- la fermeture du boîtier, qui est conçu pour les piles, doit se faire jusqu'à un déclic caractéristique.
Les batteries utilisées dans les chauffe-eau à gaz doivent être de type D (c'est-à-dire des batteries baril). Les options de sel ne conviennent pas car elles ont la capacité d'échouer rapidement.Dans la plupart des cas, les piles alcalines sont utilisées pour les chauffe-eau à gaz. D'une autre manière, elles sont appelées piles alcalines.
Il y a souvent des cas où une personne achète des piles, mais elles n'allument pas la colonne. Ici aussi, plusieurs questions se posent, pourquoi même les nouvelles batteries ne peuvent pas faire face à leurs fonctions. À ce stade, le propriétaire peut également être gêné et rechercher la cause d'une manière complètement différente. Afin de ne pas vous retrouver dans une situation aussi désagréable, vous devez aborder judicieusement le choix des batteries pour le fonctionnement de la colonne de gaz. Quelques conseils à retenir..
Conseils sur la batterie
Il n'est pas conseillé de choisir trop bon marché. Dans ce cas, il est recommandé de choisir des piles plus chères (les normales coûtent environ 200 roubles). Si vous en achetez des bon marché, ils ne fonctionneront probablement pas normalement, ce qui signifie qu'à l'avenir, vous devrez payer trop cher.
Par conséquent, achetez initialement des batteries coûteuses de bonne qualité;
Faites attention à la date d'expiration des piles;
Quant aux marques, les marques Duracell et Energizer sont préférées.
La pile doit être alcaline ou au lithium.
Il sera plus informatif d'utiliser un testeur multimètre spécifique qui détermine avec précision la charge. Tout le monde peut utiliser un tel testeur, ce ne sera pas difficile. Cette méthode est pratique et pratique à utiliser, et vous pouvez acheter un testeur de batterie dans n'importe quel magasin.
Lire aussi :
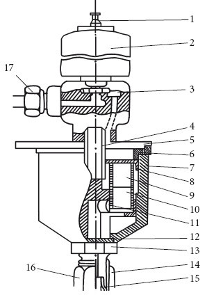
La structure générale d'une colonne ménage
Un geyser est un chauffe-eau qui coule. Cela signifie que l'eau le traverse et se réchauffe au fur et à mesure.Mais, avant de procéder à une analyse de l'agencement d'un geyser domestique pour le chauffage de l'eau, rappelons que son installation et son remplacement sont associés à un système d'alimentation en gaz centralisé.
Par conséquent, il est impératif de soumettre les documents au service du gaz de votre région avec la demande correspondante. Vous pouvez lire les normes et les documents nécessaires dans nos autres articles, et passons maintenant à l'appareil.
Différents modèles de geysers diffèrent les uns des autres, mais la structure générale d'un geyser domestique ressemble à ceci :
- Brûleur à gaz.
- Allumeur / système d'allumage.
- Echappement et raccordement à la cheminée.
- Tuyau de cheminée.
- La chambre de combustion.
- Ventilateur (sur certains modèles).
- Échangeur de chaleur.
- Tuyau pour l'alimentation en gaz.
- Noeud de l'eau.
- Tuyaux pour l'approvisionnement en eau.
- Un tuyau de dérivation pour une sortie d'eau chaude.
- Panneau avant avec contrôleur.
L'élément central de la colonne est un brûleur à gaz, dans lequel la combustion du gaz est entretenue, ce qui contribue à chauffer l'eau. Le brûleur est installé dans le boîtier, il collecte les produits de combustion chauds dont le but est de chauffer l'eau.
Le corps est en métal et recouvre complètement l'avant et les côtés de l'enceinte.
Il est important que le matériau du corps conduise bien la chaleur, car la qualité du chauffage dépend de la transmission de la chaleur.
Composants structurels du geyser situés à l'intérieur du boîtier. Équipement à gaz fermé illustré ici
Au-dessus de l'appareil se trouvent une hotte d'évacuation et une cheminée par laquelle les produits de combustion quittent la colonne et la pièce. Leur dispositif dépend du fait que la colonne soit ouverte ou fermée, ce qui sera montré ci-dessous.
Les tuyaux s'enroulent à l'intérieur du corps, l'eau les traverse sous la pression naturelle et est réchauffée par les gaz chauds.L'ensemble de ce système de tuyaux s'appelle un échangeur de chaleur. Ci-dessous se trouvent deux tuyaux: à droite - pour recevoir l'eau froide du pipeline, à gauche l'eau chaude s'écoule.
Un filtre est souvent installé entre le réseau d'alimentation en eau et le geyser, qui régule la dureté de l'eau. Sans filtre, la colonne peut être recouverte de tartre à des températures d'eau élevées. En entrant dans la colonne, l'eau passe par le nœud d'eau, qui sert en quelque sorte de « connexion » entre le flux d'eau et le flux de gaz. Nous parlerons de ce lien un peu plus loin.
Brûleur à gaz avec allumage électrique et détecteur de flamme. Les capteurs jouent un rôle important dans le fonctionnement des équipements. Parlons de leurs fonctions ci-dessous.
À l'aide d'un autre tube, également situé en dessous, la colonne est connectée à la conduite de gaz.
Il y a aussi un panneau avant avec une unité de contrôle. Il est équipé de régulateurs pour contrôler la consommation de gaz et d'eau. Selon les modèles, il peut s'agir de simples molettes qu'il faut tourner, ou d'écrans à cristaux liquides où l'on peut voir de nombreuses caractéristiques de l'enceinte, voire la nature de son dysfonctionnement si l'enceinte ne fonctionne pas.













































