- générateur de gaz pour voiture
- Générateur de gaz: appareil et principe de fonctionnement
- Génération d'options de combustible pour l'usine
- Que se passe-t-il à l'intérieur du générateur de gaz
- Caractéristiques du fonctionnement de divers convertisseurs
- Méthode numéro 3 - Stations maison
- Combustible pour chaudières à gaz
- Avantages des installations de chauffage au gaz
- Inconvénients des centrales à gaz
- Avantages
- Présentation du modèle
- Modèles portables
- Indigirka
- Indigirka 2
- fours kibor avec générateur électrique
- générateur thermoélectrique
- Conseils d'utilisation
- Le mécanisme et le principe de fonctionnement d'un générateur de gaz à bois
- Gaz à faire soi-même à partir de bois de chauffage
- conclusion
générateur de gaz pour voiture
L'installation qui produit du gaz de bois pour la machine doit être légère en poids et en taille. Mais en même temps, le métal doit avoir une épaisseur suffisante, sinon il brûlera rapidement.
Le système de filtration doit être particulièrement bien pensé. Étant donné que les particules solides de suie détruiront rapidement le miroir des cylindres du moteur.
Si un système de filtration est réalisé selon toutes les règles, il ne sera pas nocif pour le moteur à combustion interne ! Le gaz à la sortie est de la plus haute qualité, l'indice d'octane correspond à 100 essence.
En règle générale, le moteur s'use plus rapidement non pas à cause de la composition du gaz, mais parce qu'il doit fonctionner à des vitesses plus élevées pour brûler plus rapidement.
Pour installer de vos propres mains un générateur de gaz sur une voiture, vous devez trouver un endroit approprié. Sur les camions, c'est généralement derrière la cabine. Sur les voitures, soit dans le coffre, soit suspendu à l'arrière, soit placé dans une remorque séparée.
Le groupe électrogène à gaz pour remorque a ses avantages :
- La possibilité de décrocher l'installation et d'utiliser la voiture à l'essence.
- Il est facile à transporter et à utiliser l'appareil pour d'autres besoins.
- Une place utile n'est pas prise de la voiture.
- Plus facile de faire des réparations.
- Un endroit pour stocker du carburant.
Les bosses et les nids-de-poule sur la route profiteront au générateur de gaz, car le bois de chauffage est secoué et mélangé, ce qui signifie qu'il brûle mieux !
Générateur de gaz: appareil et principe de fonctionnement
Un générateur de gaz est un appareil qui convertit un combustible liquide ou solide en un état gazeux pour une combustion ultérieure afin de générer de la chaleur.
Génération d'options de combustible pour l'usine
Les unités fonctionnant au fioul ou à l'exploitation minière ont une conception plus complexe que les modèles utilisant divers types de charbon ou de bois de chauffage.
Par conséquent, ce sont les générateurs de gaz à combustible solide que l'on trouve le plus souvent - heureusement, leur carburant est disponible et bon marché.
Comme combustible solide dans un générateur de gaz, utilisez :
- bois, brun et charbon;
- granulés combustibles à base de déchets de bois;
- paille, sciure et bois de chauffage;
- briquettes de tourbe, coke;
- une coque de graines.
Les propriétaires particulièrement économes préparent eux-mêmes des briquettes à partir de sciure de bois.
La génération de gaz est possible à partir de tous ces types de combustibles.La libération d'énergie dépend du pouvoir calorifique des différents types de combustibles.
De plus, plus de chaleur est obtenue de la combustion des matières premières dans un générateur de gaz que de l'utilisation de combustible solide dans les chaudières. Si l'efficacité d'une chaudière à bois conventionnelle varie entre 60 et 70 %, l'efficacité d'un complexe générateur de gaz atteint 95 %.
Mais ici, il faut prendre en compte une nuance. La chaudière brûle du combustible pour chauffer l'eau, tandis que le générateur de gaz ne produit que du combustible. Sans appareil de chauffage, poêle ou moteur à combustion interne, un générateur de gaz fait maison n'aura aucun sens.
Le gaz résultant doit être utilisé immédiatement - il n'est pas économiquement rentable de l'accumuler dans n'importe quel conteneur. Pour ce faire, vous devrez installer un équipement supplémentaire qui dépend de l'alimentation électrique.

À l'époque soviétique, les générateurs de gaz étaient même utilisés pour faire fonctionner les camions, le gaz produit est suffisant pour faire fonctionner un moteur à combustion interne
Que se passe-t-il à l'intérieur du générateur de gaz
Le fonctionnement du générateur de gaz est basé sur la pyrolyse du combustible solide, qui se produit à des températures élevées et à faible teneur en oxygène dans le four. Plusieurs réactions chimiques ont lieu simultanément à l'intérieur du dispositif générateur de gaz.
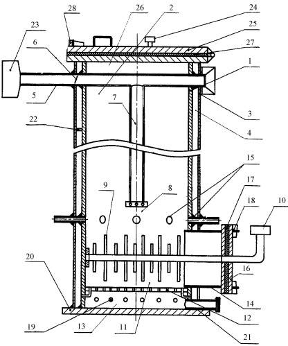
Le schéma d'un générateur de gaz industriel est une installation assez complexe avec de nombreux appareils séparés, chacun ayant son propre fonctionnement (+)
Technologiquement, le processus de génération de gaz combustible est divisé en trois étapes consécutives :
- Décomposition thermique du carburant. Le processus se déroule dans des conditions de carence en oxygène, qui n'est fourni au réacteur que par un tiers de ce qui est nécessaire pour une combustion conventionnelle.
- Purification du gaz obtenu. Dans un cyclone (filtre vortex sec), le nuage de gaz est filtré des particules de cendres volantes.
- Refroidissement.Le mélange gazeux résultant est refroidi et soumis à une purification supplémentaire des impuretés.
En fait, c'est le premier processus qui se produit dans le bloc en tant que tel du générateur de gaz - la pyrolyse. Tout le reste est la préparation du mélange gazeux pour une combustion ultérieure.

La chambre de pyrolyse d'un générateur de gaz artisanal est divisée en un bunker à combustible solide (1), un foyer (2) et un cendrier (3)
A la sortie de l'installation génératrice de gaz, un mélange combustible de monoxyde de carbone, d'hydrogène, de méthane et d'autres hydrocarbures est obtenu.
De plus, selon le combustible utilisé dans la pyrolyse, de l'eau sous forme de vapeur, d'oxygène, de dioxyde de carbone et d'azote leur est ajoutée en diverses quantités. Les chaudières de chauffage à pyrolyse fonctionnent également selon le principe décrit, démontrant un rendement élevé.
Caractéristiques du fonctionnement de divers convertisseurs
Selon la conception et la technologie des processus internes, les générateurs de gaz sont :
- droit;
- converti;
- horizontal.
Ils diffèrent par les points d'alimentation en air et la sortie du gaz généré.
Le processus direct se déroule lorsque la masse d'air est injectée par le bas et que le mélange combustible sort par le haut de la structure.
L'option inversée implique l'apport d'oxygène directement à la zone d'oxydation. En même temps, c'est le plus chaud dans le dispositif générateur de gaz.
Il est assez difficile d'y faire une injection par vous-même, c'est pourquoi ce principe de fonctionnement n'est utilisé que dans les installations industrielles.
Avec un processus générateur de gaz direct, un grand volume de goudron et d'humidité se forme à la sortie, l'inverse est trop difficile à mettre en œuvre de vos propres mains, et l'horizontal a une productivité réduite, mais une conception extrêmement simple (+)
Dans un générateur de gaz horizontal, le tuyau de sortie avec le gaz est situé immédiatement au-dessus de la grille dans la zone de combinaison des réactions d'oxydation et de réduction. Cette conception est la plus simple en exécution indépendante.
Méthode numéro 3 - Stations maison
De plus, de nombreux artisans créent des stations artisanales (généralement basées sur un générateur de gaz), qu'ils vendent ensuite.
Tout cela indique qu'il est possible de fabriquer indépendamment une centrale électrique à partir de moyens improvisés et de l'utiliser à vos propres fins.
Ensuite, réfléchissez à la façon dont vous pouvez fabriquer l'appareil vous-même.
Nous recommandons : Tours de refroidissement de type ouvert et fermé : leur conception, modes de fonctionnement, photo
Basé sur un générateur thermoélectrique.
La première option est une centrale électrique basée sur une plaque Peltier. On remarque tout de suite qu'un appareil fait maison ne convient que pour recharger un téléphone, une lampe de poche, ou pour s'éclairer à l'aide de lampes LED.
Pour la fabrication, vous aurez besoin de:
- Un boîtier métallique qui jouera le rôle d'un four;
- Plaque Peltier (vendue séparément) ;
- Régulateur de tension avec sortie USB installée ;
- Un échangeur de chaleur ou simplement un ventilateur pour assurer le refroidissement (vous pouvez prendre un refroidisseur d'ordinateur).
Faire une centrale électrique est très simple:
- Nous fabriquons un four. Nous prenons une boîte en métal (par exemple, un boîtier d'ordinateur), déplions-la pour que le four n'ait pas de fond. Nous faisons des trous dans les murs ci-dessous pour l'alimentation en air. En haut, vous pouvez installer une grille sur laquelle vous pouvez placer une bouilloire, etc.
- Nous montons la plaque sur le mur du fond;
- Nous montons le refroidisseur sur le dessus de la plaque;
- Nous connectons un régulateur de tension aux sorties de la plaque, à partir de laquelle nous alimentons le refroidisseur, et tirons également des conclusions pour connecter les consommateurs.
POPULAIRES AUPRÈS DES LECTEURS : Que sont les prises intelligentes, leurs types, leur appareil et leur principe de fonctionnement ?
Tout fonctionne simplement: nous allumons du bois de chauffage, au fur et à mesure que la plaque chauffe, de l'électricité sera générée à ses bornes, qui sera fournie au régulateur de tension. Le refroidisseur commencera également à fonctionner à partir de celui-ci, assurant le refroidissement de la plaque.
Il ne reste plus qu'à connecter les consommateurs et à surveiller le processus de combustion dans le poêle (jeter le bois de chauffage en temps opportun).
Basé sur un générateur de gaz.
La deuxième façon de fabriquer une centrale électrique est de fabriquer un générateur de gaz. Un tel dispositif est beaucoup plus difficile à fabriquer, mais la puissance délivrée est beaucoup plus importante.
Pour le réaliser vous aurez besoin de :
- Conteneur cylindrique (par exemple, une bouteille de gaz démontée). Il jouera le rôle d'un poêle, il faudra donc prévoir des trappes pour le chargement du combustible et le nettoyage des produits de combustion solides, ainsi qu'une alimentation en air (un ventilateur sera nécessaire pour une alimentation forcée afin d'assurer un meilleur processus de combustion) et une sortie de gaz ;
- Radiateur de refroidissement (peut être réalisé sous la forme d'un serpentin), dans lequel le gaz sera refroidi ;
- Capacité de créer un filtre de type "Cyclone" ;
- Capacité de créer un filtre à gaz fin ;
- Groupe électrogène à essence (mais vous pouvez prendre n'importe quel moteur à essence, ainsi qu'un moteur électrique asynchrone 220 V conventionnel).
Après cela, tout doit être connecté en une seule structure. De la chaudière, le gaz doit s'écouler vers le radiateur de refroidissement, puis vers le Cyclone et le filtre fin. Et seulement après cela, le gaz résultant est fourni au moteur.
Ceci est un schéma de principe de la fabrication d'un générateur de gaz. L'exécution peut être très différente.
Par exemple, il est possible d'installer un mécanisme d'alimentation forcée en combustible solide à partir d'un bunker, qui, soit dit en passant, sera également alimenté par un générateur, ainsi que divers dispositifs de contrôle.
En créant une centrale électrique basée sur l'effet Peltier, il n'y aura pas de problèmes particuliers, car le circuit est simple. La seule chose est que certaines mesures de sécurité doivent être prises, car le feu dans un tel poêle est pratiquement ouvert.
Mais lors de la création d'un générateur de gaz, de nombreuses nuances doivent être prises en compte, parmi lesquelles assurer l'étanchéité de toutes les connexions du système à travers lesquelles passe le gaz.
Pour que le moteur à combustion interne fonctionne normalement, vous devez veiller à une purification des gaz de haute qualité (la présence d'impuretés dans celui-ci est inacceptable).
Le générateur de gaz est une structure volumineuse, il est donc nécessaire de choisir le bon emplacement, ainsi que d'assurer une ventilation normale s'il est installé à l'intérieur.
Étant donné que ces centrales électriques ne sont pas nouvelles et qu'elles sont fabriquées par des amateurs depuis relativement longtemps, de nombreuses critiques se sont accumulées à leur sujet.
Fondamentalement, ils sont tous positifs. Même un poêle fait maison avec un élément Peltier est réputé pour faire face à la tâche. En ce qui concerne les générateurs de gaz, l'installation de tels dispositifs même sur les voitures modernes peut être un bon exemple ici, ce qui indique leur efficacité.
Combustible pour chaudières à gaz
L'avantage incontestable des chaudières à gaz est le fait qu'elles peuvent fonctionner avec presque tous les types de combustibles solides. C'est-à-dire qu'ils peuvent être chargés de bois de chauffage ordinaire coupé, ainsi que de tout type de déchets de bois (sciure de bois, copeaux) et de briquettes, granulés et similaires fabriqués à partir de déchets de bois.De plus, les générateurs de gaz sont une production pratiquement sans déchets : le carburant qu'ils contiennent brûle presque sans résidus.
Avantages des installations de chauffage au gaz
L'installation de systèmes de chauffage alimentés par des chaudières génératrices de gaz fonctionnant au bois combustible présente les avantages indéniables suivants :
- Efficacité de combustion du carburant extrêmement élevée. Dans toute installation conçue pour brûler du bois de chauffage, mais n'utilisant pas l'effet de pyrolyse, le rendement ne peut pas dépasser 90 %.
- Les groupes électrogènes à gaz sont non volatils et peuvent être installés même dans des bâtiments qui ne sont pas connectés à un réseau électrique fixe. Notez que pendant la guerre, des générateurs de gaz ont été placés même sur les voitures. L'indépendance énergétique du groupe électrogène à gaz réduit également le coût de son fonctionnement.
- Presque tous les types de bois de chauffage peuvent être utilisés dans une centrale à gaz, du bois de chauffage classique aux déchets de bois. L'utilisation de déchets de bois, de sciure de bois, de copeaux de bois, etc. réduit considérablement le coût des systèmes de génération de gaz. Cependant, rappelez-vous que sur la quantité totale de combustible à la fois, le pourcentage de déchets de bois ne doit pas dépasser 30 %.
- Les grands volumes de la chambre de combustion permettent aux chaudières génératrices de gaz de fonctionner longtemps à partir d'une seule charge de combustible, ce qui facilite le fonctionnement d'une telle installation.
Inconvénients des centrales à gaz
Malgré tout l'attrait des systèmes de chauffage et de chauffage basés sur des installations génératrices de gaz, de tels dispositifs présentent également certains inconvénients. Les inconvénients des systèmes de génération de gaz coïncident généralement avec les inconvénients des chaudières à combustible solide conventionnelles.
Une chaudière à combustible solide, contrairement aux systèmes automatisés à liquide ou à gaz, a une autonomie limitée. Une telle chaudière a toujours besoin d'un opérateur humain qui ajoutera du combustible au fur et à mesure de sa combustion. De plus, la chaudière génératrice de gaz doit être régulièrement entretenue, nettoyée de la suie et de la suie. Malgré la combustion presque complète du bois de chauffage organique dans les chaudières génératrices de gaz, des produits de décomposition sont toujours présents dans ces systèmes.
L'acquisition d'un système avec une chaudière génératrice de gaz est assez coûteuse financièrement. Selon des estimations approximatives, une chaudière à gaz vous coûtera une fois et demie plus cher qu'une chaudière à combustible solide classique. Mais la différence de coût devrait s'amortir après quelques saisons de chauffage, grâce au rendement plus élevé de la chaudière à gaz.
De plus, lors de l'exploitation d'installations génératrices de gaz, il est nécessaire d'utiliser uniquement du combustible sec. Sur du bois humide ou de la sciure de bois, le processus de pyrolyse peut tout simplement ne pas démarrer. Par conséquent, les chaudières à gaz sont souvent équipées d'une chambre de séchage dans laquelle le combustible atteint l'état souhaité.
Avantages

Il convient de noter que le fonctionnement de ces unités est entièrement automatisé et ne nécessite pas une participation constante des utilisateurs. En particulier, un ravitaillement régulier n'est pas nécessaire, il vient de la ligne (cylindre) au besoin.De plus, les générateurs de gaz utilisent le combustible le moins cher - le gaz naturel ou liquéfié (LHG). En même temps, ils le consomment de manière très économique, même en mode batterie longue durée. Si nous parlons du coût de ces unités, il ne dépasse pas largement les prix d'appareils similaires qui consomment de l'essence ou du diesel.
Compte tenu du fait que le moteur du générateur de gaz durera plusieurs fois plus longtemps, car le gaz ne provoque pas de corrosion des éléments métalliques. De plus, les pièces du groupe cylindre-piston sont soumises à moins d'usure et l'huile doit être changée beaucoup moins fréquemment, en raison de l'effet réduit du gaz sur celle-ci. Quel type de gaz vous utilisez - vous pouvez déterminer en sachant à quelle source d'alimentation en gaz votre cuisinière à gaz est connectée. Si la cuisinière à gaz est connectée à une bouteille de gaz, vous utilisez du gaz propane-butane liquéfié.
Si la cuisinière à gaz est connectée à un gazoduc intra-maison (qui à son tour est connecté à un gazoduc de rue), vous utilisez du gaz naturel appelé méthane. Les centrales électriques au gaz sont considérées comme des équipements confortables et faciles à utiliser, car elles sont équipées d'enveloppes spéciales pour les protéger contre l'humidité, les précipitations et la corrosion. Ils sont également équipés d'une base de protection spécifique, qui vous permet d'installer les unités sur n'importe quelle surface.
Les générateurs à gaz ne sont en aucun cas inférieurs aux générateurs diesel et à essence, mais présentent au contraire un certain nombre d'avantages, tels que:
- Grande économie de carburant. L'utilisation du GPL réduit considérablement les coûts. Économies jusqu'à 40% par rapport à l'essence D'après les calculs, nous avons constaté qu'en raison des économies de carburant, l'équipement au gaz est rentable en un an. La consommation de gaz est indiquée dans la description.
- la consommation de carburant.Les moteurs GPL sont plus efficaces et nécessitent moins d'entretien que les moteurs à essence traditionnels.
- Prolonger la durée de vie. L'utilisation du GPL sollicite moins le moteur, ce qui évite une usure excessive et des problèmes mécaniques.
- Petite quantité d'émissions dans l'atmosphère. Le GPL produit moins d'émissions d'échappement que l'essence, y compris le CO², le NO et le SO, ce qui le rend pratiquement écologique et le meilleur choix pour vous.
- Niveau sonore réduit. Vous respirerez non seulement de l'air pur, mais vous ressentirez également moins d'inconfort grâce au faible niveau de bruit.
Présentation du modèle
Vous pouvez acheter un groupe électrogène à bois dans des entreprises spécialisées. Il est pratique de les contacter et d'obtenir des informations complètes sur les sites Web de ces sociétés :
Nous portons à votre attention plusieurs modèles de tels fours-générateurs destinés aux besoins domestiques.
Modèles portables
Ils sont représentés par des copeaux de bois et des grilles équipées d'un élément de conversion électrique. Un tel poêle est bon pour réchauffer les aliments lors d'une randonnée, vous pouvez y réchauffer une tasse de thé, faire frire un petit morceau de viande et charger des gadgets en même temps. Ils ne sont pas conçus pour plus.
Par exemple, le réchaud BioLite CampStove peut fonctionner avec n'importe quel combustible bois : brindilles, copeaux, cônes. Il délivre jusqu'à 5W de puissance et est équipé d'un port USB. Pour faire bouillir un litre d'eau, un peu de bois suffit et cela prendra littéralement 5 minutes. Le prix de BioLite CampStove est de 9 600 roubles.
Indigirka
Le poêle Indigirka est le modèle le plus célèbre de groupes électrogènes à bois. Ce poêle chauffe une pièce jusqu'à 50 m3, pèse 37 kilogrammes, il est fabriqué en acier résistant à la chaleur et sert depuis des décennies. Le volume du four est de 30 litres.La tension de sortie de l'Indigirka est de 12 volts, la puissance de sortie maximale est de 50 watts. Bien sûr, le but principal du poêle est de chauffer, un brûleur en fonte pratique vous permet de cuire des aliments ou de réchauffer du thé. En tant que générateur électrique, le poêle est capable de fonctionner déjà 15 minutes après l'allumage.
Lire aussi : Panorama des centrales électriques domestiques
Emballage inclus
- Câble avec pinces crocodiles,
- Câble avec un connecteur comme un allume-cigare de voiture,
- USB 5 volts.
Bien sûr, 50 W, ce n'est pas beaucoup, mais 2-3 lampes LED pour l'éclairage, un téléviseur 10 pouces et un chargeur de téléphone portable « tireront » un tel générateur électrique.
Indigirka 2
Il s'agit d'un modèle mis à jour légèrement plus grand et qui génère 10 watts d'électricité de plus, soit 60, ce qui donne des possibilités supplémentaires.
Le coût d'un tel poêle est d'environ 30 000 à 50 000 roubles, selon la configuration et le fournisseur.
fours kibor avec générateur électrique
Kibor présente deux modèles de groupes électrogènes à bois. Le premier modèle ne pèse que 22 kilogrammes, a un volume de four de 30 litres et une puissance de sortie de 25 watts. Un tel four coûte 45 000 roubles.
Un modèle plus puissant est capable de produire 60 watts. Il est plus grand, pèse 59 kilogrammes et a un volume de foyer de 60 litres. Prix - 60 000 roubles.
générateur thermoélectrique
Il n'est pas nécessaire d'acheter un four complet avec un générateur électrique. Vous pouvez acheter séparément un générateur thermoélectrique qui est monté sur des surfaces chaudes et l'adapter à un four existant. Une telle unité coûte environ 15 000 roubles.
Conseils d'utilisation
Pour le chauffage résidentiel, il est recommandé d'installer des équipements de sécurité. Le contrôle peut être réalisé à l'aide de dispositifs de contrôle de la pression et de la température qui sont installés sur des raccords soudés à la peau. Il est également souhaitable d'installer une vanne restrictive qui fonctionnera lorsque la température s'élève à un certain niveau de risque.

Un aspect important du fonctionnement est le chargement correct du combustible, à savoir la sciure de bois. Par conséquent, il est nécessaire de fabriquer un dispositif spécial sous la forme d'un entonnoir à partir d'un tuyau (métal fin). L'essentiel est que les côtés du cône soient aussi plats que possible.
Le mécanisme et le principe de fonctionnement d'un générateur de gaz à bois
En apparence, le générateur de gaz semble être un appareil de haute technologie bourré d'une variété d'appareils connexes. Cependant, comprenant les processus physiques et chimiques qui se déroulent à l'intérieur, le maître de maison arrive à la conclusion qu'il n'est pas difficile d'assembler une telle structure de ses propres mains. La chaudière à bois se compose des composants suivants :
- Corps en acier résistant à la chaleur.
- Chambre pour le chargement du bois de chauffage et la combustion à haute température. Il est équipé de grilles et de trappes de chargement - pour l'élimination du carburant et des cendres. Une chaudière à sciure de bois nécessite un treillis en acier.
- Boîte de distribution d'air avec clapet anti-retour, communiquant par des trous avec les chambres où se déroule le processus principal.
- Tuyau de dérivation pour la sortie des gaz générés vers le câblage approprié.
- Refroidisseurs et filtres. Le produit résultant à la sortie est nettoyé des impuretés, des acides et des résines.
Les composants sont faciles à comprendre et, avec les compétences de la soudure, les générateurs de gaz à bois à faire soi-même sont fabriqués rapidement. L'efficacité d'une installation artisanale n'est pas pire que celle d'une unité d'usine.
Gaz à faire soi-même à partir de bois de chauffage
L'extraction de gaz à partir de bois de chauffage a été largement utilisée pendant la Seconde Guerre mondiale. Le combustible liquide est allé en première ligne, de nombreuses raffineries de pétrole détruites ont stimulé l'invention du gaz obtenu à partir du bois de chauffage.
À cette époque, le bois de chauffage était plus abordable que les produits pétroliers. Par conséquent, les équipements soviétiques et étrangers étaient équipés de générateurs de gaz. Sur gaz de bois travaillé : citernes, voitures et véhicules automobiles.
Au 21e siècle, après la hausse du prix du combustible liquide, les gens se sont souvenus de la technologie et ont commencé à produire eux-mêmes du gaz à partir de bois de chauffage.
La technologie de production de gaz est simple. Le bois de chauffage est chargé dans le générateur de gaz, incendié. Une fois le bois de chauffage allumé, l'apport d'oxygène diminue, le bois de chauffage commence à couver, du monoxyde de carbone est libéré, qui monte chaud, pénètre dans le serpentin de refroidissement, est filtré à travers des filtres, le gaz refroidi et purifié pénètre dans la chambre de combustion du gaz. Le gaz combustible chauffe la pièce plus rapidement que le combustible solide.
conclusion
En créant un générateur de gaz domestique pour chauffer une maison ou faire fonctionner un moteur à combustion interne, vous pouvez obtenir un appareil qui vous permet de remplacer partiellement le gaz naturel et de produire de l'électricité, en réduisant la consommation de bois en augmentant l'efficacité et en augmentant le temps de combustion d'une portion de solide le carburant. La durée de combustion d'un signet de bois dans le four d'un générateur de gaz, lors de l'utilisation du gaz résultant comme vecteur énergétique supplémentaire, atteint 8 à 20 heures. Le fonctionnement de l'équipement est assez simple, à l'exception du nettoyage périodique, et seuls les éléments filtrants doivent être remplacés.
Malgré ces avantages, il n'est pas pratique d'installer un générateur de gaz de bois fait maison sur une voiture.Les économies ne seront pas aussi importantes qu'une diminution du niveau de confort d'utilisation du véhicule et des conséquences imprévisibles pour le moteur à combustion interne. Le seul argument convaincant en faveur d'une telle décision ne peut être que des problèmes d'achat d'essence.
Une option acceptable consiste à assembler de vos propres mains un générateur de gaz pour une maison privée. Dans ce cas, l'appareil deviendra une source de gaz pour une chaudière de chauffage, une cuisinière à gaz et une petite centrale électrique domestique.









































