Disjoncteurs SF6 : guide de choix et règles de raccordement

Disjoncteur SF6: principe de fonctionnement, avantages et inconvénients, fonctionnement » - portail d'information pour électriciens

Le principe de fonctionnement des mécanismes d'entraînement

L'actionneur pneumatique fonctionne grâce à la pression de l'air comprimé se déplaçant d'une chambre à l'autre, entraînant des pistons qui appliquent finalement une pression sur la tige d'isolation. L'impulsion de commande initiale est transmise aux électroaimants (allumage ou extinction) qui, en aspirant les noyaux, ouvrent l'accès de l'air comprimé aux chambres des pistons.

L'entraînement hydraulique fonctionne grâce à la pression du fluide créée par la station de pompage à faible puissance. La commande s'effectue au moyen d'un signal hydraulique (augmentation de la pression). Ainsi, une série de vannes sont actionnées, qui transmettent le mouvement à la tige isolante, qui à son tour actionne le contact mobile du disjoncteur SF6.Le mouvement inverse du mécanisme s'effectue en réduisant la pression du fluide.

L'entraînement à ressort a le schéma de fonctionnement le plus simple, basé sur les propriétés du ressort. Le fonctionnement d'un tel dispositif repose uniquement sur des composants mécaniques. Ressort puissant fixé avec certains paramètres compression. À l'aide de la poignée de commande, la fixation est retirée et le ressort, en se desserrant, met la tige en mouvement. Certains mécanismes sont complétés par des systèmes hydrauliques pour une fixation plus fiable.

Construction de disjoncteurs SF6

La capacité d'extinction d'arc du gaz SF6 est la plus efficace à une vitesse élevée de son jet par rapport à l'arc brûlant. Les exécutions suivantes de télécommande avec gaz SF6 sont possibles :
1) avec soufflage autopneumatique. La perte de charge nécessaire au soufflage est générée par l'énergie motrice ;
2) avec le refroidissement de l'arc par le SF6 lors de son déplacement, provoqué par l'interaction du courant avec le champ magnétique.
3) avec extinction de l'arc due au flux de gaz du réservoir haute pression vers le réservoir basse pression (pressostats doubles).
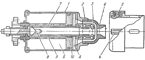
À l'heure actuelle, la première méthode est largement utilisée. Un dispositif d'extinction d'arc à soufflage forcé autopneumatique est illustré à la fig. 22. Il est situé dans un réservoir scellé avec une pression de gaz SF6 de 0,2 à 0,28 MPa. Dans ce cas, il est possible d'obtenir la tenue électrique nécessaire de l'isolation interne. Lorsqu'il est déconnecté, un arc se produit entre les contacts fixe 1 et mobile 2. Avec le contact mobile 2, lorsqu'il est déconnecté, la buse en PTFE 3, la cloison 5 et le cylindre 6 se déplacent. Le piston 4 étant immobile, le gaz SF6 est comprimé et son écoulement, traversant la buse, lave l'arc longitudinalement et assure son extinction efficace.

Riz. 22.Schéma du dispositif d'extinction d'arc du disjoncteur SF6 à souffle autopneumatiqueDisjoncteurs SF6 : guide de choix et règles de raccordement
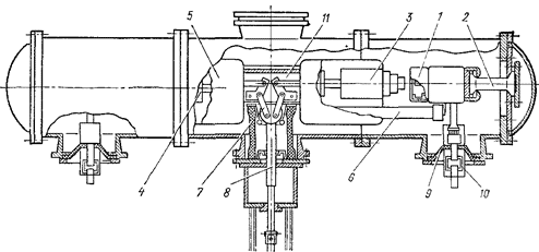
Riz. 23. Chambre d'arc du disjoncteur SF6

Pour l'appareillage de commutation, un disjoncteur SF6 avec une tension nominale de 110 et 220 kV, un courant nominal de 2 kA et un courant de coupure nominal de 40 kA a été développé. Temps d'arrêt 0,065, temps d'activation 0,08 s, pression nominale SF6 0,55 MPa, entraînement pneumatique avec pression d'air 2 MPa.
Chambre de télécommande disjoncteur 220 kV SF6 avec deux coupures par pôle illustré à la fig. 23. Lorsque le disjoncteur est activé, le cylindre 1, ainsi que les contacts principaux 2 et d'arc 3 qui lui sont associés, se déplacent vers la droite. Dans ce cas, le tuyau 2 entre dans la douille 5 et la douille 3 est connectée au contact 4. La buse fluoroplastique 6 se déplace également vers la droite et se déplace sur le contact tubulaire creux 4. Le gaz SF6 est aspiré dans la cavité A et le gaz SF6 est déplacé de la cavité B

Lorsqu'il est éteint, le cylindre 1 et le tuyau 7 se déplacent vers la gauche. D'abord, les contacts principaux (2, 5) divergent, puis les contacts d'arc (3, 4). Au moment de l'ouverture des contacts 3 et 4, un arc se produit, qui est soumis à un soufflage de gaz. Le piston 10 reste immobile. Dans la zone A, un gaz comprimé se forme, et dans la zone B, un gaz raréfié. De ce fait, le gaz s'écoule de la région A à travers le contact creux 7 vers la région B à travers les trous 8 et 9 sous l'action de la différence de pression pl-(-Pb). Une perte de charge importante permet d'obtenir la vitesse de soufflage d'arc (critique) nécessaire. Dans des conditions d'arrêt sévères (court-circuit non distant), l'arc s'éteint également du fait de son refroidissement dans la buse 6 après avoir quitté le contact 4.Disjoncteurs SF6 : guide de choix et règles de raccordement
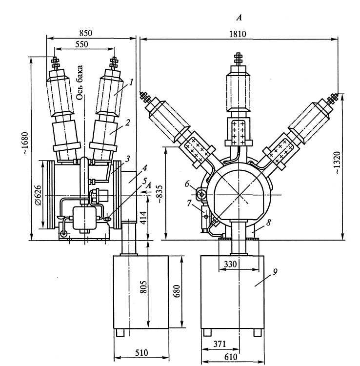
Riz. 24. Le dispositif du disjoncteur SF6 pour la tension 220 kV

Sur la fig.24 montre la disposition de base du disjoncteur SF6 pour KRUE-220 pour une tension de 220 kV. Le contact fixe du disjoncteur 1 est fixé à la cuve du disjoncteur sur un isolant coulé 2. Le disjoncteur a deux PS 3 et 4 connectés en série à travers le boîtier 11. La distribution uniforme de la tension sur le PS est assurée par des céramiques condensateurs 6. Pour éliminer la couronne, le PS est recouvert d'écrans 5. Les cylindres 3 et 4 sont entraînés dans le mouvement de la tige isolante 8 Par le biais du mécanisme à levier 7. L'activation et la désactivation du disjoncteur sont effectuées par un entraînement pneumatique. Le disjoncteur est rempli de SF6 à une pression de 0,55 MPa. Les contacts fixes de l'interrupteur 1 sont sortis de la cuve par un isolateur étanche 9 et 10, c'est-à-dire la transition de la cavité de l'interrupteur remplie de gaz SF6 à la cavité de l'appareillage complet, également remplie de gaz SF6 (PRUE ). Ici 9 est une cloison isolante, 10 est un contact embrochable de type douille. Un tel isolateur permet de stocker du gaz SF6 dans le disjoncteur lorsqu'il est déconnecté de l'appareillage.
Le disjoncteur SF6 décrit a des performances techniques élevées et permet une interruption du courant de court-circuit multipliée par 20 d'une valeur limite de 40 kA sans révisions. La fuite de gaz SF6 du réservoir ne dépasse pas 1% par an. La durée de vie du disjoncteur avant révision est de 10 ans. Des DD avec une tension nominale de 220 kV par coupure et un courant de déclenchement de 40 kA à un taux de rétablissement de tension élevé ont été développés. Les prototypes de disjoncteurs SF6 permettent un courant de coupure jusqu'à 100 kA à une tension de coupure de 245 kV et un courant de 40 kA à une tension de coupure jusqu'à 362 kV. Les disjoncteurs SF6 sont les plus prometteurs pour les tensions supérieures à 35 kV et peuvent être créés sur tension 800 kV et plus.

  • Retour

  • Vers l'avant

Principe de fonctionnement

Le principe de fonctionnement des disjoncteurs à air est basé sur l'extinction d'un arc électrique qui apparaît lorsque la charge est coupée. Ce processus peut se produire dans deux types de mouvement d'air :

  1. Longitudinal;
  2. Transversal.

Un disjoncteur à air peut avoir plusieurs coupures de contact, et cela dépend de la tension nominale pour laquelle il est conçu. Pour faciliter l'extinction des types d'arcs particulièrement importants, une résistance shunt est connectée aux contacts d'arc. Les disjoncteurs automatiques à air fonctionnant sur le principe de l'extinction d'arc dans des chambres conventionnelles ne comportent pas de tels éléments sans la présence d'air comprimé. Leur chambre d'extinction d'arc est constituée de cloisons qui divisent l'arc en petites parties, et donc il ne s'embrase pas et s'éteint rapidement. Dans cet article, nous parlerons plus en détail du fonctionnement des interrupteurs haute tension (au-dessus de 1000 Volts) qui ne sont pas équipés d'éléments intégrés, mais qui ont un contrôle dans le circuit duquel des protections de relais sont introduites.

Le principe de fonctionnement d'un disjoncteur haute tension à air comprimé diffère les uns des autres par ses caractéristiques de conception, et en particulier avec et sans séparateur.

Dans les interrupteurs équipés de séparateurs, les contacts de puissance sont connectés à des pistons spéciaux et forment un mécanisme contact-piston. Le séparateur est connecté en série aux contacts d'extinction d'arc. C'est-à-dire qu'un séparateur avec des contacts d'arc forme un pôle du disjoncteur. En position fermée, les contacts d'arc et le séparateur sont dans le même état fermé. Lorsqu'un signal d'arrêt est donné, une vanne pneumatique mécanique est activée, qui à son tour ouvre l'actionneur pneumatique, tandis que l'air du détendeur agit sur les contacts d'extinction d'arc.Soit dit en passant, l'expandeur est également appelé récepteur par les experts. Dans ce cas, les contacts de puissance s'ouvrent et l'arc résultant est éteint par un courant d'air comprimé. Après cela, le séparateur lui-même est éteint, coupant le courant qui reste. L'alimentation en air doit être réglée avec précision afin qu'elle soit suffisante pour une extinction sûre de l'arc. Après l'interruption de l'alimentation en air, les contacts d'arc prennent la position marche et le circuit n'est interrompu que par un disjoncteur ouvert. Par conséquent, lorsque vous travaillez sur des installations électriques alimentées par de tels interrupteurs, il est impératif d'ouvrir les sectionneurs pour un travail en toute sécurité. Un arrêt de l'interrupteur pneumatique ne suffit pas ! Le plus souvent, dans les circuits jusqu'à 35 kV, une conception avec des séparateurs ouverts est utilisée, et si la tension à laquelle le commutateur fonctionne est plus élevée, les séparateurs sont déjà réalisés sous la forme de chambres spéciales remplies d'air. Des interrupteurs avec séparateur, par exemple, ont été produits en Union soviétique sous la marque VVG-20.

Disjoncteurs SF6 : guide de choix et règles de raccordement

Si le commutateur d'air haute tension n'a pas de séparateur, ses contacts d'arc jouent également le rôle de couper le circuit et d'éteindre l'arc résultant. L'entraînement en eux est séparé du milieu dans lequel l'amortissement a lieu, et les contacts peuvent avoir une ou même deux étapes de fonctionnement.

Caractéristiques de maintenance et d'exploitation

Lors du fonctionnement de tels appareils de commutation sur des appareillages extérieurs (appareillages ouverts), il faut tenir compte du fait que des condensats peuvent s'accumuler dans les armoires électriques, ce qui entraîne une corrosion des systèmes de mécanismes, ainsi que des circuits secondaires de commande et de signalisation. Pour ce faire, le fabricant prévoit des résistances chauffantes à l'intérieur des armoires qui fonctionnent en permanence.

Toutes les actions pour allumer ou éteindre les appareils ne sont possibles que si la pression de gaz n'est pas inférieure à celle autorisée, si cela est négligé, alors il y a une forte probabilité de dommages et de défaillance d'un interrupteur relativement coûteux. À ces fins, une alarme de pression minimale doit être configurée, ainsi que le blocage des circuits de contrôle.

Si le personnel a remarqué que la pression a chuté, l'appareil doit être retiré pour réparation et la recherche des raisons de la diminution de cet indicateur vital doit être lancée. Bien entendu, son arrêt de travail doit être effectué avec toutes les exigences de sécurité nécessaires à cette installation électrique et précisées dans les consignes locales.

Pour contrôler la pression, il doit y avoir un manomètre de travail, et après avoir éliminé la fuite de gaz, il vaut la peine de la compléter par une connexion spéciale, située à l'intérieur du mécanisme d'entraînement.

L'inspection des disjoncteurs SF6 est effectuée quotidiennement, ainsi qu'une fois toutes les deux semaines la nuit

Par temps humide et humide, vous devez faire attention à l'apparition d'un couronnement électrique. Si la valeur du courant déconnecté était la valeur maximale autorisée (lors des courts-circuits), un maintien de la qualité doit être assuré

Le nombre d'arrêts, planifiés et d'urgence, est enregistré dans des journaux spécialement affectés à ces besoins.

Malgré les lacunes existantes, le disjoncteur SF6 a ses points forts, c'est donc un remplacement digne non seulement pour l'huile, mais aussi pour les disjoncteurs à air haute tension.

Avantages et inconvénients

Il y a peu d'avantages à ces appareils obsolètes, voici les principaux :

  1. En raison de l'utilisation de longue date, il y a beaucoup d'expérience dans le fonctionnement et la réparation ;
  2. Contrairement à d'autres homologues plus modernes (en particulier SF6), ces commutateurs peuvent être réparés.

Parmi les lacunes, je voudrais souligner les suivantes :

  1. Disponibilité d'équipements pneumatiques ou de compresseurs supplémentaires pour le fonctionnement ;
  2. Augmentation du bruit pendant l'arrêt, en particulier pendant les modes de court-circuit d'urgence ;
  3. Grandes dimensions non modernes, ce qui entraîne une augmentation du territoire alloué aux appareillages extérieurs ;
  4. Ils ont peur de l'air humide et de la poussière. Par conséquent, des mesures supplémentaires sont prises pour les systèmes d'air, des équipements sont installés pour réduire ces facteurs nocifs.

2.4.5 Le SF6 et l'environnement

Les substances qui polluent l'atmosphère résultant des activités humaines sont divisées en deux catégories selon l'impact qu'elles ont :
— l'appauvrissement de l'ozone stratosphérique (trous dans la couche d'ozone) ;
- le réchauffement climatique (effet de serre).
Le SF6 a peu d'effet sur l'appauvrissement de l'ozone stratosphérique, car il ne contient pas de chlore, qui est le principal réactif de la catalyse de l'ozone, ni sur l'effet de serre, car ses quantités présentes dans l'atmosphère sont négligeables (CEI 1634 (1995)).
L'utilisation du gaz SF6 dans les appareillages de commutation pour toutes les conditions de fonctionnement a apporté des avantages en termes de performances, de taille, de poids, de coût global et de fiabilité. Le coût d'achat et d'exploitation, qui comprend les coûts de maintenance, peut être considérablement inférieur au coût des équipements de commutation traditionnels.
De nombreuses années d'expérience d'exploitation montrent que le SF6 ne présente aucun danger pour le personnel d'exploitation ou l'environnement, à condition que les règles élémentaires de manipulation et d'exploitation des équipements à isolation gazeuse soient respectées.

  • Retour

  • Vers l'avant

Principe de fonctionnement

Le fonctionnement de l'interrupteur est basé sur le principe de l'extinction d'un arc électrique par un flux à grande vitesse d'un mélange d'air comprimé alimentant les canaux de soufflage. Sous l'influence du flux d'air, la colonne de décharge est étirée et dirigée vers les canaux de soufflage, où elle est finalement éteinte.

Les conceptions des chambres d'arc diffèrent à la fois par la disposition mutuelle des conduits d'air et par les contacts de coupure. Sur cette base, les schémas de tir suivants :

  1. Soufflage longitudinal à travers un canal métallique.
  2. Soufflage longitudinal à travers le canal isolant.
  3. Purge symétrique double face.
  4. Asymétrie bilatérale.

Disjoncteurs SF6 : guide de choix et règles de raccordement
Schémas de soufflage Parmi les options présentées, la dernière est la plus efficace.

Classification et types de disjoncteurs à air

Les interrupteurs de puissance, y compris ceux à air, sont principalement classés en fonction du type de construction et de la destination, après quoi les caractéristiques techniques sont déjà prises en compte. Commençons par un critère de classement plus prioritaire.

Sur rendez-vous

Selon le but, les commutateurs d'air sont divisés en types suivants:

  • Groupe de réseau, il comprend des appareils électromécaniques, avec une tension nominale à partir de 6,0 kV. Ils peuvent être utilisés à la fois pour la commutation opérationnelle des circuits et l'arrêt d'urgence, par exemple en cas de court-circuit.
  • groupe générateur. Il comprend des appareils électriques conçus pour 6,0-20,0 kV. Ces dispositifs peuvent commuter le circuit, aussi bien dans des conditions normales qu'en cas de court-circuit ou de présence de courants d'appel.
  • Catégorie pour les travaux avec des consommateurs énergivores (arc, minerai-thermique, fours de fusion d'acier, etc.).
  • Groupe à usage spécial. Il comprend les sous-espèces suivantes :
  1. Commutateurs aériens de catégorie ultra-haute tension, utilisés pour connecter des réacteurs shunt aux lignes électriques en cas de surtension sur la ligne.
  2. Disjoncteurs avec générateurs de chocs (utilisés dans les bancs d'essai), conçus pour commuter en fonctionnement normal et en situation d'urgence.
  3. Appareils dans les circuits 110,0-500,0 kV, assurant le passage, à la fois dans des conditions de fonctionnement normales et pendant un certain temps lors d'un court-circuit.
  4. Commutateurs pneumatiques inclus dans le kit de commutation.

Intentionnellement

Les caractéristiques de conception des interrupteurs déterminent leur type d'installation. En fonction de cela, les types d'appareils suivants sont distingués:

  • Inclus dans le kit pour l'appareillage (intégré).
  • Les déploiements à partir de cellules d'appareillage équipées de dispositifs spéciaux sont du type déploiement.

    Disjoncteur à air débrochable Metasol

  • Exécution murale. Appareils installés sur les murs dans un appareillage de type fermé.
  • Suspendu et porteur (différent par le type d'isolation au "sol").

Les disjoncteurs moralement et physiquement obsolètes en fonctionnement créent de nombreux problèmes.

Selon RAO UES, 15 % de tous les disjoncteurs haute tension ne répondent pas aux conditions de fonctionnement ; l'usure des équipements des sous-stations dépasse 50 %. Plus d'un tiers des disjoncteurs à air 330-750 kV, qui constituent la base des équipements de commutation des réseaux électriques intersystèmes, ont une durée de vie supérieure à 20 voire 30 ans. Une situation similaire est avec un équipement de commutation pour une tension de 110-220 kV.

Les disjoncteurs obsolètes et leurs systèmes de support nécessitent des coûts de maintenance élevés.

Sur le marché mondial jusqu'en 2010, il n'y a pas d'alternative au SF6 et aux disjoncteurs sous vide.Par conséquent, le travail se poursuit pour les améliorer.

Une combinaison de la méthode d'extinction autopneumatique et de la méthode d'auto-génération de pression dans les disjoncteurs SF6, qui s'est généralisée ces dernières années, est utilisée. Cela réduit la consommation d'énergie de l'entraînement et permet d'utiliser un entraînement à ressort économique et fiable pour les disjoncteurs SF6 avec une tension de 245 kV et plus.

L'augmentation de l'efficacité de l'extinction d'arc permet d'augmenter la tension par coupure du disjoncteur jusqu'à 360-550 kV.

Des travaux sont en cours pour améliorer encore les systèmes de contact du VDC, rechercher la répartition optimale du champ magnétique pour un amortissement efficace de l'arc sous vide et réduire le diamètre des chambres. Les travaux se poursuivent sur la création de VDC pour une tension supérieure à 35 kV (110 kV et plus) pour les disjoncteurs à vide haute tension.

Les équipements sous vide commencent à être utilisés à basse tension (1140 V et moins), et non seulement sous la forme de contacteurs, mais également d'interrupteurs et d'appareils de commande.

Des travaux sont en cours pour remplacer le SF6 par des mélanges avec d'autres gaz, ainsi que pour utiliser d'autres gaz.

Le niveau de développement des équipements pour le SF6 et le vide répond essentiellement aux exigences du consommateur.

L'approvisionnement d'aujourd'hui sur le marché étranger russe d'équipements isolés au gaz dépasse largement le volume des ventes d'appareils domestiques. Il devient de plus en plus difficile pour les fabricants russes de concurrencer les fabricants étrangers en raison du retard technologique et du manque de fonds pour le rééquipement technique.

2814

Signets

Dernières parutions

La société EKF a reçu un brevet pour la connexion des terminaux de traversée СМК-222

27 novembre à 17:11

33

Nouvelle gamme de convertisseurs de fréquence Vector80 EKF Basic

27 novembre à 17:10

35

KRUG améliore l'efficacité énergétique de la station de pompage n ° 4 des réseaux de chauffage de Saratov

26 novembre à 18:39

74

Atos fournit à Norilsk Nickel la plateforme BullSequana S pour la mise en œuvre de SAP

26 novembre à 14:48

79

L'Université nationale de recherche "MPEI" a discuté des problèmes de formation du personnel pour l'industrie de l'énergie électrique et thermique avec des représentants de l'État et des entreprises

24 novembre à 21:07

107

L'Université Nationale de Recherche "MPEI" a parlé de la création de l'Université 3.0. au Forum présidentiel de l'UASR

23 novembre à 22:35

62

KTPM 35 kV sur rue. Lév Tolstoï

23 novembre à 12:25

197

Kits d'outils diélectriques pratiques pour les installateurs d'EKF

22 novembre à 23:34

197

Nouvelle taille d'emballage pour les tuyaux ondulés flexibles en PEHD d'EKF

22 novembre à 23:33

190

Support d'EKF avec un support pour le montage de plateaux sur les murs

22 novembre à 23:31

257

Publications les plus intéressantes

La nouvelle centrale de cogénération à turbine à gaz de Kasimov fournira plus de 18 MW d'électricité au système énergétique de la région de Riazan

4 juin 2012 à 11h00

147466

Disjoncteur SF6 type VGB-35, VGBE-35, VGBEP-35

12 juillet 2011 à 08:56

31684

Interrupteurs de charge pour tension 6, 10 kV

28 novembre 2011 à 10h00

19520

Disjoncteurs réservoir SF6 type VEB-110II

21 juillet 2011 à 10h00

13899

Élimination correcte des piles

14 novembre 2012 à 10h00

13250

Signes de dysfonctionnement dans le fonctionnement des transformateurs de puissance pendant le fonctionnement

29 février 2012 à 10h00

12581

Appareillage 6(10) kV avec bornes à microprocesseur BMRZ-100

16 août 2012 à 16:00

12015

Nous rédigeons le "Relevé des documents opérationnels"

24 mai 2017 à 10h00

11856

Problèmes dans le système des concepts. Manque de logique

25 décembre 2012 à 10h00

11049

Calcul des réseaux par les pertes de tension

27 février 2013 à 10h00

9150

Champ d'application

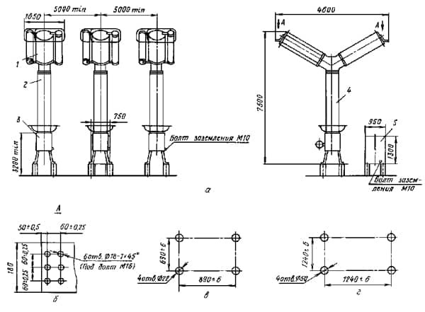
Le transformateur de tension SF6 est utilisé dans diverses sous-stations électriques. L'appareil est capable de transmettre un signal aux instruments de mesure, aux composants de protection de l'appareillage de commutation. Les transformateurs SF6 sont connectés à un réseau triphasé (industriel). Leur tâche est de transformer le courant alternatif 50 Hz. L'installation est autorisée dans les zones climatiques moyennement et modérément froides.

Le fonctionnement des transformateurs à base d'isolation SF6 est possible dans presque toutes les branches de l'activité industrielle humaine. Le fonctionnement de l'équipement vous permet de transmettre le signal traité aux instruments de mesure, à la sécurité, aux systèmes de protection. L'installation sert à assurer le fonctionnement de divers appareils de comptage d'électricité.

Le transformateur de courant SF6 est idéal pour les sous-stations fermées ou souterraines fonctionnant en ville. Les installations sont montées dans des zones critiques du point de vue de l'écologie. Dans ces zones, les fuites d'huile sont inacceptables. Seuls les équipements SF6 peuvent être utilisés ici.

Disjoncteurs SF6 : guide de choix et règles de raccordement

Principe de fonctionnement et portée

Comment fonctionne un disjoncteur haute tension SF6 ? En raison de l'isolation des phases les unes des autres au moyen de gaz SF6. Le principe de fonctionnement du mécanisme est le suivant: lorsqu'un signal est reçu pour éteindre l'équipement électrique, les contacts de chaque chambre s'ouvrent. Les contacts intégrés créent un arc électrique, qui est placé dans un environnement gazeux.

Ce milieu sépare le gaz en particules et composants individuels, et en raison de la haute pression dans le réservoir, le milieu lui-même est réduit. Utilisation possible de compresseurs supplémentaires si le système fonctionne à basse pression. Ensuite, les compresseurs augmentent la pression et forment un souffle de gaz.Le shunt est également utilisé, dont l'utilisation est nécessaire pour égaliser le courant.

La désignation dans le schéma ci-dessous indique l'emplacement de chaque élément dans le mécanisme du disjoncteur :

Disjoncteurs SF6 : guide de choix et règles de raccordement

Comme pour les modèles de type réservoir, le contrôle est effectué à l'aide de variateurs et de transformateurs. A quoi sert le lecteur ? Son mécanisme est un régulateur et son but est de mettre sous tension ou hors tension et, si nécessaire, de maintenir l'arc à un niveau défini.

Les entraînements sont divisés en ressort et ressort hydraulique. Les ressorts ont un haut degré de fiabilité et ont un principe de fonctionnement simple : tout le travail est effectué grâce à des pièces mécaniques. Le ressort est capable de se comprimer et de se décompresser sous l'action d'un levier spécial, tout en étant fixé au niveau défini.

Les entraînements hydrauliques à ressort des disjoncteurs ont en outre un système de commande hydraulique dans leur conception. Un tel entraînement est considéré comme plus efficace et fiable, car le dispositif à ressort lui-même peut modifier le niveau du verrou.

Disjoncteurs SF6 : guide de choix et règles de raccordement

L'appareil et la conception du disjoncteur à air

Considérez comment le disjoncteur à air est agencé en utilisant l'exemple d'un interrupteur de puissance VVB, son schéma structurel simplifié est présenté ci-dessous.

Disjoncteurs SF6 : guide de choix et règles de raccordement
Conception typique des disjoncteurs à air de la série VVB

Désignations :

  • A - Récepteur, un réservoir dans lequel de l'air est pompé jusqu'à ce qu'un niveau de pression correspondant à celui nominal se forme.
  • B - Cuve métallique de la chambre de soufflage.
  • C - Bride d'extrémité.
  • D - Condensateur diviseur de tension (non utilisé dans les conceptions modernes de commutateurs).
  • E - Tige de montage du groupe de contacts mobiles.
  • F - Isolateur en porcelaine.
  • G - Contact d'arc supplémentaire pour shuntage.
  • H - Résistance shunt.
  • I - Soupape de jet d'air.
  • J - Conduit d'impulsion.
  • K - Alimentation principale du mélange d'air.
  • L - Groupe de soupapes.

Comme vous pouvez le voir, dans cette série, le groupe de contact (E, G), le mécanisme marche / arrêt et la vanne de soufflage (I) sont enfermés dans un conteneur métallique (B). Le réservoir lui-même est rempli d'un mélange d'air comprimé. Les pôles de l'interrupteur sont séparés par un isolant intermédiaire. Étant donné qu'une haute tension est présente sur le navire, la protection de la colonne de support revêt une importance particulière. Il est fabriqué à l'aide de "chemises" en porcelaine isolante.

Le mélange d'air est fourni par deux conduits d'air K et J. Le premier principal sert à pomper l'air dans le réservoir, le second fonctionne en mode pulsé (fournit le mélange d'air lorsque les contacts de l'interrupteur sont éteints et se réinitialise lorsqu'il est fermé).

Lire aussi :  Installation et installation d'un réservoir de gaz pour une maison privée: la procédure de conception et de réalisation des travaux d'installation
Évaluation
Site sur la plomberie

Nous vous conseillons de lire

Où remplir la poudre dans la machine à laver et combien de poudre verser