Comment fabriquer un générateur de gaz de vos propres mains: caractéristiques de la fabrication d'un appareil fait maison

Comment fabriquer soi-même un générateur de gaz à bois: une description du processus et des conseils des maîtres

Fabriquer un générateur électrique à bois de vos propres mains

La base de l'appareil est l'élément Peltier. Il peut être spécialement acheté ou retiré de l'ordinateur (il est situé entre le processeur et le dissipateur thermique).

En plus de cela, pour le fonctionnement de l'unité, vous aurez besoin de:

Comment fabriquer un générateur de gaz de vos propres mains: caractéristiques de la fabrication d'un appareil fait maison

  • stabilisateur de tension, c'est aussi un module avec une sortie USB ;
  • métal pour le boîtier (vous pouvez utiliser le boîtier de l'ancienne alimentation);
  • radiateur de refroidissement et refroidisseur ;
  • pâte thermique;
  • outil - riveteuse, cisailles à métaux, perceuse;
  • fer à souder;
  • rivets.

Pour commencer, le corps de la déchiqueteuse de bois est fabriqué (sur lequel vous pouvez faire bouillir de l'eau dans une casserole à l'aide de petites broussailles).

Il s'agit d'un bocal carré sans fond, il a des trous pour l'air au fond et un support de récipient sur le dessus (bien que ce ne soit pas nécessaire, le générateur fonctionnera sans eau).

Un élément Peltier est fixé au boîtier sur le côté, et un radiateur de refroidissement est fixé sur son côté froid, à travers de la pâte thermique.

Il est important que le contact entre les pièces soit le plus serré possible. Il s'avère que la base du four-générateur

Le radiateur doit refroidir le système au mieux, car la plus grande efficacité est obtenue avec une grande différence de température. En hiver, il n'y aura aucun problème, puisque l'appareil peut être mis dans la neige. Mais pendant la saison chaude, le radiateur chauffera progressivement, donc un refroidisseur est installé pour le refroidir.

Comment fabriquer un générateur de gaz de vos propres mains: caractéristiques de la fabrication d'un appareil fait maison
Vient ensuite la partie électrique. Eh bien, si vous avez réussi à trouver un régulateur de tension dans le même boîtier avec une prise USB, ce sera pratique.

Le stabilisateur est nécessaire pour que la sortie ait toujours une tension donnée, quelle que soit la quantité produite par l'élément générateur.

Vous pouvez acheter du prêt à l'emploi avec un indicateur à diode qui s'allume lorsque la tension atteint une valeur prédéterminée.

Le stabilisateur et le Peltier sont soudés, selon les pôles. Le stabilisateur est soigneusement isolé afin qu'aucune humidité ne pénètre.

La conception est prête, il est possible d'effectuer des tests.

Types d'installations de gaz

Le marché moderne des centrales électriques propose des équipements fonctionnant au gaz de trois types principaux :

  1. Méthode de génération directe ;
  2. Inverse;
  3. Horizontal.

Les premiers conviennent à la combustion du charbon et du semi-coke. Dans de telles unités, l'oxygène entre par le bas et le gaz est prélevé par le dessus de l'unité. Mais comme dans ces modèles l'humidité du combustible ne pénètre pas dans la zone de combustion, elle doit être amenée spécialement. Cela vous permet d'augmenter la puissance de l'appareil.

Les unités à procédé inversé sont idéales pour l'incinération des déchets de bois.Dans ceux-ci, l'air est fourni directement à la zone de combustion et le gaz est prélevé par le bas.

Les appareils à méthode transversale se distinguent par une alimentation en air à grande vitesse par des tuyères dans la partie inférieure du corps. Et ici, uniquement du côté opposé, le gaz est également prélevé. Ces unités se distinguent par un temps de démarrage minimum et une bonne adaptabilité aux changements de modes.

Schéma de la centrale électrique - pour les artisans

Assembler une telle unité de vos propres mains n'est pas si difficile. Cependant, avant de commencer à fabriquer un générateur de gaz de vos propres mains, vous devez vous familiariser avec le principe de fonctionnement de l'unité, ainsi que choisir le schéma le plus adapté à vos conditions.

Pour l'appareil le plus simple, les articles faciles à trouver dans chaque maison conviendront parfaitement :

  • Baril;
  • tuyaux ;
  • Radiateur;
  • Filtres ;
  • Ventilateur.

Cet ensemble peut être complété par d'autres éléments. Quoi et dans quel ordre collecter peut être trouvé sur Internet. De plus, ce ne sont pas nécessairement des dessins et des photos, mais le plus souvent une vidéo qui montre en détail et explique en détail comment assembler soi-même un générateur de gaz sur du fumier, du bois de chauffage et d'autres combustibles. Si le schéma est sélectionné, vous pouvez passer directement à l'assemblage.

Instructions pour la création

Toute unité consiste en un corps à l'intérieur duquel se trouvent les principaux composants et mécanismes. Ce n'est pas étranger à un générateur de gaz assemblé par ses propres mains. Il dispose également d'un étui dans lequel sont placés :

  • Bunker;
  • compartiment de combustion ;
  • partie distribution d'air ;
  • Grille;
  • Branche de tuyau ;
  • Filtres.

Le corps de l'unité est généralement en tôle. Pour faciliter l'installation, les pieds sont soudés au fond. La forme de la structure peut être à la fois ovale et rectangulaire.

Nous le faisons nous-mêmes, les étapes de travail :

La trémie est en acier doux et est fixée à l'intérieur de l'unité. Il est équipé d'un couvercle avec un joint en amiante ou autre matériau. Le fond de l'appareil est occupé par la chambre de combustion. Pour sa fabrication, on choisit des nuances d'acier spéciales qui résistent le mieux aux hautes températures. Un col est fixé à la chambre, qui est également séparée du corps par un matériau isolant.

Les spécialistes qui ont dû assembler des générateurs de gaz de leurs propres mains proposent plus d'une fois de fabriquer une chambre de combustion à partir d'une bouteille de gaz.

La chambre de distribution d'air est généralement située à l'extérieur du boîtier de l'instrument. Et à la sortie un clapet anti-retour est installé à partir de celui-ci, conçu pour empêcher le gaz de s'échapper par ce trou. Il y a un ventilateur devant la boîte.

La grille d'un générateur de gaz à faire soi-même est en fonte, tandis que la partie centrale doit être mobile pour simplifier le processus de maintenance. Mais il ne suffit pas d'assembler le générateur, vous devez également régler correctement l'alimentation en air, ainsi que les gaz d'échappement.

Vous pouvez installer un tel équipement à la fois dans la rue et au sous-sol, en lui assurant une bonne ventilation.

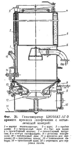
L'appareil et la fabrication du générateur de gaz

Considérons plus en détail le dispositif du générateur de gaz. En plus du boîtier, à l'intérieur duquel se trouve la partie principale des éléments, la conception comprend:

  • soute (chambre pour le chargement du carburant);
  • chambre de combustion (c'est là que se déroule le processus de combustion lente du bois à des températures élevées et avec un minimum d'apport d'air);
  • le col de la chambre de combustion (ici se produit la fissuration des résines);
  • boîte de distribution d'air équipée d'un clapet anti-retour ;
  • lances (trous de calibrage, à travers lesquels la boîte de jonction communique avec la partie médiane de la chambre de combustion);
  • grille (sert de support pour le combustible qui couve);
  • trappes de chargement équipées de couvercles scellés (les trappes de la partie supérieure sont nécessaires pour le chargement du carburant, dans la partie inférieure - pour nettoyer l'unité des cendres accumulées);
  • tuyau de sortie (le gaz inflammable sort par celui-ci et pénètre dans le tuyau soudé du gazoduc);
  • refroidisseur d'air (sous la forme d'un serpentin);
  • filtres pour nettoyer le mélange de gaz des impuretés inutiles.
Lire aussi :  Comment couper un tuyau de gaz: procédure, règles et étapes de travail

Le circuit générateur de gaz peut comprendre un système de séchage du carburant. Pour que la pyrolyse soit efficace, le bois de chauffage doit être sec. Si une partie du gazoduc longe l'anneau autour de la chambre de chargement du combustible (entre les parois de cette chambre et le carter), le bois de chauffage humide aura le temps de sécher avant d'entrer dans la chambre de combustion. Cela augmentera considérablement l'efficacité de l'installation.

Le corps du générateur de gaz est constitué d'un baril en métal, au sommet duquel un tuyau est fixé au joint avec des coins et des boulons, et une bouteille de propane est fixée aux boulons de l'intérieur

Avant de fabriquer un générateur de gaz, vous devez trouver des informations sur un modèle d'appareil approprié et des dessins détaillés indiquant les dimensions de tous les éléments.

Une attention particulière est portée au choix des matériaux pour chacun des éléments structuraux. Le générateur de gaz peut avoir une forme rectangulaire ou cylindrique - le corps est généralement soudé à partir de tôle ou un fût métallique est utilisé

Le fond et le couvercle doivent être en tôle d'acier d'une épaisseur de 5 mm.

La trémie, qui est boulonnée à l'intérieur de la coque, doit être en acier doux.La chambre de combustion est en acier résistant à la chaleur, vous pouvez utiliser une bouteille vide de propane liquéfié.

La bouteille de gaz est installée à l'intérieur du baril et boulonnée à son sommet.

Le couvercle de la trémie doit être équipé d'un joint fiable en matériau résistant à la chaleur (cordon d'amiante avec lubrifiant au graphite). Un isolant réfractaire (corde d'amiante ou matériau similaire) est posé entre le col de la chambre de combustion et le corps. Il est plus pratique de rendre la grille métallique des grilles amovible, à partir de barres d'armature, de sorte qu'il est plus pratique de nettoyer la chambre de combustion.

Un tuyau est attaché aux boulons sur le dessus du baril

Le boîtier de distribution d'air avec un clapet anti-retour à la sortie est installé à l'extérieur du boîtier, devant celui-ci, vous pouvez monter un ventilateur qui souffle de l'air pour augmenter l'efficacité de l'unité lorsque vous travaillez sur du bois fraîchement coupé.

Ventilateur soufflant pour aider à améliorer l'efficacité

Comme serpentin de refroidissement par air, certains artisans installent un radiateur en acier ou bimétallique. Le mélangeur, traversant lequel le gaz combustible purifié est mélangé à l'air, est équipé d'un ventilateur.

Lors du choix des matériaux pour une installation fixe destinée à produire de l'électricité à usage domestique, l'accent est mis sur la fiabilité et l'abordabilité. Si vous souhaitez fabriquer un générateur de gaz pour une voiture, la préférence doit être donnée à l'acier inoxydable - cela rendra l'appareil plus léger et plus compact. Mais l'utilisation de l'acier inoxydable augmente considérablement le coût de construction.

Conclusion

Le générateur de gaz à bois compact convient à une installation sur un camion ou une voiture.L'unité pour une centrale électrique locale peut être installée dans le sous-sol d'une maison, dans une dépendance ou, si nécessaire, installée dans la rue ou sous un auvent (lorsqu'il est nécessaire d'alimenter en électricité tout équipement électrique fixe).

La question fondamentale est le bon fonctionnement du générateur de gaz. Pour que l'unité fonctionne avec un rendement élevé, il est nécessaire d'ajuster soigneusement le niveau d'alimentation en air (en tenant compte de la teneur en humidité du carburant), l'intensité des gaz d'échappement, etc. Il est souhaitable de fabriquer un générateur de gaz selon des dessins professionnels, dans le respect de toutes les tailles et proportions.

Vidéo associée :

Comment fabriquer un générateur de gaz de vos propres mains?

Est-il possible de fabriquer un générateur de gaz de vos propres mains? Oui, mais vous aurez besoin d'un ensemble d'outils et des matériaux eux-mêmes. Seront utilisés : de la tôle d'acier pour créer une caisse, un réservoir de carburant (qui contiendra du bois de chauffage), de l'acier résistant à la chaleur pour un récipient où se déroulera la combustion, divers joints résistants à la chaleur, idéalement sans amiante, parce que c'est considéré comme dangereux pour le corps. Toutes sortes de tuyaux qui relieront tous les nœuds du générateur de gaz, des filtres pour éliminer les impuretés (des collègues occidentaux expérimentent les mêmes mélanges de bois), une grille spéciale en fonte qui laisse passer les éléments brûlés et des bagatelles telles que des portes , couvercles et vannes. Après avoir obtenu tous les éléments nécessaires et armé d'un dessin approprié, vous pouvez procéder directement à la création d'un appareil tel qu'un générateur de gaz à bois fait maison de vos propres mains. La précision et l'individualité des calculs de conception du générateur de gaz en fonction de votre voiture sont souhaitables, mais parfois non requises.Certains, particulièrement attentifs et maniables "faits maison", parviennent à copier l'unité nécessaire, en utilisant des dessins standard.

Appareil générateur de gaz

Qu'est-ce qu'un générateur de gaz à bois pour une voiture ? Le secret de l'unité est assez simple. Lors de la combustion du combustible bois, un gaz est produit qui, débarrassé des impuretés en excès, passe par l'étape de refroidissement, est mélangé à de l'air et injecté dans le moteur à combustion interne.

Comment fabriquer un générateur de gaz de vos propres mains: caractéristiques de la fabrication d'un appareil fait maison

Cela signifie que vous aurez besoin du générateur de gaz lui-même, de différents types de filtres, d'un système de refroidissement obligatoire, de toutes sortes de canalisations et d'un ventilateur électrique - pour accélérer et améliorer la combustion elle-même. Le système ressemble à ceci: le carburant nécessaire est chargé dans un réservoir cylindrique haut (un carré est également possible), sous lequel la chambre de combustion elle-même est installée. Le gaz résultant passe par un système de purification. De plus, la température du carburant chute à l'idéal, puis l'enrichissement de l'air - et le mélange souhaité se trouve dans le moteur. Les développements modernes des artisans diffèrent peu de l'ancien schéma ci-joint, et donc, si vous n'équipez pas un camion d'un générateur de gaz, mais le mettez sur une voiture de tourisme chère à votre cœur, vous devrez soit construire une structure effrayante dans le coffre, ou fixez d'une manière ou d'une autre l'unité sur une remorque supplémentaire à la voiture.

Types d'installations de gaz

Le marché moderne des centrales électriques propose des équipements fonctionnant au gaz de trois types principaux :

  1. Méthode de génération directe ;
  2. Inverse;
  3. Horizontal.

Les premiers conviennent à la combustion du charbon et du semi-coke. Dans de telles unités, l'oxygène entre par le bas et le gaz est prélevé par le dessus de l'unité.Mais comme dans ces modèles l'humidité du combustible ne pénètre pas dans la zone de combustion, elle doit être amenée spécialement. Cela vous permet d'augmenter la puissance de l'appareil.

Les unités à procédé inversé sont idéales pour l'incinération des déchets de bois. Dans ceux-ci, l'air est fourni directement à la zone de combustion et le gaz est prélevé par le bas.

Les appareils à méthode transversale se distinguent par une alimentation en air à grande vitesse par des tuyères dans la partie inférieure du corps. Et ici, uniquement du côté opposé, le gaz est également prélevé. Ces unités se distinguent par un temps de démarrage minimum et une bonne adaptabilité aux changements de modes.

Schéma de la centrale électrique - pour les artisans

Assembler une telle unité de vos propres mains n'est pas si difficile. Cependant, avant de commencer à fabriquer un générateur de gaz de vos propres mains, vous devez vous familiariser avec le principe de fonctionnement de l'unité, ainsi que choisir le schéma le plus adapté à vos conditions.

Comment fabriquer un générateur de gaz de vos propres mains: caractéristiques de la fabrication d'un appareil fait maisonConception de l'installation et schéma de connexion

Pour l'appareil le plus simple, les articles faciles à trouver dans chaque maison conviendront parfaitement :

  • Baril;
  • tuyaux ;
  • Radiateur;
  • Filtres ;
  • Ventilateur.

Cet ensemble peut être complété par d'autres éléments. Quoi et dans quel ordre collecter peut être trouvé sur Internet. De plus, ce ne sont pas nécessairement des dessins et des photos, mais le plus souvent une vidéo qui montre en détail et explique en détail comment assembler soi-même un générateur de gaz sur du fumier, du bois de chauffage et d'autres combustibles. Si le schéma est sélectionné, vous pouvez passer directement à l'assemblage.

Instructions pour la création

Toute unité consiste en un corps à l'intérieur duquel se trouvent les principaux composants et mécanismes.Ce n'est pas étranger à un générateur de gaz assemblé par ses propres mains. Il dispose également d'un étui dans lequel sont placés :

  • Bunker;
  • compartiment de combustion ;
  • partie distribution d'air ;
  • Grille;
  • Branche de tuyau ;
  • Filtres.

Le corps de l'unité est généralement en tôle. Pour faciliter l'installation, les pieds sont soudés au fond. La forme de la structure peut être à la fois ovale et rectangulaire.

Nous le faisons nous-mêmes, les étapes de travail :

La trémie est en acier doux et est fixée à l'intérieur de l'unité. Il est équipé d'un couvercle avec un joint en amiante ou autre matériau. Le fond de l'appareil est occupé par la chambre de combustion. Pour sa fabrication, on choisit des nuances d'acier spéciales qui résistent le mieux aux hautes températures. Un col est fixé à la chambre, qui est également séparée du corps par un matériau isolant.

Les spécialistes qui ont dû assembler des générateurs de gaz de leurs propres mains proposent plus d'une fois de fabriquer une chambre de combustion à partir d'une bouteille de gaz.

La chambre de distribution d'air est généralement située à l'extérieur du boîtier de l'instrument. De plus, un clapet anti-retour est installé à la sortie de celui-ci, destiné à empêcher le gaz de s'échapper par ce trou. Il y a un ventilateur devant la boîte.

La grille d'un générateur de gaz à faire soi-même est en fonte, tandis que la partie centrale doit être mobile pour simplifier le processus de maintenance. Mais il ne suffit pas d'assembler le générateur, vous devez également régler correctement l'alimentation en air, ainsi que les gaz d'échappement.

Vous pouvez installer un tel équipement à la fois dans la rue et au sous-sol, en lui assurant une bonne ventilation.

6 bricolage

La production de tout appareil commence par la production d'un dessin.Après avoir étudié les informations détaillées, une personne a une idée de la conception externe de l'unité. Ensuite, il reste à donner vie à votre idée.

Pour que l'appareil soit esthétique, vous devez choisir les bons détails. Pour sa fabrication, vous aurez besoin de:

  • baril pour 100 l;
  • peut en acier avec un couvercle étanche sur les loquets;
  • un tuyau à parois épaisses d'un diamètre de 15-16 cm et d'une longueur de 30 cm;
  • extincteur d'incendie;
  • tôle d'acier de 0,6 à 1 cm d'épaisseur;
  • partie d'un radiateur de chauffage domestique.

Vous devez d'abord faire 5-6 trous en haut du tuyau. Il deviendra le sommet de la structure. Un tube d'alimentation en oxygène doit être soudé à l'un des trous obtenus. Le reste libérera du gaz. En partie basse il faut souder un fond perforé en inox. Procurez-vous la partie grille, qui accueillera les braises. La poussière sortira par les trous.

De l'intérieur du verre résultant, un cône métallique est soudé pour fournir du charbon. Ensuite, une tôle doit être soudée avec un trou dont la taille correspond au diamètre intérieur du tuyau. La structure doit être placée perpendiculairement au sommet du tube. La feuille deviendra le fond du bac. Les fonctions de ce dernier seront assurées par un bidon.

Comment fabriquer un générateur de gaz de vos propres mains: caractéristiques de la fabrication d'un appareil fait maison

Fabriquer une voiture en bois de vos propres mains n'est pas aussi simple que cela puisse paraître à première vue. La procédure nécessite beaucoup d'efforts et de temps. Cependant, pour un artisan qualifié qui est prêt à expérimenter et n'a pas peur des difficultés, c'est une tâche très réelle.

Il est très important d'étudier en détail l'appareil et le principe de fonctionnement du produit, ainsi que de rédiger correctement son dessin.

Qu'est-ce qu'un générateur de gaz à bois

Le générateur de gaz a une conception assez simple, car tous les processus qui s'y déroulent sont basés sur la combustion par pyrolyse du bois de chauffage. C'est-à-dire que l'idée des générateurs de gaz est basée sur des chaudières à pyrolyse, où le bois brûle par manque d'air, tout en libérant une grande quantité de gaz divers. De plus amples informations sur la structure de ce dispositif seront données.

Comment fabriquer un générateur de gaz de vos propres mains: caractéristiques de la fabrication d'un appareil fait maison

  • Cadre. Il est généralement fabriqué en tôle d'acier. Tous les éléments sont reliés par soudure. En général, le boîtier peut avoir à la fois une forme cylindrique et une forme rectangulaire, bien que la forme cylindrique soit plus courante et qu'elle soit esthétique. Dans la partie inférieure, les pieds sont soudés sur lesquels reposera la structure.
  • Bunker. Il est également fabriqué à partir de tôle d'acier à faible teneur en carbone. Comme le corps, la trémie peut également avoir la forme d'un cylindre ou d'un rectangle. Il est inséré dans le boîtier et fixé aux parois du boîtier avec des boulons. Il devrait également y avoir un couvercle couvrant l'ouverture en haut qui mène à la trémie. L'amiante ou un autre matériau est utilisé comme scellant.
  • La chambre de combustion. Il est situé en bas et est généralement en acier à haute teneur en chrome. Ici, la combustion de combustible solide se produit dans des conditions d'alimentation en air insuffisante. Il y a des cordons d'amiante entre les parois intérieures du boîtier et la chambre de combustion. Sur les parois latérales de la chambre de combustion, il y a plusieurs trous, ou, comme on les appelle aussi, des lances d'alimentation en air, à travers lesquelles l'air est fourni à la chambre de combustion. Ces tuyères sont reliées à un réservoir de distribution d'air qui communique avec l'atmosphère. Lorsque l'air quitte ce récipient, il surmonte le clapet anti-retour.La fonction de cette vanne est de bloquer la sortie des gaz formés lors de la combustion du bois de chauffage vers l'extérieur.
  • La grille est située au bas de l'appareil. Sa fonction est de maintenir le combustible chaud. De plus, à travers les nombreux trous de cette grille, les cendres formées lors de la combustion du combustible pénètrent dans le cendrier.
  • Trappes de chargement. Il existe trois trappes de ce type dans la conception des générateurs de gaz domestiques. Le premier est sur le dessus, sa couverture est pliée horizontalement. Les cordons d'amiante sont utilisés comme scellant lors de la fermeture et de l'étanchéité. Dans les modèles modernes, dans la zone de fixation de la trappe, vous pouvez trouver un ressort d'amortisseur spécial, qui entre automatiquement en action si la pression à l'intérieur de l'appareil dépasse une certaine norme. Sous l'action de ce ressort, la trappe se renverse. Sur le côté de la structure, il y a deux autres trappes de chargement. Le premier est situé au niveau de la zone de récupération. Cette trappe est utilisée pour charger du carburant dans cette zone. La trappe inférieure est située à l'extrémité inférieure de l'appareil, au niveau du cendrier. Il sert à le nettoyer. Le gaz formé lors de la combustion du combustible solide est évacué de la partie supérieure de la structure. Pour ce faire, il existe un tuyau spécial pour la sortie de gaz.
Lire aussi :  Brûleur à gaz pour souder des tuyaux en cuivre : principaux types de brûleurs + conseils pour les acheteurs potentiels

Ensuite, nous examinerons les processus au cours desquels les gaz combustibles sont libérés du bois. En général, l'ensemble de la structure peut être divisé en plusieurs zones :

  • Zone de séchage. Il est situé au sommet de la structure, juste en dessous de la trappe de chargement. Ici, le carburant sèche rapidement du fait que la température dans cette zone atteint environ 190 degrés Celsius.
  • Zone de distillation sèche. Il est situé sous la zone de séchage. Le carburant séché est carbonisé ici en raison du fait que la température atteint jusqu'à 500 degrés. Au cours de ces processus, les résines et certains acides d'origine organique sont éliminés du carburant.
  • Zone brûlante. Situé en bas. Le carburant entre ici et brûle à une température de 1200 degrés. L'air est fourni par des tuyères spéciales. Lors de la combustion, du monoxyde de carbone et du dioxyde de carbone sont libérés.
  • Zone de récupération. Les gaz dégagés lors de la combustion du carburant remontent et atteignent la zone de réduction. Le charbon est chargé ici par une trappe spéciale, qui est maintenue sur la grille. Le monoxyde de carbone et le dioxyde de carbone réagissent avec le charbon. Lorsque le dioxyde de carbone et le charbon réagissent, du monoxyde de carbone se forme au cours de la réaction. Mais il y a de l'eau dans le charbon, qui est aussi active vis-à-vis des gaz. À la suite de toutes ces réactions, du monoxyde de carbone, du dioxyde de carbone, de l'hydrogène, du méthane, certains composés d'hydrocarbures insaturés volatils et de l'azote se forment. Ce mélange de gaz est purifié de toutes les impuretés, puis mélangé à de l'air. C'est le résultat final. Le mélange de gaz résultant peut être utilisé pour les besoins domestiques.

Des mesures de précaution

Il est impossible de convertir un four traditionnel en four à gaz. De telles manipulations ne feront que générer de la fumée. Afin d'utiliser pleinement le dispositif générateur de gaz, il est nécessaire de prendre en compte ses lacunes.

A la sortie de tels équipements, du gaz froid se forme. Si la cheminée n'est pas correctement isolée, de la condensation se formera. L'humidité retournera dans l'appareil. Par conséquent, les experts recommandent l'utilisation de structures sandwich isolées.Ils se composent de 2 tuyaux imbriqués l'un dans l'autre, entre lesquels se trouve un radiateur.

Pour que le générateur de gaz fonctionne le plus efficacement possible, il est nécessaire d'installer un économiseur (équipement en option).

Variante classique

Comme indiqué précédemment, une centrale électrique au bois utilise plusieurs technologies pour produire de l'électricité. Le classique parmi eux est la vapeur, ou simplement la machine à vapeur.

Tout est simple ici - le bois de chauffage ou tout autre combustible, brûlant, chauffe l'eau, à la suite de quoi elle passe à l'état gazeux - la vapeur.

La vapeur qui en résulte est acheminée vers la turbine du groupe électrogène et, en raison de la rotation, le générateur génère de l'électricité.

Étant donné que la machine à vapeur et le groupe électrogène sont connectés en un seul circuit fermé, après avoir traversé la turbine, la vapeur est refroidie, réinjectée dans la chaudière et l'ensemble du processus est répété.

Comment fabriquer un générateur de gaz de vos propres mains: caractéristiques de la fabrication d'un appareil fait maison

Un tel schéma de centrale électrique est l'un des plus simples, mais il présente un certain nombre d'inconvénients importants, dont l'explosivité.

Après le passage de l'eau à l'état gazeux, la pression dans le circuit augmente considérablement et, si elle n'est pas régulée, la probabilité de rupture des canalisations est élevée.

Et bien que les systèmes modernes utilisent tout un ensemble de vannes qui régulent la pression, le fonctionnement d'une machine à vapeur nécessite toujours une surveillance constante.

De plus, l'eau ordinaire utilisée dans ce moteur peut provoquer la formation de tartre sur les parois des tuyaux, ce qui réduit l'efficacité de la station (le tartre altère le transfert de chaleur et réduit le débit des tuyaux).

Mais maintenant, ce problème est résolu en utilisant de l'eau distillée, des liquides, des impuretés purifiées qui précipitent ou des gaz spéciaux.

Mais d'un autre côté, cette centrale électrique peut remplir une autre fonction - chauffer la pièce.

Tout est simple ici - après avoir rempli sa fonction (rotation de la turbine), la vapeur doit être refroidie pour qu'elle redevienne liquide, ce qui nécessite un système de refroidissement ou, simplement, un radiateur.

Et si vous placez ce radiateur à l'intérieur, en conséquence, d'une telle station, nous recevrons non seulement de l'électricité, mais également de la chaleur.

Comment fabriquer un générateur de gaz de vos propres mains: caractéristiques de la fabrication d'un appareil fait maison

Évaluation
Site sur la plomberie

Nous vous conseillons de lire

Où remplir la poudre dans la machine à laver et combien de poudre verser