Lampes à décharge: types, appareil, comment choisir le meilleur

Quels sont les types de lampes: caractéristiques et variétés de modèles modernes, combien de temps et d'ampoules à économie d'énergie pour la maison sont-elles correctement appelées

Caractéristiques des lampes fluorescentes

La lampe à décharge de gaz fluorescent peut être produite avec différentes configurations. Les types les plus courants sont les anneaux et les panneaux. La puissance moyenne des lampes fluorescentes est de 100 watts. Dans le même temps, les modèles les plus compacts sont produits à 5 watts. À son tour, l'indicateur de puissance maximale peut atteindre jusqu'à 80 watts. La longueur minimale de la base est de 8 cm, tandis que les grandes lampes fluorescentes annulaires sont produites en 15 cm.

Il existe différents socles avec les marquages ​​suivants : H23, G24, 2G7 et 2G13. À leur tour, les cartouches sont produites dans les classes E14 et E27.En règle générale, tous les modèles ont un ballast électronique intégré. Les lampes fluorescentes sont divisées en modèles avec des couleurs jaune, blanc, bleu et vert selon les spectres d'émission.

Comment choisir une lampe

Lors du choix d'une lampe, le régime de température d'utilisation de l'appareil, l'indicateur de tension électrique dans le réseau, la taille des lampes, la force du flux lumineux et la nuance de rayonnement sont importants. Les paramètres des socles des lampes fluorescentes doivent correspondre aux types de lampes, lampadaires, etc.

La sélection de lampes diffère selon le type de pièce (couloirs, salons, chambres, salles de bains, etc.). Pour les espaces de vie, les modèles avec une base à vis et un ballast électronique conviennent, car. n'ont pas de scintillement aigu et sont silencieux.

Les couloirs nécessitent des luminaires puissants avec un éclairage intense et diffus. Pour les appliques murales, des luminaires de type compact avec un ton chaud (930) et une reproduction des couleurs de haute qualité conviennent. Au-dessus de l'avant-toit sous le plafond, il est possible de monter des luminaires à bande avec des lampes à abat-jour froid (860) et une conception tubulaire.

Dans le salon, les appareils fluorescents sont utilisés pour les appliques qui sont montées pour éclairer des zones ou des éléments décoratifs. La couleur est sélectionnée blanc, haute qualité (940). L'installation de dispositifs d'éclairage autour du périmètre du plafond est possible.

Dans la chambre, il est recommandé de choisir des luminaires fluorescents standard avec un indicateur de 930-933 ou des appareils compacts aux qualités similaires.

L'éclairage dans la cuisine doit être à plusieurs niveaux (général et local). Les appareils compacts d'une puissance d'au moins 20 W sont recommandés comme appareils de plafond, l'ombre de la lumière doit être chaude, avec un indicateur d'au moins 840. Les lampes fluorescentes linéaires qui ne créent pas d'éblouissement sur les surfaces sont optimales pour aménager la zone de travail dans la cuisine.

Lampes halogènes

Lampes à décharge: types, appareil, comment choisir le meilleurLampes halogènes

Il y a quelques décennies, ce type d'ampoule était populaire, même s'il était inférieur aux ampoules d'Ilyich. Mais récemment, les gens ont commencé à abandonner les lampes halogènes au profit d'options modernes. Ils étaient utilisés pour créer un éclairage encastré, mais il existe maintenant de meilleures options. Les lampes halogènes sont extrêmement rares et se trouvent principalement sur des lustres ou des appliques murales.

Avantages des lampes halogènes :

  • Par rapport aux lampes à incandescence, les lampes halogènes ont une durée de vie plus longue, car leur flux lumineux est construit différemment. Il est stable.
  • De plus, les ampoules halogènes sont beaucoup plus petites, mais elles ont une résistance à la chaleur et une résistance beaucoup plus grandes. À
  • Un autre avantage est que les ampoules de ce type sont très puissantes, mais en même temps leur consommation d'énergie n'est pas aussi importante que celle des mêmes lampes à incandescence.

Inconvénients des lampes halogènes :

  • Ils ne sont pas si faciles à connecter, vous avez besoin d'un transformateur. Bien sûr, dans les appliques murales, il est intégré automatiquement. Mais si vous souhaitez créer un semblant d'éclairage ponctuel, le transformateur devra être acheté et installé de vos propres mains.
  • Étant donné que la qualité des transformateurs intégrés, pour ne pas dire plus, est médiocre, tout ce processus peut entraîner un problème avec un découplage sérieux. Au minimum, si le transformateur tombe en panne et doit être changé, il sera difficile de le faire, car il est caché derrière le plafond ou le mur.

Modèles aux halogénures métalliques

Lampes à décharge: types, appareil, comment choisir le meilleurLe paramètre de rendement lumineux de ces modèles peut librement atteindre 100 li/W. Avec tout cela, les dispositifs aux halogénures métalliques ont une forme assez compacte et leur flux de faisceau peut être rapidement dirigé à l'aide d'un réflecteur. Ils se distinguent également par leurs performances particulières.Il est interdit de les utiliser sur la place et dans la rue, mais en plus, les lampes tolèrent parfaitement les températures inférieures à zéro.

Dans la maison, vous pouvez utiliser des modèles aux halogénures métalliques avec une palette de couleurs différente, mais les inconvénients d'un tel appareil peuvent toujours être retracés. Un grand nombre d'utilisateurs signalent que l'appareil a un long temps d'allumage. En moyenne, il faut attendre environ 30 secondes pour cela, et la lampe n'atteint pas sa pleine puissance rapidement, après l'avoir éteinte il devient assez difficile de la rallumer. Le plus souvent, cela est associé à une surchauffe de la base. En fin de compte, l'utilisateur devra attendre que l'appareil soit complètement refroidi.

Spécificités d'application : avantages et inconvénients des lampes

Les éclairages de type DRL sont principalement installés sur des poteaux pour éclairer les rues, les allées, les parcs, les territoires adjacents et les bâtiments non résidentiels. Cela est dû aux caractéristiques techniques et opérationnelles des lampes.

Le principal avantage des appareils à arc au mercure est leur puissance élevée, qui fournit un éclairage de haute qualité des zones spacieuses et des objets volumineux.

Lampes à décharge: types, appareil, comment choisir le meilleur
Il convient de noter que les données du passeport DRL pour le flux lumineux sont pertinentes pour les nouvelles lampes. Après un quart, la luminosité se détériore de 15%, après un an - de 30%

Les avantages supplémentaires incluent :

  1. Durabilité. La durée de vie moyenne, déclarée par les fabricants, est de 12 000 heures. De plus, plus la lampe est puissante, plus elle durera longtemps.
  2. Travailler à basse température. C'est un paramètre décisif lors du choix d'un appareil d'éclairage pour la rue. Les lampes à décharge sont résistantes au gel et conservent leurs caractéristiques de performance à des températures inférieures à zéro.
  3. Bonne luminosité et angle d'éclairage. Le rendement lumineux des appareils DRL, en fonction de leur puissance, varie de 45 à 60 Lm / V.En raison du fonctionnement du brûleur à quartz et du revêtement de phosphore de l'ampoule, une distribution uniforme de la lumière avec un large angle de diffusion est obtenue.
  4. Compacité. Les lampes sont relativement petites, la longueur du produit pour 125 W est d'environ 18 cm, l'appareil pour 145 W est de 41 cm, le diamètre est de 76 et 167 mm, respectivement.
Lire aussi :  Comment faire un bioréacteur de vos propres mains

L'une des caractéristiques de l'utilisation des illuminateurs DRL est la nécessité de se connecter au réseau via un starter. Le rôle de l'intermédiaire est de limiter le courant qui alimente l'ampoule. Si vous connectez un dispositif d'éclairage en contournant l'accélérateur, il s'éteindra en raison du courant électrique important.

Lampes à décharge: types, appareil, comment choisir le meilleur
Schématiquement, la connexion est représentée par une connexion en série d'une lampe au phosphore au mercure à travers une bobine d'arrêt à l'alimentation. Un ballast est déjà intégré dans de nombreux illuminateurs DRL modernes - ces modèles sont plus chers que les lampes conventionnelles

Un certain nombre d'inconvénients limitent l'utilisation des lampes DRL dans la vie quotidienne.

Inconvénients importants :

  1. Durée d'allumage. Sortie à pleine illumination - jusqu'à 15 minutes. Le mercure met du temps à se réchauffer, ce qui est très gênant à la maison.
  2. Sensibilité à la qualité de l'alimentation. Lorsque la tension chute de 20% ou plus par rapport à la valeur nominale, l'allumage de la lampe au mercure ne fonctionnera pas et l'appareil lumineux s'éteindra. Avec une diminution de l'indicateur de 10 à 15%, la luminosité de la lumière se détériore de 25 à 30%.
  3. Bruit au travail. La lampe DRL émet un bourdonnement, non perceptible dans la rue, mais perceptible à l'intérieur.
  4. Pulsation. Malgré l'utilisation d'un stabilisateur, les ampoules scintillent - il n'est pas souhaitable d'effectuer un travail à long terme dans un tel éclairage.
  5. Faible reproduction des couleurs. Le paramètre caractérise la réalité de la perception des couleurs environnantes. L'indice de rendu des couleurs recommandé pour les locaux d'habitation est d'au moins 80, de manière optimale 90-97.Pour les lampes DRL, la valeur de l'indicateur n'atteint pas 50. Sous un tel éclairage, il est impossible de distinguer clairement les nuances et les couleurs.
  6. Application non sécurisée. Pendant le fonctionnement, de l'ozone est libéré, par conséquent, lors de l'utilisation de la lampe à l'intérieur, l'organisation d'un système de ventilation de haute qualité est nécessaire.

De plus, la présence de mercure dans le flacon lui-même est un danger potentiel. De telles ampoules après utilisation ne peuvent pas simplement être jetées. Afin de ne pas polluer l'environnement, ils sont éliminés correctement.

Lampes à décharge: types, appareil, comment choisir le meilleur
Une autre limitation de l'utilisation des lampes à décharge dans la vie quotidienne est la nécessité de les installer à une hauteur considérable. Modèles d'une puissance de 125 W - suspension en 4 m, 250 W - 6 m, 400 W et plus puissants - 8 m

Un inconvénient important des illuminateurs DRL est l'impossibilité de se rallumer tant que la lampe n'a pas complètement refroidi. Pendant le fonctionnement de l'appareil, la pression du gaz à l'intérieur du flacon en verre augmente fortement (jusqu'à 100 kPa). Jusqu'à ce que la lampe refroidisse, il est impossible de percer l'éclateur avec la tension de démarrage. La réactivation se produit après environ un quart d'heure.

Le principe de fonctionnement d'une lampe à décharge de gaz

Lors de la vérification des performances de la lampe, vous devez suivre certaines recommandations :

  1. Ne vous précipitez pas pour insérer un nouveau modèle à la place d'un modèle endommagé, vous devez vous assurer que l'accélérateur n'est pas fermé, sinon plusieurs pièces pourraient brûler à la fois.
  2. Lors de l'installation, utilisez d'abord une diode avec des spirales entières, mais pas une diode fonctionnelle, dans laquelle le gaz clignotait ou brillait auparavant. Si les spirales restent en ordre, vous pouvez installer et visser un nouveau modèle, mais si elles brûlent, vous devez alors changer l'accélérateur lui-même.
  3. Si des réparations supplémentaires sont nécessaires, vous devez commencer par le démarreur, qui tombe en panne plus souvent que les autres composants de la conception de la lampe.
  4. Que faut-il retenir ? Vous devez savoir qu'il est presque impossible de vérifier à la fois le démarreur et l'accélérateur individuellement sans l'utilisation d'appareils spécialisés.

En quoi les éclairages LED sont-ils différents ?

  1. Grandes économies d'énergie et d'électricité.
  2. Composants respectueux de l'environnement, ne nécessitent pas d'élimination ou de soins spéciaux.
  3. La durée de vie du fonctionnement continu est de 40 à 60 000 heures.
  4. Le flux lumineux est normalisé sur toute la plage de tension d'alimentation de 170 à 264V, tandis que les indicateurs d'éclairage ne changent pas.
  5. Réchauffement rapide et mise en marche.
  6. Ne contient pas de mercure.
  7. Il n'y a pas de courants de démarrage.
  8. Bon rendu des couleurs.
  9. Il est possible de régler indépendamment la puissance.

Lampes à décharge

Avantages et inconvénients des produits

Les avantages des sources lumineuses à décharge incluent :

  • dimensions compactes ;
  • haute efficacité;
  • rentabilité;
  • bonne alimentation et stabilité de la lumière;
  • résistance aux influences environnementales négatives;
  • longue durée de vie.

Lors du choix, les inconvénients sont également pris en compte:

  • prix élevés;
  • ajout de ballasts ;
  • durée de la période d'entrée en mode de fonctionnement ;
  • la présence de substances toxiques dans les flacons ;
  • scintillement et bruit ;
  • spectre inégal inhabituel de rayonnement.

Il y a encore plus d'avantages que d'inconvénients. Le prix est entièrement compensé par l'économie et la longue durée de vie.

Avantages et inconvénients

Les sources lumineuses fluorescentes au mercure à arc, y compris les lampes, présentent les avantages suivants :

  • haut degré de flux lumineux;
  • servir longtemps;
  • applicable pour l'éclairage à des températures négatives ;
  • grâce aux électrodes intégrées, ils ne nécessitent pas de dispositif d'allumage supplémentaire ;
  • équipements de contrôle disponibles.

Il existe un certain nombre d'inconvénients, dont certains imposent des restrictions sur la portée:

  • selon GOST, le mercure et le phosphore contenus dans ces lampes doivent être éliminés à l'aide d'une technologie spéciale;
  • faible rendu des couleurs (environ 45%);
  • Pour un fonctionnement complet, une tension stable est nécessaire. S'il tombe à 15%, la lampe avec une telle ampoule cessera de briller;
  • à des températures trop basses (plus de -20 degrés Celsius), la source lumineuse peut ne pas s'allumer. De plus, de telles conditions de fonctionnement réduisent considérablement la durée de vie de la lampe ;
  • pour rallumer la lampe, il faut attendre de 10 à 15 minutes ;
  • diminution du flux lumineux après environ 2000 heures de service.

Ce sera intéressant pour vous Comment faire de l'éclairage sur le balcon

En règle générale, le fabricant indique un certain nombre de règles à suivre lors de l'utilisation de ces sources lumineuses. Cela leur permettra de durer plus longtemps. Même si la lampe est installée dans la mauvaise position, cela affectera sa durée de vie.

Lampes à décharge: types, appareil, comment choisir le meilleur
La lueur d'une lampe au mercure

Le principe de fonctionnement d'une lampe à décharge de gaz

Lors de la vérification des performances de la lampe, vous devez suivre certaines recommandations :

  1. Ne vous précipitez pas pour insérer un nouveau modèle à la place d'un modèle endommagé, vous devez vous assurer que l'accélérateur n'est pas fermé, sinon plusieurs pièces pourraient brûler à la fois.
  2. Lors de l'installation, utilisez d'abord une diode avec des spirales entières, mais pas une diode fonctionnelle, dans laquelle le gaz clignotait ou brillait auparavant. Si les spirales restent en ordre, vous pouvez installer et visser un nouveau modèle, mais si elles brûlent, vous devez alors changer l'accélérateur lui-même.
  3. Si des réparations supplémentaires sont nécessaires, vous devez commencer par le démarreur, qui tombe en panne plus souvent que les autres composants de la conception de la lampe.
  4. Que faut-il retenir ? Vous devez savoir qu'il est presque impossible de vérifier à la fois le démarreur et l'accélérateur individuellement sans l'utilisation d'appareils spécialisés.

En quoi les éclairages LED sont-ils différents ?

  1. Grandes économies d'énergie et d'électricité.
  2. Composants respectueux de l'environnement, ne nécessitent pas d'élimination ou de soins spéciaux.
  3. La durée de vie du fonctionnement continu est de 40 à 60 000 heures.
  4. Le flux lumineux est normalisé sur toute la plage de tension d'alimentation de 170 à 264V, tandis que les indicateurs d'éclairage ne changent pas.
  5. Réchauffement rapide et mise en marche.
  6. Ne contient pas de mercure.
  7. Il n'y a pas de courants de démarrage.
  8. Bon rendu des couleurs.
  9. Il est possible de régler indépendamment la puissance.
Lire aussi :  Brûleurs gaz : top 7 des offres + critères de sélection et conseils d'utilisation

Lampes à décharge

Lampes à décharge: types, appareil, comment choisir le meilleurLampes à décharge: types, appareil, comment choisir le meilleurLampes à décharge: types, appareil, comment choisir le meilleurLampes à décharge: types, appareil, comment choisir le meilleurLampes à décharge: types, appareil, comment choisir le meilleur

Caractéristiques.

  1. Excellent indice de rendu des couleurs : 85-95 %.
  2. Large gamme de températures de couleur. Selon les additifs, il est obtenu de 2500 K à 20000 K.
  3. Sensibilité aux fluctuations du réseau. Une fluctuation de 10 % peut éteindre une ampoule. Une surtension plus forte peut entraîner une explosion de l'ampoule. Et un long travail à basse tension entraîne une modification de la qualité de la lumière.
  4. Les sources lumineuses aux halogénures métalliques sont indépendantes de la température ambiante. Fonctionne bien par temps froid.
  5. Stabilité d'un flux lumineux pendant toute la durée de vie. À la fin de sa vie, l'ampoule brille de la même manière qu'au début.
  6. Longue durée de vie : 6000-15000 heures.

Le tableau montre les caractéristiques comparatives des modèles MGL populaires d'OSRAM et de Philips.

La désignation

Puissance, W

Type de socle

Flux lumineux, Lm

Ra

Dimensions hors tout, mm (d×l)

OSRAM

Philips

HQI TS70/D

75

RX7

5000

95

20×114,2

HQI TS 70/NDL

MHN TD 70W

75

5500

85

HQI TS 70/WDL

MHW TD 70W

75

5000

HQI T 35/WDL/BU

CMD-T35W/830

35

G12

2400

25×84

HQI T 70/NDL

MHN-T 70W

75

5500

HQI T 70/WDL

CMD-T70W/830

75

5200

HQI T 150/NDL

MHN-T 150W

150

12500

Lampes à décharge haute pression

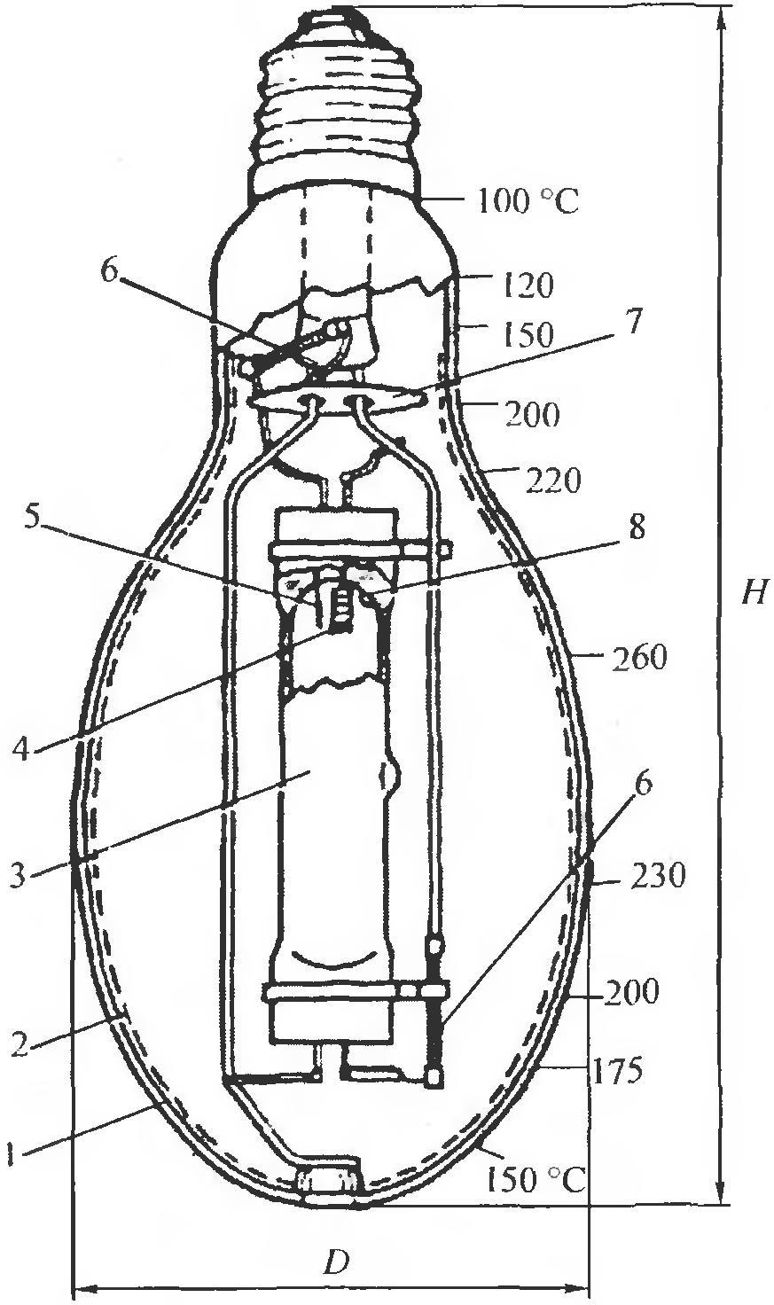
Lampes à décharge: types, appareil, comment choisir le meilleurLes modèles à haute incandescence les plus largement utilisés sont les appareils au mercure. Leur principale caractéristique distinctive est l'absence de nécessité de ballast. Dans la plupart des cas, de tels modèles de décharge de gaz à haute pression peuvent être facilement trouvés dans la rue et ils sont rarement utilisés dans les bâtiments. En plus des équipements au mercure, une grande variété de sources lumineuses au sodium peut être trouvée sur le marché concurrentiel.

Leur caractéristique principale est un paramètre de rendement lumineux élevé. Avec tout cela, la durée de vie et le fonctionnement de ces appareils sont assez longs. Le dernier type de lampes à haute pression sont des appareils aux halogénures métalliques. Ce modèle fait référence à une source lumineuse ponctuelle. Ils ont beaucoup plus de puissance que les appareils à incandescence. Avec tout cela, de tels modèles, comme tous les autres, ont leurs inconvénients.

Le principe de fonctionnement et le schéma de connexion de la lampe HPS

La décharge d'arc est maintenue à l'intérieur du brûleur. Pour son apparence, IZU est utilisé. Cette abréviation est déchiffrée - un dispositif d'allumage par impulsions. Lorsque le circuit est allumé, la lampe reçoit une impulsion de 2 à 5 kV. Il est nécessaire d'allumer la lampe - une panne électrique du brûleur et la formation d'une décharge d'arc. La tension d'allumage est nettement supérieure à la tension de combustion. En règle générale, trois à cinq minutes d'énergie sont consacrées au chauffage du brûleur. À ce stade, la luminosité est encore faible. La sortie en mode de fonctionnement normal ne prend pas plus de 10 à 12 minutes, tandis que la luminosité augmente et se normalise. Dans le diagramme, L est la phase (ligne, ligne), N est zéro.

Le circuit a un IZU et une inductance comme élément de ballast. Typiquement, le schéma de connexion est présent sur le corps du papillon et/ou de l'allumeur à impulsion.

Parfois, un condensateur non polaire peut être ajouté au circuit. En règle générale, une capacité de 18 à 40 uF est utilisée. Ce n'est pas nécessaire, l'ajouter ne rendra pas la lampe plus brillante. Sa tâche est la compensation de phase. Le fait est que le circuit consomme de la puissance active et réactive, car il y a un starter. Le composant réactif ne présente aucun avantage, mais le mal est évident - interférence dans l'alimentation électrique et efficacité énergétique réduite. Cependant, l'ajout de capacité à un circuit électrique n'améliorera pas l'efficacité énergétique. L'ajout d'un condensateur réduira quelque peu les courants d'appel et empêchera une dégradation irréversible des électrodes.

La capacité utilisée du condensateur est choisie en fonction de la puissance de la lampe. Les recommandations sont présentées dans le tableau.

Lampes SHP

Puissance de la lampe, W

Condensateur connecté en parallèle 250 V, uF

DNAT-70 1.0A

10 uF

DNAT-100 1.2A

15-20uF

DNAT-150 1.8A

20-25uF

DNAT-250 3A

35uF

DNAT-400 4.4A

45uF

DNAT-1000 8.2A

150-160uF

Lors de l'auto-assemblage d'une lampe sur des lampes HPS, il est déconseillé d'utiliser un fil de plus d'un mètre entre la cartouche et l'allumeur.

Les NLVD sont très sensibles à la qualité de l'alimentation. Avec une chute de tension de 5 à 10 %, le flux lumineux peut chuter d'un tiers. L'augmentation de la tension réduit considérablement la durée de vie.

L'IZU pour les dnats (allumeurs à impulsion) eux-mêmes peut avoir deux ou trois contacts. Il n'y a pas de différence. Aucune de ces options n'est pire ou meilleure que l'autre - les deux offrent les mêmes conditions de fonctionnement pour la lampe.

Il existe également une variété de lampes qui ne nécessitent pas d'IZU. C'est l'ADN. Ils peuvent être reconnus par l'antenne de démarrage près du brûleur. Habituellement, il est constitué d'un ou deux tours de fil qui s'enroulent autour du brûleur.

Calcul de la puissance du transformateur

Pour déterminer la puissance du transformateur requis, il est nécessaire de déterminer:

  1. Puissance d'une lampe (lampe);
  2. Nombre de lampes (lampes);
  3. Schéma de connexion de l'éclairage.

Le calcul doit commencer par l'élaboration d'un schéma d'alimentation électrique pour une pièce particulière. Pour ce faire, un plan est dessiné, qui indique le nombre et la puissance des luminaires. La puissance est additionnée, et la valeur résultante est multipliée par K=1,1 (facteur de réserve), ce qui évite de surcharger l'appareil sélectionné. La valeur résultante est la valeur qui doit être guidée lors du choix d'un appareil.

Avec un grand nombre de luminaires, ainsi que pour créer un système d'éclairage fiable, les luminaires peuvent être divisés en groupes. Avec un tel schéma du système d'éclairage, la puissance de chaque transformateur individuel est réduite.

Les transformateurs pour lampes halogènes sont disponibles en puissance : 60/70/105/150/210/250/400 W.

Durée de vie

Une telle source lumineuse, selon les fabricants, est capable de brûler pendant au moins 12 000 heures. Tout dépend d'une caractéristique telle que la puissance - plus la lampe est puissante, plus elle dure longtemps.

Modèles populaires et nombre d'heures de service pour lesquels ils sont conçus :

  • DRL 125 - 12000 heures ;
  • 250 - 12000 heures ;
  • 400 - 15000 heures ;
  • 700 - 20000 heures.

Noter! En pratique, il peut y avoir d'autres nombres. Le fait est que les électrodes, comme le luminophore, peuvent échouer plus rapidement.

En règle générale, les ampoules ne sont pas réparées, elles sont plus faciles à remplacer, car un produit usé brille 50% moins bien.

Lampes à décharge: types, appareil, comment choisir le meilleurConçu pour au moins 12 000 heures de fonctionnement

Il existe plusieurs variétés de DRL (décodage - une lampe à mercure à arc), applicables à la fois dans la vie quotidienne et dans les conditions de production. Les produits sont classés par puissance, les modèles les plus populaires étant de 250 et 500 watts. En les utilisant, ils créent encore des systèmes d'éclairage public. Les appareils Mercury sont bons en raison de leur disponibilité et de leur puissance lumineuse. Cependant, des conceptions plus innovantes émergent, plus sûres et avec une meilleure qualité de lueur.

Lire aussi :  Élimination des réchauds à gaz : comment se débarrasser gratuitement d'un vieux réchaud à gaz

Le principe de l'ampoule

Les principaux éléments des électrodes - à travers eux, le système de contrôle transmet l'électricité. L'impulsion traverse le gaz entre les électrodes, le stabilisateur limite l'intensité du courant (l'intensité du courant est inversement proportionnelle à la tension), le remplissage commence à émettre une lueur qui devient plus brillante à mesure qu'il se réchauffe.

La source lumineuse s'allume complètement après environ 2 minutes. Ce laps de temps est nécessaire à l'évaporation complète de la garniture. Le temps de bronzage dépend également de la température ambiante. Pour accélérer le processus, certains fabricants montent plusieurs électrodes dans le brûleur.

Le spectre d'émission varie sur une large gamme - des rayons ultraviolets aux rayons infrarouges. La brillance dépend de la pression, du type de remplissage, de la taille du flacon. Plus elle est petite, plus la lumière est intense.

Types de lampes à décharge

Lampes à décharge: types, appareil, comment choisir le meilleurDifférents critères sont utilisés pour classer les sources lumineuses à décharge : le remplissage et la forme de l'ampoule, la conception des électrodes et la pression.

Selon le type de remplissage, les sources lumineuses à décharge sont divisées en 3 types :

  • luminescent (revêtu d'un luminophore);
  • lampe à gaz (remplie de gaz);
  • aux halogénures métalliques (les vapeurs métalliques brillent).

Les gaz utilisés sont le néon, le krypton, le xénon, l'hélium, l'argon ou leurs mélanges. Les métaux les plus courants sont le mercure et le sodium. La plupart des fabricants utilisent de la vapeur de mercure, bien que le sodium soit plus efficace. Souvent, le gaz et la vapeur de mercure sont utilisés simultanément. Arc de décharge, impulsion ou lueur.

Les produits luminescents sont divisés par pression interne :

  • DRL (arc mercure phosphore) haute pression ;
  • GRLND - basse pression.

Les fabricants proposent des flacons et des électrodes de différentes conceptions, des systèmes de refroidissement forcé.

Haute pression

Les sources lumineuses à haute pression (plus que l'atmosphère) sont connectées à un réseau 220/380 V, la puissance des appareils peut atteindre plusieurs dizaines de kilowatts. Les caractéristiques ne dépendent pratiquement pas de la température du milieu. Une température trop élevée ou trop basse ne modifie que la période de préchauffage. Durée de vie jusqu'à 20 mille heures, culot E27 (pour alimentation 127 V) ou E40 (pour le reste).

La différence avec les produits à basse pression est une puissance accrue et des dimensions compactes.

Basse pression

Lampes à décharge: types, appareil, comment choisir le meilleurLes sources lumineuses à basse pression (moins d'une atmosphère) sont caractérisées par une ampoule en forme de tuyau. Le revêtement est fluorescent ou luminescent. Remplissage - argon, néon ou sodium, électrodes de tungstène recouvertes de calcium, strontium, baryum. Ces lampes à gaz sont utilisées pour l'éclairage intérieur.

Ce groupe comprend des modèles compacts avec un culot E27. Puissance maximale jusqu'à 60 watts, durée de vie - jusqu'à 12 000 heures. Ces lampes ne s'allument pas à des températures ambiantes inférieures à -5°C ou à une tension réduite.

Les dispositifs érythèmes et bactéricides sont produits sans revêtement, ils émettent donc la partie ultraviolette du spectre.Ils sont utilisés pour la désinfection de l'air et l'irradiation des animaux et des personnes.

Les principaux types de lampes halogènes

Selon l'apparence et la méthode d'application, les lampes halogènes sont divisées en plusieurs types principaux :

  • avec un ballon externe;
  • capsulaire;
  • avec réflecteur;
  • linéaire.

Avec flacon externe

Avec une ampoule à distance ou externe, une lampe halogène n'est pas différente des ampoules Ilyich standard. Ils peuvent être connectés directement à un réseau 220 volts et avoir n'importe quelle forme et taille. Une caractéristique distinctive est la présence dans une ampoule en verre standard d'une petite ampoule halogène avec une ampoule en quartz résistant à la chaleur. Les lampes halogènes avec ampoule à distance sont utilisées dans diverses lampes, lustres et autres appareils d'éclairage à culot E27 ou E14.

Capsule

Capsule les lampes halogènes ont tailles miniatures et sont utilisés pour organiser l'éclairage intérieur. Ils ont une faible puissance et sont souvent utilisés avec les prises G4, G5 dans un réseau 12 - 24 volts DC et G9 dans un réseau 220 volts AC.

Structurellement, une telle lampe a un corps de filament situé dans un plan longitudinal ou transversal, et une substance réfléchissante est appliquée sur la paroi arrière de l'ampoule. De tels appareils, en raison de leur faible puissance et de leur taille, ne nécessitent pas d'ampoule de protection spéciale et peuvent être montés dans des luminaires de type ouvert.

Avec réflecteur

Les dispositifs réflecteurs sont conçus pour émettre de la lumière de manière dirigée. Les lampes halogènes peuvent avoir un réflecteur en aluminium ou antiparasite. La plus courante de ces deux options est l'aluminium.Il redistribue et concentre le flux de chaleur et le rayonnement lumineux vers l'avant, grâce à quoi le flux lumineux est dirigé vers le point souhaité et l'excès de chaleur est éliminé, protégeant ainsi l'espace et les matériaux autour de la lampe de la surchauffe.

Le réflecteur d'interférence conduit la chaleur à l'intérieur de la lampe. Les lampes halogènes à réflecteur sont disponibles dans une variété de formes et de tailles, ainsi que différents angles d'émission de lumière.

Linéaire

Le plus ancien type de lampe halogène, utilisé depuis le milieu des années 60 du 20e siècle. Les lampes halogènes linéaires ressemblent à un tube allongé, aux extrémités duquel se trouvent des contacts. Les lampes linéaires sont disponibles en différentes tailles ainsi qu'en puissance élevée, et sont principalement appliquées à divers projecteurs et luminaires d'éclairage public.

Lampes halogènes avec revêtement IRC

Les lampes halogènes IRC sont un type particulier de ce type d'appareils d'éclairage. IRC signifie "couverture infrarouge". Ils ont un revêtement spécial sur le ballon qui transmet librement la lumière visible, mais empêche le passage du rayonnement infrarouge. La composition du revêtement dirige ce rayonnement vers le corps de la chaleur, et augmente donc l'efficacité et l'efficacité de la lampe halogène, améliore l'uniformité de la lueur et du rendement lumineux.

L'utilisation de la technologie IRC permet de réduire jusqu'à 50% la consommation d'énergie électrique de tels appareils et affecte de manière significative l'efficacité énergétique du dispositif d'éclairage. Un autre avantage est l'augmentation de la durée de vie de près de 2 fois par rapport aux lampes halogènes standard.

Lustres halogènes

Les lustres halogènes sont des appareils monoblocs basés sur de nombreuses lampes halogènes connectées en parallèle les unes aux autres.Ces lustres ont une apparence et une configuration complètement différentes et, en raison de la petite taille des lampes halogènes, ils ont un aspect esthétique et une lueur uniforme.

Dans les magasins, vous pouvez trouver des lustres halogènes alimentés en 220 volts AC, ainsi que des options basse tension pour une utilisation dans des systèmes DC ou avec des blocs d'alimentation.

Évaluation
Site sur la plomberie

Nous vous conseillons de lire

Où remplir la poudre dans la machine à laver et combien de poudre verser