Raccords et équipements à gaz : variétés + caractéristiques de choix

Robinetterie et équipement gaz : types, classification, critères de choix

Classification selon divers paramètres

Outre les différences fonctionnelles et les caractéristiques de conception, les critères de division des appareils en groupes sont leur objectif et leur portée.

Par portée

Selon les fonctionnalités de l'application, l'appareil est divisé en quatre types :

  • Pièces à usage général pouvant être utilisées dans diverses industries.
  • Equipements à usages spéciaux (ces appareils doivent avoir certaines caractéristiques, qui font l'objet d'une négociation spécifique).
  • Sanitaire, qui est utilisé dans les canalisations destinées à équiper les équipements ménagers.
  • Pièces moulées pour des conditions de fonctionnement spéciales, par exemple pour les lignes transportant des substances agressives.
  • Pour les pipelines de la construction navale ou de l'industrie des transports.

Il est logique que les raccords des gazoducs se distinguent par un haut degré d'étanchéité. Pour les pipelines transportant du pétrole, le plus important est la résistance à la corrosion, pour les tuyaux utilisés dans l'industrie chimique, un critère important est l'inertie vis-à-vis des composés chimiques agressifs.

Par type de connexion

Selon la méthode de connexion, le ferraillage est divisé en plusieurs groupes :

  • Brides - pièces pliables qui peuvent être démontées plusieurs fois, par exemple lors de réparations ou pour le nettoyage. Se fixe avec des boulons. Commun dans les systèmes fonctionnant dans des systèmes à haute pression et température.
  • Raccords d'accouplement avec filetage. Convient aux tuyaux en métal-plastique, produits tubulaires en polyéthylène et polypropylène.
  • Renforcement pour le soudage - le plus fiable, le soudage est effectué dans une douille ou un bout à bout.
  • Raccords à languette (dispositifs de petite taille capables de fonctionner sous haute pression, avec filetage extérieur).
  • Dispositifs de connexion de starter (pièces avec filetage extérieur, d'un diamètre ne dépassant pas 15 mm).

Selon la méthode d'étanchéité

Selon la façon dont les joints sont scellés, il y a :

Omental Connexion lorsque la tige et la broche sont en outre scellées avec une garniture de presse-étoupe.
Membrane Disque élastique qui assure l'étanchéité des articulations.
Soufflet L'ensemble soufflet, qui est un tube ondulé, agit comme un scellant.
Tuyau Raccords équipés d'un flexible élastique dont le pincement crée une fermeture étanche du débit.

Portée des vannes

Les vannes d'arrêt sont conçues :

  1. pour les canalisations alimentant en gaz ou en eau des locaux résidentiels, domestiques et industriels et rejetant des eaux usées. Il s'agit de la plus large gamme de dispositifs de verrouillage ;
  2. pour les canalisations dans lesquelles passent des substances agressives. Les appareils destinés aux industries chimiques, pétrolières et gazières exigent une étanchéité et une résistance à la corrosion plus élevées ;
  3. réseaux domestiques d'approvisionnement en eau, de chauffage et d'assainissement. Les appareils installés sur les réseaux privés sont petits et faciles à gérer.

Seuls les raccords destinés spécifiquement à ce type peuvent être installés sur la canalisation.

Caractéristiques et objectif

Les vannes d'arrêt et de régulation sont utilisées dans la fabrication de conduites d'eau, de gaz et d'autres liquides. Il peut s'agir de systèmes d'approvisionnement en eau, de chauffage, d'approvisionnement en gaz, d'assainissement.

Les pièces sont utilisées pour réguler la pression, le débit, la température du vecteur sans arrêter complètement toute la ligne. Des éléments de verrouillage sont installés aux points de dérivation afin qu'il soit possible de fermer les circuits individuels au bon moment.Ces pièces présentent un certain nombre de caractéristiques techniques qui déterminent leurs capacités :

  • contrôle - manuel, automatique;
  • débit;
  • réglage éventuel du régulateur;
  • zone de régulation ;
  • plage de course du mécanisme de verrouillage ;
  • fuite relative.

Les spécifications de conception

Raccords et équipements à gaz : variétés + caractéristiques de choixDans GOST 13846–89, il a été déterminé que les arbres de Noël sont conçus pour sceller les puits, bloquer le mouvement du milieu de travail et effectuer d'autres procédures technologiques. Conformément aux normes réglementées dans GOST 15150–69, ces appareils peuvent fonctionner à des températures de -60 à +40 degrés.

GOST 51365–2009 définit les conditions et exigences techniques pour les raccords spécifiés. Les concepteurs impliqués dans la construction d'équipements doivent être guidés par les exigences du présent document.

2 façons de connecter des appareils à gaz et des raccords

Il existe les méthodes de connexion suivantes :

  • À l'aide de brides - il est utilisé pour les raccords dont le passage conditionnel est supérieur à 50 mm. La connexion au réservoir ou à la canalisation est réalisée à l'aide de brides. Le principal avantage est la possibilité d'installation et de démontage multiples, ainsi qu'une plus grande résistance, fiabilité et applicabilité pour une très large gamme de passages et de pressions. Inconvénients: poids et dimensions importants, avec le temps, la possibilité de desserrer le serrage avec une perte d'étanchéité ultérieure n'est pas exclue.
  • Raccord union - pour les équipements avec un passage de 65 mm et moins. La connexion est réalisée à l'aide de raccords à filetage intérieur, à l'aide d'une clé hexagonale.
  • Tsapkovoe avec une sculpture externe. L'appareil (par exemple, un robinet) est vissé avec un filetage directement dans le corps d'un autre appareil ou appareil.
  • Par soudage - type de connexion rarement utilisé, non séparable. Avantages - étanchéité fiable et complète, entretien minimum. Les inconvénients comprennent la complexité accrue du remplacement et de l'installation des raccords.
  • Mamelon - le raccordement à un réservoir ou à une conduite se fait à l'aide d'un mamelon.
  • Raccord - à l'aide d'un raccord.
  • Accouplement - les tuyaux de sortie et d'entrée sont reliés aux brides de la canalisation au moyen de goujons avec écrous situés le long du corps de l'équipement ou des raccords.

Raccords et équipements à gaz : variétés + caractéristiques de choix

Matériel pour la fabrication d'équipements

Le choix du matériau pour la fabrication de tels équipements dépend principalement de l'environnement d'exploitation et de la fonctionnalité. Par exemple, la céramique et le verre sont très résistants aux milieux agressifs et sont utilisés dans l'industrie chimique. Pour les systèmes de chauffage, une armature en acier (à faible teneur en carbone ou alliée) est utilisée, car elle résiste à la chaleur. De plus, la fonte, le titane, l'aluminium, le laiton, le nickel, le bronze et les matériaux non métalliques (plastique vinylique, polyéthylène, caprolactame, graphite et autres) sont utilisés pour la fabrication.

Vous avez remarqué une erreur ? Sélectionnez-le et appuyez sur Ctrl + Entrée

C'est intéressant: Méthodes pour plier un tuyau profilé à la maison - nous expliquons en détail

Classification par paramètres

Dans la désignation des raccords de canalisation, de nombreux paramètres sont cryptés qui déterminent la portée de leur application et leur taille. Il est réglementé par GOST R52720. Les principales caractéristiques par lesquelles le produit est sélectionné:

  • Pression conditionnelle de l'environnement PN. Cette caractéristique indique la pression à laquelle le pipeline et tous les appareils qui y sont connectés fonctionnent sans panne pendant une certaine période de temps.La classification par pression conditionnelle est contenue dans GOST 26349.
  • Passage nominal DN. Cet indicateur est nécessaire pour décrire les systèmes de tuyauterie permettant d'emboîter divers éléments les uns dans les autres. Il est indiqué en mm et est caractérisé par GOST 28338.

Matériaux pour la fabrication

Les vannes à gaz sont fabriquées exclusivement à partir d'alliages métalliques. Les principaux éléments de production sont la fonte, le laiton, le bronze et l'acier. L'utilisation d'éléments métalliques est due au fait qu'un niveau de résistance accru est requis pour les conduites de gaz et les composants. Les éléments polymères utilisés dans les conduites d'eau ne sont pas applicables ici en raison de leur faible dureté.

Le polyéthylène et d'autres matériaux peuvent être facilement endommagés par un objet pointu. Et tout, même le trou le plus mince dans le tuyau entraînera des fuites de gaz, dont les conséquences ont déjà été écrites. Ainsi, jusqu'à ce qu'un matériau de dureté suffisante soit inventé, les éléments métalliques n'abandonneront pas leur place dans la production de raccords à gaz.

Quant à la répartition des rôles entre les métaux, tout dépend des conditions opératoires. Le laiton et le bronze ont un coût élevé, ils sont donc principalement utilisés à l'intérieur. Et l'acier et la fonte sont utilisés pour l'installation extérieure. Ces alliages subissent un traitement spécial qui les protège de la corrosion.

Les vannes pétrolières et gazières comprennent un grand nombre de produits de nomenclature utilisés dans l'industrie des carburants et de l'énergie. Le marché de ce produit est l'un des plus dynamiques du pays. Cela est dû à la grande importance du pétrole et du gaz pour l'économie russe dans son ensemble.Ce secteur de l'économie dispose d'énormes investissements qui lui permettent d'aller de l'avant.

Résumons sur l'exemple d'une situation réelle : la chaudière éteinte

Raccords et équipements à gaz : variétés + caractéristiques de choix

  1. Vérifier la pression sur le manomètre en amont de l'équipement. Si la pression est normale (à partir de 37 mbar) - la raison en est la panne de la chaudière. Nous devons appeler les réparateurs. S'il n'y a pas de pression, nous nous déplaçons le long de la chaîne jusqu'au point suivant.
  2. Vérifier la pression après le réducteur (s'il y a un manomètre). Si tout est en ordre ici, alors le gazoduc est bouché: le collecteur de condensat est plein, un bouchon s'est formé, le condensat a gelé dans l'entrée du sous-sol. Faites appel à des experts pour le nettoyage, le soufflage.
  3. S'il n'y a pas de manomètre ou si la flèche est à zéro, regardez le manomètre devant le régulateur. Il doit y avoir au moins 1,5 bar, sinon la boîte de vitesses ne fonctionnera pas. La pression est-elle normale ? Donc, le problème est dans la boîte de vitesses - probablement gelée. Appelez des spécialistes pour couper le gaz, retirer, réchauffer et purger le régulateur.
  4. S'il n'y a pas assez de pression sur le manomètre principal et que la jauge de niveau indique plus de 15 %, il y a très probablement eu colmatage. La majeure partie du propane est épuisée et le butane ne peut pas fournir la pression nécessaire par temps froid. Commandez une livraison de formule hivernale riche en propane.
  5. Si l'aiguille de la jauge de niveau approche de 20 à 25%, il est temps d'appeler le transporteur de gaz. Il ne peut pas rester moins de 15 % de la phase liquide.

Résultat : après avoir vérifié les points principaux, vous trouvez la cause de la panne et prenez les mesures nécessaires. Dans trois cas, l'intervention de spécialistes de la maintenance sera nécessaire, dans le reste, un camion citerne avec du GPL sera appelé.

Lors d'une utilisation normale, surveillez le niveau de la phase liquide lors du remplissage - pas plus de 85%. Et appelez le transporteur de gaz lorsque le niveau de GPL tombe à 20-25 %.

En même temps, vérifiez les manomètres.Un tel contrôle sera suffisant pour détecter à temps un dysfonctionnement. Les nœuds restants sont inspectés par des techniciens lors de la maintenance régulière.

Les fabricants recommandent de vérifier le fonctionnement du système chaque année. Et une fois tous les 8 ans, faites appel à des spécialistes pour un contrôle plus approfondi avec une évaluation du revêtement, des coutures et de l'état général du réservoir d'essence.

Comment ça marche pour nous

Lors de l'installation d'un réservoir de gaz, nous concluons un contrat d'un an de service gratuit. Liste des prestations : 2 visites spécialisées préventives (en hiver et en automne) + un appel d'urgence urgent sous 24h. Ensuite, le contrat de service peut être prolongé.

Sécurité

Tout travail d'installation effectué avec des appareils à gaz nécessite le respect obligatoire de toutes les exigences de sécurité. Le tuyau flexible connecté doit toujours être devant vos yeux. Il est strictement interdit de le fermer. Il doit toujours être situé dans un endroit accessible pour une inspection visuelle.

Raccords et équipements à gaz : variétés + caractéristiques de choix
Il est interdit d'utiliser un tuyau de gaz de taille non standard. Ils doivent respecter la réglementation en vigueur.

Le tuyau n'a pas besoin d'être peint, car la peinture peut le faire craquer rapidement. Si vous voulez rendre la pochette plus jolie, vous pouvez la recouvrir de papier autocollant.

Le manchon en caoutchouc est directement relié au robinet s'il est situé en vacances. Si le filetage a des dimensions non standard, un adaptateur est autorisé.

Lors de l'utilisation d'équipements à gaz, il est très important de respecter les règles de sécurité et les normes d'exploitation existantes. La sécurité incendie des installations au gaz en dépend.

Variétés de raccords de canalisation

Tout comme en mathématiques, les ensembles sont divisés en sous-ensembles, les types de renforcement peuvent être structurés en variétés.

● variétés par objectif et portée

Le plus grand de ces "sous-ensembles" sont des variétés par but et application. Les caractéristiques de fonctionnement peuvent être utilisées comme caractéristiques de classification - raccords à vide, raccords cryogéniques ; ou des caractéristiques de fonctionnement, par exemple des vannes d'arrêt (vannes d'arrêt avec un temps de réponse minimum). La base de la séparation est également: l'emplacement d'installation (raccords de réception ─ raccords de contrôle installés à l'extrémité de la canalisation devant la pompe) et la présence d'options supplémentaires (raccords avec chauffage). Mais la raison la plus importante pour diviser les vannes de canalisation en variétés est leur objectif : vannes de régulation, vannes anti-pompage, vannes de réduction de pression, vannes de vidange, vannes de purge d'essai, etc. Les domaines d'application des vannes de canalisation ne peuvent qu'imposer des exigences particulières à leur. Les raccords utilisés dans les installations de gaz doivent être étanches à l'air en raison du risque élevé d'incendie et d'explosion du fluide de travail dans ce cas - le gaz. En raison de l'agressivité chimique plutôt élevée du pétrole, les raccords de canalisation pour les industries de production et de raffinage du pétrole doivent avoir une résistance accrue à la corrosion. Des environnements encore plus agressifs, y compris des acides concentrés et des alcalis, affectent les raccords de canalisation utilisés dans l'industrie chimique.

***

● variétés de connexion au pipeline

Sur cette base, les raccords sont divisés en bride, sans bride, plaquette (c'est-à-diresans bride, installé entre les brides de la canalisation). Les raccords d'accouplement sont équipés de tuyaux de raccordement avec filetage intérieur. Raccords à souder - buses à souder au pipeline. Des raccords de connexion sont également disponibles pour les raccords de starter.

***

● variations dans la conception et la forme du corps

En fonction de la position des buses, on peut parler de raccords droits (les tuyaux de raccordement sont coaxiaux ou parallèles entre eux) ou de raccords angulaires (les axes des tuyaux d'entrée et de sortie sont situés perpendiculairement ou non parallèlement entre eux). Des raccords avec des axes décalés de tuyaux de dérivation sont également produits.

Si la section transversale du trajet d'écoulement est inférieure à la surface de l'ouverture du tuyau d'admission, il s'agit d'une vanne à passage partiel. S'il est approximativement égal ou supérieur aux raccords à passage intégral. Selon le procédé de fabrication des pièces de carrosserie, on distingue les renforts coulés, moulés-soudés, litho-soudés par emboutissage et soudés par emboutissage.

***

● variétés par type de joints

Les vannes dans lesquelles l'étanchéité d'une tige, d'un axe ou d'un autre élément mobile par rapport à l'environnement est assurée par un joint de presse-étoupe sont appelées vannes à presse-étoupe.

Les vannes dans lesquelles un joint de boîte à garniture n'est pas utilisé pour l'étanchéité sont appelées vannes sans presse-étoupe. Les raccords à soufflet et à membrane entrent dans cette catégorie.

Les alphabets de la plupart des langues du monde contiennent plusieurs dizaines de lettres. Mais cela ne les a pas empêchés d'accumuler des centaines de milliers de mots, à l'aide desquels des millions de livres ont été écrits. Il en va de même pour les raccords de tuyauterie ─ son incroyable variété se compose d'un nombre relativement restreint d'unités de classification, mesurées en unités, parfois en dizaines.Et cela n'est pas apparu par hasard, mais en raison de la nécessité de répondre à un grand nombre de questions, de trouver un algorithme permettant de résoudre un grand nombre de problèmes. Les raccords de tuyauterie sont soumis à un tel éventail d'exigences que souvent les solutions techniques qui peuvent être utilisées pour les réaliser entrent en conflit les unes avec les autres, et l'émergence d'un grand nombre de conceptions différentes est l'un des moyens d'y remédier. Et la classification est le meilleur moyen de ne pas se perdre dans cette diversité.

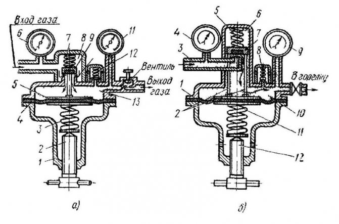
Comment fonctionne un réducteur de gaz

Boîte de vitesses à prise directe

Le gaz sous haute pression du cylindre pénètre dans la chambre, équipée d'une vanne d'arrêt. La soupape sous l'influence d'une surpression s'ouvre et commence à buter contre le siège. Après cela, le gaz cesse de s'écouler vers la sortie. La membrane responsable de la régulation de la pression, sous l'action d'un ressort, commence à déplacer la soupape de la surface du siège. La pression est réduite grâce à un petit passage et atteint un niveau sûr et utilisable.

De plus, le ressort redressé permet à la soupape d'ouvrir l'accès au flux d'un nouveau volume de gaz provenant de la bouteille, et le processus de régulation est répété. Sur les boîtes de vitesses non réglables, la force du ressort est réglée en usine, agissant comme un régulateur de pression.

Marche arrière

Ici le principe est quelque peu différent. Le gaz entrant de la source presse la soupape contre le siège, l'empêchant de s'échapper. La conception contient une vis à l'aide de laquelle la force de compression du ressort est ajustée.

En comprimant le ressort avec une vis (régulateur), la membrane de sécurité se tord, laissant passer une certaine quantité de gaz. Le disque de support actionne le ressort de rappel, après quoi la soupape remonte, libérant la voie pour le carburant.

Lire aussi :  Comment éteindre la cuisinière à gaz pendant la durée de la réparation: est-il possible de le faire soi-même + procédure

La chambre de travail a la même pression que dans le cylindre. La membrane sous l'action du ressort revient à son état d'origine, et le disque de support se déplace vers le bas, tout en appuyant sur le ressort de rappel. En conséquence, la soupape est pressée contre le siège du corps.

Il convient de dire que beaucoup notent la grande popularité des boîtes de vitesses à action inversée. Ils sont plus sûrs à utiliser.

Schéma de commutation sur HBO

La sélection de la génération du système de gaz dépend du type de moteur de voiture. L'installation de cylindres à gaz de la 1ère à la 3ème génération est installée sur les machines à injection et à carburateur. Le système d'alimentation en carburant distribué moderne (4e génération) ne convient qu'aux moteurs à injection.

Selon le type de moteur à combustion interne et la méthode d'approvisionnement en gaz, l'inclusion de HBO de différentes générations présente un certain nombre de différences fondamentales.

moteur à carburateur

Le démarrage de l'équipement d'éjection (génération 1,2,3) sur le carburateur se produit en mode forcé.

La fonctionnalité de telles installations vous permet de démarrer une voiture immédiatement au gaz. Cependant, afin de préserver la membrane du réducteur évaporateur, il est recommandé de démarrer un moteur froid (toute génération confondue) à l'essence, surtout si la température ambiante est inférieure à 0°C.

Pour allumer l'équipement à gaz sur une machine à carburateur, après avoir réchauffé le moteur à partir de 35 ° C et plus, transférez la clé gaz / essence sur la position neutre «0».

Raccords et équipements à gaz : variétés + caractéristiques de choix
Commutateur pour machine à carburateur

Alors le rouge s'éteint LED sur le bouton, indiquant que le robinet d'essence est fermé. Après cela, le carburant standard est produit à partir de la chambre à flotteur du carburateur.

Ensuite, sans attendre la panne de carburant du moteur à combustion interne (vient avec l'expérience), il est nécessaire de basculer l'interrupteur à bascule sur le mode d'alimentation en gaz "II". Le voyant vert s'allume, ce qui indique que la vanne de gaz est ouverte.

Pour revenir du gaz à l'essence, vous devez mettre la clé en position «I», en contournant la position neutre.

Après l'arrêt du moteur à combustion interne, le bouton ferme automatiquement la soupape à gaz.

Pour démarrer le moteur au gazole, les interrupteurs du carburateur ont une fonction de pré-démarrage. Cela fonctionne comme suit, dans la position de l'interrupteur "II", vous devez mettre le contact, après avoir changé la couleur verte de l'indicateur en jaune, vous pouvez démarrer la voiture.

Deuxième génération sur système d'injection

Le commutateur du système de gaz pour l'injecteur a également trois positions :

  • "I" - travail forcé à l'essence
  • "0" - mode gaz forcé
  • "II" - semi-automatique

Différents fabricants peuvent avoir un ordre de modes différent.

Dans la position semi-automatique de l'interrupteur, la voiture démarre immédiatement à partir de l'essence. Cela a été fait pour réchauffer respectivement la centrale électrique et la boîte de vitesses HBO. Après avoir augmenté le régime moteur (regazage), la voiture passe au gaz. Le nombre de tours est ajusté avec un potentiomètre.

Raccords et équipements à gaz : variétés + caractéristiques de choix
Commutateur pour voiture à injection

Instructions pour la 4ème génération

Raccords et équipements à gaz : variétés + caractéristiques de choix
Bouton de la quatrième génération de HBO

Les équipements à gaz de quatrième génération fonctionnent en mode entièrement automatique. Lorsque le bouton HBO est enfoncé, la voiture démarre à l'essence et une fois le réducteur de l'évaporateur chauffé, le gaz est allumé. La transition inverse est possible pendant la conduite en désactivant le commutateur de type de carburant.

La température de commutation est programmée lors de la configuration de l'équipement.

Pour forcer le moteur à démarrer en utilisant du gaz, le système HBO 4 dispose d'une fonction de démarrage d'urgence.

1 Objectif et types d'appareils à gaz et de raccords

Les raccords et équipements de gaz sont conçus pour être utilisés sur les pipelines des systèmes de transport et d'approvisionnement, ainsi que sur la distribution de carburant bleu. À l'aide de ces dispositifs et mécanismes, l'alimentation est activée et désactivée, la quantité, la direction ou la pression du flux de gaz est modifiée. Tous les raccords sont caractérisés par les paramètres principaux suivants :

  • pression nominale (conditionnelle);
  • diamètre nominal (alésage nominal).

La première caractéristique est comprise comme la pression maximale à une température de 20 ° C, ce qui garantit une longue durée de vie des divers raccords (équipements) et raccords de canalisation. Sous le passage conditionnel (Dn ou DN), on entend la caractéristique utilisée dans les systèmes de canalisations, les réseaux en tant que paramètre des parties connectées.

Raccords et équipements à gaz : variétés + caractéristiques de choix

Selon leur objectif, les raccords pour systèmes à gaz sont divisés en types suivants:

  • Vannes d'arrêt - pour les arrêts périodiques d'équipements et d'appareils, ainsi que des sections individuelles du gazoduc à partir de ses autres parties. À ce titre, des vannes, des robinets et des robinets-vannes sont utilisés.
  • Régulation - pour modifier et maintenir la pression dans les limites spécifiées. Il comprend des amortisseurs, des portes et autres.
  • Sécurité - utilisée pour empêcher une augmentation de la pression du gaz au-dessus de la valeur autorisée. Il s'agit d'une soupape de décharge.
  • Coupure et urgence - pour un arrêt automatique rapide de divers appareils à gaz, appareils, ainsi que des pipelines, lorsque le mode de fonctionnement spécifié est violé. Par exemple, un clapet anti-retour.
  • Action inverse - empêche le flux de gaz de se déplacer dans la direction opposée.
  • Purgeur de condensat - élimine automatiquement le condensat qui s'accumule dans les siphons de condensat et les points bas des réseaux de canalisations.

Raccords et équipements à gaz : variétés + caractéristiques de choix

Le renfort est fait de divers matériaux. Selon la composition du corps, ils sont désignés comme suit :

  • de l'acier:
    • carboné - avec;
    • inoxydable - nzh;
    • allié - ch;
  • fonte :
    • gris - h;
    • malléable - kch;
  • bronze, laiton - B;
  • plastiques (à l'exception du plastique vinylique) - p ;
  • plastique vinyle - vp.

Types de raccords de canalisation pour différents types de tuyaux

Afin de contrôler le débit d'eau ou de liquide de refroidissement, des pièces auxiliaires sont utilisées, telles que des robinets, des vannes, des mélangeurs, des clapets anti-retour, etc., capables de résister à des températures ambiantes jusqu'à +95 ° C et à une pression de 16 atm. Il est utilisé lors de la distribution de tuyaux vers la plomberie, le chauffage de l'eau, le chauffage, les prunes.

Raccords et équipements à gaz : variétés + caractéristiques de choix

Ce type de raccords de tuyauterie à usage domestique présente des avantages significatifs: compact, esthétique, raccord fileté et pressé, les symboles aident à l'installation et le matériau résistant à la corrosion utilisé pour ce raccord joue également un rôle tout aussi important - il s'agit de nickel- laiton plaqué. Les plus couramment utilisés sont divers types de raccords de raccordement et de robinets à tournant sphérique.

Pour tuyaux en polyéthylène.

Les raccords pour ce type de tuyaux, tels que le polyéthylène, sont utilisés dans les systèmes sous pression et sans pression. La liste la plus complète d'éléments de connexion pour les connexions soudées, serrées ou à brides. La connexion des produits en polyéthylène par soudage est considérée comme l'une des plus fiables, elle est étanche et forme une structure unique.

La régulation du débit du fluide de travail de ces canalisations s'effectue au moyen de robinets, d'amortisseurs, de vannes en polyéthylène non corrosif (HDPE) ou en laiton, d'amortisseurs, de vannes conçues pour une pression allant jusqu'à 16 atm et une température de départ de +45 ... +80 ° С (alimentation en eau chaude). Les robinets à tournant sphérique en polyéthylène peuvent se déformer si le régime de température n'est pas respecté.

Pour tuyaux en polypropylène.

Le système d'arrêt et de contrôle de la canalisation, ainsi que divers types de raccords de canalisation de raccordement pour les tuyaux en polypropylène sont les mêmes que pour les tuyaux en polyéthylène précédents. Ces raccords sont conçus pour une pression jusqu'à 20 atm, une température de fluide de travail jusqu'à +90 °C. À l'heure actuelle, un nombre important de fabricants ont commencé à produire des modèles d'éléments en polypropylène avec un clip en laiton nickelé pressé à chaud - il s'agit d'une structure monobloc avec une résistance suffisante à la déformation thermique.

Des raccords démontables filetés en laiton dans des raccords en polypropylène permettent d'équiper une canalisation en plastique de raccords métalliques. Ces pièces supplémentaires en polyéthylène et polypropylène sont beaucoup moins chères que les pièces métalliques similaires.

Lire le matériel connexe :
Tuyaux de chauffage autonomes

Variétés de convecteurs à gaz

Aujourd'hui, sur le marché, vous pouvez trouver une variété de modèles de convecteurs fonctionnant au gaz principal, qui diffèrent les uns des autres :

  1. Par type de matériau : acier et fonte.
  2. Par type d'installation : mur, sol, plafond Ces derniers sont utilisés pour le chauffage de grandes installations industrielles et commerciales.
  3. Par puissance : petite, moyenne et grande. De tels appareils ne fonctionnent efficacement que dans des pièces séparées.La charge est sélectionnée à partir du rapport de 1,0 kW par 10,0 m2. Il est facile de calculer que pour 80 m2 il faut choisir un appareil d'une puissance de 8 kW.
  4. Par type de chambre de combustion : ouverte et fermée, qui diffèrent par le système de cheminée. Pour les appareils du premier type, les gaz d'échappement sont évacués par une cheminée fixe, équipée selon le principe du four dans l'espace inter-murs, ce qui nécessite des fonds supplémentaires pour l'installation. Les modèles de la deuxième option sont plus faciles à installer. L'air d'échappement est évacué dans l'atmosphère par un tuyau coaxial.
Lire aussi :  Manomètres pour mesurer la pression du gaz: types, caractéristiques de conception et actions des compteurs

Variétés

Les raccords de tuyauterie sont classés en fonction de divers facteurs. Volontairement:

  1. Sécurité. Protégez les conduites contre les chutes de pression soudaines. Grâce à l'automatisation, la surpression est libérée.
  2. Verrouillage. Conçu pour bloquer le flux de liquide ou de gaz. Ils travaillent dans deux positions - fermée, ouverte.
  3. De liaison. Le plus souvent, il a des écrous-raccords, ce qui simplifie le processus de connexion.
  4. mécanismes de régulation. De par leur conception, ils sont similaires aux pièces d'arrêt, mais ils peuvent réguler l'intensité de l'alimentation en liquide, en gaz.
  5. Distribution. Conçu pour connecter des circuits supplémentaires à un tronc commun, créer des branches séparées.

Types de raccords de canalisation, selon la conception:

  1. Vannes à vanne - adaptées à l'installation sur des circuits à basse pression du fluide de travail. Ils fonctionnent uniquement en position fermée/ouverte. Pour changer la position, vous devez utiliser une valve spéciale qui doit être tournée.
  2. Vannes - vannes d'arrêt, vannes de régulation.Permet de bloquer complètement l'écoulement du liquide ou de le réguler. La position est modifiée manuellement en tournant le bouton.
  3. Les vannes sont des pièces qui coupent le débit lorsque la pression augmente. Ils peuvent être installés dans les endroits où il est nécessaire de changer le sens d'écoulement du fluide.
  4. Les grues sont des conceptions adaptées au réglage, à l'arrêt, à la modification du sens d'écoulement du fluide de travail. Utilisé pour assembler des conduites d'alimentation en liquide et en gaz.

Un groupe distinct de vannes - vannes à vanne. Installé sur les autoroutes industrielles. Ils sont classés selon la conception, le principe d'action sur les brides, les robinets-vannes.

Selon la méthode d'étanchéité, on distingue trois autres types de structures:

  1. Raccords de presse-étoupe. Il y a une boîte à garniture à l'intérieur. Grâce à elle, la broche est compactée.
  2. Détails de soufflet. Un soufflet est utilisé pour l'étanchéité.
  3. Armature membranaire.

Les pièces de liaison sont classées selon la méthode de contrôle. Ils peuvent être manuels ou automatiques.

Vannes d'arrêt ( / sanremo67)

Exigences de talon.

Étant donné que des raccords dont l'étanchéité n'est pas inférieure à la classe «B» sont utilisés, des bouchons métalliques sont installés après la fermeture des vannes d'arrêt pour fermer hermétiquement le flux de gaz vers les consommateurs.

Tout d'abord, les bouchons sont plats (tôle).

Deuxièmement, les bouchons sont filetés.

Les bouchons plats sont généralement en acier, l'épaisseur du bouchon est calculée en fonction de la pression du gaz et du DN (diamètre nominal). Diamètre du bouchon = diamètre de la face de la bride. Le bouchon doit en outre avoir une tige dépassant de la bride, sur laquelle les pressions (P) et (DN) sont enregistrées.

Par exemple, un certain nombre de diamètres nominaux leur correspondant filetage de tuyau en pouces et miroir de bride D.

DN(mm) G (en pouces) D c.f. (mm)
15 1/2″
20 3/4″
25 1″ 60
32 1 1/4″ 70
40 1 1/2″ 80
50 2″ 90
65 2 1/2″
70 110
80 128
100 148
125 178
150 202
200 258
250 312
300 365

Raccords de tuyauterie en acier inoxydable

Les vannes d'arrêt industrielles en acier inoxydable sont indispensables pour le transport de nombreux fluides de travail. Il est très durable, inerte aux substances agressives, résistant aux températures et pressions dangereusement élevées, a une bonne résistance à l'usure et ne se corrode pas. Compte tenu de ces caractéristiques, il n'est pas surprenant que les mécanismes de ce matériau soient devenus les principales unités de travail dans les industries pétrolières et gazières, pharmaceutiques, alimentaires et chimiques. Les raccords en acier inoxydable sont également largement utilisés dans les centrales nucléaires.

Il est clair que de tels mécanismes peuvent être utilisés à la fois dans les systèmes de chauffage et dans les systèmes domestiques qui alimentent des objets en eau et en chaleur.

Principes de base de l'installation d'équipements d'arrêt et de contrôle

Aucun pipeline ne peut fonctionner pleinement sans équipement d'arrêt. En raison du fait qu'il en existe plusieurs variétés, l'installation de l'un d'eux diffère considérablement de l'installation d'autres appareils et ne doit être effectuée que par des spécialistes utilisant un équipement spécialisé.

L'opérabilité, la durabilité et la sécurité du pipeline dépendent de l'habileté avec laquelle les travaux d'installation ont été effectués.

Les raccords sont connectés à la canalisation :

  • raccords avec filetage intérieur ;
  • goupilles sur le joint extérieur ;
  • mamelons;
  • brides ;
  • soudage.

Le soudage est la méthode la plus fiable de fixation mutuelle des éléments de canalisation et la seule adaptée au transport de fluides à haute pression.

La liaison avec des brides, des anneaux plats ou des disques en acier allié, boulonnés aux extrémités des pièces à fixer, assure également l'étanchéité requise. Les fabricants de vannes assurent la garantie de leurs produits en testant l'étanchéité et la résistance des pièces, leur conformité aux exigences techniques.

Règles d'installation des vannes d'arrêt et de régulation

Plusieurs règles importantes doivent être respectées lors de l'installation de vannes d'arrêt et de régulation :

1. Nettoyage obligatoire du pipeline. Une fois les pièces transportées, elles doivent être traitées manuellement ou par exposition à l'air, à la vapeur ou à l'eau. Lors du soudage, il est également nécessaire d'inspecter régulièrement le tuyau pour détecter toute contamination afin que le tartre formé n'endommage pas l'étanchéité.

2. Vérifiez que les brides ne sont pas inégales. La surface lisse de la pièce ne doit pas être rayée ou présenter d'autres défauts prononcés.

3. Éviter d'installer des vannes d'arrêt dans des zones à terrain accidenté. Si le mécanisme n'est pas situé sur une section droite de la canalisation, la contrainte qui se produit au niveau des coudes affectera l'étanchéité et provoquera des fuites.

4. La protection contre les surpressions qui se produisent lors des coups de bélier, qui peuvent endommager ou désactiver l'ensemble du système, y compris les raccords, est réalisée en installant un clapet anti-retour pour assurer un débit stable.

5. Les vannes de grand diamètre ou les actionneurs lourds peuvent nécessiter un support supplémentaire pour éviter la rupture des vis ou des joints.

6. Les soupapes peuvent être endommagées si trop de force est appliquée pour les serrer.

sept.Le raccord en acier inoxydable doit être en position ouverte lors de l'installation.

Les nuances de la maintenance des équipements

Selon le programme élaboré par l'ingénieur de la société d'approvisionnement en gaz, les collecteurs de condensat sont purgés et leur état technique est vérifié. Ces travaux sont considérés comme dangereux car le condensat contient non seulement de l'eau, mais aussi du butane liquide hautement inflammable, qui constitue souvent la majorité du liquide. Par conséquent, deux spécialistes effectuent l'entretien, uniquement pendant la journée, pas pendant un orage.

Il est également interdit de vidanger le condensat directement dans un camion-citerne - uniquement dans des réservoirs métalliques fixes avec une clôture ou dans une fosse. S'il y a un oléoduc à proximité, le condensat peut y être évacué.

Pour vider le purgeur de condensat basse pression, vous aurez besoin d'une pompe, d'une motopompe ou d'un réservoir à vide. Retirez le bouchon de l'extrémité du tube, connectez-y le tuyau de la pompe, ouvrez le robinet et démarrez la pompe. Le pompage se poursuit jusqu'à ce que le liquide cesse de s'écouler de la pompe, puis il est éteint, la vanne est fermée, le tuyau est déconnecté et le bouchon est remis à sa place.

Raccords et équipements à gaz : variétés + caractéristiques de choixUn petit piège à condensat peut être manipulé avec une pompe à main, et sur certains modèles hors-sol, le liquide est évacué par gravité

Collecteurs de condensat moyenne et haute pression une pompe n'est généralement pas nécessaire. Ils disposent de 2 colonnes montantes : à condensat et à gaz, chacune possède un robinet, et généralement seule celle au gaz est ouverte.

Pour libérer le réservoir du liquide, tournez les deux vannes : la vanne de gaz est fermée et la vanne de condensat est ouverte. Le liquide sort sous la pression du gaz de la ligne.Pour gagner du temps et de la main-d'œuvre, ce processus peut être automatisé grâce à l'instrumentation et à l'automatisation.

Si le condensat n'est pas éliminé à temps, un coup de bélier ou un bouchon peut non seulement empêcher l'alimentation en gaz, mais également endommager le tuyau.

En plus d'éliminer le condensat collecté, les chenilles de gazoduc vérifient la présence et l'exactitude des plaques indiquant leur emplacement, ainsi que l'état de fonctionnement de l'unité elle-même et des vannes d'arrêt associées. Si nécessaire, des réparations sont effectuées immédiatement ou un acte est rédigé, selon lequel une équipe spéciale part ensuite.

Évaluation
Site sur la plomberie

Nous vous conseillons de lire

Où remplir la poudre dans la machine à laver et combien de poudre verser