- 3 Composants et types
- Marques populaires
- Éclaireur
- Kovéa
- Topex
- Clochard
- Jetboil
- Rechercher
- Comment choisir pour le brûleur
- 1 Caractéristiques de l'équipement
- Caractéristiques de conception du brûleur à gaz
- Comment utiliser?
- Périphérique périphérique
- Bouteille de gaz touristique. Qu'est-ce qu'il y a à l'intérieur?
- Types et avantages des brûleurs à gaz
- Variétés de brûleurs à gaz
- Brûleurs à gaz atmosphériques
- Brûleurs à gaz soufflants
- Brûleurs à diffusion-cinétique
- Les principaux critères de choix des réchauds de camping à gaz
- Classification des brûleurs à gaz
3 Composants et types
Le brûleur est un élément des systèmes de chauffage qui permet de simplifier le processus de chauffage d'une maison. En plus de cela, la conception comprend les parties suivantes:
- échangeur de chaleur;
- élément chauffant;
- Cadre;
- ballon.
Les appareils eux-mêmes peuvent différer les uns des autres en fonction du type de carburant utilisé. Le plus courant d'entre eux est le gaz, car le gaz est le type de carburant le plus abordable pour la plupart des consommateurs. Ces types d'équipements sont divisés en sous pression et en injection.

L'appareil du brûleur du premier type se distingue par le fait qu'il possède un ventilateur intégré et que le comburant sous forme d'air pénètre mécaniquement dans la zone de travail.Le ventilateur est nécessaire pour régler la puissance, ce qui a un effet positif sur l'efficacité de l'appareil. Cependant, il est assez bruyant, mais même ce problème peut être résolu en installant des accessoires spéciaux de suppression du bruit.
Les dispositifs d'injection sont autrement appelés atmosphériques. Ils font partie intégrante des chaudières à gaz. Le principe de leur fonctionnement est que l'air est fourni à la zone de travail en raison de ce que l'on appelle l'effet d'injection. L'agent oxydant en quantité nécessaire pour maintenir un processus de combustion à part entière pénètre dans le flux de combustible gazeux sous haute pression.
Si les types de brûleurs répertoriés sont conçus exclusivement pour fonctionner au gaz, des brûleurs combinés peuvent être utilisés pour les systèmes de chauffage utilisant différents types de combustibles, sans que l'installation de pièces supplémentaires de la structure ne soit nécessaire. Ils sont nettement plus chers et plus difficiles à entretenir.
Les brûleurs à combustible liquide qui fonctionnent avec des produits pétroliers, des huiles usées ou des biocarburants sont moins courants. Certains d'entre eux, comme le mazout, ne sont utilisés qu'à des fins industrielles.
Marques populaires
La gamme de bouteilles de gaz pour brûleurs est présentée sur le marché par de nombreux fabricants. Parmi celles-ci, les marques suivantes sont considérées comme les plus célèbres et les plus populaires.
Éclaireur
Marque nationale du groupe d'entreprises Result. La gamme est représentée par des attributs pour le tourisme: réchauds et brûleurs portables, bidons pour eux et autres équipements. Tous les produits sont testés en conditions réelles et améliorés en tenant compte des lacunes identifiées.


Kovéa
Marque sud-coréenne. Il est sur le marché depuis 1982 et est réputé pour ses équipements et accessoires à gaz.Les produits de la marque sont recherchés par les touristes, les automobilistes, les artisans professionnels et les artisans à domicile. L'entreprise réapprovisionne constamment la gamme avec de nouveaux modèles modernisés.


Topex
Marque polonaise dont la qualité est marquée par de nombreux certificats internationaux. Les produits de cette marque sont largement connus et très populaires.
Cartouche Topex 44E 150. Contient du butane et répond à toutes les réglementations EN417. La sécurité est garantie par la présence d'un système qui bloque les fuites de gaz. Conçu pour être utilisé avec des brûleurs à gaz, des réchauds de camping et des chalumeaux.

Clochard
Marque russe, dont les produits sont fabriqués en Corée du Sud. L'entreprise produit 2 types de cylindres - à pince et filetés.
Clochard TRG-003. La cartouche filetée est conçue pour les brûleurs portables et une utilisation toute l'année. Le mélange gazeux contient 25 % de propane, 70 % d'isobutane et 5 % de butane.

Jetboil
Un fabricant américain qui produit un kit pour cuisiner dans des conditions de terrain, composé d'un brûleur, d'un récipient alimentaire et de cartouches filetées pour l'appareil. Les bouteilles sont remplies d'un mélange d'isobutane et de propane et peuvent être utilisées toute l'année.

Rechercher
Marque tchèque spécialisée dans les cartouches composites.
Le modèle HPC Research LPG 262l est équipé d'un réducteur avec un connecteur spécial qui permet une connexion sans adaptateur. Le produit se caractérise par sa fiabilité, sa sécurité contre les explosions et sa résistance à la corrosion. Le remplissage est possible.

Comment choisir pour le brûleur
Alors, vous voulez acheter une bouteille de gaz pour votre brûleur, mais vous ne savez pas laquelle vous avez besoin, il y a quelques petites choses à comprendre :
- Pourquoi avez-vous besoin d'un cylindre (brûleur pour le tourisme, brûleur pour le travail).
- Dans quelles conditions sera-t-il utilisé ?
- Décidez d'un budget.
- Découvrez quelle taille de ballon vous convient le mieux.
Quelle taille de canettes préférez-vous acheter ?
Petit grand
Le plus souvent, les brûleurs sont utilisés à deux fins - dans le tourisme et comme chalumeau. Si vous avez besoin d'un réservoir de chalumeau, achetez simplement un réservoir de propane ou de butane ordinaire. Ils sont bon marché, il n'y a pas d'exigences particulières pour eux. L'essentiel est de choisir un cylindre adapté à la taille et à la forme de la fixation au chalumeau.
Dans le cas des montgolfières, tout est plus intéressant. Vous devez choisir en fonction de la durée de votre randonnée ou de votre voyage et des conditions climatiques qui vous attendent. En fonction des distances et de la durée du voyage, vous devez choisir la taille du ballon - plus il est long, plus le ballon est grand. L'exception concerne les voyages dans des endroits «civilisés» où vous pouvez trouver un magasin avec des bouteilles de gaz. Lors de voyages autonomes loin des zones peuplées, il vaut la peine d'emporter des cartouches de rechange avec vous.
Dans le cas du climat, vous devez regarder le marquage du modèle de cylindre. Il existe des cylindres universels qui sont conçus pour les 4 saisons, mais ils ne résisteront pas à des températures trop extrêmes. Si vous allez quelque part où la température est inférieure à -15 degrés, vous devez choisir des cylindres d'hiver. Il en va de même dans les climats très chauds et humides.
Opinion d'expert
Torsunov Pavel Maksimovich
Selon le budget : choisissez uniquement les cylindres qui ne grèveront pas trop votre budget. L'essentiel est qu'ils ne soient pas une sorte d'artisanat ou sans certification. Il est préférable d'emporter un cylindre de rechange de plus avec vous plutôt que de dépenser tout votre argent pour un cylindre coûteux.La composition du mélange pour les bouteilles extrêmement chères et à prix moyen change rarement au point d'affecter la qualité des brûleurs.
1 Caractéristiques de l'équipement
Les chaudières de chauffage fonctionnant au gaz ont un rendement élevé. Des brûleurs correctement sélectionnés y jouent un rôle important. Ils diffèrent par leur type et leur principe de fonctionnement. Selon leur objectif, les brûleurs sont divisés en domestiques et industriels. Dans le premier cas, les appareils ont une faible puissance. Ce sont eux qui sont placés dans des maisons privées pour les chaudières. Le second type d'équipement est destiné à :
- chaufferies;
- chauffer de grands locaux ou plusieurs bâtiments résidentiels à la fois;
- entreprises.
Dans chaque cas, différents brûleurs à gaz sont nécessaires. Leur principe de fonctionnement et leur dispositif peuvent différer dans ce cas.
Caractéristiques de conception du brûleur à gaz
Cet élément de l'appareil crée une flamme stable, c'est dans le brûleur que le combustible entrant dans l'appareil est brûlé. Ensuite, la chaleur reçue monte, là où se trouve l'échangeur de chaleur, à travers lequel se déplace le fluide caloporteur. Les produits de combustion et l'excès de chaleur pénètrent dans l'atmosphère d'une manière ou d'une autre.
Le brûleur à gaz a un dispositif simple, il se compose de plusieurs composants principaux, notamment :
- Buse - utilisée pour libérer le gaz.
- Système d'allumage - conçu pour enflammer le carburant gazeux.
- Un capteur qui surveille la présence d'une flamme brûlante.
- Système d'automatisation - surveille les indicateurs de température.
C'est ainsi que le design semble simpliste.
Les brûleurs à gaz modernes pour chaudières de chauffage sont des appareils qui doivent répondre à un certain nombre d'exigences :
Fonctionnement silencieux. C'est une qualité importante.De nombreux consommateurs connaissent les chauffe-eau instantanés de l'ère soviétique, dans lesquels la flamme était très bruyante.
Mais les modèles modernes fonctionnent relativement silencieusement.
De plus, lors du choix d'un appareil, vous devez faire attention à l'allumage, car il ne devrait y avoir ni explosion ni claquement. La conception de la chambre de combustion affecte également le niveau de bruit.
Longue période de fonctionnement
Dans les anciens modèles d'unités à gaz, les brûleurs fonctionnaient longtemps, car à cette époque, l'équipement était conçu pour durer des siècles. Maintenant, ces technologies ne sont plus utilisées, par conséquent, ces éléments installés dans les chaudières à gaz tombent en panne assez souvent. Dans ce cas, les experts recommandent d'acheter des appareils fabriqués sous des marques bien connues, pour lesquelles des composants de haute qualité sont utilisés. Vous ne devriez pas acheter d'équipements chinois de fabrication incompréhensible et de chaudières domestiques bon marché, car des brûleurs à courte durée de vie y sont souvent montés.
Combustion complète du combustible gazeux
Il s'agit d'une exigence importante, car le brûleur doit brûler complètement le gaz naturel avec un minimum de dégagement de produits de combustion et d'autres composés connexes, y compris le monoxyde de carbone. Le degré de combustion est également affecté par d'autres nœuds. Il ne faut pas oublier la disposition des gaz d'échappement de haute qualité - pour cela, vous devez faire une cheminée avec un bon tirage
Il ne faut pas oublier la disposition des gaz d'échappement de haute qualité - pour cela, vous devez fabriquer une cheminée qui a une bonne traction.
Le principe de fonctionnement d'un brûleur à gaz est simple :
- L'unité détecte la présence d'un écart entre la température dans le circuit de chauffage et les indicateurs réglés par les utilisateurs de l'équipement.
- Après ouverture du robinet de gaz, le combustible pénètre dans le brûleur.
- En même temps, le système d'allumage est activé.
- Après l'allumage du gaz, une flamme apparaît.
En même temps, le fonctionnement du capteur de flamme commence, qui contrôle sa présence : si le feu s'éteint soudainement, l'automatisation coupe l'alimentation en combustible. Après avoir atteint la température souhaitée dans le système de chauffage, l'alimentation en gaz est arrêtée.
Comment utiliser?
Le fonctionnement de la cartouche ne nécessite pas beaucoup d'efforts. Tout d'abord, il doit être connecté à un appareil à gaz. Fixation différents types de ballons s'effectue de cette façon :
- les modèles filetés se fixent par simple vissage du brûleur ou de son tuyau sur le filetage du bidon ;
- une cartouche avec un support de pince - l'unité de connexion de la cartouche est insérée dans la rainure du brûleur et légèrement tournée d'un côté jusqu'à ce qu'elle soit fixée;
- les soupapes sont fixées avec un dispositif de retenue;
- percés sont reliés par une légère pression sur le ballon.
Pour connecter une cartouche de pince à un brûleur fileté, vous avez besoin d'un adaptateur spécial qui vous permet de fixer la cartouche et divers types d'appareils à gaz. L'adaptateur doit être installé dans le support de pince du réservoir de gaz, puis sa partie supérieure doit être tournée dans le sens des aiguilles d'une montre jusqu'à ce qu'elle s'arrête.


Pour connecter les bouteilles et les brûleurs, un réducteur est souvent utilisé, ce qui sert à réduire la pression de gaz et le fonctionnement normal de l'appareil.
Lors de l'utilisation de bombes aérosols, il est recommandé de respecter les règles suivantes.
- Afin d'économiser du combustible, ne cuisinez pas au réglage de flamme maximum.
- Pour prolonger la durée de vie du brûleur et le rendre plus efficace, il est nécessaire de maintenir les cartouches au chaud et d'éviter qu'elles ne refroidissent. La méthode la plus simple consiste à garder les récipients au chaud.Avant utilisation, il est recommandé de réchauffer le récipient en le tenant un moment dans les mains.
- Pendant le fonctionnement, il est nécessaire de protéger le brûleur du vent, car même une légère brise augmente la consommation de gaz de près de 3 fois. Les réservoirs de propane sont une exception, car une telle protection peut entraîner une explosion.
- Il est nécessaire d'isoler le bidon du sol en posant un revêtement réfractaire. Cela permettra au récipient de retenir la chaleur, ce qui signifie que l'alimentation en combustible du brûleur sera plus efficace.
- Avant de jeter le réservoir d'essence usagé, vous devez vérifier qu'il est complètement vide.
- Ne placez pas la cartouche de gaz à proximité d'une flamme nue.


Souvent, plusieurs cylindres s'accumulent avec les restes de carburant inutilisé. Ils peuvent être chargés les uns des autres. Le ravitaillement est effectué à l'aide d'un adaptateur spécial, vous pouvez donc utiliser différents types de cartouches de gaz.
Pour remplir un cylindre fileté à partir d'un collet, vous devez effectuer les étapes suivantes.
- La bombe aérosol filetée doit être refroidie en la plaçant au réfrigérateur (congélateur) et la pince, au contraire, chauffée à l'eau tiède. La procédure prendra environ 10-15 minutes. Il est strictement interdit de chauffer le récipient au feu.
- Vous devez mettre un adaptateur sur le modèle de pince, retourner le récipient, puis insérer la pointe de l'adaptateur dans le col du cylindre fileté.
- Pour que le gaz passe du réservoir supérieur (pince) au réservoir inférieur (fileté), il est nécessaire d'appuyer sur la cartouche supérieure. En même temps, vous pouvez entendre le mélange couler d'un récipient à l'autre.


Ainsi, en changeant les réservoirs vides, vous pouvez répéter la procédure jusqu'à ce que le cylindre inférieur soit complètement rempli.
Toutes les actions pendant le ravitaillement doivent être effectuées avec soin et précision.
Pour plus d'informations sur le choix d'un collet ou d'un cylindre fileté, voir la vidéo suivante.
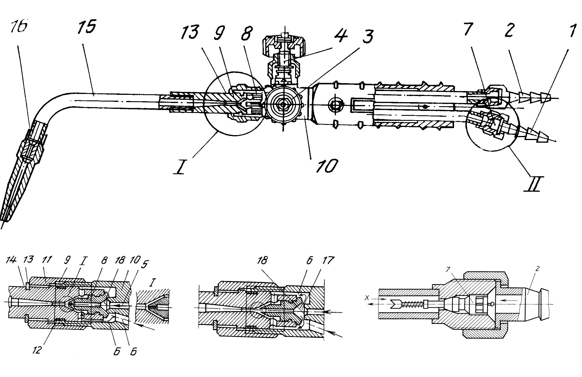
Périphérique périphérique
Ce produit est activement utilisé par les voyageurs, les chasseurs, les pêcheurs, les travailleurs postés en raison d'un large éventail d'applications. Structurellement, les brûleurs à allumage piézo sont divisés en plusieurs types. L'option la plus productive est le système d'injection avec clapet anti-retour. De telles modifications augmentent les performances de l'unité, réduisent la consommation de carburant. Les options bon marché incluent les appareils élémentaires avec une buse.
La plupart des brûleurs à gaz portables avec une bouteille sont classés comme des modèles à injection, dans lesquels l'air est aspiré dans l'équipement de manière naturelle. Dans la chambre de travail, le carburant est mélangé au flux atmosphérique, une étincelle est fournie et l'allumage se produit. Dans les brûleurs à gaz compacts avec mécanisme de réglage, vous pouvez régler avec précision la puissance et la taille requises de la torche. Les unités à haute température produisent une flamme bleu bleuâtre, leurs homologues à basse température - jaune orangé.
Le dispositif du brûleur à gaz est conçu de telle manière que le mélange est acheminé du compartiment de mélange dans la buse de la variété de buse, étant distribué à travers les canaux. Il y a des trous spéciaux sur la pointe avec la formation d'une flamme. Selon la structure de la buse, il existe des types annulaires, fendus, tubulaires.
Bouteille de gaz touristique. Qu'est-ce qu'il y a à l'intérieur?
Les bouteilles de gaz standard pour brûleurs utilisent un mélange de butane, propane, isobutane.Cela dépend des proportions dans lesquelles ils sont «mélangés», du bon fonctionnement du brûleur et, tout d'abord, du froid.
La grande majorité des bouteilles contiennent un mélange propane/butane (isobutane) (soit 30:70 soit 20:80). Brûle beaucoup plus stable, incl. et à des températures inférieures à zéro, un cocktail dans lequel au lieu de butane est de l'isobutane (ou butane + isobutane), parce que. il est plus homogène dans ses propriétés chimiques et possède un indice d'octane plus élevé. Les problèmes lors de l'utilisation d'une telle bouteille de gaz touristique commencent à moins 15 degrés.
Réservoir de propane Carburant propane Coleman
Plus la teneur en propane est élevée, plus le combustible du brûleur est cher. Dans les mélanges de gaz spéciaux destinés à être utilisés à basse température de l'air, appelés «gaz d'hiver» (la désignation sur les bouteilles est le mot «hiver» ou un flocon de neige), la teneur en propane est de 50% ou plus. Les fabricants affirment qu'ils peuvent être utilisés à des températures de l'air allant jusqu'à moins 25-30 degrés.
100 % gaz propane pour les torches de camping Coleman Propane Fuel qui peuvent être utilisées à des températures de l'air jusqu'à moins 42 degrés (le point d'ébullition du propane). Cylindre d'un volume de 465 gr. coûte environ 600 roubles. Pour ce gaz, une bouteille spéciale à paroi épaisse est utilisée, car il faut plus de pression pour comprimer le propane. Une telle bouteille est destinée uniquement à être utilisée dans les brûleurs et lampes au propane de la même marque, son poids est beaucoup plus perceptible que celui des cartouches de même volume remplies de butane ou de mélanges gazeux.
La charge 100% isobutane/butane se retrouve dans les bouteilles de gaz touristiques, en particulier de production nationale, comme Eurogas et Tierra (on les appelle aussi bouteilles Kazan) et les coréens Pathfinder et Neogas. Ils peuvent sans aucun doute être utilisés lors de voyages d'été, lorsque le thermomètre ne descend pas en dessous de plus 5-10 degrés, bien que les fabricants déclarent également des températures inférieures à zéro.
Les touristes expérimentés ont tout un arsenal de petites astuces qui aident le gaz à brûler dans le froid. Mais, à notre avis, il est plus facile de ne pas pervertir, mais d'emporter soit un brûleur à combustible liquide, soit un brûleur multicombustible lors d'un voyage d'hiver. L'essence brûle joyeusement même en cas de gel arctique sévère.
Types et avantages des brûleurs à gaz
Les brûleurs portatifs sont compacts, économiques, le niveau de chaleur et la flamme peuvent être contrôlés avec un régulateur à soupape. Des appareils sont utilisés à la place des produits chimiques pour la désinfestation des locaux pour animaux, les ruches. En l'absence d'alimentation électrique, les appareils sont tout simplement indispensables en termes de préparation de restauration rapide, d'eau bouillante.
Les brûleurs sont produits avec le type d'allumage habituel (briquet, allumettes) et avec un élément piézoélectrique plus pratique et plus coûteux. Lorsque vous appuyez sur un bouton spécial, une étincelle est générée pour enflammer le carburant. Aujourd'hui, les fabricants produisent plusieurs types de brûleurs à gaz à des fins différentes : fers à souder, camping, chalumeaux, cutters.
Les fers à souder à gaz sont économiques en consommation de carburant. Ces appareils sont équipés d'un régulateur de flamme. Le paquet d'appareils comprend 2 buses - une piqûre et un deuxième type en tant que cutter. La première buse, lorsqu'elle est chauffée, est capable de faire fondre la soudure, de l'appliquer sur les microcircuits et de connecter les fils.La deuxième buse peut être utilisée pour allumer un feu et couper des boîtes de conserve et des canettes en aluminium.
Les brûleurs de camping ou touristiques sont utilisés pour chauffer, cuisiner, faire bouillir de l'eau. En règle générale, ces brûleurs doivent être protégés du vent car, lorsque la flamme est soufflée, le gaz continue de sortir du cylindre. Le brûleur peut être installé directement sur le cylindre, avoir un raccordement latéral ou être relié au cylindre par un tuyau spécial.
C'est intéressant : Dispositif de congélation pour faire de la crème glacée : nous l'examinons à fond
Variétés de brûleurs à gaz
Brûleur à gaz atmosphérique
Avant de classer les brûleurs à gaz pour les chaudières, vous devez décider de ce qui se passe à l'intérieur, à savoir :
- le passage de matière combustible à travers le brûleur (dans notre cas, du gaz),
- ajouter de l'air au carburant.
La conception de l'appareil doit maintenir la stabilité de la combustion de la composition gaz-air.
Selon le mode d'alimentation en air du flux gazeux, il existe plusieurs types de brûleurs :
- atmosphérique;
- avec des ventilateurs ;
- diffus-cinétique.
De plus, un brûleur à gaz fait maison diffère par le nombre d'étapes:
- Un pas. Tout d'abord, il s'agit du fonctionnement de l'appareil avec une puissance stable: les indicateurs de température de l'air du local ou du caloporteur sont maintenus à un certain niveau. C'est le mérite d'allumer ou d'éteindre le brûleur au moment voulu. Dans ce cas, des sauts de température sont notés dans un certain spectre. Il convient de noter la durée de vie plutôt modeste d'un tel brûleur.
- Deux étapes. Le fonctionnement de l'appareil est à deux modes. Avec une faible charge sur le réseau de chauffage, un demi-mode fonctionne, assurant un fonctionnement stable de la chaudière et moins d'usure des équipements.Le mode nominal est activé à des charges élevées. La puissance de l'appareil peut être contrôlée progressivement de zéro à la valeur nominale. Par conséquent, les équipements à gaz peuvent fonctionner en continu et en mode optimal pendant de nombreuses années.
Quant aux caractéristiques d'un bon brûleur, ce sont : l'efficacité de l'appareil, l'oxyde d'azote et le monoxyde de carbone pénètrent dans l'air ;
- durée de vie décente de l'appareil ;
- simplicité de conception;
- facilité d'installation;
- bruit dans les normes sanitaires;
- reconfiguration rapide d'un type de carburant à un autre. Ce critère s'applique aux versions combinées.
Brûleurs à gaz atmosphériques
Ils aspirent l'air comme une pompe à jet. C'est-à-dire que le gaz s'écoule à travers l'éjecteur, où, en raison de la dynamique élevée, sa pression diminue. De l'air est introduit dans le flux de gaz en raison de coups de bélier.
Avantages des variétés:
- conception simple;
- dimensions compactes ;
- l'indépendance énergétique ;
- faible bruit;
- prix attractifs.
Avec un tel brûleur, une chaudière à combustible solide peut être convertie pour fonctionner au gaz. Pour ce faire, vous devez monter le brûleur dans la section du cendrier.
Des volumes d'air impressionnants ne peuvent pas être introduits dans le flux de gaz par l'action du jet. Pour cette raison, les versions atmosphériques dans les chaudières ne sont pas très puissantes. Leur limite est de 9 kW (valeur moyenne).
Brûleurs à gaz soufflants
En eux, un ventilateur est responsable du pompage de l'air. L'air est introduit dans les volumes requis. L'oxygène est forcé. C'est pourquoi:
- Il n'y a pas de limites de puissance. Grâce au ventilateur, différents volumes de gaz combustible peuvent être alimentés avec la quantité d'air nécessaire pour assurer une combustion totale.
- La partie combustion (gaz) peut être isolée de la chaufferie. L'air y pénètre de l'extérieur - par un conduit d'air spécial. Cela réduit la menace de pénétration dans la maison de gaz provenant de la fumée.
Dans les analogues de type atmosphérique, un département fermé est impossible. Raison : le tirage naturel ne peut pas faire face à la résistance de l'air dans le conduit et fournir au brûleur les volumes d'air nécessaires.
Une chaudière avec une chambre à gaz fermée peut fonctionner sans installer de conduit d'air séparé. Cela est dû à l'utilisation de cheminées coaxiales. Ils ont un tuyau intérieur pour éliminer les gaz de combustion. Il y a un tunnel cylindrique pour l'entrée d'air frais. Il est disposé entre le tuyau extérieur et intérieur.
Les versions à injection d'air forcée peuvent être autoréglables. Ils nécessitent une interaction minimale de l'utilisateur.
Inconvénients des brûleurs à gaz soufflant :
- prix élevés;
- bruit puissant pendant le fonctionnement;
- dépendance à l'électricité - ils ont besoin de sources d'énergie stables.
Brûleurs à diffusion-cinétique
Ils sont généralement présents dans de puissantes unités de chauffage industrielles. Ils combinent les bases des deux types de brûleurs précédents.
Les principaux critères de choix des réchauds de camping à gaz
Avant de vous rendre au magasin pour acheter un réchaud touristique, vous devez peser soigneusement votre choix, en tenant compte des principaux paramètres de ces appareils.
L'attention principale mérite un indicateur tel que le pouvoir. En moyenne, il faut environ 1 kW d'énergie thermique pour cuire 1 litre de nourriture. Lors d'une randonnée, une personne a besoin d'environ 0,5 à 0,7 litre de produit à la fois. Sur la base de ces données, il est facile de calculer le niveau de puissance requis de l'unité.Par exemple, trois touristes pour l'expédition auront besoin d'un réchaud d'une puissance de 1,5 à 2 kW. Le poids des unités standard est compris entre 0,8 et 2 kg.
Cet indicateur dépend de plusieurs facteurs :
- le matériau à partir duquel le carreau est fabriqué;
- zone de brûleur ;
- taille du corps;
- caractéristiques de conception, par exemple, la nature de l'emplacement du réservoir de carburant, qui peut être intégré ou amovible.
Comme il faut transporter toutes ses affaires en randonnée, le poids de la tuile touristique a une grande importance. Lors du choix d'un modèle adapté aux expéditions, il est nécessaire de prendre en compte la consommation de carburant. Cet indicateur est généralement prescrit dans la fiche technique jointe au poêle. Il s'exprime soit par le temps qu'il faut pour faire bouillir 1 litre d'eau, soit par la quantité de gaz consommée en 1 heure.Il y a un schéma ici : plus il faut de temps pour faire bouillir le liquide, plus la consommation de carburant est faible.
Les dimensions de la table de cuisson imposent des restrictions sur la largeur des plats utilisés, et donc sur la quantité d'aliments pouvant être cuits en une seule fois. Si un récipient d'une capacité de 5 litres est placé sur le carreau, une telle unité est capable de nourrir environ 5 à 7 personnes en une seule cuisson.
Noter! Les réchauds de camping équipés de brûleurs à gaz en céramique n'ont pas besoin de protection contre le vent, car la flamme est cachée à l'intérieur du brûleur
Classification des brûleurs à gaz
Les brûleurs peuvent être non seulement à gaz, mais aussi à liquide. Dans ce dernier cas, ils fonctionnent au diesel, mais ils sont moins courants, car leur efficacité ne se manifeste qu'à des températures extérieures basses de +10 ... + 15ºС.
Ce type de brûleur se distingue par les caractéristiques suivantes :
- Selon le type de mélange combustible utilisé. En plus du liquide et du gaz mentionnés ci-dessus, des structures combinées sont également utilisées, lorsque de l'air ou de l'oxygène est fourni à la zone de travail simultanément avec du gaz combustible (propane et, beaucoup moins souvent, acétylène).
- Par le nombre de buses de travail. Les brûleurs à gaz pour toiture peuvent avoir de 1 à 4 buses. Dans ce dernier cas, les capacités technologiques de l'appareil sont étendues (par exemple, la largeur du matériau en rouleau), mais en même temps, la consommation de gaz combustible augmente.
- Par la présence ou l'absence d'une boîte de vitesses. Les brûleurs sans engrenage, bien que structurellement plus simples, n'ont pas pour fonction de réguler le débit de gaz, ce qui est gênant dans la pratique de leur application.
- Selon la méthode d'allumage du jet de gaz. Les conceptions modernes des appareils à l'étude ont une unité d'allumage piézo, qui est beaucoup plus fonctionnelle que l'utilisation d'allumettes ou d'un briquet aux mêmes fins.
- Selon la conception du tube d'alimentation en gaz. Il peut être droit ou plié en angle, de longueur normale et raccourcie.
Ces brûleurs fonctionnent à partir de cylindres. Un réducteur ou un autre dispositif de distribution de gaz est installé sur la bouteille. Pour les bouteilles de propane, avec une petite quantité de travail, elles peuvent être installées sur le toit, dans d'autres cas, des tuyaux sont utilisés, dont la longueur ne doit pas dépasser 12 ... 15 m.
La plupart des modèles de propane brûleurs de toit peut être utilisé à d'autres fins, par exemple pour enlever une vieille peinture (remplacer avec succès un chalumeau), pour réchauffer des tuyaux en cuivre ou en laiton avant de les souder, pour réchauffer du bitume refroidi, etc.
En tant qu'appareils utilisant des mélanges combustibles et explosifs, les versions industrielles des brûleurs à gaz sont fabriquées conformément aux exigences techniques de GOST 17356-89. Les indicateurs de performance suivants sont normalisés par la norme :
- Étanchéité à cent pour cent des organes d'arrêt qui contrôlent l'alimentation en gaz ;
- Approvisionnement régulier en propane;
- La présence d'une protection anti-vent contre le soufflage spontané ;
- Arrêt fiable de l'appareil et temps de réponse ;
- Limites de la régulation de la puissance thermique.






































