- Si plusieurs convecteurs à la suite
- Installer un système de chauffage au sol
- Spécificités du travail
- Convecteurs à gaz maison
- Option 1. Chauffage basé sur un brûleur IR
- Option 2. Utilisation d'un appareil de chauffage hors service
- Variante #3. Mise à niveau avec un ventilateur de conduit
- Raccordement gaz
- Règlement de construction
- Couper des pièces et installer la chaudière
- Faire un chaudron à partir d'un tuyau
- Exécution du modèle électrique
- Installation d'une cuisinière à gaz et de convecteurs
- Avantages et inconvénients du système
- Procédure de vérification et de démarrage de l'instrument
- Le coût et la qualité d'un convecteur à gaz
- convecteur à gaz
- Alimentation en gaz : étapes principales
- Installer un convecteur à gaz : ce que vous pouvez faire vous-même et ce que vous ne pouvez pas faire
- Schéma de la structure interne et des matériaux
- Résultats
- Conclusions et vidéo utile sur le sujet
Si plusieurs convecteurs à la suite

La nuance suivante doit être prise en compte. Dans notre cas, 3 convecteurs au sol pour le chauffage de l'eau ont été installés, chacun atteignant 1800 cm de longueur. L'équipement est équipé de ses propres grilles
Mais si nécessaire, vous pouvez toujours contacter l'entreprise appropriée et commander une grille solide avec les convecteurs, ce qui vous permettra de masquer les coutures laides formées lorsque deux convecteurs sont connectés ensemble.Ces coutures diffèrent du réseau général, ce qui viole l'esthétique globale
L'équipement est équipé de ses propres grilles. Mais si nécessaire, vous pouvez toujours contacter l'entreprise appropriée et commander une grille solide avec les convecteurs, ce qui vous permettra de masquer les coutures laides formées lorsque deux convecteurs sont connectés ensemble. Ces coutures diffèrent du réseau général, ce qui viole l'esthétique globale.
Dans une situation où le convecteur de chauffage à eau par le sol est trop long, la solution la plus simple sera de simplement découper un trou dans le mur de la forme requise, ce qui permettra au convecteur de pénétrer profondément dans le mur, mais ce n'est pas le meilleur sortie. Bien sûr, vous pouvez couvrir les fissures restantes, mais n'oubliez pas la mobilité de la grille. S'il est retiré une fois, il restera un grand espace, qui se révélera certainement être une source de courants d'air, car des courants d'air sont toujours présents derrière le mur, surtout si l'installation a été réalisée en violation des règles.

Il est préférable de raccourcir le convecteur, il a des rivets à l'extrémité, qui doivent être démontés et percés. Ensuite, la partie excédentaire de l'équipement est coupée, tout ce qui se trouve à l'intérieur est retiré. Nous dévissons le rail, retirons les bandes décoratives, les coupons. On ne remet plus les rivets, à la place on fixe les boulons sur les écrous. Nous coupons le treillis, nous collectons tout en place. S'il y a la distance nécessaire à l'échangeur de chaleur, vous pouvez raccourcir l'équipement de chaque côté, choisissez le côté qui vous convient le mieux.
En général, idéalement, toutes les dimensions doivent être convenues au stade du choix des convecteurs au sol ou d'autres équipements de chauffage, afin qu'à l'avenir, vous n'ayez pas à recourir à des manipulations supplémentaires.Une telle planification évitera la coupure forcée des convecteurs. Afin de réaliser correctement l'installation des convecteurs, vous devez effectuer certaines préparations.
Outre la taille, il est également important de ne pas se tromper sur le choix de la puissance thermique de l'équipement.
Installer un système de chauffage au sol
Pour les pièces disposant de grandes surfaces vitrées (fenêtres de balcon, vitrage de façade ou accès à une terrasse, loggia…), un convecteur au sol est actuellement la meilleure solution.
Les radiateurs au sol (dans le sol) sont montés en fonction du conduit utilisé ou avec une sous-estimation (pour un montage bout à bout) ou au niveau du sol. Les parois latérales utilisées pour l'installation des boîtes ne doivent pas être visibles. La version standard utilise des cadres en aluminium avec des profils F et U et des cadres décoratifs en argent. Pour une installation correcte des convecteurs au sol, les recommandations suivantes sont prises en compte :
- l'échangeur de chaleur doit être situé à une plus grande distance que le ventilateur ;
- les raccordements de l'alimentation en eau à l'échangeur de chaleur sont réalisés avec des tuyaux flexibles ou des manchons dans une tresse métallique;
- un système d'échange de chaleur doit être raccordé au système de chauffage sur un raccord fileté et une vanne thermostatique doit être utilisée ;
- le liquide de refroidissement est fourni au tuyau de chauffage (registre) via une conduite d'alimentation séparée, située aussi loin que possible du ventilateur;
- le convecteur est considéré comme correctement monté s'il est placé strictement horizontalement, les bords supérieurs de la boîte ne sont pas endommagés et le cadre décoratif est au niveau du sol (tolérance 1,5-2 mm).
Le ventilateur est fixé au corps du radiateur à l'aide d'aimants ou de velcro (pour un corps de ventilateur en acier). Des boulons sont utilisés pour aligner la boîte par rapport au sol.Les mêmes pinces de type ancre sont utilisées pour fixer le convecteur avant de couler le sol avec du béton. Pour éliminer la déformation du corps de la boîte, il est nécessaire d'installer des entretoises et d'agir sur le réchauffeur avec une charge verticale. Au stade final, il est nécessaire d'installer un siphon et un tuyau d'évacuation des condensats.
Spécificités du travail
Aujourd'hui, différents types d'échangeurs de chaleur sont produits. En général, les caractéristiques de leur travail, ainsi que les caractéristiques de conception, sont similaires. Les propriétés de la structure d'un tel élément:
- Corps complet disponible.
- La présence de tuyaux de sortie et de sortie.
- Mécanisme de freinage des produits de combustion. Son rôle est joué par des vannes avec des découpes installées sur les essieux.
Les volets peuvent être tournés. Une cheminée en zigzag de différentes longueurs se forme. Les vannes peuvent être ajustées pour obtenir le rapport le plus efficace de poussée et de transfert de chaleur. Les normes de sécurité sont respectées.
Dans cette vidéo, vous apprendrez à fabriquer un échangeur de chaleur :
Convecteurs à gaz maison
Parmi les développements de convecteurs artisanaux qui convertissent le gaz en énergie thermique, il n'y a pas trop de solutions différentes. Cela est dû au risque d'erreurs dans la construction d'appareils fonctionnant au carburant bleu. La moindre erreur de calcul peut entraîner une explosion, un empoisonnement, un incendie.
Cependant, il existe plusieurs conceptions intéressantes à considérer. Ils peuvent être utiles pour chauffer des chalets, des maisons de campagne, des roulottes, des tentes touristiques, des garages.
Option 1. Chauffage basé sur un brûleur IR
En fait, il ne s'agit que d'un raffinement du brûleur à gaz infrarouge habituel de la marque Solarogaz. L'appareil fonctionne au gaz en bouteille. L'inventeur et l'exécuteur de l'idée a utilisé le modèle GII-2.3, dont le panneau de travail peut être installé horizontalement.
Sur ce panneau de travail, qui chauffe normalement l'espace par traitement sans flamme du combustible gazeux, ils ont simplement soudé et installé l'échangeur de chaleur d'origine. Il s'agit d'un cube en métal, avec des tubes métalliques posés à l'intérieur du boîtier.
L'échangeur de chaleur n'a pas de fond, cela empêcherait le passage des vagues de chaleur. Au sommet, il y a un tuyau de dérivation pour connecter une cheminée. Une paire de ventilateurs de l'ordinateur est installée à l'arrière pour accélérer la circulation des courants d'air.
Structurellement, ce modèle ressemble à un appareil de chauffage pour les systèmes de chauffage à air. Selon le principe d'action - aussi. L'air aspiré dans les tubes de l'appareil est réchauffé par un brûleur à gaz, puis il est refoulé hors des tubes par une portion d'air frais et froid.

Un radiateur à convection mobile au gaz convient aux touristes, aux pêcheurs avec chasseurs, aux amateurs de voyages en camping-car. Il suffit de le connecter au cylindre, et le tuyau rigide ou ondulé installé sur le tuyau de dérivation doit être retiré de la tente
Selon le propriétaire de l'invention, le brûleur modifié chauffe la tente beaucoup plus rapidement qu'il ne le fait, mais sans échangeur de chaleur. Tous les produits du traitement du combustible gazeux sont évacués par un tuyau relié à un tuyau de dérivation. L'oxygène ne brûle pas, le gaz consomme avec parcimonie. Pour les pêcheurs, les chasseurs et les touristes, c'est une vraie trouvaille.
Option 2. Utilisation d'un appareil de chauffage hors service
Cette option est généralement extrêmement simple, elle a été inventée pour économiser sur le chauffage du garage. L'ensemble de la révision a consisté à réparer le convecteur hors d'usage et à retirer le caisson. Le résultat a permis d'augmenter considérablement le transfert de chaleur et la vitesse de chauffage, mais il présente des problèmes de sécurité.
Tout d'abord, le sceau est brisé.En cas d'amortissement accidentel, la vanne gaz de l'appareil de chauffage s'arrêtera bien sûr d'alimenter.
Cependant, avec une combustion constante, l'oxygène de la masse d'air dans un espace confiné sera brûlé, vous devrez donc ventiler régulièrement le garage en une seule gorgée ou construire une ventilation forcée.
Deuxièmement, un échangeur de chaleur ouvert peut facilement provoquer une brûlure. Mais là où les enfants ne courent pas, cela ne peut pas être considéré comme un inconvénient.
Il est peu probable qu'un adulte oublie que le boîtier a été retiré du radiateur et que si vous le déplacez négligemment près de l'appareil, vous pouvez vous brûler.
Avec une solution similaire, mais utilisée pour chauffer la remorque, la vidéo suivante vous familiarisera :
Un garage de 30 m² est chauffé par un convecteur sans gaine en cinq minutes environ. Le gaz ne consomme pas plus de 500 roubles pendant le mois d'hiver. En automne et au printemps, cela fonctionne moins souvent, ce qui signifie que les coûts sont encore réduits.
Variante #3. Mise à niveau avec un ventilateur de conduit
L'essence de la modification consiste à installer un conduit d'air avec un ventilateur d'extraction sur la grille avant. La chaleur générée par le convecteur est dirigée vers la zone de travail du propriétaire. Il n'y a pas d'astuces spéciales, mais il y a une réduction significative des coûts de chauffage.
Les produits de combustion sont évacués à l'extérieur de l'objet comme d'habitude - par un tuyau coaxial, à travers lequel de l'air frais est fourni au brûleur pour maintenir la flamme. Ce produit fait maison est beaucoup plus sécuritaire que le modèle précédent, mais il faudra tout de même aérer périodiquement la pièce traitée. Après tout, sans aucun doute, elle "conduira" des nuages de poussière.
Raccordement gaz
Amis, à ce stade, il est important d'être extrêmement prudent! Disons que vous n'avez pas les compétences nécessaires pour travailler avec des appareils à gaz - il est alors préférable de contacter des spécialistes pour effectuer les travaux suivants
L'installation d'un réchauffeur de gaz sur une source d'alimentation en gaz s'effectue selon l'algorithme suivant.
- Imaginons qu'il y ait une branche spéciale avec un filetage sur un tuyau de gaz. Ensuite, il vous suffit de visser un robinet de gaz sur ce tuyau. S'il n'y a pas de retrait spécial, alors il faudra le faire !
- L'étape suivante consiste à amener le tuyau de gaz au convecteur et à les connecter avec un raccord. Ce processus n'est pas précipité.
- Fixez le tuyau connecté avec des clips spéciaux. La distance entre eux est de 1 mètre. Pour ce faire, il faudra percer des trous sur le mur extérieur du bâtiment.
- Traiter les raccords et les joints de tuyaux avec du silicone pour assurer l'étanchéité.
- Assurez-vous d'appeler un représentant du service de gaz afin qu'il puisse vérifier que l'installation et les connexions sont correctes.
Règlement de construction
Les tuyaux peuvent être posés dans les murs extérieurs du bâtiment, mais le diamètre de l'enveloppe extérieure ne doit pas être inférieur à l'épaisseur de la clôture. La déviation verticale n'est pas autorisée à plus de 30 °, la déviation horizontale est de 1 m.Une coupe est faite aux points où le tuyau traverse la structure du plafond.
Normes de distances de cheminée :
- aux structures ignifuges - 5 cm;
- à combustion lente (murs en plâtre et plafonds en bois) - 25 cm;
- à combustion lente, recouvert d'une feuille d'amiante et galvanisé - 10 cm, si l'isolant dépasse de 15 cm du bord du canal des deux côtés.
L'étanchéité de la cheminée est vérifiée si l'appareil utilise le principe de l'auto-fabrication. La sortie de cheminée au-dessus du toit est fermée.Si de la fumée s'accumule dans des conduits ou des pièces adjacentes, la cheminée est lâche ou non isolée.
Les exigences pour les canaux de fumée sont :
- la densité est suffisante pour empêcher les gaz et la fumée d'entrer ;
- le diamètre correspond au tuyau de sortie de l'unité de chauffage ;
- lors de l'aménagement, des matériaux autorisés sont utilisés ;
- les cheminées fournissent la force de tirage requise ;
- il ne devrait pas y avoir de blocages, de blocages à l'intérieur des tuyaux;
- ne sont pas installés dans la zone de remous éolien.
Couper des pièces et installer la chaudière

Avant de commencer l'assemblage de chaudières à bois artisanales, vous devrez réaliser un dessin en tenant compte des caractéristiques du système de chauffage d'une maison privée. Les produits ont la forme de 2 compartiments, situés "matryoshka". Le caisson extérieur est une chambre de combustion, le caisson intérieur est un réservoir d'eau de chauffage. Les éléments ne communiquent pas entre eux.
La préparation des pièces se fait comme ceci :
- Les parois de l'unité sont découpées dans une feuille de métal.
- Les cloisons pour le poêle sont en métal d'une épaisseur de 10-12 mm.
- Un trou pour une cheminée d'un diamètre de 10 cm est fait sur la partie supérieure.
- Les côtés sont soudés au fond, puis - sur les parties verticales, des bandes métalliques de 3 cm de large sous la grille.
- Des bandes de support pour cloisons sont fixées sur les parties latérales.
- Ils sont fabriqués et installés sur les charnières de la porte, les portes du foyer et du cendrier sont découpées.
- Les cloisons sont fixées sous la forme d'un labyrinthe - elles augmenteront l'efficacité du chauffage en créant un pare-air.
- Un manchon de 20 cm de haut sous la cheminée est soudé sur le couvercle avec un trou.
- Le couvercle est soudé au corps, la cheminée est montée.
Faire un chaudron à partir d'un tuyau

La chaudière à bois ou à charbon est constituée d'un tuyau et a une forme en U. En haut il y a un raccord, en bas il y a une conduite de retour.L'unité est facile à fabriquer si vous suivez les recommandations étape par étape :
- Sélection d'outils et de matériaux. Vous aurez besoin de plusieurs tuyaux métalliques d'un diamètre de 1,5 à 2 pouces, ainsi que d'un onduleur de soudage, d'une meuleuse avec une buse pour couper le métal, d'un ruban à mesurer, d'un marteau.
- Découpe d'un tuyau métallique sur mesure.
- Souder les bords de la partie inférieure sous la forme de la lettre P.
- Trous brûlants pour poteaux verticaux.
- Disposition d'éléments verticaux à partir d'angles ou de tuyaux de plus petit diamètre.
- Fabrication de la partie supérieure à partir d'un tuyau de même diamètre et de trous pour les parties verticales.
- Souder le raccord sur le tuyau d'alimentation et le ventilateur.
- Exécution du foyer et du ventilateur. Des trous rectangulaires de 20x10 cm pour le foyer et de 20x3 cm pour le ventilateur sont découpés dans le tuyau.
Exécution du modèle électrique
Une chaudière électrique à faire soi-même pour chauffer une maison est fabriquée à l'aide des matériaux et outils suivants:
- meuleuses d'angle ou meuleuses;
- machine à onduleur de soudage;
- multimètre ;
- tôle d'acier d'une épaisseur de 2 mm;
- adaptateurs pour la connexion au système ;
- Éléments chauffants - les radiateurs peuvent être achetés ou assemblés indépendamment;
- tuyau en acier de 159 mm de diamètre et de 50 à 60 cm de long.
L'algorithme de création d'une unité de type électrique comprend les étapes suivantes :
- Exécution de tuyaux de dérivation pour le raccordement à un système de tuyaux. Vous aurez besoin de 3 éléments de 3, 2 et 1,5 pouces de diamètre.
- Fabriquer un conteneur pour un réservoir à partir d'un tuyau. Le balisage est fait, un trou est découpé à travers et les coutures sont traitées.
- Souder les tuyaux aux trous.
- Découper deux cercles dans un tuyau de plus grand diamètre pour le compartiment de chauffage.
- Soudé au sommet d'un embout de 1,25" de diamètre.
- Faire de la place pour le chauffage. Deux trous sont faits dans le fond.
- Raccordement de la chaudière avec des tuyaux au système.
- Installation d'un élément chauffant de faible puissance avec un thermostat sur le tuyau de dérivation supérieur.
Installation d'une cuisinière à gaz et de convecteurs
Il est interdit d'installer le convecteur à moins de 4 mètres de sources de feu à ciel ouvert, incluant une cuisinière à gaz. Le tuyau adapté au convecteur doit avoir un insert diélectrique, cela évitera un incendie en cas de court-circuit dans le câblage dans une maison en bois.
Un facteur important est la mise à la terre des prises situées près de la cuisinière à gaz et des convecteurs, bien que dans une maison en bois, elles doivent être mises à la terre a priori.

Il existe trois types de tuyaux d'alimentation autorisés pour un réchaud à gaz dans une maison en bois, à savoir :
- Tissu en caoutchouc - son avantage est qu'il ne conduit pas le courant électrique, mais il est plus sensible aux dommages mécaniques que les analogues;
- Manchon métallique - lors de son utilisation, un insert diélectrique est nécessairement inséré de la cuisinière à gaz au réseau principal, sinon il offre les meilleures performances parmi les analogues. De plus, il est recommandé par les dernières normes approuvées. Son seul inconvénient est le prix, ça pique ;
- Caoutchouc avec une tresse métallique - il résiste mieux aux chocs violents et, grâce au noyau en caoutchouc, ne conduit pas le courant.
Lors de l'achat d'un tuyau métallique, il faut faire attention à son revêtement, certains fabricants orientés vers d'autres marchés, avec d'autres normes, utilisent un isolant jaune, qui ne remplit pas ses fonctions principales. Demandez toujours les pièces justificatives lors de l'achat et conservez-les en lieu sûr
Avantages et inconvénients du système
Les installations de biogaz présentent de nombreux avantages, mais il y a aussi suffisamment d'inconvénients, donc avant de commencer la conception et la construction, vous devez tout peser :
- Recyclage. Grâce à une installation de biogaz, vous pouvez tirer le meilleur parti des déchets dont vous auriez de toute façon à vous débarrasser. Cette élimination est moins dangereuse pour l'environnement que l'enfouissement.
- Renouvelabilité des matières premières. La biomasse n'est pas le charbon ou le gaz naturel, dont l'extraction épuise les ressources. Dans l'agriculture, les matières premières apparaissent constamment.
- Quantité relativement faible de CO2. Lorsque le gaz est produit, l'environnement n'est pas pollué, mais lorsqu'il est utilisé, une petite quantité de dioxyde de carbone est libérée dans l'atmosphère. Il n'est pas dangereux et n'est pas capable de modifier de manière critique l'environnement, car. il est absorbé par les plantes pendant la croissance.
- Émission modérée de soufre. Lorsque le biogaz est brûlé, une petite quantité de soufre est libérée dans l'atmosphère. C'est un phénomène négatif, mais son ampleur est connue en comparaison : lorsque le gaz naturel est brûlé, la pollution de l'environnement par les oxydes de soufre est beaucoup plus importante.
- Travail stable. La production de biogaz est plus stable que les panneaux solaires ou les éoliennes. Si l'énergie solaire et éolienne ne peut pas être contrôlée, les usines de biogaz dépendent de l'activité humaine.
- Vous pouvez utiliser plusieurs paramètres. Le gaz est toujours un risque. Afin de réduire les dommages potentiels en cas d'accident, plusieurs usines de biogaz peuvent être dispersées sur le site. S'il est correctement conçu et assemblé, un système de plusieurs fermenteurs fonctionnera de manière plus stable qu'un seul grand bioréacteur.
- Avantages pour l'agriculture. Certains types de plantes sont plantés pour obtenir de la biomasse.Vous pouvez choisir ceux qui améliorent l'état du sol. Par exemple, le sorgho réduit l'érosion du sol et améliore sa qualité.
Le biogaz présente également des inconvénients. Bien qu'il s'agisse d'un carburant relativement propre, il pollue toujours l'atmosphère. Il peut également y avoir des problèmes d'approvisionnement en biomasse végétale.
Les propriétaires de plantes irresponsables le récoltent souvent de manière à épuiser la terre et à perturber l'équilibre écologique.
Procédure de vérification et de démarrage de l'instrument

Une chaudière artisanale ne démarre que lorsque le système est rempli d'eau, le câblage et les connexions sont inspectés. En présence de circulation forcée, une pompe est installée pour un chauffage uniforme du liquide de refroidissement. Dans les systèmes à circulation naturelle, une légère pente est réalisée à la sortie de la ligne de retour. Les câbles d'alimentation pincés ou déchirés sont remplacés ou réisolés afin que l'élément chauffant ne tombe pas en panne. Pour se protéger contre les fluctuations de tension, un RCD est monté.
L'unité de chauffage est nettoyée de la poussière et de la saleté, puis peinte avec un agent résistant à la chaleur. La surface doit être poncée et apprêtée avant d'appliquer la peinture. Le revêtement est appliqué en 2 couches.
L'eau est fournie dans les communications afin qu'il n'y ait pas d'embouteillages. Pour contrôler l'aération, utilisez des robinets sur les radiateurs. Ensuite, allumez la chaudière sur le réseau en attendant le réchauffement. La température de l'eau est vérifiée avec un multimètre.
Le coût et la qualité d'un convecteur à gaz
Les prix des convecteurs à gaz sont formés en fonction du fabricant et de la puissance de l'appareil. Le coût de l'appareil est également affecté par sa qualité.Ainsi, un convecteur à gaz d'un fabricant ukrainien, acheté l'année dernière pour 900 hryvnias, a fonctionné sans problème pendant un an. Au total, il y avait deux de ces appareils en fonctionnement. L'un d'eux a échoué après avoir travaillé pendant 5 mois. La poursuite de la réparation de l'appareil s'est avérée non rentable. Il était plus opportun d'acheter un nouveau convecteur à gaz que de réparer l'ancien. Le deuxième appareil de ce type a fonctionné pendant toute la saison de chauffage et a été éteint. Avec le début de la prochaine saison de chauffage, il n'a pas été possible de démarrer l'appareil. Sa réparation était également extrêmement peu rentable.
Que ne peut-on pas dire de deux convecteurs à gaz de fabrication turque. Ces appareils ont été achetés pour 1000 et 1500 hryvnias (200 et 300 dollars au taux de change de l'année dernière). De puissance différente, mais du même fabricant, ils ont fonctionné avec succès pendant toute la saison de chauffage, ont été éteints et remis en service avec l'arrivée du froid sans problème.
Ainsi, vous voyez une différence frappante de qualité entre les différents fabricants.
convecteur à gaz
De tous les convecteurs, le gaz est dit le plus économique et le plus indépendant du secteur.
Et cela est très important, car les caprices de la météo n'ont pas le meilleur effet sur le système d'alimentation électrique, donnant lieu à des caprices en soi.
En effet, un radiateur à gaz vous réchauffera au milieu d'un blizzard, lorsque les convecteurs électriques de chauffage "s'éteignent" avec l'ensemble du système en raison de vents violents, de fils emmêlés ou glacés, ou d'autres problèmes auxquels les lignes électriques sont soumises à chaque fois. l'hiver.
L'alimentation de ce type de convecteurs est un réseau d'alimentation en gaz, voire le plus courant bouteille de gaz domestique. Certes, lors du choix d'un tel convecteur, il convient de garder à l'esprit que chaque règle a des exceptions. Dans ce cas, il s'agit de convecteurs avec ventilateur qui, bien qu'ils fonctionnent au gaz, sont dépendants du secteur - le ventilateur l'exige.
Avantages d'un convecteur à gaz :
- l'abordabilité des prix ;
- haute efficacité du chauffage des locaux;
- faible coût de chauffage.
Défauts:
Alimentation en gaz : étapes principales
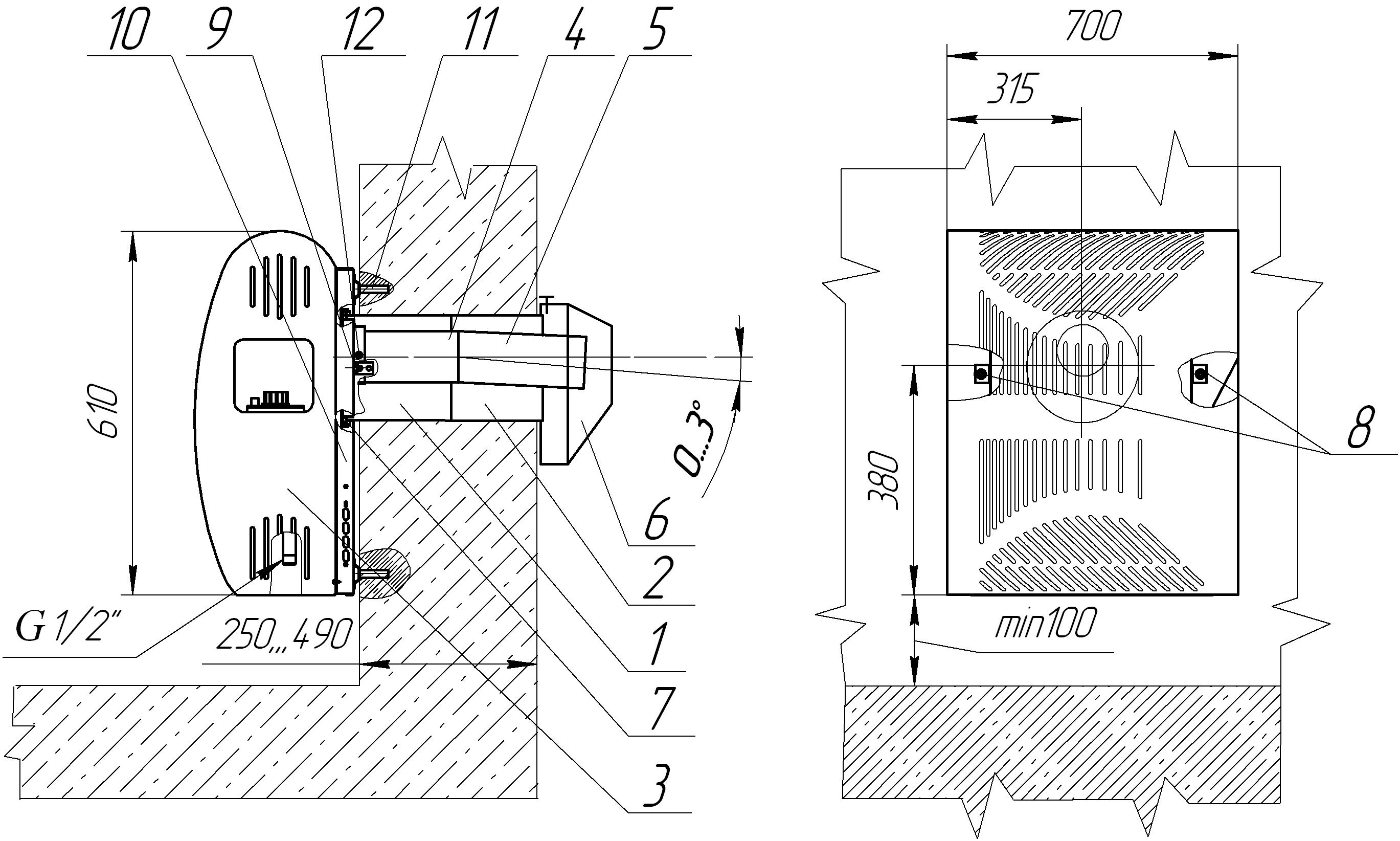
L'installation du convecteur à gaz est terminée, vous devez maintenant vous occuper de l'alimentation en gaz. Cette étape est assez complexe et responsable à la fois. Pour fournir du gaz, procédez comme suit :
Schéma de fonctionnement d'un convecteur à gaz.
- Selon les documents réglementaires, le tuyau adapté au convecteur doit longer la rue. Il y a deux options ici: la première - le tuyau a une connexion filetée pré-extraite, la seconde - il n'y a pas une telle connexion. S'il y a un filetage, vous pouvez visser vous-même la vanne de gaz, ce qui coupera l'alimentation en gaz du convecteur. En l'absence de retrait, il doit être fait. Pour ce faire, appelez des soudeurs au gaz professionnels du Gorgaz local ou d'un bureau similaire.
- Après avoir installé le robinet de gaz, il est nécessaire de poser un tuyau métal-plastique sur le convecteur lui-même. À l'aide d'un ruban à mesurer, calculez la longueur du tuyau, en déterminant simultanément la présence de raccords.
- Vous devez acheter un tuyau et des raccords. Le principe de l'achat est que le vendeur doit préciser la présence d'un certificat de conformité de ces canalisations et raccords pour ce type de travaux.
- Posez le tuyau, fixez-le avec des clips tous les m. Pour installer les clips, vous devez percer des trous dans le mur.
- Lors de l'installation des raccords nécessaires, lubrifiez soigneusement le tuyau et le raccord lui-même avec du silicone, ce qui donnera une étanchéité supplémentaire.Le silicone agira également comme un lubrifiant et facilitera l'installation des tuyaux.
À la suite des travaux, vous devriez obtenir un convecteur monté sur le mur avec un tuyau de gaz qui y est connecté.
Reste maintenant la dernière étape de l'installation. Un essai est requis.
Schéma d'installation d'un convecteur à gaz.
Avant de commencer, ouvrez le robinet de gaz et passez sur tous les joints des raccords et raccords filetés avec un pinceau imbibé d'une solution aqueuse de savon ou de shampoing. De cette façon, vous pourrez remarquer les bulles gonflées (le cas échéant), qui indiquent des fuites de gaz. Si cela se produit, fermez immédiatement la vanne d'alimentation en gaz. Après avoir vérifié les joints, démarrez le convecteur. Pour ce faire, maintenez enfoncé le bouton d'alimentation en gaz pendant une minute. Ainsi le gaz aura le temps de passer dans les canalisations et de rentrer dans la chambre de combustion. Appuyez sur l'allumeur piézo, l'étincelle devrait enflammer le gaz. Une flamme bleue s'allumera dans le four.
Réglez le fonctionnement du convecteur en réglant une température confortable. Pendant les premières heures de fonctionnement, vous pouvez ressentir une odeur désagréable d'huile brûlée. Ceci est normal car le convecteur est neuf et la chambre de combustion brûle. Si l'odeur persiste longtemps, il vaut la peine de couper le gaz et de revérifier tous les joints et raccords filetés.
Il est conseillé que tous les travaux d'installation de convecteurs à gaz soient effectués par un professionnel ayant une expérience suffisante dans l'exécution de tels travaux. Cela est également dû au fait que l'auto-installation du convecteur peut annuler la garantie de l'appareil. Le convecteur à gaz doit être repris par Gorgaz. Vous devez avoir une autorisation documentaire pour le raccordement entre vos mains.De plus, toutes les décisions d'installation, ainsi que les conclusions de la commission de mise en service de l'appareil, doivent être documentées et signées de manière appropriée.
Installer un convecteur à gaz : ce que vous pouvez faire vous-même et ce que vous ne pouvez pas faire
Dans l'ensemble, l'installation complète d'un convecteur à gaz peut être divisée en deux étapes - il s'agit de l'installation directe de l'appareil et de son raccordement au réseau de gaz. Examinons ces étapes plus en détail.
- Comment installer un convecteur à gaz. Pour commencer, nous nous familiarisons avec les instructions du fabricant - dans la plupart des cas, vous pouvez y trouver toutes les informations nécessaires concernant les exigences d'installation et de fonctionnement. Selon les conditions d'installation, nous sélectionnons un lieu d'installation, après quoi nous perçons un trou dans le mur à la hauteur requise et, selon le type de convecteur, installons l'unité assemblée soit au sol, soit accrochée au mur. L'espace entre l'entrée d'air et le tuyau d'évacuation des fumées est soigneusement scellé avec de la mousse de montage. Tout, on peut dire que le convecteur est installé et prêt pour le raccordement au gaz.
-
Raccordement au gazoduc. Je ne dirai rien ici - même si vous le connectez vous-même et que vous faites tout correctement, vous ne pourrez pas mettre le convecteur à gaz en marche. Ou plutôt, remettez-le, mais avant cela, vous serez condamné à une amende - malheureusement, effectuer des travaux liés à la gazéification est une occupation dangereuse, et une licence pour leur mise en œuvre n'est délivrée qu'à des organisations sérieuses.
Et en conclusion, je n'ajouterai qu'une chose au sujet - les convecteurs à gaz ne sont efficaces que pour chauffer de petites surfaces.Nous en avons parlé un peu plus haut, et s'il est nécessaire d'établir le chauffage pour une grande maison, il ne faut pas regarder dans leur direction - on ne trouve rien de mieux qu'un système liquide avec une chaudière de chauffage central et des batteries pour les grands bâtiments .
Auteur de l'article Alexander Kulikov
Schéma de la structure interne et des matériaux
Comme mentionné ci-dessus, la tâche principale du système de chauffage - chauffer l'air - est résolue par un échangeur de chaleur. Par conséquent, le choix de sa configuration, de sa taille et de son matériau de fabrication doit être effectué avec un soin particulier. Sur les deux premiers points (configuration et taille) il y a consensus.
Ainsi, le plus efficace est la position en forme de S des tubes dans un radiateur à ailettes, qui assure un chauffage uniforme du métal et un retour rapide du corps au flux qui passe. Les dimensions sont fixées proportionnellement à la puissance de l'appareil. Avec le matériau de fabrication est plus difficile.

L'acheteur ou l'assembleur du système devra choisir parmi plusieurs options, chacune avec ses propres avantages et inconvénients.
Les plus populaires sont :
- L'acier est bon marché, chauffe rapidement, mais refroidit également rapidement. Il est sujet à la corrosion, et a donc une durée de vie relativement courte, perd progressivement son efficacité pendant le fonctionnement.
- La fonte est une autre solution économique, mais plus prometteuse que l'acier. La fonte est fragile, elle doit donc être installée avec soin, et la grande densité du matériau impose des exigences supplémentaires sur la fiabilité du montage du système sur le mur.Parmi les avantages de la fonte, il y a une capacité calorifique élevée, c'est-à-dire la capacité de dégager la chaleur accumulée pendant une longue période même après l'arrêt du brûleur.
- Alliages d'aluminium - en raison de leur faible poids, de leur haute résistance et de leur stabilité chimique, ils sont capables de fonctionner de manière fiable pendant longtemps. En termes de capacité calorifique, ils ne sont pratiquement pas inférieurs à la fonte, mais ils sont beaucoup plus chers.
- Cuivre - fournit une capacité thermique maximale, n'est pratiquement pas sujet à la corrosion, résiste parfaitement aux chutes de température et de pression, est pratique pour le moulage et l'installation. Cependant, vous devrez bien payer pour une telle polyvalence - les échangeurs de chaleur en cuivre sont les plus chers de ceux proposés sur le marché aujourd'hui.
Après avoir analysé les avantages et les inconvénients de chacun des matériaux, nous pouvons conclure que dans les convecteurs à gaz de production industrielle, les échangeurs de chaleur en fonte et alliages d'aluminium sont préférables, car ils offrent le meilleur rapport qualité-prix.
Dans les appareils faits maison, mieux vaut privilégier les alliages d'aluminium ou de cuivre car plus fiables et moins exigeants pour les compétences de l'assembleur.
Un autre dilemme à résoudre est de savoir si le système est équipé d'une chambre de combustion de type ouvert ou fermé.
- Une chambre ouverte prélève l'air froid directement de la pièce, le réchauffe et élimine les produits de combustion dans l'environnement extérieur. Cependant, si l'installation est mauvaise, que l'évacuation n'est pas assez efficace ou que la pièce est mal ventilée, il peut y avoir un manque d'oxygène et une augmentation de la concentration en monoxyde de carbone. Il est recommandé d'installer un convecteur à chambre de combustion ouverte uniquement dans des locaux non résidentiels.
- La chambre fermée injecte de l'air atmosphérique à travers une canalisation coaxiale.Dans le sens opposé, les produits de combustion se déplacent le long de celui-ci, ce qui préchauffe l'air propre à travers la paroi du pipeline. Un tel système est plus fiable et plus sûr, il est compact et facile à installer. Cependant, une chambre fermée n'est pas sans certains inconvénients - son fonctionnement nécessite de l'électricité, ce qui n'est pas toujours pratique dans les conditions du pays, de plus, le prix d'un convecteur avec un brûleur de type fermé est toujours plus élevé.
Et la dernière caractéristique déjà mentionnée ci-dessus est la présence d'un radiateur soufflant. Ici, tout est simple - plus le ventilateur est puissant, plus l'air chauffé atteindra rapidement les pièces et les murs éloignés, assurant une répartition plus uniforme de la chaleur. Et à mesure que la puissance du ventilateur augmente, le niveau de bruit et la consommation d'énergie augmentent. Dans les appareils puissants, le ventilateur empêche également la surchauffe de l'échangeur de chaleur, prolongeant ainsi sa durée de vie.
Résultats
Le chauffage par convecteur est une très bonne option pour le chauffage des locaux. Les convecteurs peuvent être recommandés pour une installation aussi bien dans de petits appartements que dans de grandes maisons de campagne. Ils ont de bonnes performances et efficacité.
Fait maison - ce mot signifie que le produit est fabriqué à la main, mais il est parfois utilisé avec une sorte de connotation désobligeante. En attendant, c'est loin d'être le cas. Les voitures fabriquées à la main les plus chères au monde sont créées en fonction de projets individuels. Comment les appeler ? Fait maison ? Tout ce qui assure la vie de l'humanité est créé par des mains humaines.
Le sujet de cet article est chauffage maison maison, mais son objectif n'est pas d'enseigner, mais de donner un aperçu de ces options maison que les personnes talentueuses mettent en pratique.Bien sûr, l'auto-fabrication nécessite certaines connaissances, expériences, outils et matériaux de travail. Ce n'est que dans ce cas qu'il est possible de fabriquer un appareil de chauffage de haute qualité et sûr, pas pire, et dans de nombreux cas même meilleur que les chaudières industrielles.
Le plus souvent, les artisans commencent la création d'un système de chauffage en déterminant le type de chaudière, en créant des dessins et en construisant ensuite la chaudière. Ce travail n'est pas facile, par conséquent, sans une bonne connaissance de l'appareil et du principe de fonctionnement du type de chaudière sélectionné, de l'expérience, de la disponibilité des outils et des matériaux nécessaires à son installation, il est difficile de le réaliser.
Les chaudières à gaz sont difficiles à fabriquer par elles-mêmes, car il s'agit d'un équipement présentant un danger accru et des exigences techniques particulières lui sont imposées. Les tentatives de fabrication artisanale sont limitées par la nécessité d'obtenir un certificat de qualité et des autorisations auprès des autorités de contrôle. Il est problématique de réussir tous les contrôles requis pour le respect des paramètres de qualité. Mais la réparation à faire soi-même du convecteur est acceptable. Le plus souvent, le tuyau central de la sortie coaxiale brûle et il peut et doit être remplacé.
Les chaudières de ce type se caractérisent par une extrême simplicité et de faibles exigences de sécurité lors de l'installation. Une chaudière électrique peut être comparée aux appareils électriques conventionnels utilisés dans la maison. Le seul inconvénient est le prix élevé et sans cesse croissant de l'électricité. Mais pour un garage ou une maison d'été, s'il s'allume parfois, c'est tout à fait convenable.
Les chaudières utilisant des combustibles liquides sont également faciles à fabriquer. Le prix élevé des injecteurs peut constituer un obstacle à la fabrication.
Cette classe de chaudières, et elles sont divisées en bois, pyrolyse et granulés, est la plus populaire pour l'autoproduction. Une chaudière à bois à faire soi-même est l'une des plus simples et des moins chères, mais son efficacité est assez faible. Il existe de nombreux dessins et conseils pratiques sur la fabrication de ce type de chaudière sur Internet. Une chaudière à bois peut fonctionner avec tout type de combustible solide.
Les chaudières à pyrolyse à deux chambres sont assez coûteuses à fabriquer seules. Ils ont deux chambres de combustion. Dans l'un, le carburant brûle avec un accès minimal à l'oxygène. C'est-à-dire que le processus de pyrolyse ou de distillation sèche du bois a lieu. Le gaz dégagé par le bois brûle dans la seconde chambre en dégageant une grande quantité d'énergie. Les artisans ont appris à fabriquer de leurs propres mains une chaudière à pyrolyse à partir d'une bouteille de gaz, économique et parfaitement fonctionnelle. Le moyen le plus simple de fabriquer une chaudière consiste à utiliser une bouteille de gaz d'une capacité de 50 litres.
Souvent, les propriétaires d'appartements ne veulent pas jeter les anciennes batteries au moment de les remplacer par de nouvelles unités, car il est possible d'en fabriquer un chauffage supplémentaire de vos propres mains. Ceci est tout à fait réalisable si vous vous familiarisez avec les informations nécessaires et connaissez les matériaux adaptés au montage. Un radiateur provenant d'une ancienne batterie est une bonne option, adaptée à une source de chaleur supplémentaire.
Conclusions et vidéo utile sur le sujet
La vidéo expliquera comment fabriquer indépendamment un brûleur à gaz propane :
Avec une petite quantité d'outils à portée de main, un schéma de brûleur à gaz et les matériaux nécessaires, chaque artisan à domicile peut assembler un brûleur au propane.
Dans le même temps, il est important de respecter les règles de sécurité incendie et d'utiliser uniquement des matériaux de haute qualité approuvés pour une utilisation dans le système d'alimentation en gaz domestique. Mais si vous n'êtes pas sûr de vos propres capacités, il est préférable d'acheter un tel appareil dans un magasin.
Si vous deviez assembler vous-même un brûleur au propane, partagez vos connaissances avec nos lecteurs, dites-nous quelle option vous avez choisie. Pourquoi a-t-il été choisi et y a-t-il eu des difficultés dans le processus de travail. Vous avez peut-être un schéma de l'appareil et une photo du produit fini fait maison - joignez des informations visuelles à la discussion sur le matériel.
















































