- Appareil et principe de fonctionnement
- Réglage et réparation
- Inconvénients du chauffage au gaz sur bouteilles
- Comment fonctionne un réducteur de cylindre :
- 1 réducteur direct
- Membrane
- 2 marche arrière
- Comment fonctionne un réducteur de gaz
- Boîte de vitesses à prise directe
- Marche arrière
- Quelques mots sur le dispositif de la boîte de vitesses HBO
- La conception et le principe de fonctionnement du réducteur de gaz.
- But du ballon propane réducteur BPO 5-2
- Le dispositif et le principe de fonctionnement du réducteur de propane BPO 5-2
- Caractéristiques techniques du réducteur propane BPO 5-2
- Ensemble complet de réducteur de gaz propane BPO 5-2
- Mesures de sécurité lorsque vous travaillez avec un réducteur de propane BPO 5-2
- Règles de fonctionnement du réducteur de propane BPO 5-2
- Classification des régulateurs de gaz
- Principe d'opération
- Caractéristiques de montage
- Types de gaz de travail
- Couleur du boîtier et type de régulateur
- Schéma des dispositifs à action directe et inverse
- Pourquoi utilise-t-on un réducteur de gaz ?
- Dysfonctionnements typiques et leur réparation
- Classification des réducteurs de gaz
- Ballon et réseau
- Propane, oxygène et acétylène
- Le principe de fonctionnement de l'appareil
- Quel est le volume et la pression requis
- Conception et types
Appareil et principe de fonctionnement

Un régulateur autonome coordonne la pression sans impliquer une source d'énergie supplémentaire.Les appareils sont divisés en fonction de leur objectif, du fonctionnement de la vanne, de la nature de l'action, de la méthode de réglage.
Éléments de construction standards :
- boîtier en métal ou PVC;
- raccorder le tuyau de dérivation avec un écrou ;
- montage de travail;
- unité de filtre ;
- chambre double avec membrane centrale ;
- valve à selle sur l'axe;
- manomètre.
Les robinets-vannes sont à siège simple et double, à membrane, à pincement, robinets et vannes papillon sont utilisés dans la conception. Dans les autoroutes urbaines, des membranes des deux premiers types sont installées. Ils sont scellés avec des joints rigides en métal, caoutchouc, fluoroplaste.
Réglage et réparation
Vous pouvez le faire vous-même à l'aide des outils disponibles et d'un kit de réparation, mais uniquement si vous savez exactement ce que vous faites. Un réglage et un montage insuffisamment qualifiés peuvent avoir des conséquences désastreuses. Les principaux signes de fonctionnement anormal du produit sont les suivants :
- écart de la pression de sortie par rapport aux limites autorisées ;
- fuite de gaz.
L'écart de pression est généralement causé par une rupture ou un déplacement du ressort, ou la fuite du gaz de compensation qui remplit sa fonction en raison de la dépressurisation d'une partie du boîtier. Mais si le dysfonctionnement du ressort doit encore être éliminé à l'aide d'un kit de réparation, la version à gaz appartient à la catégorie des non réparables (l'appareil est complètement changé).
Une fuite de gaz peut être causée par un diaphragme endommagé, une fuite dans le boîtier ou une soupape à flotteur défectueuse. Si ce dernier commence à fuir du gaz, cela peut également se manifester dans le produit de consommation (ex : chauffe-eau à gaz).Étant donné que la pression à la sortie du réducteur est approximativement égale à l'entrée, alors en l'absence de débit (le dispositif de consommation est temporairement éteint), une fuite sera inévitable.
Un tel dysfonctionnement est difficile à diagnostiquer car la mise sous tension de l'appareil consommateur normalise la situation. Elle ne peut être déterminée qu'en mesurant la pression du gaz à la sortie du réducteur en l'absence de consommation (en règle générale, elle ne doit pas dépasser la valeur nominale de plus de 20%).
Mais il convient de noter que les boîtes de vitesses sont de conception pliable et non pliable (scellée). Ces derniers ne peuvent être remplacés que dans leur intégralité.

Ainsi, après avoir stocké un kit de réparation approprié, le produit doit d'abord être démonté. En inspectant visuellement le ressort et la membrane retirés du boîtier, il convient de déterminer lequel d'entre eux a causé le dysfonctionnement. Un ressort cassé doit être remplacé par un neuf du kit de réparation.
Si le ressort ne s'est pas cassé, mais simplement resserré, ayant perdu de l'élasticité de temps en temps, vous ne pouvez pas le changer, mais simplement ramasser et mettre un joint de l'épaisseur requise du côté du corps sans fermer le trou existant avec.
Si la membrane se brise, elle doit être remplacée par une membrane similaire du kit de réparation, mais, en règle générale, il n'est pas facile d'établir une connexion étanche avec les rondelles qui l'entourent. Par conséquent, si vous n'êtes pas sûr de votre compétence, réfléchissez à l'opportunité d'acheter une nouvelle boîte de vitesses.
Il s'agit d'un tube avec un petit trou, à l'extrémité duquel une bascule est pressée à travers un joint en caoutchouc. Il existe plusieurs problèmes typiques concernant le fonctionnement des vannes :
- la course normale de la bascule est perturbée ;
- joint en caoutchouc usé ou endommagé ;
- l'extrémité du tube est déformée.
Le réglage des soupapes est un processus simple.La mobilité du culbuteur peut être restaurée en tournant ou en remplaçant ses charnières. Le joint endommagé doit être coupé et collé à la place de la même taille du kit de réparation. La rugosité et la régularité de l'extrémité du tube, qui assure un ajustement serré du joint, sont obtenues en le meulant.
Si la défaillance du réducteur est une fuite de gaz due à des fuites aux endroits où la membrane s'adapte sur le boîtier, l'intégrité brisée peut être restaurée à l'aide d'un mastic à la silicone. Lors d'ajustements ou de réparations, et pour toute autre raison initialement non liée à la dépressurisation, il ne sera pas superflu d'appliquer également du mastic à ces endroits, ce qui évitera un problème similaire à l'avenir.

Une fois les travaux de réparation terminés, il est nécessaire de vérifier immédiatement l'étanchéité du produit à l'aide d'une solution savonneuse. S'il n'y a pas de bulles indiquant des fuites, la boîte de vitesses doit être testée à nouveau après une journée, puis après quelques jours de plus. Par la suite, une surveillance périodique (par exemple mensuelle) est recommandée.
Comme tout autre équipement lié au gaz, un réducteur vous sera utile si vous choisissez le bon modèle et prenez des mesures simples pour assurer un fonctionnement sûr. Un entretien périodique et une détection rapide des défauts vous éviteront des ennuis.
Inconvénients du chauffage au gaz sur bouteilles
Comme toute autre méthode de chauffage, celle-ci a aussi ses inconvénients :
- si la bouteille est à l'extérieur, en cas de gel sévère, le système peut s'arrêter - le condensat gèlera et empêchera le gaz de s'échapper;
- ne placez pas les bouteilles dans des zones non ventilées ;
- comme le gaz est plus lourd que l'air, s'il fuit, il peut descendre (dans le sous-sol, le sous-sol), et s'il y a une forte concentration, des conséquences graves se produiront.
Ainsi, chauffer avec des bouteilles de gaz, si certaines conditions ne sont pas remplies, peut être très dangereux. Par conséquent, ils ne doivent être stockés que dans des pièces ventilées, sous lesquelles il n'y a pas de sous-sol. Il est même conseillé de les placer dans une extension séparée sur le site. La pièce doit être chaude pour que le système ne s'éteigne pas en cas de gel. S'il fait frais dans l'annexe, vous devrez alors fabriquer une boîte isotherme en métal ou en plastique pour les bouteilles. Pour l'isolation, les murs sont gainés de mousse plastique de 5 centimètres d'épaisseur. Des trous de ventilation doivent être pratiqués dans le couvercle de la boîte.

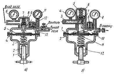
Comment fonctionne un réducteur de cylindre :
1 réducteur direct
L'appareil de réduction de pression de gaz simple habituel se compose de deux chambres avec une zone de haute et basse pression séparées par une membrane en caoutchouc. De plus, le "réducteur" est équipé d'un raccord d'entrée et de sortie. Les appareils modernes sont conçus pour que la chemise du soufflet soit vissée directement dans la boîte de vitesses. De plus en plus, vous pouvez trouver un réducteur de gaz avec un troisième raccord conçu pour le montage du monomère.
Une fois que le gaz est fourni par le tuyau puis par le raccord, il pénètre dans la chambre. La pression de gaz générée tend à ouvrir la vanne. Au verso, un ressort de blocage appuie sur la soupape, la ramenant vers un siège spécial, communément appelé « selle ». Revenant à sa place, la soupape empêche le flux incontrôlé de gaz à haute pression de la bouteille.
Membrane
La deuxième force de fonctionnement à l'intérieur du réducteur est une membrane en caoutchouc qui sépare l'appareil en une zone de haute et basse pression. La membrane agit comme un "assistant" à haute pression et, à son tour, tend à soulever la soupape du siège, ouvrant le passage. Ainsi, la membrane est entre deux forces opposées. Une surface est pressée par un ressort de pression (ne pas confondre avec un ressort de rappel de soupape), qui veut ouvrir la soupape, d'autre part, le gaz qui est déjà passé dans la zone de basse pression appuie dessus.
Le ressort de pression a un réglage manuel de la force de pression sur la soupape. Nous vous conseillons d'acheter un réducteur de gaz avec un siège pour un manomètre, il vous sera ainsi plus facile d'ajuster la pression du ressort à la pression de sortie souhaitée.
Lorsque le gaz sort du réducteur vers la source de consommation, la pression dans la chambre de l'espace de travail diminue, permettant au ressort de pression de se redresser. Elle commence alors à pousser la valve hors du siège, permettant à nouveau à l'appareil d'être rempli de gaz. En conséquence, la pression augmente, appuyant sur la membrane, réduisant la taille du ressort de pression. La soupape recule dans le siège en rétrécissant l'espace, ce qui réduit le remplissage en gaz du réducteur. Le processus est ensuite répété jusqu'à ce que la pression s'égalise à la valeur définie.
Il faut reconnaître que les réducteurs de bouteilles de gaz de type direct, en raison de leur conception complexe, ne sont pas très demandés, les réducteurs de type inversé sont beaucoup plus répandus, d'ailleurs, ils sont considérés comme des dispositifs avec un degré de sécurité élevé.
2 marche arrière
Le fonctionnement de l'appareil consiste en l'action inverse décrite ci-dessus. Le carburant bleu liquéfié est introduit dans la chambre où une haute pression est créée. Le gaz en bouteille s'accumule et empêche la soupape de s'ouvrir. Pour assurer l'arrivée du gaz dans l'appareil électroménager, il est nécessaire de tourner le régulateur dans le sens du filetage à droite.
Au verso du bouton du régulateur se trouve une longue vis qui, en se tordant, appuie sur le ressort de pression. En se contractant, il commence à plier la membrane élastique vers la position supérieure. Ainsi, le disque de transfert, par l'intermédiaire de la tige, exerce une pression sur le ressort de rappel. La valve commence à bouger, commence à s'ouvrir légèrement, augmentant l'écart. Le carburant bleu se précipite dans la fente et remplit la chambre de travail à basse pression.
Dans la chambre de travail, dans le tuyau de gaz et dans le cylindre, la pression commence à augmenter. Sous l'action de la pression, la membrane se redresse et un ressort constamment comprimé l'y assiste. Sous l'effet des interactions mécaniques, le disque de transfert s'abaisse, fragilisant le ressort de rappel qui tend à ramener le clapet sur son siège. En fermant l'espace, naturellement, le flux de gaz du cylindre dans la chambre de travail est limité. De plus, avec une diminution de la pression dans la chemise à soufflet, le processus inverse commence.
En un mot, grâce à des freins et contrepoids, le balancement peut être équilibré et le réducteur de gaz maintient automatiquement une pression équilibrée, sans sauts ni chutes soudains.
Comment fonctionne un réducteur de gaz
Boîte de vitesses à prise directe

La membrane responsable de la régulation de la pression, sous l'action d'un ressort, commence à déplacer la soupape de la surface du siège.La pression est réduite grâce à un petit passage et atteint un niveau sûr et utilisable.
De plus, le ressort redressé permet à la soupape d'ouvrir l'accès au flux d'un nouveau volume de gaz provenant de la bouteille, et le processus de régulation est répété. Sur les boîtes de vitesses non réglables, la force du ressort est réglée en usine, agissant comme un régulateur de pression.
Marche arrière
Ici le principe est quelque peu différent. Le gaz entrant de la source presse la soupape contre le siège, l'empêchant de s'échapper. La conception contient une vis à l'aide de laquelle la force de compression du ressort est ajustée.
En comprimant le ressort avec une vis (régulateur), la membrane de sécurité se tord, laissant passer une certaine quantité de gaz. Le disque de support actionne le ressort de rappel, après quoi la soupape remonte, libérant la voie pour le carburant.
La chambre de travail a la même pression que dans le cylindre. La membrane sous l'action du ressort revient à son état d'origine, et le disque de support se déplace vers le bas, tout en appuyant sur le ressort de rappel. En conséquence, la soupape est pressée contre le siège du corps.
Il convient de dire que beaucoup notent la grande popularité des boîtes de vitesses à action inversée. Ils sont plus sûrs à utiliser.
Quelques mots sur le dispositif de la boîte de vitesses HBO
Le concept de l'essence des systèmes de boîtes de vitesses équipés d'équipements à gaz réside dans la prise en compte de son concept général. Tout le monde sait que le gaz représenté par le propane ou le méthane se trouve dans une bouteille HBO sous haute pression et à l'état liquéfié. Dans la forme standard, l'alimentation d'un tel carburant dans les chambres du moteur à combustion interne n'est pas possible, car pour son fonctionnement, il est nécessaire de préparer un mélange air-carburant. C'est à la préparation de ce dernier qu'une boîte de vitesses HBO typique est engagée.
Notez que toutes les générations d'équipements à gaz ne sont pas équipées de systèmes de boîte de vitesses. Ainsi, par exemple, les deux dernières générations de HBO sous les numéros 5 et 6 ne disposent pas de cet équipement, car elles assurent l'approvisionnement en gaz liquéfié. Cependant, sur les équipements à gaz de 1 à 4 générations, la boîte de vitesses fait partie intégrante du système. À bien des égards, le bon fonctionnement des installations de gaz dépend du fonctionnement stable et du réglage de l'équipement d'engrenage, qu'il ne faut pas oublier.
Structurellement, les réducteurs de gaz HBO de toute génération sont des évaporateurs qui convertissent le propane liquéfié ou le méthane en gaz vaporisé, qui est déjà envoyé dans le conduit d'admission pour se mélanger à l'air, puis dans les chambres de combustion du moteur. Le dispositif du nœud implique un système de plusieurs chambres situées séquentiellement, séparées par des vannes. Les principes de fonctionnement du réducteur HBO 2-4 et de la première génération partielle sont les suivants :
- Le gaz sous forme liquéfiée est fourni au conduit d'admission de la boîte de vitesses, appelé soupape de décharge;
- Ce dernier produit le dosage et la distribution compétente du carburant, qui s'effectuent soit mécaniquement (sur les boîtes de vitesses à vide), soit par voie électronique (sur les boîtes de vitesses avec électrovannes et leur unité de commande);
- Après cela, le gaz est évaporé et il entre directement dans le moteur par son collecteur, où il se mélange à l'air.
Dans n'importe quel mode de fonctionnement du moteur, il ne nécessite pas de gaz liquéfié, mais un mélange carburant-air, qui est préparé dans l'ordre ci-dessus par évaporation. Pour la mise en œuvre de ce dernier, des éléments d'évaporation spéciaux et leurs chambres sont utilisés.En fonction du nombre de chambres traversées par le gaz jusqu'à évaporation complète, on distingue les réducteurs HBO à un étage, à deux étages et à trois étages. Quelle que soit la méthode d'organisation de l'évaporation, la pression dans les chambres change invariablement dans son processus, en règle générale, vers un côté inférieur. À ce jour, les plus populaires sont les systèmes d'engrenages à deux chambres d'évaporation, qui sont utilisés sur HBO de Lovato, HBO sur méthane et l'équipement de la société "Tomasseto".
Le dispositif d'engrenage, en général, est exactement le même sur l'équipement de la deuxième génération et sur l'équipement de la quatrième. Dans le même temps, peu importe que le propane HBO soit utilisé sur une voiture ou du méthane. C'est-à-dire que le "carburateur" de tout équipement à gaz est une unité complètement identique dans toutes ses formations, impliquant naturellement l'utilisation de cette unité.
La conception et le principe de fonctionnement du réducteur de gaz.
Tout réducteur au propane comprend les composants suivants :
- soupape;
- chambre de travail ;
- ressort de blocage ;
- ressort de pression;
- membrane.
Le débit de ce dispositif dépend du degré d'ouverture de la soupape, qui est affecté d'une part par la membrane et le ressort de pression, et d'autre part par le gaz et le ressort de blocage. Plus la pression de propane dans la bouteille est élevée et plus le débit de l'équipement utilisant du gaz est faible, plus la soupape est située près du siège. A l'inverse, plus la pression dans la chambre diminue et plus le débit augmente, plus la vanne s'ouvre. Les paramètres de fonctionnement d'un réducteur domestique au propane sont déterminés par la raideur des ressorts et l'élasticité de la membrane.Certains modèles sont en outre équipés d'une vanne dont l'arbre est relié à un ressort de pression, ce qui vous permet de régler manuellement l'alimentation en gaz dans une certaine plage.
Le principe de fonctionnement de l'appareil:
Les réducteurs de propane modernes sont parfois équipés en plus d'un mécanisme de sécurité qui se déclenche si la pression d'entrée propane-butane est dépassée. Afin d'augmenter le niveau de sécurité, de telles boîtes de vitesses sont généralement installées sur des réservoirs de gaz et des installations de bouteilles de groupe utilisées pour gazéifier une ou plusieurs maisons. Vous pouvez en savoir plus sur la mise en œuvre du chauffage autonome dans les ménages privés dans l'article : Chauffage autonome au propane butane.
But du ballon propane réducteur BPO 5-2
Le réducteur de propane BPO 5-2 est utilisé pour réduire et stabiliser la pression du gaz domestique fourni à partir de bouteilles standard à des consommateurs tels que des torches de soudage et des coupeurs, des appareils de chauffage et un grand nombre d'autres types de consommateurs.
Le dispositif et le principe de fonctionnement du réducteur de propane BPO 5-2
Ce réducteur de propane est construit selon un schéma à chambre unique, à l'entrée il a un tuyau de dérivation avec un écrou-raccord fileté pour la fixation à une bouteille. Le boîtier est moulé en alliage d'aluminium, le couvercle du boîtier est en polyamide.
Une caractéristique du réducteur de propane est sa petite taille et son poids, ce qui rend le BPO 5-2 pratique à transporter et à stocker.
Caractéristiques techniques du réducteur propane BPO 5-2
Le réducteur de propane est produit par le plus ancien fabricant d'équipements à gaz du pays - l'usine Neva :
Spécifications de la boîte de vitesses
- Poids 0,34 kg.
- Longueur × largeur × hauteur 135 × 105 × 96 mm.
- Température de fonctionnement -15+45˚С.
- Pression d'entrée maximale 25 kg/cm3.
- Pression de travail 3 kg/cm3.
- Consommation maximale de gaz, 5 m3/heure.
- Méthode de connexion W 21,8-14 fils par 1″ LH.
- Connexion de travail М16х1,5 LH.
Ensemble complet de réducteur de gaz propane BPO 5-2
Emballage inclus:
- Ensemble réducteur de propane.
- Certificat technique.
- Mamelon pour manchon 6,3 ou 9 mm.
- Forfait.
Mesures de sécurité lorsque vous travaillez avec un réducteur de propane BPO 5-2
Le propane est une source de danger accru. Afin de suivre consciemment les exigences de sécurité, il faut comprendre exactement quelles menaces le gaz lui-même et les appareils qui l'utilisent portent :
Mesures de sécurité lorsque vous travaillez avec un réducteur de propane BPO 5-2
- Tout d'abord, le propane est inflammable. Une mauvaise manipulation de celui-ci peut entraîner une grave menace pour la vie et la santé des personnes, ainsi que pour les valeurs matérielles.
- Vous ne pouvez pas respirer le propane. Dans une atmosphère de propane, une personne décède. Lorsqu'il est inhalé en petites quantités, il entraîne un empoisonnement, provoquant des maux de tête et des vomissements.
- Le propane est explosif dans certaines conditions, lorsqu'une certaine concentration de propane dans l'air est atteinte, une explosion volumétrique se produit. Une explosion se produit également avec une forte augmentation de la température dans le cylindre.
- Avec la libération rapide de propane de la bouteille dans l'atmosphère, une forte chute de température se produit, ce qui peut entraîner des engelures graves et profondes.

Règles pour travailler avec un réservoir de propane
Pour éviter ces conséquences désagréables, lorsque vous travaillez avec du propane, les règles suivantes doivent être respectées :
- N'utilisez pas de propane à proximité de flammes nues ou de chaleur élevée.
- Ne pas apporter d'autres substances inflammables dans la zone de travail.
- N'utilisez pas de matériaux chimiquement incompatibles tels que les nitrates et les perchlorates à proximité du propane.
- N'utilisez pas d'équipements et de raccords à gaz qui présentent des dommages mécaniques visibles et des signes de fuite de gaz.
Règles de fonctionnement du réducteur de propane BPO 5-2
Les règles d'exploitation contiennent, tout d'abord, les exigences de stricte observation des mesures de sécurité énumérées ci-dessus.
Chaque fois avant de commencer l'opération, il est nécessaire d'inspecter le réducteur de propane, les raccords de raccordement, les tuyaux d'alimentation pour les dommages mécaniques et les signes visibles et audibles de fuite. Si de tels signes sont trouvés, il est inacceptable de commencer à fonctionner, l'équipement endommagé doit être réparé ou remplacé.

Règles de fonctionnement d'un réducteur de propane
Si l'aiguille du manomètre ne bouge pas ou au contraire saute à débit de gaz constant, elle est défectueuse et doit être remplacée.
Il est également nécessaire de surveiller attentivement le moment de la vérification prévue du manomètre du réducteur de propane pour se conformer aux exigences techniques du passeport. Une telle inspection doit être effectuée par un organisme spécialement agréé au moins une fois tous les cinq ans.
De plus, il est nécessaire de suivre la procédure de raccordement du réducteur de propane à la bonbonne et aux appareils consommateurs. Vérifiez l'état du filtre au moins une fois par mois et nettoyez-le si nécessaire.
Classification des régulateurs de gaz
Avant d'utiliser un réducteur de pression, vous devez vous familiariser avec ses variétés et les principaux paramètres selon lesquels ces appareils sont classés.
Principe d'opération

Dans les boîtes de vitesses de type direct, le gaz traversant le raccord agit sur la soupape à l'aide d'un ressort, la pressant contre le siège, bloquant ainsi l'entrée de gaz à haute pression dans la chambre. Une fois la soupape expulsée du siège par la membrane, la pression diminue progressivement jusqu'au niveau de fonctionnement de l'appareil à gaz.
Le principe de fonctionnement du dispositif de type inversé est basé sur la compression de la vanne et le blocage de l'alimentation en gaz. À l'aide d'une vis spéciale réglable, le ressort de pression est comprimé, tandis que la membrane est pliée et le disque de transfert agit sur le ressort de rappel. La vanne de service est soulevée et le débit de gaz vers l'équipement est repris.
Lorsque la pression du système (cylindre, réducteur, équipement de travail) augmente dans le réducteur, la membrane est redressée à l'aide d'un ressort. Le disque de transfert, en descendant, agit sur le ressort de rappel et déplace la soupape vers le siège.
Il convient de noter que les réducteurs domestiques de bouteilles de gaz à action inverse sont plus sûrs.
Caractéristiques de montage

Les régulateurs de gaz à rampe sont nécessaires pour réduire et stabiliser le niveau de pression du gaz fourni par une source unique. Les dispositifs ont tendance à abaisser la pression de travail du gaz fourni à partir de la ligne centrale ou d'un certain nombre de sources. Ils sont utilisés pour de gros volumes de travaux de soudage. Les stabilisateurs de réseau maintiennent la valeur basse pression du gaz fourni par le collecteur de distribution.
Types de gaz de travail

Les appareils fonctionnant à l'acétylène sont fixés avec une pince et une vis de butée, tandis que pour d'autres ils utilisent un écrou-raccord avec un filetage identique au filetage du raccord au niveau de la vanne.
Couleur du boîtier et type de régulateur
Les régulateurs de propane sont peints en rouge, les régulateurs d'acétylène sont blancs, les régulateurs d'oxygène sont bleus et les régulateurs de dioxyde de carbone sont noirs. La couleur du corps correspond au type de fluide de travail.
Des dispositifs de stabilisation de la pression sont disponibles pour les fluides inflammables et non inflammables. La différence entre eux réside dans le sens du filetage sur le cylindre: dans le premier, il est à gauche, dans le second, il est à droite.
Schéma des dispositifs à action directe et inverse
Les appareils de type direct ont le schéma de fonctionnement suivant: le propane entrant dans la zone haute pression presse la soupape de son siège. Le propane pénètre dans la chambre de travail, la remplit et augmente la pression dans celle-ci. Il agit sur la membrane en comprimant le ressort principal. La membrane descend, tire la tige et ferme la vanne au moment où la pression de fonctionnement est atteinte. Lors de l'utilisation du propane, la pression dans la chambre de travail chute, le propane haute pression rouvre la vanne et le gaz pénètre à nouveau dans la zone de travail.
Schéma d'une boîte de vitesses à action directe
Dans les appareils de type inversé, le ressort principal ouvre la soupape, surmontant la force du gaz à haute pression. Une fois que la zone de travail est remplie et que la pression atteint la valeur définie, la tige descend, fermant la vanne. Lors du processus d'utilisation du propane, la pression dans la zone de travail diminue et le ressort ouvre à nouveau la vanne.
Diagramme de marche arrière
Les dispositifs d'action inverse sont considérés comme plus fiables et plus sûrs. Ils ont gagné en popularité dans les applications domestiques et professionnelles.
Pourquoi utilise-t-on un réducteur de gaz ?
Dans tout récipient, le gaz est sous haute pression. Cela simplifie son transport et son fonctionnement.Cependant, pour le consommateur, qu'il s'agisse d'un poêle, d'une chaudière, d'un équipement de soudage ou de gaz à flamme, il doit être fourni sous basse pression. Pour une telle transformation, il existe un dispositif mécanique spécial - un réducteur de gaz.
La figure montre un schéma du dispositif interne
Prenons, par exemple, un mélange propane-butane. Afin de le stocker à l'état liquide, une pression d'environ 16 bars est créée. En même temps, dans la plupart des cas, quelques dizaines de millibars suffisent au consommateur. De plus, la pression de sortie doit être maintenue à un certain niveau pendant le processus de vidange du réservoir. C'est à ces fins qu'une boîte de vitesses est nécessaire. Toute installation de ballon est équipée d'un dispositif similaire, sans lequel son fonctionnement en toute sécurité est impossible, qu'il soit utilisé à des fins industrielles ou domestiques. Vous pouvez en savoir plus sur le fonctionnement des équipements de bouteilles de gaz dans l'article : fonctionnement des installations de bouteilles dans un système d'alimentation en gaz autonome.
Dysfonctionnements typiques et leur réparation
L'écart de la pression de travail par rapport à celle réglée peut être causé par les raisons suivantes :
- Rupture ou déplacement du ressort.
- Dépressurisation du logement.
Une fuite de gaz est causée par :
- Détérioration des membranes.
- Dépressurisation du logement.
- Panne de soupape.
Certaines boîtes de vitesses sont pliables. Ils sont, en principe, disponibles pour l'auto-réparation. Les réducteurs de gaz non séparables, bien sûr, en cas de dysfonctionnement, doivent être remplacés dans leur ensemble.
Ainsi, par exemple, un contremaître à domicile qui a des compétences de base en serrurerie est tout à fait capable de remplacer un ressort ou une membrane dans un réducteur de gaz Frog non régulé. Un boîtier dont l'étanchéité est brisée ne peut pas être réparé. Dans ce cas, l'ensemble de l'appareil devra être remplacé.
Après avoir remplacé les pièces endommagées par des neuves du kit de réparation et assemblé le réducteur de gaz, il est nécessaire de vérifier son étanchéité à l'aide d'une solution savonneuse.
Classification des réducteurs de gaz
Réducteur pour réservoir de gaz
Les appareils qui régulent la pression du gaz fourni ne sont pas seulement nécessaires pour l'alimentation en gaz autonome. Des réducteurs sont installés sur de nombreuses installations d'usine, dans les chaufferies. Les appareils se distinguent par leur conception et le type de gaz avec lequel ils peuvent fonctionner, ainsi que par leur objectif.
Ballon et réseau
Pour entretenir un réservoir de gaz, une station de distribution ou une bouteille, différentes boîtes de vitesses sont nécessaires. Selon le lieu d'installation, ils distinguent :
- Réseau - desservir des postes de travail ou de soudage, alimentés par un gazoduc central. Les mêmes dispositifs sont montés dans un adaptateur entre le gazoduc et l'équipement ou les dispositifs de sécurité. Le réducteur de réseau est équipé d'un seul manomètre mesurant le gaz en sortie.
- Ballon - régule la pression lors de la fourniture de propane-butane ou d'un autre mélange à partir d'une bouteille ou d'un réservoir de gaz aux appareils à gaz. Ils ont un design différent. Généralement assez compact.
- Rampe - montée sur des rampes de dérivation lorsqu'il est nécessaire de fournir du gaz du gazoduc principal aux points de consommation.
L'appareil est sélectionné en tenant compte de la puissance, de la plage de contrôle, de la précision de contrôle des autres paramètres.
Propane, oxygène et acétylène
Types de réducteurs - gaz, oxygène, acétylène
Si dans la vie de tous les jours le consommateur ne rencontre que du méthane ou un mélange propane-butane, alors en production il faut travailler avec une variété de mélanges liquéfiés.Selon la composition du milieu, il y a :
- Oxygène - utilisé dans le soudage des métaux. Les réducteurs sont peints en bleu et sont montés directement sur les cylindres. Fabriqué à partir d'alliages métalliques résistants à l'oxydation et soigneusement dégraissé.
- Propane - utilisé à la fois dans la vie quotidienne et dans la production. Teint en rouge. Les joints et les joints sont fabriqués à partir de matériaux résistants au n-pentane.
- Acétylène - utilisé dans le soudage. Peint en blanc. Ils sont faits de métaux à l'exception du cuivre, du zinc, de l'argent. Les joints sont fabriqués dans des matériaux résistants à l'acétone, au DMF, aux solvants.
- Cryogénique - conçu pour fonctionner avec des mélanges gazeux à des températures inférieures à -120 C. Ils sont fabriqués à partir de métaux résistants au froid, comme le laiton, l'acier inoxydable.
Le principe de fonctionnement de l'appareil
Le réducteur abaisse la pression du gaz à la sortie de la bouteille
Distinguer les dispositifs à action directe et inverse. Le principe de fonctionnement du réducteur de gaz est déterminé par la conception.
Dans la version à action directe, le gaz du réservoir appuie sur la soupape à travers le raccord, le mélange gazeux pénètre dans la chambre haute pression. Maintenant, le propane appuie de l'intérieur - il appuie sur la soupape avec un ressort et bloque l'accès de la prochaine portion de gaz. La membrane de travail ramène lentement la vanne, la pression du gaz diminue jusqu'à celle de travail - la valeur avec laquelle le poêle fonctionne.
Lorsque la pression diminue, le ressort se détend et libère la soupape. Ce dernier s'ouvre sous la pression du gaz provenant du réservoir, et tout le cycle se répète.
Ces types de régulateurs sont divisés en 2 types :
- À un étage - avec 1 chambre, où la pression est réduite. Moins - l'indicateur de gaz à la sortie dépend de la valeur à l'entrée.
- Deux étages - comprend 2 chambres.Le gaz passe séquentiellement à travers la chambre de haute pression et de travail et seulement ensuite est acheminé vers le poêle. Cette conception vous permet de définir n'importe quelle valeur à la sortie, quelle que soit la pression dans le cylindre et d'ajuster plus précisément les performances. Les coups de bélier sont exclus.
Les régulateurs peuvent être équipés d'une alimentation en énergie supplémentaire grâce à l'installation de capteurs pneumatiques et hydrauliques ou d'automatismes électroniques.
Le principe de fonctionnement d'un détendeur de gaz à action inverse est différent. Lorsque le gaz entre, la soupape est comprimée, bloquant l'accès de la portion suivante du mélange. La vis de réglage comprime le ressort de base. Dans ce cas, la membrane entre les chambres est pliée et le disque de transfert appuie sur le ressort de rappel. La soupape monte et laisse passer le gaz de la bouteille.
Dans la chambre de travail du réducteur, la pression augmente avec l'indicateur dans le cylindre ou le tuyau par lequel le mélange est fourni à partir du réservoir de gaz. Le ressort principal redresse la membrane, le disque de transfert descend et appuie sur le ressort de rappel. Ce dernier serre à nouveau la valve perméable et coupe le débit.
Quel est le volume et la pression requis
Parlons maintenant de la pression du réducteur de gaz, ainsi que de son volume. Le débit du réducteur doit aider à assurer le fonctionnement de tous les appareils connectés au système en mode de consommation de gaz maximale. Un certain problème réside dans la détermination des paramètres nécessaires dans différentes unités de mesure. Il existe deux unités de pression dans les appareils à gaz - les pascals et les bars. Pour un réducteur, la pression d'entrée est déterminée en mégapascals ou bar, et la sortie en pascals/millibars. La conversion des valeurs de pression entre deux unités peut être effectuée à l'aide de la formule suivante :
1 Br = 105 Ra
Le volume de gaz traversant le réducteur et consommé par les appareils à gaz peut être présenté en deux quantités à la fois - en kilogrammes et en mètres cubes. Les indicateurs de pression de sortie et d'entrée d'un grand nombre d'appareils russes sont indiqués précisément en pascals, et sur les appareils étrangers, la pression est calculée en bars.
Les indicateurs peuvent être corrélés à l'aide de données sur la densité des principales bouteilles de gaz (kg / m3) à une température de +19 degrés et à une pression atmosphérique normale:
- Acide carbonique - 1,85.
- Propane - 1,88.
- Oxygène - 1,34.
- Azote - 1.17.
- Hélium - 0,17
- Argon - 1,67.
- Hydrogène - 0,08.
- Butane - 2,41.
- Acétylène - 1.1.
Q=1,88*0,65+2,41*0,35=2,06 kg/m3
Ainsi, si la consommation maximale de gaz sur un réchaud à quatre brûleurs est de 0,85 m3 / h, la boîte de vitesses doit également fournir le même volume. En termes de kg, cette valeur sera égale à 2,06 * 0,85 = 1,75 kg / heure. Sur la base de GOST 20448-90, une large gamme de pourcentages de gaz est autorisée dans un mélange propane-butane, ce qui créera une incertitude lors du calcul de sa densité. À la valeur calculée, le débit maximal de la boîte de vitesses peut être augmenté de 25 %.
Ceci est lié à ce qui suit :
- Les paramètres du mélange gazeux peuvent différer selon la région, le fournisseur et même la saison !
- La densité de gaz à utiliser pour tous les calculs dépendra de la température.
- Il existe une possibilité de perte d'élasticité du ressort, qui est responsable du réglage du volume de la chambre basse pression dans le réducteur de bouteille de gaz, ce qui peut réduire son débit maximal.
Parfois encore, complété d'équipements neufs, il est proposé d'utiliser un détendeur éprouvé au niveau des paramètres avec régulation de pression dans le cas où vous utilisez une bonbonne de propane. Cette option est optimale du point de vue de la sécurité incendie et des performances du système.
Conception et types
Propane (CH 3 ) 2 CH 2 - gaz naturel à haut pouvoir calorifique : à 25°C, son pouvoir calorifique dépasse 120 kcal/kg
En même temps, il doit être utilisé avec des précautions particulières, car le propane est inodore, mais même à sa concentration dans l'air de seulement 2,1 %, il est explosif.
Il est particulièrement important qu'étant plus léger que l'air (la densité du propane n'est que de 0,5 g / cm 3), le propane monte et, par conséquent, même à des concentrations relativement faibles, constitue un danger pour le bien-être humain
Un réducteur de propane doit remplir deux fonctions - fournir un niveau de pression strictement défini lorsqu'un appareil y est connecté et garantir la stabilité de ces valeurs de pression pendant le fonctionnement ultérieur.
Le plus souvent, des machines à souder au gaz, des radiateurs à gaz, des pistolets thermiques et d'autres types d'équipements de chauffage sont utilisés comme tels. Ce gaz est également utilisé pour la bouteille de propane d'une voiture fonctionnant au carburant liquéfié.
Il existe deux types de réducteurs au propane - à une et à deux chambres. Ces derniers sont utilisés moins fréquemment, car leur conception est plus complexe et leur capacité distinctive - à réduire systématiquement la pression de gaz dans deux chambres - n'est utilisée dans la pratique qu'avec des exigences accrues en matière de niveau de chute de pression admissible. Les modèles courants de boîtes de vitesses sont BPO 5-3, BPO5-4, SPO-6, etc.Le deuxième chiffre du symbole indique la pression nominale, MPa, à laquelle le dispositif de sécurité fonctionne.

Structurellement, un réducteur de propane à chambre unique de type BPO-5 (Balloon Propane Single-chamber) se compose des composants et pièces suivants :
- Corps.
- poussoir.
- Siège de soupape.
- Ressort réducteur.
- membranes.
- La vanne de fermeture.
- Mamelon de connexion.
- Raccord d'admission.
- réglage du ressort.
- filtre à mailles.
- manomètre.
- Vis de réglage.
Les principales caractéristiques techniques des réducteurs au propane sont :
- Débit maximal en termes de volume de gaz par unité de temps, kg / h (marqué d'un chiffre situé immédiatement après l'abréviation de la lettre; par exemple, un réducteur de propane de type BPO-5 est conçu pour ne pas laisser passer plus de 5 kg de propane par heure);
- Pression de gaz d'entrée maximale, MPa. Selon la taille de l'appareil, elle peut être comprise entre 0,3 et 2,5 MPa ;
- Pression de sortie maximale ; dans la plupart des conceptions, il est de 0,3 MPa, et adapté au même indicateur pour une unité consommatrice de gaz.
Tous les réducteurs de propane fabriqués doivent être entièrement conformes aux exigences de GOST 13861.











































