- Éléments structurels de base
- roue éolienne
- Mât
- Générateur
- Quels moulins à vent choisir
- Sélection des matériaux
- Du tuyau en PVC
- aluminium
- fibre de verre
- Fabrication de stator
- Comment fabriquer soi-même une éolienne de type vertical
- Éolienne verticale DIY
- Matériaux et équipements d'occasion
- Fabriquer une éolienne verticale
- Générateur de bricolage
- processus d'assemblage
- Caractéristiques principales
- Lames de tuyaux en PVC
- Nous fabriquons un moulin à vent de nos propres mains
- Le principe de fonctionnement de l'éolienne
- Caractéristiques de la fabrication de pales pour une éolienne de vos propres mains à partir de divers matériaux
- Alternative électronique chinoise
Éléments structurels de base
Malgré la grande variété d'éoliennes et de méthodes de fabrication, elles sont toutes constituées des mêmes éléments structurels.
roue éolienne
Les pales sont considérées comme l'un des éléments les plus importants d'une éolienne. Leur conception affecte le fonctionnement des autres composants du générateur. Divers matériaux sont utilisés pour fabriquer des lames.
Avant la fabrication, vous devez calculer la longueur de la lame. Si un tuyau est pris pour la fabrication, son diamètre doit être d'au moins 20 cm, avec une longueur de lame prévue de 1 mètre. Ensuite, le tuyau est coupé en 4 parties à l'aide d'une scie sauteuse.Une partie est utilisée pour fabriquer un gabarit, selon lequel le reste des lames est coupé. Après cela, ils sont assemblés sur un disque commun et toute la structure est fixée sur l'arbre du générateur. L'éolienne assemblée doit être équilibrée. L'équilibrage doit être effectué dans un local protégé du vent. Si l'opération est effectuée correctement, la roue ne tournera pas spontanément. Dans le cas d'une rotation spontanée des pales, celles-ci sont minées jusqu'à ce que toute la structure soit en équilibre. À la toute fin, la précision de rotation des pales est vérifiée. Ils doivent tourner dans le même plan, sans aucune distorsion. L'erreur tolérée est de 2 mm.
Mât
Le prochain élément structurel de l'éolienne est le mât. Le plus souvent, il est fabriqué à partir d'une ancienne conduite d'eau, dont le diamètre ne doit pas être de 15 cm, mais la longueur doit aller jusqu'à 7 mètres. S'il y a des structures ou des bâtiments dans un rayon de 30 mètres du site d'installation prévu, dans ce cas, la hauteur du mât est augmentée.
Pour que l'ensemble de l'installation fonctionne le plus efficacement possible, la roue à aubes s'élève au-dessus des obstacles environnants d'au moins 1 mètre. Après l'installation, la base du mât et les piquets de fixation des haubans sont coulés avec du béton. Comme rallonges, il est recommandé d'utiliser un câble galvanisé d'un diamètre de 6 mm.
Générateur
Pour une éolienne, vous pouvez utiliser n'importe quel générateur de voiture, de préférence avec une puissance plus élevée. Ils ont tous un design identique et nécessitent des modifications. Une modification similaire d'un générateur de voiture pour une éolienne implique le rembobinage du conducteur du stator, ainsi que la fabrication d'un rotor à l'aide d'aimants en néodyme.Pour les fixer solidement, il est nécessaire de percer des trous dans les pôles du rotor. L'installation des aimants est réalisée avec une alternance de pôles. Le rotor lui-même est enveloppé de papier et tous les vides qui se forment entre les aimants sont remplis d'époxy.
Lors du collage des aimants, leur polarité doit être respectée. Par conséquent, le rotor est connecté à une source d'alimentation. Le rotor inclus crée un champ magnétique et chaque aimant est collé en place par le côté qui est attiré.
Pour connecter le rotor, vous pouvez utiliser n'importe quelle alimentation avec une tension de 12 volts et un courant de 1 à 3 ampères. La connexion est faite de telle sorte que l'anneau amovible situé plus près des crocs soit le moins, et le côté positif est situé plus près de l'extrémité du rotor. Les aimants installés dans les interstices du rotor ou des crocs provoquent l'auto-excitation du générateur, ce qui est considéré comme leur fonction principale.
Au tout début de la rotation du rotor, les aimants commencent à exciter le courant dans le générateur, qui pénètre également dans la bobine, entraînant une augmentation des champs magnétiques des crocs. En conséquence, le générateur produit un courant d'une valeur encore plus grande. Il s'avère une sorte de circulation de courant lorsque le générateur est excité et alimenté par son propre rotor, sur lequel sont installés des pôles électromagnétiques. Le générateur assemblé doit être testé et des mesures des données de sortie obtenues doivent être effectuées. Si l'unité produit environ 30 volts à 300 tr/min, cela est considéré comme un résultat normal.
Quels moulins à vent choisir
Eh bien, pour ceux qui vivent loin des sous-stations et du VL-0.4kv, cela vaut la peine d'acheter les modèles d'éoliennes les plus puissants que vous puissiez vous permettre.Depuis la puissance indiquée sur les images, vous n'obtiendrez pas plus de 15%.
Une autre catégorie de consommateurs, à juste titre, fait un choix non en faveur des modèles d'usine chinois, mais, au contraire, préfère les moulins à vent faits maison par des maîtres autodidactes. Il a aussi ses avantages.

Pour la plupart, les inventeurs de tels appareils sont des gars compétents et responsables. Et dans presque 100% des cas, sans aucun problème, ils peuvent retourner l'installation en cas de problème ou si elle doit être réparée. Ce ne sera certainement pas un problème.

Dans les moulins à vent industriels chinois, l'apparence est certainement plus jolie. Et si vous décidez toujours de l'acheter, immédiatement après l'avoir vérifié avec une perceuse électrique, effectuez un entretien préventif et remplacez la ferraille chinoise par des roulements lubrifiés de haute qualité.

S'il y a de grands nids d'oiseaux près de chez vous, cela ne fait pas de mal d'acheter un jeu de lames supplémentaire.
Les poussins relèvent parfois de la distribution d'une filature "mini moulin". Les lames en plastique cassent et celles en métal se plient.

Et je voudrais terminer avec la sagesse des utilisateurs qui n'ont pas écouté tous les arguments et ont rencontré tous les problèmes décrits ci-dessus. N'oubliez pas que la girouette la plus chère pour une maison est une éolienne !
Sélection des matériaux
Les pales d'une éolienne peuvent être réalisées en tout matériau plus ou moins adapté, par exemple :
Du tuyau en PVC
C'est probablement la chose la plus facile à construire des pales à partir de ce matériau. Les tuyaux en PVC peuvent être trouvés dans toutes les quincailleries. Les tuyaux doivent être choisis ceux qui sont conçus pour les égouts avec pression ou un gazoduc. Sinon, le flux d'air par vent fort peut déformer les pales et les endommager contre le mât du générateur.
Les pales d'une éolienne sont soumises à de fortes charges dues à la force centrifuge, et plus les pales sont longues, plus la charge est importante.
Le bord de la pale d'une roue à deux pales d'une éolienne domestique tourne à une vitesse de centaines de mètres par seconde, telle est la vitesse d'une balle sortant d'un pistolet. Cette vitesse peut entraîner la rupture des tuyaux en PVC. Ceci est particulièrement dangereux car des éclats de tuyau volants peuvent tuer ou blesser gravement des personnes.
Vous pouvez vous en sortir en raccourcissant les pales au maximum et en augmentant leur nombre. L'éolienne à plusieurs pales est plus facile à équilibrer et moins bruyante
L'épaisseur des parois des tuyaux n'est pas sans importance. Par exemple, pour une éolienne à six pales en tube PVC de deux mètres de diamètre, leur épaisseur ne doit pas être inférieure à 4 millimètres. Pour calculer la conception des lames pour un artisan à domicile, vous pouvez utiliser des tableaux et des modèles prêts à l'emploi
Pour calculer la conception des lames pour un artisan à domicile, vous pouvez utiliser des tableaux et des modèles prêts à l'emploi.
Le gabarit doit être en papier, attaché au tuyau et encerclé. Cela doit être fait autant de fois qu'il y a de pales sur l'éolienne. À l'aide d'une scie sauteuse, le tuyau doit être coupé en fonction des marques - les lames sont presque prêtes. Les bords des tuyaux sont polis, les coins et les extrémités sont arrondis pour que le moulin à vent soit beau et fasse moins de bruit.
En acier, un disque à six bandes devrait être fabriqué, qui jouera le rôle d'une structure qui combine les pales et fixe la roue à la turbine.
Les dimensions et la forme de la structure de raccordement doivent correspondre au type de générateur et de courant continu qui sera utilisé dans le parc éolien.L'acier doit être choisi si épais qu'il ne se déforme pas sous les coups de vent.
aluminium
Par rapport aux tuyaux en PVC, les tuyaux en aluminium sont plus résistants à la fois à la flexion et à la déchirure. Leur inconvénient réside dans le poids important, qui nécessite des mesures pour assurer la stabilité de l'ensemble de la structure dans son ensemble. De plus, vous devez équilibrer soigneusement la roue.
Considérez les caractéristiques de l'exécution des pales en aluminium pour une éolienne à six pales.
Selon le gabarit, un motif en contreplaqué doit être créé. Déjà selon le gabarit à partir d'une feuille d'aluminium, découpez des ébauches de lames au nombre de six pièces. La future lame est enroulée dans une goulotte de 10 millimètres de profondeur, tandis que l'axe de défilement doit former un angle de 10 degrés avec l'axe longitudinal de la pièce. Ces manipulations doteront les pales de paramètres aérodynamiques acceptables. Un manchon fileté est fixé sur le côté intérieur de la lame.
Le mécanisme de connexion d'une éolienne à pales en aluminium, contrairement à une roue à pales en tuyaux de PVC, n'a pas de bandes sur le disque, mais des goujons, qui sont des morceaux d'une tige en acier avec un filetage adapté au filetage des bagues.
fibre de verre
Les lames fabriquées à partir de fibre de verre spécifique à la fibre de verre sont les plus irréprochables, compte tenu de leurs paramètres aérodynamiques, de leur résistance, de leur poids. Ces lames sont les plus difficiles à construire, car vous devez être en mesure de traiter le bois et la fibre de verre.
Nous envisagerons la mise en place de pales en fibre de verre pour une roue d'un diamètre de deux mètres.
L'approche la plus scrupuleuse doit être adoptée pour la mise en œuvre de la matrice de bois.Il est usiné à partir des barres selon le gabarit fini et sert de modèle de lame. Après avoir fini de travailler sur la matrice, vous pouvez commencer à fabriquer des lames, qui seront composées de deux parties.
Tout d'abord, la matrice doit être traitée avec de la cire, l'un de ses côtés doit être recouvert de résine époxy et de la fibre de verre doit être étalée dessus. Appliquez à nouveau de l'époxy, puis une couche de fibre de verre. Le nombre de couches peut être de trois ou quatre.
Ensuite, vous devez garder la bouffée résultante directement sur la matrice pendant environ une journée jusqu'à ce qu'elle sèche complètement. Ainsi, une partie de la lame est prête. De l'autre côté de la matrice, la même séquence d'actions est effectuée.
Les parties finies des lames doivent être reliées avec de l'époxy. A l'intérieur, vous pouvez mettre un bouchon en bois, le fixer avec de la colle, cela fixera les pales au moyeu de la roue. Une douille filetée doit être insérée dans le bouchon. Le nœud de connexion deviendra le hub de la même manière que dans les exemples précédents.
Fabrication de stator
Comme vous pouvez le voir sur la photo, les bobines ont la forme d'une goutte d'eau allongée. Ceci est fait de sorte que la direction de mouvement des aimants soit perpendiculaire aux sections latérales longues de la bobine (c'est là que la FEM maximale est induite).
Si des aimants ronds sont utilisés, le diamètre intérieur de la bobine doit correspondre à peu près au diamètre de l'aimant. Si des aimants carrés sont utilisés, les enroulements de la bobine doivent être configurés de manière à ce que les aimants chevauchent les longueurs droites des enroulements. L'installation d'aimants plus longs n'a pas beaucoup de sens, car les valeurs EMF maximales ne se produisent que dans les sections du conducteur situées perpendiculairement à la direction du champ magnétique.
La fabrication du stator commence par le bobinage des bobines.Les bobines sont plus faciles à enrouler selon un modèle pré-préparé. Les modèles sont très différents : des petits outils à main aux machines artisanales miniatures.

Les bobines de chaque phase individuelle sont connectées les unes aux autres en série : la fin de la première bobine est connectée au début de la quatrième, la fin de la quatrième au début de la septième, etc.

Rappelons que lorsque les phases sont connectées selon le schéma «étoile», les extrémités des enroulements (phases) de l'appareil sont connectées à un nœud commun, qui sera le neutre du générateur. Dans ce cas, trois fils libres (le début de chaque phase) sont connectés à un pont de diodes triphasé.

Lorsque toutes les bobines sont assemblées en un seul circuit, vous pouvez préparer un moule pour couler le stator. Après cela, nous immergeons toute la partie électrique dans le moule et le remplissons d'époxy.

Alexeï2011
Ensuite, je poste une photo du stator fini. Rempli d'époxy ordinaire. J'ai mis de la fibre de verre en haut et en bas. Le diamètre extérieur du stator est de 280 mm, le trou intérieur est de 70 mm.

Comment fabriquer soi-même une éolienne de type vertical
L'auto-fabrication d'une éolienne est tout à fait possible, mais pas aussi simple que cela puisse paraître à première vue. Vous devrez soit assembler l'ensemble de l'équipement, ce qui est très difficile, soit acheter certains de ses éléments, ce qui est assez coûteux. Le kit peut comprendre :
- générateur de vent
- onduleur
- manette
- batterie
- fils, câbles, accessoires
La meilleure option serait l'achat partiel d'équipement fini, partiel Fabrication de bricolage. Le fait est que les prix des nœuds et des éléments sont très élevés, pas accessibles à tout le monde.De plus, l'investissement ponctuel élevé amène à se demander si ces fonds pourraient être dépensés de manière plus efficace.
Le système fonctionne comme ceci :
- le moulin à vent tourne et transmet le couple au générateur
- un courant électrique est généré qui charge la batterie
- la batterie est connectée à un onduleur qui convertit le courant continu en courant alternatif 220 V 50 Hz.
L'assemblage commence généralement par un générateur. L'option la plus réussie consiste à assembler une conception triphasée sur des aimants en néodyme, ce qui vous permet de générer le courant approprié.
Les pièces rotatives sont fabriquées sur la base de l'un des systèmes les plus accessibles pour recréer de vos propres mains. Les pales sont réalisées à partir de tronçons de tuyaux, de fûts métalliques sciés en deux ou de tôles pliées d'une certaine manière.
Le mât est soudé au sol et installé en position verticale déjà terminé. En option, il est fabriqué en bois immédiatement sur le site d'installation du générateur. Pour une installation solide et fiable, une fondation doit être faite pour les supports et le mât doit être fixé avec des ancres. À une hauteur élevée, il doit également être sécurisé avec des vergetures.
Tous les composants et parties du système nécessitent un ajustement les uns aux autres en termes de puissance, de paramètres de performance. Il est impossible de prédire à l'avance le rendement d'une éolienne, car trop de paramètres inconnus ne permettront pas de calculer les caractéristiques du système. Dans le même temps, si vous placez initialement le système sous une certaine puissance, la sortie est toujours des valeurs assez proches. La principale exigence est la solidité et la précision de la fabrication des nœuds afin que le fonctionnement du générateur soit suffisamment stable et fiable.
Éolienne verticale DIY
Matériaux et équipements d'occasion
Les dimensions de la turbine peuvent être choisies arbitrairement - la plus grande, la plus puissante. Dans l'exemple, le diamètre du produit est de 60 cm.
Pour fabriquer une turbine verticale, vous aurez besoin de :
- Tuyau Ø 60 cm (de préférence en acier inoxydable - galvanisé, duralumin, etc.).
- Plastique résistant (deux disques d'un diamètre de 60 cm).
- Coins pour fixer les lames (6 pièces pour chaque) - 36 pièces.
- Pour la base - un moyeu de voiture.
- Écrous, rondelles vis pour la fixation.
Matériel et outillage :
- Scie sauteuse.
- Bulgare.
- Perceuse.
- Tournevis.
- Clés.
- Gants, masque.
Pour équilibrer les lames, vous pouvez utiliser une petite plaque de métal, des aimants, et avec un léger déséquilibre, vous pouvez simplement percer des trous.

Dessin d'un appareil éolien
Fabriquer une éolienne verticale
- Le tuyau métallique est coupé dans le sens de la longueur de manière à obtenir 6 lames identiques.
- Deux cercles identiques sont découpés dans du plastique (diamètre 60 cm). Ce sera le support supérieur et inférieur de la turbine.
- Pour faciliter un peu la construction, vous pouvez découper un cercle de Ø 30 cm au centre du support supérieur.
- En fonction du nombre de trous sur le moyeu de l'automobile, exactement les mêmes trous sont marqués dessus pour le montage dans le support en plastique inférieur. Percé avec une perceuse.
- Selon le gabarit, vous devez marquer l'emplacement des lames (deux triangles formant une étoile). Les lieux de fixation des coins sont marqués. Sur deux supports, cela devrait s'avérer identique.
- Il est préférable de couper les lames non pas une à la fois, mais toutes en même temps (une meuleuse est utilisée).
- Les points d'attache des coins doivent également être notés sur les lames. Percez ensuite des trous.
- À l'aide de coins, les lames sont fixées aux cercles de base avec des boulons et des écrous à travers des rondelles.
Plus les pales sont longues, plus l'ensemble sera puissant, mais plus il sera difficile de l'équilibrer, en cas de vent fort la structure se "lâchera".
Générateur de bricolage
Pour une éolienne, vous devez sélectionner un générateur auto-excité avec des aimants permanents (ceux-ci étaient utilisés dans les tracteurs T-4, MTZ, T-16, T-25).
Si vous mettez un générateur de voiture conventionnel, leur enroulement de tension est alimenté par une batterie, c'est-à-dire: pas de tension - pas d'excitation.
Cela signifie que si vous installez un autogénérateur + batterie et qu'il y aura un vent faible pendant une longue période, la batterie sera simplement déchargée et lorsque le vent réapparaîtra, le système ne démarrera pas.
Ou fabriquez de vos propres mains une éolienne sur des aimants en néodyme. Une telle unité donnera avec un vent faible de 1,5 kW maximum, avec un vent fort de 3,5 kW. Étape Instruction:
Deux galettes métalliques sont réalisées, de 50 cm de diamètre.
12 aimants en néodyme sur chacun (d'environ 50 x 25 x 1,2 mm) leur sont attachés autour du périmètre avec de la super-colle. Aimants alternés : "nord" - "sud".
Les crêpes sont placées l'une en face de l'autre, les pôles sont également orientés "nord" - "sud".
Entre eux se trouve un stator fait maison. Il s'agit de 9 bobines de fil de cuivre d'une section de 3 mm. 70 tours chacun. Entre eux, ils sont reliés selon le schéma "en étoile" et remplis de résine polymère. Les bobines sont enroulées dans un sens. Pour plus de commodité, le début et la fin de l'enroulement doivent être marqués (par exemple, avec du ruban électrique de différentes couleurs).

Générateur de moulin à vent fait maison fait d'aimants en néodyme
L'épaisseur du stator est d'environ 15 à 20 mm. Lors de sa fabrication, il est nécessaire de prévoir les sorties des enroulements des bobines à travers des boulons avec des écrous.Ils alimenteront le générateur.
La distance entre le stator et le rotor est de 2 mm.
L'essence du travail est que le nord et le sud des aimants sont inversés, ce qui fait que le courant électrique "traverse" la bobine.
Les aimants du rotor seront très fortement attirés. Pour connecter les pièces en douceur, vous devez percer des trous et couper les fils pour les goujons. Les rotors sont immédiatement alignés les uns avec les autres et, progressivement, à l'aide de clés, le supérieur s'abaisse vers l'inférieur. Après tout, les épingles à cheveux temporaires sont supprimées.
Ce générateur peut être utilisé sur les modèles verticaux et horizontaux.
processus d'assemblage
- Un support pour le montage du stator est installé sur le mât (il peut être à trois ou six pales).
- Un moyeu est fixé dessus avec des écrous.
- Il y a 4 goujons dans le moyeu. Ils allument le générateur.
- Le stator du générateur est relié à un support fixé au mât.
- Une turbine à aubes est fixée au second plateau rotor.
- Depuis le stator, les fils sont connectés par des bornes au régulateur de tension.
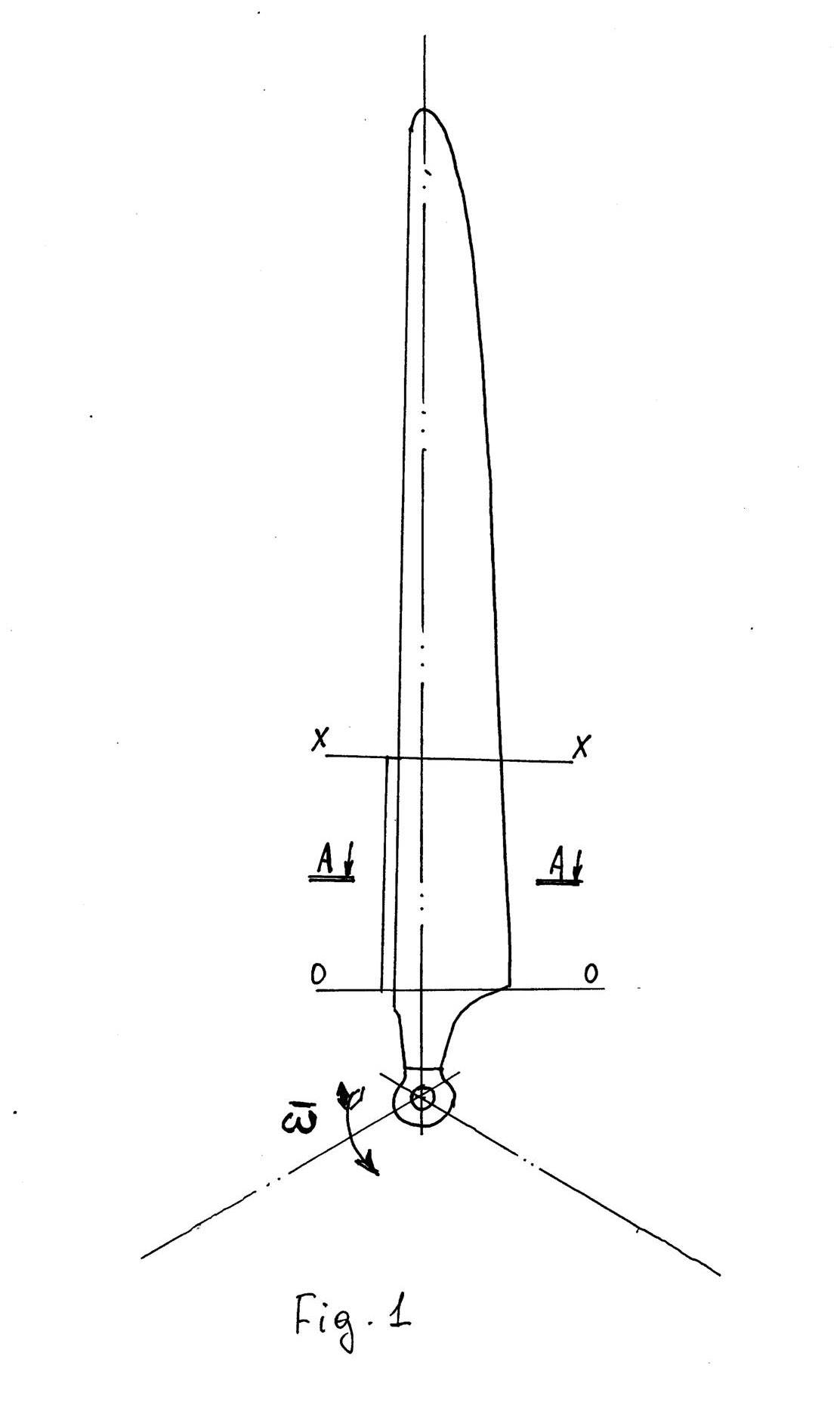
Caractéristiques principales
Les performances d'une éolienne dépendent du nombre et de la taille des pales qui y sont installées, ce qui ressort clairement de la formule :
N=pSV3/2, où
N est la puissance du flux d'air, qui détermine la puissance de l'appareil ;
р – densité de l'air;
S est la surface balayée par l'éolienne ;
V est la vitesse du vent.
Les principales caractéristiques de cet élément de dispositifs techniques de ce type sont :
Dimensions géométriques.
Selon le schéma ci-dessous :
R est le rayon qui détermine la zone balayée de l'appareil ;
b - largeur, détermine la vitesse d'un modèle particulier;
c - épaisseur, dépend du matériau à partir duquel il est fabriqué et des caractéristiques de conception;
φ - l'angle d'installation détermine l'emplacement du plan de rotation de la lame par rapport à son axe ;
r est le rayon de section ou le rayon de rotation interne.

- Résistance mécanique - détermine la capacité de l'élément à résister aux charges qui lui sont appliquées et dépend du matériau utilisé dans la fabrication et de sa conception.
- Efficacité aérodynamique - détermine la capacité à convertir le mouvement de translation de l'énergie éolienne en mouvement de rotation de l'arbre de l'éolienne.
- Paramètres aéroacoustiques - caractérisent le niveau de bruit produit lors du fonctionnement de l'éolienne.
Lames de tuyaux en PVC
Le choix du matériau pour la fabrication des pales d'éoliennes est tout aussi important. Le moyen le plus simple consiste à fabriquer les pales d'une éolienne à partir d'un tuyau en plastique. Les tuyaux en PVC, qui peuvent être achetés dans n'importe quelle quincaillerie, sont peut-être le matériau le plus approprié. Il est nécessaire d'utiliser des tuyaux avec l'épaisseur de paroi requise (conçus pour les canalisations d'égout ou de gaz sous pression), sinon le flux d'air entrant avec un vent suffisamment fort peut plier les pales, ce qui entraînera leur destruction contre le mât du générateur.
tuyaux en pvc avec marquage pour la coupe
Il convient de rappeler que la pale d'une éolienne subit des charges considérables dues à la force centrifuge, d'autant plus importantes que la pale est longue. La vitesse de déplacement de la partie terminale de la pale d'une roue bipale d'une éolienne domestique est de plusieurs centaines de mètres par seconde, ce qui est comparable à la vitesse d'une balle de pistolet (la pointe de la pale d'une éolienne industrielle roue peut atteindre des vitesses supersoniques).
Une lame en PVC peut ne pas résister à la charge de traction à des vitesses aussi élevées, et des éclats d'obus volant à la vitesse d'une balle constituent une menace réelle pour la vie et la santé humaines. La conclusion est évidente - nous réduisons la longueur de la lame en augmentant le nombre de lames. De plus, une éolienne avec un grand nombre de pales est beaucoup plus facile à équilibrer et crée moins de bruit.
Considérez la fabrication de pales pour une éolienne à six pales d'un diamètre de 2 m à partir d'un tuyau en PVC. Pour garantir la résistance à la traction et à la flexion nécessaire, l'épaisseur de paroi du tube doit être d'au moins 4 mm. Le calcul du profil des pales d'une roue d'éolienne est un processus complexe et chronophage qui nécessite des connaissances hautement spécialisées, il serait donc plus rationnel pour un maître amateur d'utiliser un modèle prêt à l'emploi.
Gabarit de lame en tube PVC d'un diamètre de 160 mm
Le gabarit doit être découpé dans du papier, fixé à la paroi du tuyau et entouré d'un marqueur. Répétez la procédure cinq fois de plus - six lames doivent être obtenues à partir d'un tuyau. Nous coupons le tuyau le long des lignes obtenues avec une scie sauteuse électrique et obtenons six lames presque finies. Il ne reste plus qu'à meuler les coupes et à arrondir les coins et les bords. Cela donnera à la roue éolienne une apparence soignée et réduira le bruit de fonctionnement.
Pour relier les aubes entre elles et fixer la roue à la turbine, il est nécessaire de réaliser une unité de liaison, qui est un disque découpé dans de l'acier avec six bandes d'acier soudées ou découpées en même temps. Les dimensions et la configuration spécifiques du nœud de connexion dépendent du générateur ou du moteur à courant continu qui servira de cœur au mini parc éolien.Nous précisons seulement que l'acier à partir duquel l'unité de liaison est constituée doit être d'une épaisseur suffisante pour que la roue ne se plie pas sous la pression du vent.
Nous fabriquons un moulin à vent de nos propres mains
1. Pales d'éoliennes
L'éolienne est l'élément structurel le plus important de l'appareil. Il convertit la force du vent en énergie mécanique. Ainsi, la sélection de tous les autres éléments dépend de sa structure.
Les types de pales les plus courants et les plus efficaces sont les voiles et les palettes. Pour la fabrication de la première option, il est nécessaire de fixer une feuille de matériau sur l'axe, en la plaçant sous un angle par rapport au vent. Cependant, lors des mouvements de rotation, une telle pale présentera une résistance aérodynamique importante. De plus, il augmentera avec une augmentation de l'angle d'attaque, ce qui réduit l'efficacité de leur fonctionnement.
Le deuxième type de lames fonctionne avec une productivité plus élevée - les lames ailées. Dans leurs contours, ils ressemblent à l'aile d'un avion et les coûts de la force de frottement sont réduits au minimum. Ce type d'éolienne a un taux d'utilisation élevé de l'énergie éolienne à de faibles coûts de matériaux.
Les lames peuvent être fabriquées à partir de tuyaux en plastique ou en plastique, car elles seront plus productives que le bois. La plus efficace est la structure éolienne d'un diamètre de deux mètres et de six pales.
2. Éolienne
L'option la plus acceptable pour les équipements éoliens est un mécanisme de génération asynchrone de conversion en courant alternatif.Ses principaux avantages sont le faible coût, la facilité d'acquisition et l'étendue de la distribution des modèles, la possibilité de rééquipement et un excellent fonctionnement à basse vitesse.
Il peut être transformé en un générateur à aimants permanents. Des études ont montré qu'un tel appareil peut fonctionner à basse vitesse, mais perd rapidement de son efficacité à haute vitesse.
3. Support d'éolienne
Pour fixer les pales au carter du générateur, il est nécessaire d'utiliser la tête de l'éolienne, qui est un disque en acier d'une épaisseur allant jusqu'à 10 mm. Six bandes métalliques trouées y sont soudées pour y fixer les pales. Le disque lui-même est fixé au mécanisme générateur à l'aide de boulons avec contre-écrous.
Le dispositif générateur étant capable de supporter des charges maximales, y compris des forces gyroscopiques, il doit être solidement fixé. Sur l'appareil, le générateur est installé d'un côté, pour cela l'arbre doit être relié au corps, qui ressemble à un élément en acier avec des trous filetés pour le vissage sur l'axe du générateur de même diamètre.
Pour la production d'un cadre de support pour équipement éolien, sur lequel tous les autres éléments seront placés, il est nécessaire d'utiliser une plaque métallique d'une épaisseur allant jusqu'à 10 mm ou un morceau de poutre de mêmes dimensions.
4. Pivot d'éolienne
Le mécanisme rotatif fournit des mouvements de rotation du moulin à vent autour d'un axe vertical. Ainsi, il permet de faire tourner l'appareil dans le sens du vent.Pour sa fabrication, il est préférable d'utiliser des roulements à rouleaux, qui perçoivent plus efficacement les charges axiales.
5. Récepteur actuel
Le pantographe fonctionne pour réduire la probabilité de torsion et de rupture des fils provenant du générateur sur le moulin à vent. Il contient dans sa conception un manchon en matériau isolant, des contacts et des balais. Pour créer une protection contre les phénomènes météorologiques, les nœuds de contact du récepteur de courant doivent être fermés.
Le principe de fonctionnement de l'éolienne
Une éolienne ou une centrale éolienne (WPP) est un dispositif utilisé pour convertir l'énergie cinétique d'un courant de vent en énergie mécanique. L'énergie mécanique qui en résulte fait tourner le rotor et est convertie en la forme électrique dont nous avons besoin.
Le principe de fonctionnement et le dispositif d'une éolienne cinétique sont décrits en détail dans l'article, que nous vous recommandons de lire.
La structure du WUE comprend :
- des pales qui forment une hélice,
- rotor de turbine tournant
- l'axe du générateur et le générateur lui-même,
- un onduleur qui convertit le courant alternatif en courant continu utilisé pour charger les batteries,
- la batterie.
L'essence des éoliennes est simple. Lorsque le rotor tourne, un courant alternatif triphasé est généré, qui passe ensuite à travers le contrôleur et charge la batterie CC. Ensuite, l'onduleur convertit le courant pour qu'il puisse être consommé, alimentant un éclairage, une radio, une télévision, un four à micro-ondes, etc.

L'agencement détaillé d'une éolienne à axe de rotation horizontal permet de bien imaginer quels éléments contribuent à la conversion de l'énergie cinétique en énergie mécanique puis en énergie électrique.
En général, le principe de fonctionnement d'une éolienne de tout type et de toute conception est le suivant : en cours de rotation, il existe trois types de force agissant sur les pales : freinage, impulsion et levage.

Ce schéma de fonctionnement d'une éolienne permet de comprendre ce qu'il advient de l'électricité produite par le travail d'une éolienne : une partie est accumulée, et l'autre est consommée
Les deux dernières forces surmontent la force de freinage et mettent le volant en mouvement. Sur la partie fixe du générateur, le rotor forme un champ magnétique pour que le courant électrique parcourt les fils.
Caractéristiques de la fabrication de pales pour une éolienne de vos propres mains à partir de divers matériaux
La forme de la pale et le rendement de l'éolienne déterminent en grande partie les matériaux utilisés. Parmi les plus courants :
Tuyaux en PVC
Présenté à la vente dans une large gamme, ce qui vous permet de choisir la meilleure option, en tenant compte de la taille du futur design. La préférence devrait être donnée aux produits pour un gazoduc ou un égout - leur densité permettra de résister facilement à de fortes rafales de vent. Mais il convient de considérer que la force centrifuge augmente la charge sur les pales proportionnellement à l'augmentation de leur longueur. Les bords de l'éolienne tournent à une vitesse de plusieurs centaines de mètres par seconde. Et une rupture accidentelle du tuyau peut blesser les personnes à proximité.
La solution au problème peut être de réduire la longueur de la structure avec une augmentation simultanée de leur nombre. Cette conception fonctionne avec moins de bruit et tourne en toute confiance même par vent léger. Lors du choix d'un matériau, il est nécessaire de prendre en compte l'épaisseur du tuyau, dont dépend la densité de la lame.Le dessin à faire soi-même pour les pales d'éoliennes est effectué à l'aide de tableaux spéciaux développés sur la base d'une expérience pratique. Ils vous aideront à déterminer facilement les paramètres de matériaux souhaités, en fonction du nombre de pièces souhaité et de leur longueur.
Le traitement et la formation des lames de tuyaux en PVC prendront un minimum de temps. Selon le balisage, des segments de la longueur souhaitée sont découpés, après quoi ils sont coupés et légèrement ouverts. Le ponçage des bords donne au produit un aspect plus esthétique et soigné, et contribue également à réduire le niveau sonore. Les parties finies de la structure sont installées sur une base en acier dont l'épaisseur est calculée en tenant compte de la charge de vent future.

Aluminium
Le principal avantage de l'aluminium, contrairement à d'autres matériaux pour les pales d'éoliennes, est une résistance accrue et une résistance à la flexion et à la déchirure. Mais le poids accru du métal, par rapport au plastique, oblige à prendre des mesures spéciales pour renforcer la structure et équilibrer soigneusement la roue.
Les lames sont fabriquées dans l'ordre suivant. Tout d'abord, un motif est découpé dans une feuille de contreplaqué, selon lequel les ébauches de construction sont découpées. Le moulage dans une auge de 10 mm de profondeur donne aux produits une forme ailée avec d'excellentes caractéristiques aérodynamiques. Un manchon fileté est fixé à chaque lame, à l'aide duquel toutes les pièces sont assemblées en une seule structure.
Fibre de verre
Selon les experts, ce matériau est la combinaison optimale de caractéristiques pour la fabrication de pales d'éoliennes à faire soi-même. Légèreté, haute résistance et excellente aérodynamique sont les principaux avantages du matériau. Mais son traitement à domicile est quelque peu difficile. Tout d'abord, une matrice est conçue et découpée en bois.Une couche de résine époxy est appliquée sur l'une des surfaces et un morceau de fibre de verre de taille appropriée est posé sur le dessus. Ensuite, la couche de résine et de fibre de verre est à nouveau disposée et cette séquence est répétée trois ou quatre fois. La pièce résultante est séchée pendant la journée. Seule la moitié de la pièce est réalisée de cette manière.
La procédure décrite doit être répétée autant de fois que le nombre de pales qu'il est prévu d'installer sur l'éolienne. Les éléments finis sont reliés avec de la résine époxy et un liège en bois avec une douille filetée est placé à l'intérieur et collé pour le montage sur la base métallique de la structure.

Alternative électronique chinoise
Fabriquer un contrôleur d'éolienne de vos propres mains est une entreprise prestigieuse. Mais compte tenu de la vitesse de développement des technologies électroniques, le sens de l'auto-assemblage perd souvent de sa pertinence. De plus, la plupart des schémas proposés sont déjà obsolètes.
Il s'avère moins cher d'acheter un produit prêt à l'emploi, fabriqué de manière professionnelle, avec une installation de haute qualité, sur des composants électroniques modernes. Par exemple, vous pouvez acheter un appareil adapté à un coût raisonnable sur Aliexpress.
Ainsi, par exemple, parmi les offres du portail chinois, il existe un modèle d'éolienne de 600 watts. Un appareil d'une valeur de 1070 roubles. adapté aux batteries 12/24 volts, courant de fonctionnement jusqu'à 30 A.
Assez décent, conçu pour une éolienne de 600 watts, un contrôleur de charge de fabrication chinoise. Un tel appareil peut être commandé depuis la Chine et reçu par la poste en un mois et demi environ.
Un boîtier de contrôleur tous temps de haute qualité mesurant 100x90 mm est équipé d'un puissant radiateur de refroidissement. La conception du boîtier correspond à la classe de protection IP67.La plage de températures extérieures est de - 35 à + 75ºС. Une indication lumineuse des modes d'état de l'éolienne est affichée sur le boîtier.
La question est de savoir quelle est la raison de consacrer du temps et des efforts à assembler une structure simple de vos propres mains, s'il existe une réelle opportunité d'acheter quelque chose de similaire et techniquement sérieux?
Eh bien, si ce modèle ne suffit pas, les Chinois ont des options très "cool". Ainsi, parmi les nouveautés, un modèle d'une puissance de 2 kW pour une tension de fonctionnement de 96 volts a été noté.

Produit chinois de la liste des nouveaux arrivages. Fournit un contrôle de la charge de la batterie, fonctionnant en tandem avec une éolienne de 2 kW. Accepte une tension d'entrée jusqu'à 96 volts
Certes, le coût de ce contrôleur est déjà cinq fois plus cher que le développement précédent. Mais encore une fois, si vous comparez les coûts de production de quelque chose de similaire de vos propres mains, l'achat ressemble à une décision rationnelle.
La seule chose qui prête à confusion avec les produits chinois, c'est qu'ils ont tendance à s'arrêter soudainement de fonctionner dans les cas les plus inopportuns. Par conséquent, l'appareil acheté doit souvent être rappelé - naturellement, de vos propres mains. Mais c'est beaucoup plus facile et plus simple que de fabriquer soi-même un contrôleur de charge d'éolienne à partir de zéro.
Pour les amateurs de produits faits maison sur notre site il y a une série d'articles consacrés à la fabrication d'éoliennes :
- Éolienne à faire soi-même à partir d'un générateur de voiture: technologie d'assemblage d'éoliennes et analyse des erreurs
- Comment construire des pales pour une éolienne de vos propres mains: exemples de pales faites maison pour une éolienne
- Éolienne à faire soi-même à partir d'une machine à laver: instructions de montage d'une éolienne
- Comment calculer une éolienne : formules + exemple pratique de calcul









































