- klaxon à gaz
- Forger
- Chauffer une pièce dans une forge
- Comment fonctionne l'appareil
- Modèle fermé d'une forge à gaz
- Caractéristiques d'une forge domestique
- Encadrement mural
- Réglage du brûleur
- Trou du brûleur
- La conception du canal d'alimentation en gaz dans le brûleur
- Principe d'opération
- Principe d'opération
- Astuces utiles
- Conception du brûleur
- Un peu sur l'utilisation de la forge
- Forges fermées
- forge à combustible solide
- Conception individuelle
- Parties principales
- Conclusions et vidéo utile sur le sujet
klaxon à gaz

De plus, le gaz domestique contient des particules de silicium, de soufre et de phosphore, qui peuvent nuire au métal. Par exemple, le soufre ne gâchera l'acier qu'au contact, transformant ses avantages de performance en inconvénients. Et cela peut entraîner des pertes financières importantes.
Compte tenu de ce qui précède, un four de forgeage au gaz fait maison ne peut fonctionner au gaz domestique que s'il est préalablement nettoyé du soufre. Pour ce faire, le gaz doit être passé dans un récipient contenant du naphtalène, qui absorbera tout l'excédent. Il est également souhaitable de forger sur du carburant bleu uniquement des éléments décoratifs, et non des pièces qui seront soumises à de lourdes charges à l'avenir.
Forger
Les décorateurs créatifs souhaitent souvent utiliser des pièces métalliques faites à la main dans leurs décorations. Vous pouvez fabriquer de tels éléments dans la forge, en ayant les compétences et les matériaux nécessaires.
Des tôles assez fines peuvent être frappées, pliées et estampées même sans chauffage. Cependant, une pièce épaisse ne peut être usinée qu'à des températures élevées. Et seuls les forgerons peuvent fabriquer quelque chose en acier au carbone.
S'il y a un foyer dans l'atelier, ainsi qu'une enclume, vous pouvez ignorer l'épaisseur de la pièce. Lorsqu'il est chauffé à mille degrés, un tel métal se pliera, s'aplatira et se forgera comme de la pâte à modeler. La chose la plus importante dans ce travail est une forge bien construite, capable de chauffer le métal à la température souhaitée.
Il n'est peut-être pas possible pour tout le monde de fabriquer un tel klaxon de ses propres mains, mais pour une personne familiarisée avec l'appareil et le principe de fonctionnement de cet appareil, cela ne devrait pas être difficile. Des artisans forgerons expérimentés affirment que la forge la plus simple peut être fabriquée à partir de 6 briques.
Chauffer une pièce dans une forge
Deux propriétés principales et uniques sont requises d'un four de forgeage : donner une température très élevée, jusqu'à 1200 - 1500°C et la capacité de maintenir la température désirée pendant un certain temps. En d'autres termes, nous avons besoin d'une chaleur forte et uniforme.
A quelle température les métaux peuvent-ils être forgés, c'est-à-dire qu'ils commencent à être ductiles ? Ceci est différent pour tous les métaux et alliages. Mais un signe visuel indiquant que la pièce métallique a chauffé à la température souhaitée est également courant - il s'agit de la couleur orange de la pièce.
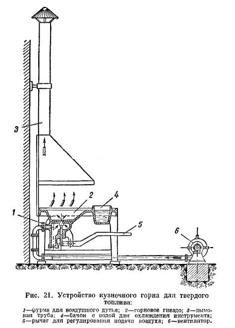
Dessin d'une forge de forgeron.
Le seul métal qui se comporte plutôt méchamment et qui ne change pas de couleur lorsqu'il est chauffé est l'aluminium. Ce n'est pas le métal le plus léger à forger et à souder en principe, avec l'aluminium, il y a de nombreuses exigences particulières à connaître et à appliquer.
Ainsi l'absence de couleur orange alors qu'il est déjà chauffé pour le forgeage est un facteur non négligeable qui rend difficile le travail de ce métal capricieux et de ses alliages. Après tout, vous ne pouvez pas surchauffer. La sous-chauffe n'est pas bonne non plus.
Comment fonctionne l'appareil
Avant de construire une forge, vous devez décider de son type. La forge de type fermé a une chambre pour chauffer la pièce. Ce modèle est considéré comme le plus économique en termes de consommation de carburant. Mais dans ce cas, les blancs sont limités en taille.
Dans la forge forge de type ouvert, le combustible est versé par le haut sur la grille et un flux d'air est fourni par le bas. La pièce préchauffée est placée sur le combustible. Cela permet de chauffer de grandes pièces.
Afin de pouvoir construire une forge artisanale sans perdre sa qualité de travail et en même temps économiser de l'argent, vous devez comprendre le principe de son fonctionnement. L'appareil est basé sur une augmentation significative de la température due à la méthode chimique de combustion du carbone.
Ce processus donne un rendement énergétique élevé et a été utilisé pour la fusion de divers métaux pendant de nombreux siècles. Pour que le cubilot empêche le matériau de brûler, il faut lui fournir un peu moins d'oxygène que nécessaire pour une oxydation complète, sinon les produits seront trop fragiles et, par conséquent, ils ne dureront que quelques années.
Modèle fermé d'une forge à gaz
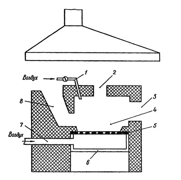
La principale différence avec la variété ouverte est qu'une telle corne est revêtue d'un corps, généralement sous la forme d'un cube, et qu'il y a un tirage forcé. Le corps est généralement constitué de briques réfractaires avec un couvercle métallique qui se transforme en hotte. Les dimensions des foyers fermés sont petites, pour un usage domestique elles ne dépassent pas 80x100cm. Une porte devra être insérée dans le panneau avant.
Un trou pour le montage d'un brûleur à gaz est prévu dans la paroi latérale. Une condition importante est l'installation d'un échappement forcé (avec un canal de 30x30cm), pour cela ils utilisent souvent des moteurs d'un vieil aspirateur, d'un poêle de chauffage de voiture, etc.
Caractéristiques d'une forge domestique

En raison du coût élevé des usines de fusion, tous les utilisateurs ne peuvent pas acheter de tels équipements à des fins spéciales. Pour les besoins domestiques, il n'est pas difficile d'assembler une forge à gaz de vos propres mains, à condition que la forme, la puissance et la structure du système de pressurisation soient correctement déterminées. Une simple forge domestique pour le forgeage artistique ou le moulage de métaux non ferreux peut être assemblée à partir de plusieurs briques d'argile réfractaire et de tôles d'acier.
Fabriquer une corne à la maison pour travailler avec du métal ferreux n'est pas difficile. La conception la plus simple peut être réalisée à partir d'un récipient en métal, dans le côté duquel il est nécessaire de percer un trou pour un brûleur à gaz. Le système d'alimentation en carburant peut être assemblé à partir d'un morceau de tuyau et d'un raccord; de longs boulons conviennent à la structure de support sous le réservoir. Le revêtement de la chambre à gaz est réalisé en remplissant une solution d'albâtre ou de gypse, de sable et d'eau.
Le klaxon doit être équipé d'une housse de protection, d'un tube en céramique ou d'un flacon adapté. Après avoir revêtu et percé un trou d'alimentation en gaz, l'appareil est installé dans un endroit pratique, mais à distance des matériaux inflammables. Les avantages de la conception incluent la possibilité de déplacer le four, d'ajuster le degré de chauffage de la pièce, ce qui est particulièrement pratique lorsque vous travaillez avec différents matériaux de forgeage.
Encadrement mural
Cette forge se révélera de petite taille, ses dimensions internes ne sont que de 12 x 18 x 24 cm, mais pour mon travail, cela suffit amplement. En raison de la petite taille, seules trois briques étaient nécessaires pour les murs et je n'avais qu'à souder des coins métalliques dans les coins.
Réglage du brûleur
Attention! Les travaux ultérieurs présentent un risque d'incendie et d'explosion, car
effectué avec un feu ouvert et un gaz combustible - propane. Ils doivent être réalisés dans le strict respect des normes de sécurité incendie et des exigences suivantes :
- tous les travaux doivent être effectués dans une zone bien ventilée ;
- retirer (mettre hors tension de manière fiable) tout l'équipement produisant des étincelles ;
- le lieu de travail doit être préparé au travail: tout ce qui est superflu doit être retiré non seulement de l'établi, mais également du sol, en ménageant des passages libres en cas de force majeure;
- préparer:
- moyen principal d'extinction d'incendie gaz combustible ;
- trousse de premiers soins médicaux.
La flamme du brûleur est ajustée dans l'ordre suivant :
- ouvrez le robinet de la source de combustible, alimentez en gaz le brûleur et allumez-le ;
- déplacez progressivement le tube de la buse vers le chevauchement des quatre entrées d'air et obtenez une combustion stable.De plus, la flamme du brûleur doit être ajustée en changeant l'alimentation en gaz. Après avoir reçu la flamme de l'intensité et de la forme souhaitées, la position du tube et de la buse doit être fixée à l'aide d'une vis de serrage (sur la figure - 4).
Un tel brûleur fonctionnera régulièrement et donnera une flamme uniforme, suffisante pour chauffer de petites pièces à la température requise.
C'est intéressant : Nous ouvrons une forge avec un équipement manuel pour la forge artistique : brièvement et clairement
Trou du brûleur
Déterminez l'endroit où le brûleur entrera. Beaucoup de gens aiment que l'entrée soit située en haut et que la flamme soit dirigée vers le bas. Et certains préfèrent avoir plusieurs brûleurs. Je choisis une approche économique, et j'aime aussi quand ce que je fais a l'air bien. Par conséquent, j'aime le brûleur unique à l'arrière du foyer avec la flamme pointant le plus vers le haut. Placez des briques sur le fond et dessinez un cercle où vous avez choisi l'emplacement du brûleur. Faites beaucoup de trous autour du périmètre du cercle dessiné avec une perceuse à béton. Tout d'abord, ne percez pas complètement les trous et, après avoir fait un cercle, continuez à nouveau, en ajoutant des mouvements latéraux pour percer la brique et unir les trous adjacents. Si vous ne vous précipitez pas, la découpe peut s'avérer relativement uniforme. Tracez un trou sur le fond métallique et découpez-le avec une torche à gaz (plasma).
La conception du canal d'alimentation en gaz dans le brûleur
Le canal d'alimentation en gaz est un tube en cuivre ou en laiton des tailles suivantes :
- diamètre extérieur 6 mm;
- épaisseur de paroi pas moins de 1 mm.
Installé sur ce tube :
- d'une part - une vanne de gaz avec un tuyau qui va à la source de gaz (conduite principale, bouteille, etc.);
- d'autre part, un mamelon d'un poêle est monté. Ce faisant, vous devez effectuer les opérations suivantes :
- affûter la partie travaillante du mamelon sur le cône;
- coupez le filetage M5 à l'intérieur du tuyau et enroulez-y le mamelon (il a déjà un filetage externe standard M5).
Principe d'opération
Le principe de fonctionnement du foyer repose sur la réaction chimique de combustion du carbone qui, lorsqu'il réagit avec l'oxygène, forme du dioxyde de carbone avec dégagement de chaleur. De plus, les métaux sont restaurés, ce qui est un aspect très important pour la formation de pièces homogènes à haute résistance.
Pour maintenir le niveau optimal de combustion et de température, des conduits d'air et des chambres à air sont installés à l'intérieur de la chambre à combustible, qui pompent de manière forcée de l'oxygène pur. De ce fait, il est possible d'obtenir des températures supérieures à +1000°C, inaccessibles avec la combustion conventionnelle de combustibles solides (charbon ou bois).

À quoi ressemble une forge à gaz à faire soi-même
Parallèlement, selon la technologie de soufflage, le volume d'air est choisi de manière à ce que l'oxygène manque constamment un peu pour que la réaction d'oxydation se déroule. En d'autres termes, il faut choisir un tel mode de fonctionnement pour éviter la combustion du métal.
Le temps de séjour de la pièce fondue dans le foyer doit également être limité, car dans l'atmosphère de dioxyde de carbone, le métal réagira avec lui et formera un alliage à haute résistance avec une fragilité accrue. Ces conséquences négatives peuvent être évitées en introduisant de l'oxygène supplémentaire dans la chambre en une quantité telle que le dioxyde de carbone ait le temps de réagir complètement.
Principe d'opération
Le principe de fonctionnement du foyer repose sur la réaction chimique de combustion du carbone qui, lorsqu'il réagit avec l'oxygène, forme du dioxyde de carbone avec dégagement de chaleur. De plus, les métaux sont restaurés, ce qui est un aspect très important pour la formation de pièces homogènes à haute résistance.
Pour maintenir le niveau optimal de combustion et de température, des conduits d'air et des chambres à air sont installés à l'intérieur de la chambre à combustible, qui pompent de manière forcée de l'oxygène pur. De ce fait, il est possible d'obtenir des températures supérieures à +1000°C, inaccessibles avec la combustion conventionnelle de combustibles solides (charbon ou bois).
Parallèlement, selon la technologie de soufflage, le volume d'air est choisi de manière à ce que l'oxygène manque constamment un peu pour que la réaction d'oxydation se déroule. En d'autres termes, il faut choisir un tel mode de fonctionnement pour éviter la combustion du métal.
Le temps de séjour de la pièce fondue dans le foyer doit également être limité, car dans l'atmosphère de dioxyde de carbone, le métal réagira avec lui et formera un alliage à haute résistance avec une fragilité accrue. Ces conséquences négatives peuvent être évitées en introduisant de l'oxygène supplémentaire dans la chambre en une quantité telle que le dioxyde de carbone ait le temps de réagir complètement.
Astuces utiles
- Faire un petit trou dans le mur arrière de la forge améliorera la ventilation. De plus, une telle découpe vous permet de chauffer des pièces métalliques de grande longueur.
- La forge est placée sur un support ou une table en métal spécial, ce qui rend son travail plus pratique. La hauteur est sélectionnée par le maître individuellement.
- Si un atelier de forgeron travaille avec des ébauches de tailles et de formes différentes, il est conseillé d'installer plusieurs fours de tailles différentes à la fois.Ils sont placés à proximité les uns des autres et le gaz et l'air sont alimentés par des tuyaux flexibles. Cette solution design permet de reconnecter rapidement les brûleurs.
- Des vannes d'arrêt doivent être situées sur chaque conduite de gaz. À cette fin, les vannes conventionnelles sont le plus souvent utilisées - elles permettent un réglage plus fluide, contrairement aux vannes à bille.
L'essentiel pour créer une forge de vos propres mains est d'imaginer le principe de fonctionnement, de choisir les bons matériaux et de respecter les consignes de sécurité. Ces équipements sont créés par des artisans en fonction de leurs préférences, souhaits et exigences personnels, ce qui offre un large champ d'activité.
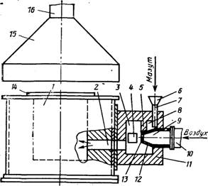
Conception du brûleur
Un brûleur maison standard fonctionne de cette manière. Sous pression, le gaz est fourni à partir d'une bouteille via un tuyau spécial. Le gaz le plus couramment utilisé est le propane. Le volume de gaz fourni est modifié par une vanne de régulation de travail située sur la bouteille. Par conséquent, l'installation d'un réducteur supplémentaire n'est pas nécessaire.
La vanne d'arrêt est située derrière la vanne principale et est fixée à la bouteille de gaz. Il est utilisé pour ouvrir ou fermer l'alimentation en gaz. Tous les autres réglages (longueur et intensité de la flamme) du brûleur lui-même sont effectués à l'aide du soi-disant robinet de travail. Le tuyau d'alimentation en gaz, par lequel le gaz est fourni, est relié à une buse spéciale. Il se termine par un mamelon. Il vous permet de régler la taille (longueur) et l'intensité (vitesse) de la flamme. Le mamelon avec le tube est placé dans un insert spécial (coupelle en métal). C'est en elle que se produit la création d'un mélange combustible, c'est-à-dire l'enrichissement du propane en oxygène atmosphérique.Le mélange combustible créé sous pression pénètre par la buse dans la zone de combustion. Pour assurer un processus de combustion continu, des trous spéciaux sont structurellement prévus dans la buse. Ils remplissent la fonction de ventilation supplémentaire.
Sur la base d'un tel schéma standard, vous pouvez développer votre propre conception. Il sera composé des éléments suivants :
- corps (généralement en métal);
- une boîte de vitesses montée sur un cylindre (un appareil prêt à l'emploi est utilisé);
- buses (fabriquées indépendamment);
- régulateur d'alimentation en carburant (en option);
- tête (la forme est sélectionnée en fonction des tâches à résoudre).
Le corps du brûleur est réalisé sous la forme d'un verre. Le matériau utilisé est de l'acier ordinaire. Cette forme vous permet de fournir une protection fiable contre un éventuel soufflage de la flamme de travail. La poignée est attachée au corps. Il peut être fabriqué à partir de divers matériaux. La chose la plus importante est qu'elle offre un confort pendant le travail. L'expérience précédente montre que la longueur la plus optimale d'une telle poignée se situe entre 70 et 80 centimètres.

Dispositif de brûleur à gaz
Un support en bois est fixé sur le dessus. Un tuyau d'alimentation en gaz est placé dans son corps. Cela vous permet de donner à la structure une certaine force. La longueur de la flamme peut être ajustée de deux manières. A l'aide d'un réducteur situé sur la bouteille de gaz et d'une valve montée sur le tube. L'allumage du mélange gazeux s'effectue grâce à une buse spéciale.
Un peu sur l'utilisation de la forge
Je l'ai utilisé pour la forge et le moulage. Il fait fondre l'aluminium et d'autres métaux non ferreux en quelques secondes. Il s'est avéré couler certaines pièces à l'aide de moules en mousse dans des moules en sable et en argile. Il a fait fondre des canettes d'aluminium dans un creuset spécial.Le métal en fusion était ensuite coulé dans des moules en sable et en plâtre.
Il est bien adapté pour forger des couteaux ou certains petits produits métalliques. La fabrication de couteaux à partir de limes sera abordée dans mon prochain article.
Une des photos montre un forgeage chauffé, cependant le rendu des couleurs n'est pas du tout le même. En raison du soleil éclatant, il est impossible de déterminer la température de la pièce par couleur. Par conséquent, plus tôt dans les forges, il y avait le crépuscule. Voici une vidéo du fonctionnement de la forge.
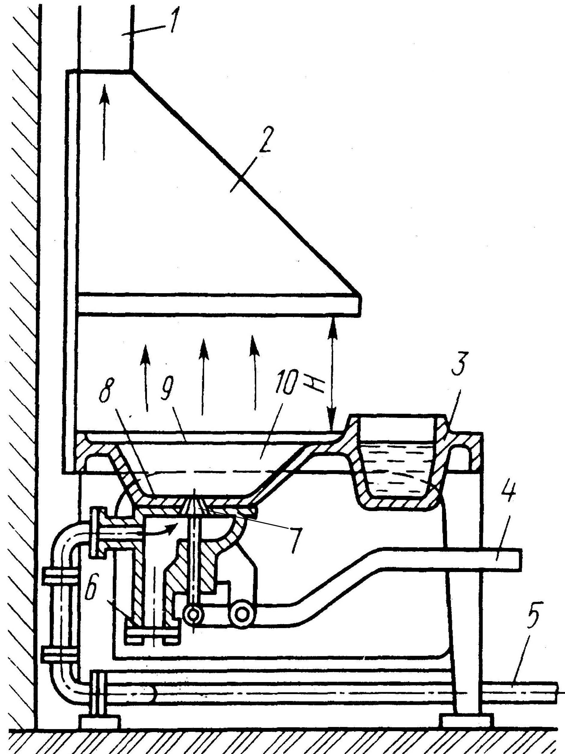
Forges fermées
Les conceptions des fours à gaz de forge fermés diffèrent, comme nous l'avons déjà dit, principalement par le type de poussée. Il est effectué de force à travers un parapluie installé au-dessus de la montagne à l'aide d'un ventilateur. Toute conception appropriée est utilisée comme ventilateur : des assemblages de « réchaud » de voiture aux anciens aspirateurs domestiques. Sur ce dernier, il faut cependant tout de même installer un clapet pour régler l'intensité du flux d'air. Soit dit en passant, cette option, selon certains experts, est préférable, car elle permet une meilleure ventilation de la pièce.
Nous portons à votre attention plusieurs options pour la conception de forges à gaz que vous pouvez construire de vos propres mains.
forge à combustible solide
S'il est nécessaire d'utiliser le foyer pour un usage unique, il est possible de construire un foyer directement sur le sol, après avoir creusé un trou peu profond dont les parois sont tapissées de briques réfractaires. Une telle brique est parfaite pour chauffer du métal à l'aide de combustible solide. Un matériau alternatif est une plaque d'acier épaisse (au moins 5 mm). Dans un tel foyer, vous devrez également installer une grille de grilles (l'acier ou la fonte servira de matériau).Au lieu d'une grille, vous pouvez installer un tuyau en acier pour l'alimentation en air:
- L'extrémité du tuyau doit être étroitement soudée.
- Dans la zone de combustion, coupez des rainures à fentes avec une meuleuse (à travers elles, l'air dispersera la chaleur).
- Placez le tuyau au centre de la structure finie.
Afin de rendre la forge mobile et simple, il est nécessaire de souder un cadre métallique et un plateau en acier. Une solution intéressante serait d'en utiliser un d'occasion comme tel dessus de table. ancienne cuisinière à gaz. Le four qu'il contient servira à accueillir la source de gonflage, et la section inférieure est pratique pour y placer des outils et des accessoires.
Conception individuelle
Les modèles stationnaires de la forge doivent être réalisés en tenant compte des données anthropométriques du maître. Cela est nécessaire pour assurer un confort maximal lors du forgeage, car une pièce de fer chauffée au rouge pesant plusieurs kilogrammes représente un grave danger pour le maître et les autres. La chose la plus importante dans le processus de travail est d'assurer un maximum de sécurité et de confort.
Pour déterminer correctement la taille du lieu de travail, l'aide d'une deuxième personne est nécessaire. Ainsi, la hauteur est mesurée du sol au pli du coude du maître, dont la main est dans une position détendue, et les jambes sont à la largeur des épaules. Au chiffre obtenu, vous devez ajouter 5 cm supplémentaires, qui deviendront la hauteur optimale pour le lieu de travail.

La forme de la table est mieux carrée pour le travail d'un maître, pour les activités avec un assistant, vous pouvez également en faire une rectangulaire. Dans le cas d'une forme carrée, la longueur d'un côté est déterminée en déterminant la diagonale. Pour ce faire, l'assistant doit mesurer la longueur entre le ventre du maître et l'extrémité des plus grosses tiques de la main tendue. 10 cm supplémentaires sont ajoutés au nombre résultant et la moitié de la diagonale est obtenue.De plus, si vous le souhaitez, vous pouvez simplement multiplier le résultat par 1,414 ou déterminer la longueur de la diagonale entière et résoudre l'équation du programme scolaire C2 = a2 + a2, où C est la diagonale résultante et le côté de la table.
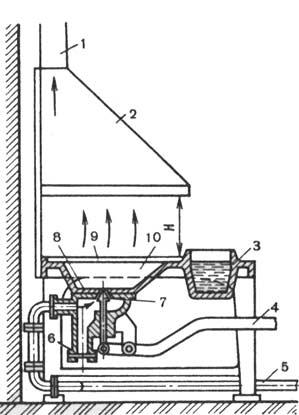
Parties principales
Le mécanisme de la forge du forgeron est assez simple. De par sa conception, le foyer ressemble à un four avec trois cloisons et un côté ouvert. Sa fonction principale est de maintenir la température la plus élevée possible à l'intérieur.
Le dispositif de la forge de son propre assemblage diffère peu des dispositifs de production.
La conception classique devrait avoir:
- table réfractaire;
- foyer avec grille;
- appareil photo de l'appareil ;
- parapluie;
- chambre à air, valve et drainage;
- cheminée;
- bain de durcissement;
- ouverture pour l'alimentation des flans;
- conduit d'air pour l'alimentation en oxygène;
- chambre à gaz;
- foyer amovible.
Conclusions et vidéo utile sur le sujet
Le brûleur à injection développé par Alexander Kuznetsov est particulièrement populaire. Dans ce clip vidéo, il raconte en quoi consiste la structure et comment l'assembler :
Un exemple de fonctionnement d'un brûleur à injection :
Correctement conçu et fabriqué à la main selon des spécifications rigoureuses, un brûleur à injection deviendra un assistant fiable pendant longtemps. Cet appareil remplacera les coûteux outils fabriqués en usine. Avec lui, vous pouvez résoudre de nombreux problèmes quotidiens sans avoir recours à l'aide de professionnels.
Voulez-vous parler de la façon dont vous avez assemblé de vos propres mains une torche à injection pour la forge? Avez-vous des informations utiles sur le sujet de l'article? Veuillez laisser des commentaires dans le formulaire ci-dessous, poser des questions, publier des photos.








































