- Stations de compression
- Séquence et règles d'installation
- Types de systèmes
- Ce qui détermine le choix des communications
- Caractéristiques du choix du type de gazoduc
- Quelle voie choisir : enterrée ou aérienne ?
- Tranchée pour gazoduc
- Pose de gazoducs à l'intérieur
- Lorsque le projet de gazéification est prêt
- Sélection d'un entrepreneur et conclusion d'un contrat
- Mise en service du gazoduc
- Démarrage et configuration du système
- Autoroutes souterraines
- Technologie de pose d'autoroutes souterraines
- Pose souterraine d'un tuyau de gaz: technologie, GOST, vidéo
- Conseils de pose
- Particularités du produit
- Règles pour le placement des puits d'égout
- Étapes de la pose en transit du gazoduc
- Conduites de gaz en polymère
- Caractéristiques des structures en plastique
- Restrictions de tuyau
Stations de compression
Des stations de compression sont nécessaires pour maintenir le niveau de pression et transporter le volume de gaz requis à travers le pipeline. Là, le gaz subit une purification des substances étrangères, une déshumidification, une pressurisation et un refroidissement. Après traitement, le gaz sous une certaine pression retourne au gazoduc.
Les stations de compression, ainsi que les stations et points de distribution de gaz, sont incluses dans le complexe de structures de surface du gazoduc principal.
Les groupes compresseurs sont transportés sur le chantier sous forme de blocs entièrement prêts à être assemblés. Ils sont construits à une distance d'environ 125 kilomètres les uns des autres.
Le complexe de compresseurs comprend :
Station de compression des gazoducs principaux
- la gare elle-même
- unités de réparation et d'entretien et de service et d'entretien;
- la zone où se trouvent les dépoussiéreurs ;
- tour de refroidissement;
- réservoir d'eau;
- économie pétrolière;
- appareils refroidis au gaz, etc.
Une colonie résidentielle est généralement érigée à côté de l'usine de compression.
Ces stations sont considérées comme un type distinct d'impact d'origine humaine sur l'environnement naturel. Des études ont montré que la concentration d'oxyde d'azote dans l'air sur le territoire des installations de compresseurs dépasse le niveau maximal autorisé.
Ils sont également une puissante source de bruit. Les scientifiques ont découvert qu'une exposition prolongée au bruit de la station de compression provoque des perturbations dans le corps humain et, par conséquent, provoque diverses maladies et peut entraîner une invalidité. De plus, le bruit oblige les animaux et les oiseaux à se déplacer vers de nouveaux habitats, ce qui entraîne leur surpeuplement et une diminution de la productivité des terrains de chasse.
Unité d'installation du système de sécurité
Séquence et règles d'installation
Les travaux d'installation doivent être effectués selon les règles suivantes:
- Lors de la pose de conduites de gaz souterraines, la profondeur optimale est de 1,25 à 2 m.
- Au site où le tuyau pénètre dans la maison, la profondeur doit être réduite à 0,75 - 1,25 m.
- Le gaz liquéfié peut être transporté à une profondeur inférieure à la profondeur de congélation du sol.
- Lors de l'installation d'une chaudière à gaz, il convient de noter qu'un équipement doit avoir une superficie de 7,5 m2.
- Pour l'installation de chaudières et de colonnes d'une capacité inférieure à 60 kW, des pièces d'au moins 2,4 m seront nécessaires.
Une source autonome de gaz dans la cour arrière est réalisée selon des normes de sécurité spécifiques. Cela garantira le fonctionnement normal du poêle, de la colonne et de la chaudière. Un réservoir souterrain ne doit pas être situé à moins de 15 m du puits, à 7 m des dépendances et à 10 m de la maison.Les types les plus populaires de tels réservoirs sont les réservoirs d'un volume de 2,7 à 6,4 m3.
Règles de pose des gazoducs souterrains:
- Quels tuyaux sont utilisés pour le gazoduc dans ce cas Avec un résultat positif de l'étude du sol pour la corrosion, il vaut mieux s'abstenir de poser des communications souterraines. L'exception concerne les situations où des lignes à haute tension passent à proximité: dans ce cas, les tuyaux sont posés sous terre en utilisant une isolation supplémentaire.
- Si une canalisation en polyéthylène est posée, des produits à haute résistance (PE-80, PE-100) sont utilisés à cet effet. Les tuyaux en PE-80 sont capables de supporter des pressions de fonctionnement jusqu'à 0,6 MPa: si ce chiffre est supérieur, il est préférable d'utiliser des produits en PE-100 ou des tuyaux en acier pour un gazoduc à haute pression. La profondeur de pénétration dans le sol est d'au moins un mètre.
- Les communications avec une pression de service supérieure à 0,6 MPa peuvent être équipées de tuyaux en polyéthylène renforcé. Les exigences pour la profondeur du signet ici sont également d'un mètre.
- Dans les zones où des travaux arables ou une irrigation abondante seront effectués, la profondeur de pose du gazoduc est portée à 1,2 m.
Si vous respectez toutes les exigences et règles ci-dessus, l'aménagement d'un gazoduc souterrain peut être effectué de vos propres mains.
Types de systèmes
Je classe les autoroutes destinées à l'approvisionnement en "carburant bleu" selon plusieurs critères :
- type de gaz (SUG, naturel);
- le nombre d'étages de contrôle de la pression (mono ou multi-étages) ;
- structures (voie sans issue, anneau, mixte).
Le gaz naturel est principalement fourni aux colonies pour être utilisé par les propriétaires de maisons et d'appartements. Le GPL (liquéfié) est rarement transporté par les autoroutes. Dans la plupart des cas, il est pompé dans des cylindres. Le GPL est fourni par canalisations uniquement s'il existe une usine de stockage ou une station de regazéification dans la localité.
Dans les villes et les grandes villes, un gazoduc de distribution à plusieurs étages est généralement posé. Le montage d'un mono-étage basse pression est très coûteux. Par conséquent, il est conseillé de monter de tels systèmes uniquement dans les petits villages. Lors de l'assemblage de gazoducs à plusieurs étages, des points de régulation sont installés entre des branches de pression différente.

Ce qui détermine le choix des communications
Une commission spéciale est responsable du projet du nouveau gazoduc, qui détermine le tracé du gazoduc, la méthode de sa construction et les points pour la construction du GDS.
Lors du choix d'une méthode de pose, les critères suivants sont pris en compte:
- population du territoire où il est prévu d'étirer le gazoduc;
- la présence sur le territoire de communications souterraines déjà étendues ;
- type de sol, type et état des revêtements;
- caractéristiques du consommateur - industriel ou domestique ;
- les possibilités de divers types de ressources - naturelles, techniques, matérielles, humaines.
Une pose souterraine est considérée comme préférable, ce qui réduit le risque de dommages accidentels aux tuyaux et fournit un régime de température stable.C'est ce type qui est pratiqué le plus souvent s'il est nécessaire de fournir du gaz à des zones résidentielles ou à des bâtiments individuels.
Dans les entreprises industrielles, les autoroutes sont réalisées au-dessus du sol - sur des supports spécialement installés, le long des murs. La pose à ciel ouvert est également observée à l'intérieur des bâtiments.
Dans de rares cas, les conduites de gaz peuvent être masquées sous un sol en béton - dans les laboratoires, les lieux de restauration publique ou les services publics. Pour des raisons de sécurité, le gazoduc est placé dans un isolant anti-corrosion, coulé avec du mortier de ciment, et placé dans des étuis fiables aux points de sortie pour assurer la stabilité.
Caractéristiques du choix du type de gazoduc
Avant la construction de l'autoroute, vous devez choisir la meilleure option adaptée à des conditions spécifiques et vous familiariser avec les règles de pose. Étant donné que tout cela affecte les coûts financiers, l'efficacité et les coûts de main-d'œuvre.
Puisque, tout d'abord, le gazoduc doit être fiable, lors du choix d'une option, il est nécessaire de prendre en compte des points tels que:
- activité corrosive des sols;
- densité de construction;
- la présence de courants vagabonds ;
- caractéristiques du terrain ;
- type de revêtement routier, si le gazoduc le traversera ;
- largeur d'entrée ;
- la présence de barrières d'eau et bien d'autres.
De plus, il est nécessaire de déterminer le type de gaz qui sera fourni. Et aussi sa quantité - les volumes devraient être suffisants pour répondre aux besoins de tous les consommateurs.
Pour éviter les risques associés, ainsi que les dépenses financières inutiles, la pose de tout gazoduc doit commencer par des calculs spéciaux, dont le résultat sera la création d'un projet
Il convient également de tenir compte de la sécurité de l'approvisionnement.Dans cette optique, il convient de rappeler qu'un gazoduc en anneau est préférable à un gazoduc sans issue ou mixte. Par exemple, si le gaz est fourni au soi-disant consommateur non commuté, l'option spécifiée doit être choisie.
Tous les points ci-dessus ne peuvent être ignorés - chacun d'eux est indiqué dans les documents réglementant les questions liées à la pose de gazoducs. Parmi lesquels figurent SP 62.13330.2011 et autres.
De plus, nous ne devons pas oublier que la construction et la modernisation de tout gazoduc doivent être effectuées conformément aux schémas d'approvisionnement en gaz. Qui sont développés à différents niveaux - du fédéral au régional.
Par conséquent, avant de commencer la conception, le propriétaire du bâtiment, les locaux doivent :
- obtenir un permis de gazéification auprès du département d'architecture et de design de la ville, du district ;
- s'adresser par écrit au gorgaz local (raygaz) afin d'obtenir la mission dite technique, qui est un ensemble d'informations nécessaires à la réalisation d'un gazoduc.
Et seulement après cela, il est permis de commencer à concevoir. Qui se termine par l'accord à Gorgaz (Reigaz).
Ce n'est qu'après cela qu'il sera possible de commencer à poser le gazoduc. Ce qui, par préparation, devrait fournir aux consommateurs du carburant dans la quantité requise et être sûr.
Nous avons décrit les subtilités de la pose d'un gazoduc vers une maison privée dans la prochaine publication.
Le lieu de pose du gazoduc doit être clôturé et signalé par des panneaux spéciaux. De plus, cette règle est pertinente pour tous les cas. Ceci est fait pour assurer la sécurité.
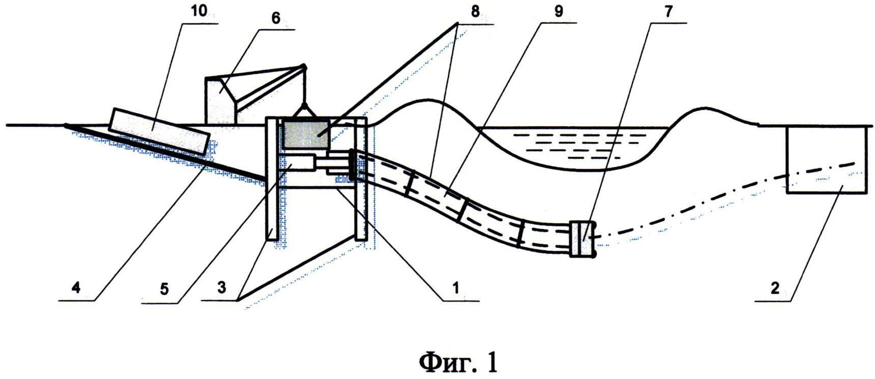
Quelle voie choisir : enterrée ou aérienne ?
Le choix de la méthode de pose dépend du cas spécifique, à savoir: des caractéristiques du sol, des conditions climatiques, de la zone bâtie, etc. Il est donc impossible de donner une réponse sans ambiguïté à cette question.
Considérez les principaux conseils pour choisir une méthode de pose de gazoducs:
- si le sol sur le site a un coefficient de corrosion élevé, il est recommandé de réaliser le gazoduc par la méthode hors sol.
- s'il y a une ligne électrique à haute tension à proximité du site où les travaux d'installation auront lieu, les tuyaux sont posés sous terre.
- si le gazoduc est censé être posé sur le territoire de sections voisines, cela doit être fait de manière ouverte (aérienne).
- de plus, si le gazoduc doit être posé à travers la toile automatique, il est conseillé de choisir une option d'installation de tuyaux combinés. L'option combinée comprend: la pose souterraine sous la plate-forme et en surface le long du territoire du site. Ainsi, une solution optimale au problème est obtenue.
Dans la plupart des cas, une méthode souterraine de pose de tuyaux est utilisée pour protéger le pipeline des effets de divers facteurs négatifs.
Selon les méthodes d'installation de la communication par gazoduc qui seront réalisées, des tuyaux de divers matériaux sont utilisés. Il existe deux types de conduites de gaz selon le matériau de fabrication :
- acier;
- polyéthylène (PE);
Les tuyaux en acier sont polyvalents - ils peuvent être utilisés pour n'importe quelle pose (hors sol et souterraine), mais les produits modernes en polyéthylène sont utilisés pour l'installation souterraine de gazoducs. Cela est dû au fait que le polyéthylène a une faible résistance aux rayons ultraviolets.Sous l'influence des rayons ultraviolets, le polyéthylène perd ses propriétés et est détruit
Cependant, il présente un certain nombre d'avantages utiles auxquels il convient de prêter attention.
Tranchée pour gazoduc
La profondeur de pose (pose) d'un gazoduc basse pression est déterminée par le document réglementaire «SNiP 42-01-2002. Systèmes de distribution de gaz » et est décrit au paragraphe 5.2 comme suit :
La pose de gazoducs à basse pression doit être effectuée à une profondeur d'au moins 0,8 m jusqu'au sommet du gazoduc ou du boîtier. Dans les endroits où la circulation des véhicules et des véhicules agricoles n'est pas assurée, la profondeur de pose des gazoducs en acier à basse pression peut être d'au moins 0,6 m.
Lors du croisement ou du passage de la communication par gazoduc sous les routes et autres lieux de circulation des véhicules, la profondeur de pose doit être d'au moins 1,5 mètre, jusqu'au point le plus haut du gazoduc ou de son boîtier.
En conséquence, la profondeur de la tranchée du gazoduc est calculée selon la formule suivante: le diamètre du gazoduc + l'épaisseur du boîtier + 0,8 mètre, et lors de la traversée de la route - le diamètre du gazoduc + l'épaisseur du boîtier + 1,5 mètre.
Lorsqu'un gazoduc basse pression traverse une voie ferrée, la profondeur de pose du gazoduc depuis le bas du rail ou le haut de la chaussée, et s'il y a un remblai, depuis son bas jusqu'au haut de la caisse, doit répondre aux exigences de sécurité, mais être au moins :
dans la production d'œuvres à ciel ouvert - 1,0 m;
lors de travaux de poinçonnage ou de forage directionnel et de pénétration de bouclier - 1,5 m;
dans la production de travail par la méthode de perforation - 2,5 m.
Lors du croisement d'autres communications avec un gazoduc à basse pression - alimentation en eau, câbles à haute tension, égouts et autres gazoducs, il sera nécessaire d'aller plus loin sous ces communications à l'endroit où elles passent, d'au moins 0,5 mètre, ou vous pouvez aller au-dessus d'eux s'ils se trouvent à une profondeur d'au moins 1,7 mètre.
La profondeur de pose des gazoducs à basse pression dans des sols à différents degrés de soulèvement, ainsi que dans des sols en vrac, doit être relevée jusqu'au sommet du tuyau - pas moins de 0,9 de la profondeur de congélation standard, mais pas moins de 1,0 M.
Avec un soulèvement uniforme des sols, la profondeur de pose du gazoduc jusqu'au sommet du tuyau doit être:
pas moins de 0,7 de la profondeur de congélation standard, mais pas moins de 0,9 m pour les sols à soulèvement moyen;
pas moins de 0,8 de la profondeur de congélation standard, mais pas moins de 1,0 m pour les sols fortement et excessivement soulevés.

Pose de gazoducs à l'intérieur
Dans ce cas, certaines normes de sécurité doivent également être respectées. La pose en transit du gazoduc à l'intérieur des bâtiments le long des surfaces extérieures des murs à une hauteur d'au moins 1,5 mètre du sol est en cours. Parfois, les tuyaux sont tirés dans des canaux recouverts de boucliers. Dans le même temps, selon la réglementation, ce dernier doit être facilement démontable. Les gazoducs sont posés à travers les murs ou les plafonds dans des manchons métalliques isolés avec un matériau incombustible.
Selon la réglementation, il est interdit de tirer des tuyaux :
- sur les cadres de portes et de fenêtres ;
- impostes;
- plateaux.

Les murs en bois avant d'installer des équipements à gaz à côté d'eux doivent être isolés avec des feuilles d'amiante-ciment. Tous les joints du gazoduc interne sont reliés par une méthode soudée. Le détachable est autorisé à effectuer uniquement des connexions dans les lieux d'installation des vannes d'arrêt.
Pour l'assemblage de systèmes internes, des tuyaux en acier sont généralement utilisés. Mais parfois, le cuivre est également utilisé à cette fin. Il n'est pas permis d'utiliser ces autoroutes uniquement pour le transport de GPL.
Le raccordement du gazoduc de transit interne au gazoduc externe et son montage doivent être effectués conformément aux normes uniquement par des spécialistes d'une entreprise agréée. Après l'installation du système, il est testé et accepté avec la signature du document correspondant.
Lorsque le projet de gazéification est prêt
Une condition préalable au passage de la phase de conception aux travaux de construction et d'installation est la coordination du projet avec le service technique du service de gaz. Cette procédure est généralement terminée dans les 2 semaines.
Sélection d'un entrepreneur et conclusion d'un contrat
Après approbation, le projet doit être accompagné de :
- devis pour l'exécution des travaux prévus par le projet ;
- accord sur la supervision technique;
- un acte de contrôle des canaux de désenfumage, rédigé et signé par un représentant du service VDPO.
Lorsque la liste complète des documents nécessaires est en main, vous pouvez procéder à l'arrangement. En règle générale, toute organisation de conception dispose d'une licence pour les travaux de construction et d'installation. Si une telle licence n'est pas disponible, vous devrez vous occuper de trouver un entrepreneur.
Puisque c'est l'organisme d'installation qui sera responsable de la construction et de la mise en service du gazoduc, il est souhaitable :
- vérifier la licence de gazéification ;
- voir autres permis;
- assurez-vous que les employés disposent des autorisations appropriées.
Avant de conclure un contrat, il est nécessaire de convenir et d'approuver les conditions d'installation, qui doivent être fixées dans le contrat.

Lors de l'installation, un équipement d'extinction d'incendie conçu pour les incendies de classe "C" (gaz brûlants) doit être à portée de main
Dans l'accord pour l'exécution des travaux, en plus d'autres obligations, les conditions suivantes doivent être fixées :
- les employés de l'organisation travaillant dans l'installation disposent d'un écran de protection qui protège les murs du chauffage et de tout le matériel d'extinction d'incendie nécessaire;
- émission de documents techniques exécutifs au client immédiatement après l'exécution des calculs pour les travaux prévus dans le projet ;
- l'obligation de l'entrepreneur de terminer l'installation dans les délais convenus, conformément aux normes établies et au niveau de qualité requis ;
- l'obligation de l'entrepreneur d'établir en temps voulu toute la documentation exécutive et technique prescrite.
L'entrepreneur doit fournir au client les documents spécifiés après l'achèvement des travaux d'installation, avant la commission de réception et de livraison des visites d'objets.
Mise en service du gazoduc
La livraison du gazoduc fini est effectuée en présence d'une commission, qui comprend des représentants de l'entrepreneur, du service de gaz et du client lui-même. Lors du processus d'acceptation, il est nécessaire de vérifier la disponibilité de tous les équipements prévus par le projet, l'exactitude de son installation et de sa connexion.
La commission accepte des travaux de 2 semaines à un mois. Si aucune anomalie n'est identifiée, le représentant du service de gaz délivre un reçu de paiement, que le client paie, et transmet une copie du document à l'entrepreneur.

Après acceptation du gazoduc fini, le compteur du système doit être scellé en présence du client
L'entrepreneur transfère toute la documentation technique au service de gaz, où elle est stockée pendant toute la durée d'exploitation.Sur la base des résultats des travaux de la commission, le service de gaz doit sceller le compteur dans les 3 semaines, après quoi le système est considéré comme prêt pour l'alimentation en gaz.
L'accord avec Gorgaz réglemente la maintenance du système, dont ce service sera responsable. C'est la base de l'approvisionnement en gaz.
En plus de la conclusion du contrat, vous devrez subir un briefing de sécurité. Elle est réalisée au siège de l'entreprise ou au domicile par un spécialiste disposant de l'habilitation appropriée. Dans tous les cas, après le briefing, le client doit confirmer le briefing terminé par une signature dans le journal de bord.
Démarrage et configuration du système
Le raccordement est effectué par le service compétent, la procédure est payante, elle est réalisée dans un délai prédéterminé, lorsque tous les équipements ont été réceptionnés et reconnus fonctionnels.
Le piquage dans la conduite principale sous pression doit être effectué par des spécialistes utilisant l'équipement approprié
Après cela, un essai est effectué, vérifiant l'instrumentation et le compteur pour détecter les fuites. La mise au point finale de l'équipement et le lancement sont effectués par l'organisme fournisseur de l'équipement avec lequel il existe un accord de maintenance :
- le système démarre ;
- il est ajusté au mode de fonctionnement optimal ;
- le représentant de l'entreprise est obligé d'expliquer toutes les nuances du fonctionnement de l'équipement, les règles de son fonctionnement.
Dans les cas où des dysfonctionnements et autres problèmes sont constatés, le lancement est suspendu jusqu'à leur élimination.
Si tout est en ordre et que le lancement a réussi, un acte bilatéral est signé confirmant l'achèvement des travaux.
Autoroutes souterraines
Une fois le permis reçu, le processus de construction du pipeline commence. Il peut être réalisé de deux manières - souterraine et aérienne.La première option nécessite des tranchées spéciales pour la pose des tuyaux. Ils peuvent passer :
- dans un sol normal ;
- dans une zone marécageuse ;
- dans le rocher.

Différents spécialistes sont responsables de la pose du pipeline. Certains le font sur des sections linéaires, d'autres - dans des zones où passent des routes et des voies ferrées, ainsi que dans des endroits où il y a des obstacles d'eau.
Les éléments du gazoduc sont interconnectés par soudage. Pour ce faire, ils sont d'abord nettoyés, cimentés et nivelés les uns par rapport aux autres, en laissant l'espace nécessaire au soudage.
Ensuite, à l'aide d'un poseur de canalisations, ils sont suspendus en position d'installation. Grâce à la présence d'élingues souples, le risque d'endommagement de l'isolant extérieur appliqué sur le tuyau lors de la fabrication est éliminé.
Des sections séparées de gazoducs doivent souvent être construites dans des tunnels (par exemple, sous des canaux). Dans de tels cas, des complexes mécanisés spéciaux sont utilisés, équipés de vérins et d'autres équipements nécessaires. Des opérateurs qualifiés sont responsables de leur gestion.
Pour la pose souterraine de gazoducs, les tuyaux en polyéthylène sont les mieux adaptés. Ils se caractérisent par leur faible poids, leur résistance à la corrosion et leur facilité d'installation.
Technologie de pose d'autoroutes souterraines
Ces systèmes sont assemblés comme suit:
- le marquage de la bande de construction et le découpage géodésique des angles de rotation horizontaux et verticaux sont effectués ;
- les travaux de terrassement sont effectués par une excavatrice à godet unique avec une pelle rétro;
- l'achèvement manuel de la tranchée est effectué ;
- le fond de la tranchée est nivelé;
- les tuyaux sont livrés sur le site immédiatement avant la pose ;
- les tuyaux sont inspectés pour détecter les défauts ;
- les cils sont posés dans une tranchée;
- des travaux de soudage et de raccordement sont effectués ;
- des tests de gazoducs sont en cours;
- travaux de remblayage des tranchées en cours.
Il n'est pas permis de préparer à l'avance une tranchée pour la pose d'un gazoduc selon les normes. Il ne devrait pas y avoir de pierres et de débris au fond. Les tuyaux sont soudés dans un fouet à l'extérieur de la tranchée. Cela élimine la possibilité de fuites futures. Lors de l'abaissement des cils, ils ne doivent pas être autorisés à toucher le fond et les murs.

La réglementation autorise le montage de gazoducs pendant la saison hivernale. Cependant, dans ce cas, la tranchée est censée être creusée jusqu'au sol non gelé. Dans les zones rocheuses, les tuyaux sont posés sur un coussin de sable. L'épaisseur de ce dernier doit être d'environ 200 mm. Cela élimine le risque d'endommagement des tuyaux dû au contact avec des pierres.
Pose souterraine d'un tuyau de gaz: technologie, GOST, vidéo
Pour la pose d'un gazoduc souterrain, il est nécessaire de prévoir que la chaussée est bloquée, et l'entreprise qui installe le gazoduc souterrain, à l'aide de projets routiers, dessine un plan de terrain pour l'emplacement de l'équipement et indique sur le dessin la géométrie exacte des objets qui sont adjacents aux bâtiments. Cela garantira que les panneaux de signalisation sont correctement positionnés pour restreindre l'accès à l'autoroute ou au terrain où le système de gaz souterrain doit être installé.
Un tel arrangement de panneaux d'interdiction doit être convenu avec l'autorité territoriale de l'inspection des routes, qui, à son tour, si une décision positive est prise, doit émettre un arrêté d'autorisation pour l'installation de voies souterraines.

pose d'un tuyau de gaz dans une section au-dessus du sol
Conseils de pose
Ainsi, lors de l'exécution des travaux d'installation, les éléments suivants sont pris en compte
une.Il est nécessaire de poser le système de gaz à un niveau de profondeur dont l'indicateur est d'au moins 80 cm au sommet de la structure (boîte). Dans les zones où le passage des moissonneuses-batteuses et des équipements agricoles n'est pas prévu, une profondeur d'au moins 60 cm est autorisée pour la mise en place d'ouvrages souterrains.
2. Pour les terrains instables à l'érosion et aux glissements de terrain, le niveau de profondeur où l'installation du gazoduc aura lieu doit être au moins les limites de la zone où des processus destructeurs sont possibles, et pas moins de 50 cm sous le niveau de le miroir coulissant.
3. Dans les zones où les autoroutes et les systèmes de communication se croisent sous terre à diverses fins, les autoroutes qui transmettent une source de chaleur, les systèmes sans canal, ainsi que dans les zones où le gazoduc traverse les parois des puits, la structure doit être placée dans une boîte ou Cas. S'il croise des réseaux de chauffage, une installation dans un boîtier métallique (acier) est nécessaire.
4. S'il existe des structures avec différents indicateurs de pression dans une zone peuplée, le conduit doit être installé au niveau des réseaux d'ingénierie, qui sont situés sous terre et qui, à leur tour, sont en dessous du niveau du gazoduc. Les extrémités de la boîte doivent être sorties des deux côtés des murs extérieurs des systèmes de communication, en tenant compte de l'écart, qui ne doit pas être inférieur à 2 mètres. S'il y a une intersection avec le puits, l'écart doit être maintenu à 2 cm.En utilisant l'imperméabilisation, il est nécessaire de mettre des bouchons aux extrémités de la boîte.
5.Au sommet de la pente (à l'exception de la zone où les parois du puits se croisent) d'un côté de la boîte, il est nécessaire de construire un tube de contrôle, qui sera situé sous le dispositif de protection.
6. Il n'est pas interdit de poser un câble de fonctionnement (par exemple, un câble de protection électrique, un câble de communication) entre les structures du système et le conduit, qui est destiné à desservir les réseaux de distribution.

poser une conduite de gaz autour du site de vos propres mains
Particularités du produit
Dans les travaux de construction, des éléments de construction et des tuyaux en polyéthylène sont utilisés, qui ont un indice de réserve d'une propriété telle que la résistance, pas moins de 2. De tels éléments sont installés, leur indice de pression peut atteindre 0,3 MPa, dans les zones peuplées (villes , villages) et sa circonférence.
Il est nécessaire de poser des produits utilisant des nœuds de raccordement en polyéthylène et des nœuds à gaz avec une marge d'au moins 2,6. Lors de la pose de systèmes dont la chute de pression est de l'ordre de 0,306 MPa dans une zone peuplée, il est nécessaire d'utiliser des nœuds de raccordement et des tuyaux ayant un indice de résistance de réserve d'au moins 3,2.

pose d'un tuyau de gaz souterrain dans une maison privée
Règles pour le placement des puits d'égout
puits
les systèmes d'assainissement sont une partie importante du réseau, permettant
maintenance, nettoyage, technologie de déplacement du flux. Ils sont installés à un niveau donné
distance
La densité des contenants dépend du diamètre
canaliser. Par exemple, pour une ligne de 150 mm entre les réservoirs d'inspection, il devrait y avoir
35 m.Pour les tuyaux de 200 et jusqu'à 450 mm, la distance entre les puits passe à 50
M.Ces normes sont déterminées par les spécificités du travail et les paramètres de l'équipement, qui
nettoie les canaux. Vous ne pouvez pas les casser, car à cause de cela va disparaître
possibilité de restaurer le réseau.
Comment
doit être éloigné de
gazoduc à l'égout, les normes ne l'indiquent pas directement. Principal
les exigences concernent les écarts entre les fondations, les limites du site,
puits ou puits, réservoirs, etc. On pense que les menaces de
Il n'y a pas de gazoduc du côté des égouts. Cependant, tant pour le réseau d'égouts que pour
et pour les communications gaz, les normes sanitaires et de protection s'appliquent. Ils ne sont pas
répondre aux exigences techniques, ce qui devient souvent une source de controverse et
désaccords.
Ainsi, pour les gazoducs
la zone de sécurité est de 2 m autour du tuyau. Zone de sécurité des égouts
est de 5 m autour du pipeline ou du puits. Par conséquent, la distance entre le gazoduc et
les égouts selon les normes SanPiN doivent être d'au moins 7 m.
prévoir la construction de grands bâtiments, mais dans la construction privée, effectuer
une telle exigence n'est pas possible. Taille des parcelles, proximité d'autres objets et autres
facteurs qui interfèrent avec la conformité.
Il convient de tenir compte du fait que la zone de sécurité des communications augmente considérablement s'il y a des réservoirs, des puits d'eau potable et d'autres plans d'eau à proximité. Par conséquent, l'emplacement des pipelines fait l'objet de controverses constantes. Ils sont autorisés, guidés par les conditions d'emplacement du bâtiment, la taille du site et d'autres facteurs. Dans le même temps, le droit formel de se plaindre des violations de la pose de réseaux dans les services SES demeure, même s'ils ne s'efforcent pas trop de l'utiliser.
Étapes de la pose en transit du gazoduc
Des systèmes de contrôle du gaz sont installés tout au long du pipeline
Lorsqu'il y a des bâtiments sur le trajet du gazoduc, une décision d'ingénierie est prise sur le transit passant par la façade ou une fondation en bande haute, en fonction de la structure du bâtiment.
La procédure comprend les étapes suivantes :
- Entraînement. Les calculs sont effectués, la documentation du projet est établie. Le mur est nettoyé de la finition extérieure, un trou du diamètre souhaité y est pratiqué.
- Montage. Un manchon est inséré dans le trou réalisé. La définition de l'horizontale est faite et les supports proches et ultérieurs sont installés à son niveau. Le tuyau est passé à travers le bâtiment et en sort de la même manière. Lors de l'entrée d'un gazoduc dans un bâtiment, les exigences du SNiP sont respectées à chaque phase de la pose.
- Contrôle et réception des travaux. Contrôle de la commission de l'étanchéité du système, de l'exhaustivité et de l'exactitude de l'installation des instruments et de l'équipement. Des mesures sont également prises par rapport aux distances normalisées du chauffage, des appareils électriques et des systèmes d'approvisionnement en eau.
Les modifications apportées sont reflétées dans le passeport technique de la maison.
Conduites de gaz en polymère
Pour les options de gazéification en surface, il est recommandé d'utiliser des tuyaux en alliages d'acier faiblement allié résistants aux influences extérieures.
Caractéristiques des structures en plastique
La pose souterraine permet l'utilisation de tuyaux en polypropylène, ce qui réduit les coûts d'installation et offre de nombreux autres avantages.
Les avantages sont dus, tout d'abord, aux propriétés du matériau :
- haute résistance à la corrosion, qui affecte positivement non seulement le coût d'installation, mais réduit également les coûts d'exploitation;
- facilité de traitement - le matériau est bien coupé, soudable, ce qui simplifie l'installation;
- idéalement même la cavité interne offre de bonnes propriétés de débit, les caractéristiques du matériau permettent d'éviter leur réduction lors de l'utilisation ;
- le manque de sensibilité aux courants électriques, qui assure une sécurité élevée, élimine le besoin de protection supplémentaire.
En plus de ces avantages, ces tuyaux présentent un haut niveau de flexibilité, ce qui leur permet d'être utilisés dans le forage horizontal.

Les tuyaux en polypropylène remplacent progressivement leurs homologues métalliques en raison de leur grande fiabilité et durabilité.
À cela, il convient d'ajouter une petite masse, qui est plusieurs fois inférieure à la contrepartie en acier. Un avantage important est la durée de vie d'environ 50 ans. Pendant tout ce temps, le système fonctionne sans perte des caractéristiques définies.
Restrictions de tuyau
Malgré la haute résistance aux influences extérieures, de tels tuyaux ne peuvent pas toujours être utilisés. Il existe un certain nombre de restrictions en vertu desquelles leur installation n'est pas autorisée.
Ceux-ci inclus:
- conditions climatiques dans lesquelles la température descend en dessous de 45 ° C, ce qui entraîne le gel du sol et des parois de la sortie;
- l'utilisation d'options d'hydrocarbures liquéfiés ;
- activité sismique élevée d'une magnitude supérieure à 7 points, lorsqu'il n'y a aucune possibilité de contrôle par ultrasons de l'intégrité des joints de couture.
De plus, les matériaux en polypropylène ne peuvent pas être utilisés pour créer tous les types de communications en surface, y compris les sections de contournement à travers des barrières naturelles ou artificielles.

Les autoroutes et leurs branches, passant au-dessus de la route ou d'autres obstacles, doivent être faites uniquement de métal
Leur pose à travers des tunnels, des collecteurs, des canaux est exclue.Pour entrer le système dans la maison et le câbler, seuls des analogues en acier sont utilisés.
Des recommandations supplémentaires pour le choix des tuyaux pour la pose d'un gazoduc sont données dans l'article - Conduites de gaz: un aperçu comparatif de tous les types de conduites de gaz + comment choisir la meilleure option













































