- Soupape de sécurité - tout sur les types, le principe de fonctionnement et l'appareil
- Règles d'installation et de configuration
- Outils et matériaux nécessaires
- L'avancement des travaux
- Choix
- Dispositif et principe de fonctionnement selon le type
- Levier-cargaison
- le printemps
- Soupapes de décharge thermique
- Critères de sélection des soupapes de sécurité
- Mécanisme de pressage
- hauteur de levage
- Vitesse de mouvement
- Diamètre
- Fabricant
- Types de groupes de sécurité et principe de choix du modèle approprié
- Modèles à levier
- Modèles sans levier
- Nœuds de sécurité pour gros chauffe-eau
- Modèles de la performance originale
- Différence de marquage de cas
- Autres types de vannes
- Caractéristiques de conception et tailles
- Objet, dispositif, classification du PZK
- Conditions de fonctionnement de la vanne
- Pourquoi les vannes de batterie sont nécessaires
- Variétés
- Exigences d'installation de la vanne
- Conclusions et vidéo utile sur le sujet
Soupape de sécurité - tout sur les types, le principe de fonctionnement et l'appareil
Sur le marché des raccords de sécurité pour chaudières et systèmes de chauffage, le créneau principal est occupé par les soupapes de sécurité à ressort. De nombreux fabricants fabriquent des modèles de différents diamètres et pour différentes plages de réglage.L'objectif principal de la soupape de sécurité est de protéger les systèmes de canalisations et les chaudières contre les surpressions. L'avantage de cet équipement est son fonctionnement automatique. Si la pression de réglage du liquide de refroidissement est dépassée, la vanne s'ouvre et commence à évacuer l'excès de liquide de refroidissement dans la conduite de sortie. Lorsque la pression tombe dans les limites de fonctionnement, la vanne se ferme automatiquement et arrête l'évacuation du liquide de refroidissement.
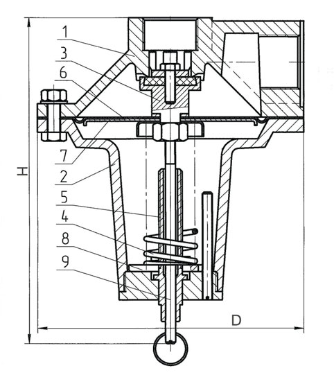
Dispositif de soupape de décharge à ressort
La soupape de sécurité à ressort est un corps en laiton ou en bronze, à l'intérieur duquel se trouve un mécanisme à ressort de sécurité. Ce mécanisme est basé sur un ressort en acier, protégé des influences extérieures par un capuchon en plastique, qui sert également de stylo test. La poignée de test permet, si nécessaire, de forcer manuellement l'ouverture de la vanne pour vérifier ses performances. Pour une protection fiable du mécanisme à ressort contre la pénétration de liquide de refroidissement, il existe une membrane en caoutchouc éthylpropylène.
Le principe de fonctionnement de la soupape de sécurité à ressort
Le principe de fonctionnement de la soupape de sécurité repose sur l'opposition mutuelle sur la vanne de la pression de l'eau, qui tend à ouvrir la vanne, et de la force du ressort, visant à maintenir la vanne en position fermée. La soupape de sécurité sera fermée jusqu'à ce que la pression de l'eau sur la porte dépasse la force du ressort. Il convient de noter que la vanne commence à fonctionner déjà à une pression inférieure d'environ 3 % à la pression de tarage.Si la pression dans le système continue de croître, cela entraîne une nouvelle montée de la vanne (proportionnelle à la pression du liquide de refroidissement) et une augmentation uniforme du volume d'eau évacuée. L'ouverture complète de la soupape de sécurité se produit à une pression d'environ 110-115 % du réglage (selon le modèle). Une fois l'excès de liquide de refroidissement évacué, la pression dans le système commencera à diminuer et dès que la force du ressort de la soupape de sécurité dépassera la pression statique et dynamique de l'eau sortante, l'obturateur se fermera. La fermeture complète de la soupape de sécurité se produira lorsque la pression dans le système chutera à 80 % du réglage.
Réglage de la soupape de décharge à ressort
Le réglage de la soupape de sécurité est effectué sur le lieu d'installation, après l'achèvement de tous les travaux d'installation et le rinçage du système de chauffage.
Le réglage de la pression dans la soupape de sécurité à ressort est effectué en tournant une vis de réglage spéciale qui comprime le ressort, qui presse la soupape contre le siège. Après cela, la pression de fonctionnement de la vanne, son ouverture et sa fermeture complètes sont vérifiées.
Dans certaines soupapes de sécurité, le fabricant a déjà réglé et fixé la pression de réponse en usine, de sorte qu'un réglage automatique de la pression n'est plus possible. Ils ont un couvercle spécial non amovible qui protège contre la reconfiguration de la valve. Pour faciliter l'utilisation, les fabricants introduisent un marquage de couleur des bouchons en fonction de la pression de tarage : noir - 1,5 bar, rouge - 3 bar, jaune - 6 bar (soupapes de sécurité Valtec VT 490).
Les fabricants recommandent de nettoyer périodiquement les soupapes de sécurité dans les cas où le système de chauffage fonctionne de manière stable, sans surpression. Cela est dû au fait que la vanne est hors service pendant une longue période, ce qui peut l'obstruer avec divers contaminants. Pour nettoyer la soupape de sécurité ("sabotage"), il est nécessaire de tourner le capuchon dans le sens de la flèche jusqu'à ce qu'un clic caractéristique se fasse entendre. Cette procédure évite les fuites, dont la plupart sont causées précisément par un colmatage et un ajustement lâche ultérieur de la soupape sur le siège de soupape.
Parlez de nous à vos amis :
La source
Règles d'installation et de configuration
Après avoir planifié une installation indépendante d'une soupape de sécurité pour le chauffage, vous devez préparer à l'avance un ensemble d'outils. Au travail, vous ne pouvez pas vous passer de clés à molette et clés, d'un tournevis cruciforme, d'une pince, d'un ruban à mesurer, d'un mastic silicone.
Avant de commencer les travaux, vous devez déterminer un endroit approprié pour l'installation. Il est recommandé de monter la soupape de sécurité sur la conduite d'alimentation près de la sortie de la chaudière. La distance optimale entre les éléments est de 200-300 mm.
Tous les fusibles domestiques compacts sont filetés. Pour obtenir une étanchéité complète lors de l'enroulement, il est nécessaire de sceller le tuyau avec du câble ou du silicone. Il n'est pas souhaitable d'utiliser du ruban FUM, car il ne résiste pas toujours à des températures extrêmement élevées.
Dans la documentation réglementaire fournie avec chaque appareil, le processus d'installation est généralement décrit étape par étape.
Certaines règles d'installation clés sont les mêmes pour tous les types de vannes :
- si le fusible n'est pas monté dans le cadre d'un groupe de sécurité, un manomètre est placé à côté de celui-ci ;
- dans les soupapes à ressort, l'axe du ressort doit avoir une position strictement verticale et être situé sous le corps de l'appareil ;
- dans les équipements à levier, le levier est placé horizontalement;
- sur la section de la canalisation entre l'équipement de chauffage et le fusible, il est interdit d'installer des clapets anti-retour, des robinets, des vannes d'arrêt, une pompe de circulation;
- pour éviter d'endommager le corps lors de la rotation de la vanne, il est nécessaire de sélectionner avec une clé du côté où le vissage est effectué;
- un tuyau de vidange qui évacue le liquide de refroidissement dans le réseau d'égout ou tuyau de retour est relié au tuyau de sortie de la vanne ;
- le tuyau de sortie n'est pas relié directement à l'égout, mais avec l'inclusion d'un entonnoir ou d'une fosse;
- dans les systèmes où le fluide circule naturellement, la soupape de sécurité est placée au point le plus haut.
Le diamètre conditionnel de l'appareil est sélectionné sur la base de méthodes développées et approuvées par Gostekhnadzor. Pour résoudre ce problème, il est plus sage de demander l'aide de professionnels.
Si ce n'est pas possible, vous pouvez essayer d'utiliser des programmes de calcul en ligne spécialisés.
Pour réduire les pertes hydrauliques en moyenne pression sur le disque de la vanne, un équipement de secours est installé avec une pente vers la chaufferie
Le type de structure de serrage affecte le réglage de la vanne. Les luminaires à ressort ont un capuchon. La précharge du ressort est ajustée en le tournant. La précision de réglage de ces produits est élevée : +/- 0,2 atm.
Dans les dispositifs à levier, les réglages sont effectués en augmentant la masse ou en déplaçant la charge.
Après 7 à 8 opérations dans le dispositif d'urgence installé, le ressort et la plaque s'usent, ce qui peut rompre l'étanchéité. Dans ce cas, il est conseillé de remplacer la valve par une neuve.
Outils et matériaux nécessaires
Pour installer la vanne, vous aurez besoin de :
- clé;
- fum - ruban adhésif ou remorquage;
- pâte spéciale pour sceller les joints.
L'avancement des travaux
Chaque produit conçu pour soulager la surpression est fourni avec des instructions d'installation, qui doivent être lues attentivement avant de commencer les travaux. Avant l'installation, il est également nécessaire de débrancher le chauffe-eau du secteur et d'en vidanger l'eau. La vanne doit être placée sur la ligne d'eau froide jusqu'au robinet d'arrêt. La séquence d'installation de la vanne est la suivante :
- marquage du site d'installation ;
- retrait d'une partie du tuyau d'une taille correspondant à la longueur du corps de l'appareil ;
- filetage aux extrémités des tuyaux :
- enduire la partie filetée d'étoupe ou de ruban fumé ;
- enrouler la vanne sur les filetages de tuyau ;
- reliant à un autre tuyau de dérivation un tube menant au réseau d'égouts.
- serrer la connexion filetée avec une clé à molette;
- sceller la jonction avec une pâte spéciale;
- réglage de l'appareil, conformément aux valeurs du passeport (si nécessaire).
Choix
Il est très important de choisir la bonne soupape de sécurité pour le système de chauffage, ce qui empêchera la chaudière de déborder et réduira la pression. Pour que la vanne fonctionne correctement, vous devez :
- Sélectionnez un équipement à ressort dans lequel le ressort s'opposera à la pression du liquide de refroidissement.
- Décidez de la taille et du type d'appareil afin que la pression dans le système de chauffage ne dépasse pas les valeurs autorisées, car c'est cela qui devrait aider le système à fonctionner.
- Une vanne ouverte doit être sélectionnée si l'eau est évacuée dans l'atmosphère et une vanne fermée si l'eau est évacuée dans la conduite de retour.
- Les vannes à pleine levée et à faible levée doivent de préférence être sélectionnées en fonction de leur capacité.
- Lors du rejet d'eau dans l'atmosphère, il est recommandé d'installer des appareils de type ouvert. Pour les chaudières à mazout, il convient de sélectionner des vannes à faible levée, pour les chaudières à gaz, des vannes à pleine levée.
Dispositif et principe de fonctionnement selon le type
Levier-cargaison

Les soupapes de sécurité à levier sont utilisées exclusivement dans les systèmes industriels, conçus pour les charges lourdes et les diamètres de canalisation supérieurs à 200 mm.
La charge accrochée au levier exerce une pression sur la tige. Lorsque la force exercée par la pression dans le système d'un côté dépasse la force exercée par la charge de l'autre côté, la tige s'ouvre, libérant du liquide de refroidissement ou de la vapeur. Dès que la force de pression à l'intérieur du système devient insuffisante (elle n'atteint pas un point critique), la tige sous le poids de la charge sur le levier ferme le système.
Soupape de décharge à levier dans la section.
Ainsi, la pression critique à laquelle il est nécessaire de réinitialiser est régulée par la longueur du levier et le poids sur celui-ci.
le printemps

Plus moderne et moins chère est la soupape de sécurité à ressort. Il n'est pas inférieur en efficacité à la cargaison à levier, fiable et a des dimensions compactes, il est donc largement utilisé dans les systèmes de chauffage individuels pour les maisons privées.
Une soupape de décharge à ressort fonctionne sur le même principe, seulement au lieu d'une charge, un ressort agit sur la tige :
- de l'intérieur, un courant d'eau ou de vapeur exerce une pression sur l'obturateur de l'appareil ;
- d'autre part, une bobine pressée par une tige, sur laquelle agit un ressort ;
- la pression dans le système dépasse la force de serrage du ressort, la tige du tiroir monte, une dépressurisation se produit;
- le liquide de refroidissement ou la vapeur sort par le tuyau de sortie ;
- la pression à l'intérieur du système diminue et devient inférieure à la force de serrage du ressort, qui referme l'obturateur, ramenant le mécanisme à sa position d'origine.
Le principe de fonctionnement d'une soupape de sécurité à ressort conçue pour un système de chauffage individuel.
Il existe à la fois des vannes conçues pour une pression spécifique (par exemple, 3, 6 ou 8 bars), ainsi que des vannes réglables, dont la pression critique à relâcher est définie lors de l'installation. Ils peuvent également être ouverts ou fermés. La première décharge d'eau ou de vapeur dans l'environnement extérieur, vannes fermées - dans la canalisation qui leur est connectée.
Soupapes de décharge thermique

Les soupapes de sécurité à ressort sont également imparfaites. Outre le fait qu'ils fonctionnent exclusivement dans des systèmes fermés (puisque l'ébullition du liquide de refroidissement dans un système avec un vase d'expansion ouvert peut se produire sans augmenter la pression), les mécanismes à ressort se déclenchent lorsque la température du liquide de refroidissement a déjà dépassé une marque significative - plus de 95-100°C.
La plus efficace, mais extrêmement coûteuse, est la soupape de décharge thermique, qui réagit à une augmentation de la température du liquide de refroidissement et non à la pression dans le système.Le principe de fonctionnement réside dans la même membrane, qui est contrôlée par un ressort, mais elle n'est pas entraînée par la pression du débit d'eau, mais par un liquide thermosensible, qui se dilate considérablement lorsqu'il est chauffé par le liquide de refroidissement.
Critères de sélection des soupapes de sécurité
Mécanisme de pressage
Les soupapes de sécurité à levier sont conçues pour des charges lourdes et un diamètre de tuyau d'au moins 200 mm, elles sont donc utilisées dans les systèmes de chauffage industriels.
Pour le chauffage individuel d'une maison privée, il est préférable d'acheter un appareil avec un mécanisme à ressort; il s'agit d'un type de soupape de décharge standard, fiable et couramment utilisé.
hauteur de levage
Les soupapes de surpression ont différentes hauteurs de levée de soupape :
-
Modèle à faible levée PS-350.Low-lift. La hauteur de l'obturateur des soupapes à faible levée ne dépasse pas 1/20 du diamètre du siège. Ils ont un débit relativement faible et une conception simple. Sont appliqués dans les autoroutes avec un caloporteur liquide. En règle générale, les robinetteries de sécurité à faible levée sont suffisantes pour un système de chauffage avec un circuit d'eau d'une puissance allant jusqu'à 40-43 kW. Pour éviter un accident dans de tels systèmes, il est nécessaire de décharger une petite quantité de liquide de refroidissement.
- Ascenseur complet. La hauteur du siège des soupapes à levée totale est supérieure ou égale au diamètre du siège. En règle générale, il s'agit de mécanismes à levier, dont la conception est plus coûteuse et complexe. Les vannes à levée totale ont une capacité de débit élevée et peuvent être installées sur des lignes dans lesquelles circulent des gaz, de la vapeur ou de l'air comprimé.

Modèle à levée totale PN 16.
Vitesse de mouvement
Selon la vitesse de réponse, les soupapes de sécurité sont divisées en proportionnelles et à deux positions.
Dans les systèmes de chauffage d'une maison privée, il est préférable d'utiliser des vannes proportionnelles, encore une fois, elles suffisent pour la plupart des systèmes. Le couvercle d'obturation de tels dispositifs s'ouvre progressivement, proportionnellement à l'augmentation de la pression dans la ligne, respectivement, et le volume du liquide de refroidissement évacué augmente proportionnellement. Ces vannes n'oscillent pas d'elles-mêmes, elles maintiennent le bon niveau de pression et sont moins chères.
Les raccords de sécurité à deux positions se caractérisent par un sabotage instantané et une ouverture complète de la vanne. Un tel mécanisme vous permet de vider rapidement de gros volumes de liquide de refroidissement, cependant, il crée un risque de coup de bélier: en raison de la décharge rapide d'une grande quantité de liquide de refroidissement, la pression dans la conduite diminue considérablement, après quoi la vanne se ferme brusquement . Par conséquent, il est recommandé d'installer des soupapes de sécurité à deux positions sur des lignes avec un fluide compressible (air, gaz, vapeur).
Diamètre
Le diamètre de la soupape de surpression dans le système de chauffage ne doit pas être inférieur au raccord d'entrée. Sinon, la pression hydraulique constante interférera avec le fonctionnement du mécanisme.
Fabricant
Étant donné que les soupapes de sécurité ont une conception assez simple et que les modèles modernes sont dans la plupart des cas en laiton utilisant la même technologie, il n'y a pas de différences critiques entre les raccords de différents fabricants.
Types de groupes de sécurité et principe de choix du modèle approprié
La soupape de sécurité standard d'une chaudière peut différer par plusieurs caractéristiques de conception. Ces nuances ne changent pas la fonctionnalité de l'appareil, mais simplifient seulement l'utilisation et la maintenance.Pour choisir le bon groupe de sécurité, vous devez savoir quel type de soupapes de sécurité pour chaudières sont et en quoi elles diffèrent.
Modèles à levier
Le type le plus courant de nœud de sécurité standard est le modèle à levier. Un tel mécanisme peut être activé manuellement, ce qui est pratique lors de la vérification ou de la vidange de l'eau du réservoir de la chaudière. Ils font comme ça :
- le levier situé horizontalement est installé verticalement;
- la connexion directe à la tige actionne le mécanisme à ressort ;
- la plaque de la soupape de sécurité ouvre le trou de force et l'eau commence à couler du raccord.
Même si une vidange complète du réservoir n'est pas nécessaire, une vidange de contrôle est effectuée mensuellement pour vérifier le fonctionnement du groupe de sécurité.
Les produits diffèrent par la conception du levier et du raccord pour l'évacuation de l'eau. Si possible, mieux vaut choisir un modèle avec un drapeau fixé au corps. La fixation est faite avec un boulon qui empêche l'ouverture manuelle du levier par les enfants. Le produit a une forme à chevrons pratique avec trois filetages, ce qui garantit un ajustement sûr du tuyau.
Le modèle le moins cher n'a pas de serrure à drapeau. Le levier peut être accidentellement attrapé à la main et une vidange inutile de l'eau commencera. Le raccord est court, avec une seule bague filetée. Fixer le tuyau à un tel rebord n'est pas pratique et peut être arraché avec une forte pression.
Modèles sans levier
Les soupapes de décharge sans levier sont l'option la moins chère et la moins pratique. Ces modèles sont souvent équipés d'un chauffe-eau. Les plombiers expérimentés les jettent tout simplement.Les nœuds fonctionnent de la même manière que les modèles à levier, sauf qu'il n'y a aucun moyen d'effectuer manuellement une vidange de contrôle ou de vider le réservoir de la chaudière.
Les modèles sans levier se déclinent en deux versions : avec couvercle au bout du corps et sourd. La première option est plus pratique. Lorsqu'il est bouché, le couvercle peut être dévissé pour nettoyer le mécanisme. Un modèle sourd ne peut pas être vérifié pour ses performances et détartré. Les raccords de décharge de liquide pour les deux vannes sont courts avec une bague filetée.
Nœuds de sécurité pour gros chauffe-eau
Des soupapes de sécurité améliorées sont installées sur les chauffe-eau d'une capacité de réservoir de stockage de 100 litres ou plus. Ils fonctionnent de la même manière, sauf qu'ils sont en outre équipés d'un robinet à tournant sphérique pour la vidange forcée, ainsi que d'un manomètre.
Une attention particulière doit être portée au raccord de sortie de fluide. Il est sculpté. Une fixation fiable empêche le tuyau d'être arraché par une forte pression et élimine l'utilisation peu pratique de la pince
Une fixation fiable empêche le tuyau d'être arraché par une forte pression et élimine l'utilisation peu pratique de la pince.
Modèles de la performance originale
Pour les amateurs d'esthétique et de confort, les fabricants proposent des nœuds de sécurité au design original. Le produit est complété par un manomètre, chromé, donne une forme élégante. Les produits sont beaux, mais leur coût est élevé.
Différence de marquage de cas
Les produits de qualité sur l'étui doivent être marqués. Le fabricant indique la pression maximale admissible, ainsi que la direction du mouvement de l'eau. Le deuxième marquage est une flèche. Cela aide à déterminer de quel côté placer la pièce sur le tuyau de la chaudière.
Sur les modèles chinois bon marché, les marquages manquent souvent.Vous pouvez déterminer la direction du liquide sans flèche. La plaque du clapet anti-retour doit s'ouvrir vers le haut par rapport au gicleur de la chaudière afin que l'eau de l'alimentation en eau pénètre dans le réservoir. Mais il ne sera pas possible de déterminer la pression admissible sans marquage. Si l'indicateur ne correspond pas, le groupe de sécurité fuira constamment ou, en général, ne fonctionnera pas en cas d'urgence.
Autres types de vannes
En essayant d'économiser de l'argent sur le groupe de sécurité, ils essaient d'installer une soupape de décharge conçue pour le système de chauffage sur le chauffe-eau. Les nœuds ont des fonctionnalités similaires, mais il y a une mise en garde. La soupape de décharge n'est pas en mesure de libérer progressivement le liquide. Le mécanisme fonctionnera lorsque la surpression atteindra un point critique. La soupape de décharge ne peut purger toute l'eau du réservoir qu'en cas d'accident.
Séparément, il convient d'envisager l'installation d'un seul clapet anti-retour. Le mécanisme de ce nœud, au contraire, verrouille l'eau à l'intérieur du réservoir, l'empêchant de s'écouler dans la canalisation. Avec une surpression, la plaque de travail avec la tige n'est pas en mesure de travailler dans le sens opposé, ce qui entraînera une rupture du réservoir.
Caractéristiques de conception et tailles
Le PSK ne peut pas être fabriqué de manière artisanale, les produits sont fabriqués en usine conformément aux exigences de GOST ou TU.
Le matériau doit être solide, résistant à l'usure, non sujet à la déformation due aux changements des conditions de fonctionnement et non soumis aux effets négatifs de la corrosion. Le plus souvent, il s'agit de laiton ou d'aluminium, mais les appareils sont également en fonte et en acier inoxydable.
La conception des produits varie d'un fabricant à l'autre, mais le type le plus courant est le dispositif à cône et siège équipé de raccords de tuyauterie.
Il y a deux trous filetés dans le corps. Leur diamètre dépend du type de PSK et est généralement de 1″ ou 2″. Pour les réseaux domestiques, on utilise principalement deux types de vannes, de section différente - de 25 mm ou 50 mm.
Tableau avec les caractéristiques techniques du PSK. Les appareils peuvent différer non seulement par leur section, mais également par le type de connexion au pipeline, les indicateurs de pression de fonctionnement, le matériau de fabrication, les dimensions du corps
Le principe de fonctionnement de la soupape de gaz de protection est simple : dès que l'excès de gaz pénètre dans l'appareil et commence à appuyer sur la membrane, il agit sur le ressort qui ouvre la sortie vers l'extérieur. Dès que la pression chute aux paramètres de travail, le ressort ferme le trou.
Bien que les appareils fonctionnent automatiquement, ils sont équipés d'un mécanisme d'ouverture forcée. Ceci est nécessaire pour vérifier les performances de la vanne.
Pour tester, vous devez tirer sur un élément spécial de l'appareil - la traction. Cette manipulation doit être répétée plusieurs fois pour s'assurer que le mécanisme fonctionne.
La vanne d'arrêt et de contrôle est montée en tandem avec la vanne, de sorte que si nécessaire - si la vanne ne fonctionne soudainement pas - coupez rapidement l'alimentation en gaz.
Objet, dispositif, classification du PZK
L'augmentation ou la diminution de la pression du gaz après le régulateur de pression au-delà des limites spécifiées peut entraîner une urgence. Avec une augmentation excessive de la pression du gaz, une séparation des flammes des brûleurs et l'apparition d'un mélange explosif dans le volume de travail des équipements utilisant du gaz, des fuites, des fuites de gaz dans les joints des conduites de gaz et des raccords, une défaillance de l'instrumentation, etc. possible.Une diminution importante de la pression du gaz peut entraîner un retour de flamme dans le brûleur ou une extinction de la flamme, ce qui, si l'alimentation en gaz n'est pas coupée, entraînera la formation d'un mélange gaz-air explosif dans les fours et les conduits de gaz des unités et dans les locaux des bâtiments gazéifiés.
Les raisons de l'augmentation ou de la diminution inacceptable de la pression du gaz après le régulateur de pression pour les réseaux en impasse sont :
- dysfonctionnement du régulateur de pression (blocage du piston, formation de bouchons d'hydrates dans le siège et le corps, fuite de la vanne, etc.) ;
- sélection incorrecte du régulateur de pression en fonction de son débit, conduisant à un mode de fonctionnement à deux positions aux faibles débits de gaz et provoquant des explosions de pression de sortie et des auto-oscillations.
Pour les réseaux en anneau et ramifiés, les raisons d'un changement de pression inacceptable après le régulateur de pression peuvent être :
- dysfonctionnement d'un ou plusieurs régulateurs de pression alimentant ces réseaux ;
- calcul hydraulique incorrect du réseau, en raison duquel des changements brusques de la consommation de gaz par les gros consommateurs entraînent des surpressions de sortie.
Une cause fréquente d'une forte baisse de pression pour tout réseau peut être une violation de l'étanchéité des conduites de gaz et des raccords et, par conséquent, une fuite de gaz.
Pour éviter une augmentation ou une diminution inacceptable de la pression dans la fracturation hydraulique (GRPSh), des vannes d'arrêt de sécurité à grande vitesse (PZK) et des soupapes de sécurité (PSK) sont installées.
Les PZK sont conçus pour arrêter automatiquement l'alimentation en gaz des consommateurs en cas d'augmentation ou de diminution de la pression au-dessus des limites spécifiées ; ils sont installés après les régulateurs de pression. PZK travaille dans des "situations d'urgence", c'est pourquoi leur inclusion spontanée est inadmissible. Avant d'allumer manuellement le dispositif d'arrêt automatique, il est nécessaire de détecter et d'éliminer les dysfonctionnements, et de s'assurer également que les dispositifs d'arrêt devant tous les appareils et unités utilisant du gaz sont fermés. Si, selon les conditions de production, une rupture de l'alimentation en gaz est inacceptable, alors au lieu d'un dispositif de sécurité, un système d'alarme doit être prévu pour alerter le personnel de maintenance.
Les PSK sont conçus pour rejeter dans l'atmosphère un certain volume de gaz en excès du gazoduc après le régulateur de pression afin d'éviter que la pression ne dépasse la valeur de consigne ; ils sont installés après le régulateur de pression sur la conduite de sortie.
En présence d'un débitmètre (compteur de gaz), le PSK doit être installé après le compteur. Pour GRPSh, il est permis de retirer le PSK à l'extérieur de l'armoire. Après avoir réduit la pression contrôlée à une valeur prédéterminée, le PSK doit être fermé hermétiquement.
Conditions de fonctionnement de la vanne
Après vérification et révision, les soupapes sont réglées et subissent le réglage nécessaire pour une pression donnée. Ensuite, l'appareil est scellé. L'installation sans joint est strictement interdite. Toutes les soupapes de sécurité disposent d'un passeport technologique ou de « cartes d'exploitation ».
La durée de vie des soupapes de sécurité dépend directement du bon fonctionnement et de l'entretien. Souvent, au cours du fonctionnement, divers défauts se produisent.
Parmi eux se trouvent ces défauts courants:
- une fuite
- ondulation
- dur à cuire
La fuite se caractérise par le passage du fluide de travail.Se produit lorsque les joints sont endommagés et que des corps étrangers y pénètrent. Ainsi que lorsque le ressort est déformé. Éliminé par le soufflage, le rodage, le remplacement du ressort, une installation correcte ou un nouveau réglage de la soupape.
Pulsation - ouverture/fermeture trop fréquente. Se produit avec une section transversale rétrécie ou un débit élevé. Le problème est éliminé par la sélection correcte des paramètres nécessaires.
Les grippages pendant le fonctionnement se produisent à la suite de distorsions lors de l'assemblage. Éliminé par l'usinage et un assemblage approprié.
Pourquoi les vannes de batterie sont nécessaires
Des vannes sont également installées sur les radiateurs et les batteries du circuit, mais leur fonction principale est d'évacuer l'air du système.
La vanne installée pour le radiateur de chauffage peut être manuelle et automatique. La vanne manuelle s'ouvre et se ferme manuellement à l'aide d'une clé et d'un tournevis.
La vanne automatique de la batterie de chauffage ne nécessite aucune intervention humaine. Il élimine parfaitement l'air, mais son principal inconvénient est sa sensibilité au colmatage dû à la contamination du liquide de refroidissement. Pour éliminer l'air dissous du liquide de refroidissement et le nettoyer de la saleté et de la boue, il est recommandé d'installer des séparateurs d'air.
Variétés
Les types de vannes existants peuvent fonctionner avec les équipements de chaudière des principaux fabricants étrangers (Vaillant, Baxi, Ariston, Navien, Viessmann) et nationaux (Névaluux) sur les combustibles gazeux, liquides et solides dans des situations où le contrôle automatique du fonctionnement du système est dû au type de carburant est difficile ou violé lorsque l'automatisation échoue. Selon la conception et le principe de fonctionnement, les soupapes de sécurité sont réparties dans les groupes suivants :
- Selon la destination de l'équipement dans lequel ils sont installés :
- Pour les chaudières de chauffage de la conception ci-dessus, elles sont souvent fournies sur des raccords en forme de té, dans lesquels un manomètre est en outre installé pour vérifier la pression et une soupape de purge.
- Pour les chaudières à eau chaude, il y a un drapeau pour vidanger l'eau dans la conception.
- Réservoirs et récipients sous pression.
- Conduites sous pression.
- Selon le principe de fonctionnement du mécanisme de serrage:
- A partir d'un ressort dont la force de serrage est régulée par un écrou externe ou interne (son fonctionnement est discuté ci-dessus).
- Levier-charge, utilisé dans les systèmes de chauffage industriels destinés à évacuer de grands volumes d'eau, leur seuil de réponse peut être ajusté par des charges suspendues. Ils sont suspendus à une poignée reliée au tiroir d'arrêt par le principe d'un levier.

Dispositif de modification de la charge du levier
- Vitesses d'actionnement du mécanisme de verrouillage :
- Proportionnel (ressort à faible levée) - la constipation hermétique augmente proportionnellement à la pression et est linéairement liée à son augmentation, tandis que le trou de vidange s'ouvre progressivement légèrement et se ferme de la même manière avec une diminution du volume du liquide de refroidissement. L'avantage de la conception est l'absence de coup de bélier dans divers modes de mouvement de la vanne d'arrêt.
- Deux positions (levage complet du levier-cargaison) - fonctionnent dans les positions ouvertes-fermées. Lorsque la pression dépasse le seuil de réponse, la sortie s'ouvre complètement et le volume excédentaire de liquide de refroidissement est purgé. Une fois la pression dans le système normalisée, la sortie est complètement bloquée, le principal défaut de conception est la présence de coups de bélier.
- Par ajustement :
- Non réglable (avec capuchons de couleurs différentes).
- Réglable avec des vis.
- Selon la conception des éléments de réglage de la compression du ressort avec :
- Rondelle interne, dont le principe de fonctionnement a été discuté ci-dessus.
- Les modèles à vis, écrous externes sont utilisés dans les systèmes de chauffage domestiques et municipaux avec de grands volumes de liquide de refroidissement.
- Avec une poignée, un système de réglage similaire est utilisé dans les vannes industrielles à brides ; lorsque la poignée est complètement relevée, l'eau peut être vidangée une seule fois.

Conceptions de divers modèles de vannes de purge
Exigences d'installation de la vanne

Le dispositif d'élimination de la pression d'eau excessive est installé en tenant compte du vase d'expansion du système de chauffage. La soupape de sécurité est activée après que le volume du réservoir à membrane est épuisé. Le mécanisme est placé sur une canalisation reliée au nez de la chaudière. Distance approximative - 20 - 30 cm.
Dans ce cas, il est impératif de remplir les conditions suivantes :
- Si la vanne est installée séparément du groupe de sécurité, un manomètre doit d'abord être installé afin de contrôler la pression.
- Les vannes, robinets, pompes ne doivent pas être installés entre la vanne et l'unité de chauffage.
- Un tuyau est relié à la vanne (tuyau de sortie) pour évacuer l'excès de liquide de refroidissement.
- Il est recommandé d'installer le mécanisme de protection au point le plus élevé du système de circulation du caloporteur.
- Le dispositif de protection doit être changé après sept ou huit opérations en raison d'une perte d'étanchéité.
Conclusions et vidéo utile sur le sujet
Comment est disposée la soupape de sécurité et en quoi elle consiste :
Vanne d'urgence faisant partie du groupe de sécurité :
En savoir plus sur la sélection et l'installation de la soupape de sécurité optimale :
Une soupape de sécurité est un équipement simple et fiable qui protégera votre maison des urgences imprévues qui surviennent dans les systèmes de chauffage. Pour ce faire, il suffit de choisir un appareil de haute qualité avec des paramètres appropriés, puis d'effectuer sa configuration et son installation compétentes.
Vous recherchez la bonne soupape de sécurité pour votre système de chauffage ? Peut-être avez-vous encore des questions auxquelles vous n'avez pas trouvé de réponses dans le matériel ci-dessus ? Posez-les à nos experts en laissant un commentaire sous l'article.
Ou peut-être souhaitez-vous compléter le matériel avec des faits intéressants et des recommandations utiles ? Ou partager l'expérience de l'installation personnelle de la vanne dans le système ? Écrivez votre opinion sur la nécessité d'un tel dispositif de protection, partagez des conseils sur le choix en fonction de votre expérience personnelle.





























