- Consommation de chaleur pour la ventilation
- La période froide de l'année - HP.
- La troisième méthode est la plus simple - l'humidification de l'air soufflé extérieur dans un humidificateur à vapeur (voir Figure 12).
- Calculs précis de la charge thermique
- Calcul pour les murs et les fenêtres
- Calcul de ventilation
- Calcul des pertes de chaleur dans la maison
- CALCUL DE L'INSTALLATION DE CHAUFFAGE ELECTRIQUE
- 1.1 Calcul thermique des éléments chauffants
- Quels sont les types
- Caractéristiques du système Antares
- Volcan ou volcan
- La séquence d'actions lors de l'installation du chauffage à air
- Conception d'un système de chauffage à air
- Installation d'un système de chauffage à air
- Application de rideaux d'air thermiques
Consommation de chaleur pour la ventilation
Selon son objectif, la ventilation est divisée en alimentation générale, locale et évacuation locale.
La ventilation générale des locaux industriels est effectuée lorsque l'air d'alimentation est fourni, qui absorbe les émissions nocives dans la zone de travail, acquiert sa température et son humidité, et est éliminé à l'aide d'un système d'extraction.
La ventilation locale est utilisée directement sur les lieux de travail ou dans les petites pièces.
Une ventilation par aspiration locale (aspiration locale) doit être prévue lors de la conception de l'équipement de traitement pour éviter la pollution de l'air dans la zone de travail.
En plus de la ventilation dans les locaux industriels, la climatisation est utilisée, dont le but est de maintenir une température et une humidité constantes (conformément aux exigences sanitaires, hygiéniques et technologiques), quels que soient les changements des conditions atmosphériques extérieures.
Les systèmes de ventilation et de climatisation sont caractérisés par un certain nombre d'indicateurs généraux (tableau 22).
La consommation de chaleur pour la ventilation, dans une bien plus grande mesure que la consommation de chaleur pour le chauffage, dépend du type de processus technologique et de l'intensité de la production et est déterminée conformément aux codes et règlements du bâtiment et aux normes sanitaires en vigueur.
La consommation thermique horaire pour la ventilation QI (MJ/h) est déterminée soit par les caractéristiques thermiques spécifiques de ventilation des bâtiments (pour les locaux auxiliaires), soit par
Dans les entreprises de l'industrie légère, divers types de dispositifs de ventilation sont utilisés, y compris des dispositifs d'échange généraux, pour les échappements locaux, les systèmes de climatisation, etc.
La caractéristique thermique spécifique de ventilation dépend de la destination des locaux et est de 0,42 - 0,84 • 10~3 MJ / (m3 • h • K).
Selon les performances de la ventilation de soufflage, la consommation horaire de chaleur pour la ventilation est déterminée par la formule
la durée des unités de ventilation d'alimentation existantes (pour les locaux industriels).
Selon les caractéristiques spécifiques, la consommation de chaleur horaire est déterminée comme suit :
Dans le cas où l'unité de ventilation est conçue pour compenser les pertes d'air lors des extractions locales, lors de la détermination du QI, ce n'est pas la température de l'air extérieur pour le calcul de la ventilation tHv qui est prise en compte, mais la température de l'air extérieur pour le calcul du chauffage /n.
Dans les systèmes de climatisation, la consommation de chaleur est calculée en fonction du schéma d'alimentation en air.
Alors, consommation de chaleur annuelle dans les climatiseurs à passage unique fonctionnant avec l'air extérieur, est déterminé par la formule
Si le climatiseur fonctionne avec recirculation d'air, alors dans la formule par définition Q £ con au lieu de la température de soufflage
La consommation annuelle de chaleur pour la ventilation QI (MJ/an) est calculée par l'équation
La période froide de l'année - HP.
1. Lors de la climatisation pendant la période froide de l'année - HP, les paramètres optimaux de l'air intérieur dans la zone de travail des locaux sont initialement pris:
tÀ = 20 ÷ 22ºC ; φÀ = 30 ÷ 55%.
2. Dans un premier temps, on place des points sur le diagramme J-d en fonction de deux paramètres connus de l'air humide (voir Figure 8) :
- air extérieur (•) N tH = - 28ºC ; JH = - 27,3 kJ/kg ;
- air intérieur (•) V tÀ = 22ºC ; φÀ = 30% avec une humidité relative minimale ;
- air intérieur (•) B1 tEN 1 = 22ºC ; φEN 1 = 55% avec une humidité relative maximale.
En présence d'excès de chaleur dans la pièce, il est conseillé de prendre le paramètre supérieur de température de l'air intérieur de la pièce dans la zone des paramètres optimaux.
3. Nous établissons le bilan thermique de la pièce pour la saison froide - HP:
par la chaleur sensible ∑QХПЯ
par chaleur totale ∑QHPP
4. Calculer le flux d'humidité dans la pièce
∑W
5. Déterminez la tension thermique de la pièce selon la formule :
où : V est le volume de la pièce, m3.
6. Sur la base de l'ampleur de la contrainte thermique, nous trouvons le gradient d'élévation de température le long de la hauteur de la pièce.
Le gradient de température de l'air le long de la hauteur des locaux des bâtiments publics et civils.
| Tension thermique du local Qje/Vpom. | degrés, °C | |
|---|---|---|
| kJ/m3 | W/m3 | |
| Plus de 80 | Plus de 23 | 0,8 ÷ 1,5 |
| 40 ÷ 80 | 10 ÷ 23 | 0,3 ÷ 1,2 |
| Moins de 40 | Moins de 10 | 0 ÷ 0,5 |
et calculer la température de l'air évacué
tOui = tB + degré t(H – hr.z.), ºС
où : H est la hauteur de la pièce, m ; hr.z. — hauteur de la zone de travail, m.
7. Pour assimiler l'excès de chaleur et d'humidité dans la pièce, la température de l'air soufflé est tP, nous acceptons 4 ÷ 5ºС en dessous de la température de l'air interne - tÀ, dans la zone de travail de la pièce.
8. Déterminer la valeur numérique du rapport chaleur-humidité
9. Sur le diagramme J-d, nous connectons le point 0,0 ° C de l'échelle de température par une ligne droite avec la valeur numérique du rapport chaleur-humidité (pour notre exemple, la valeur numérique du rapport chaleur-humidité est de 5 800).
10. Sur le diagramme J-d, nous dessinons l'isotherme d'alimentation - tP, avec une valeur numérique
tP = tÀ - 5, ° C.
11. Sur le diagramme J-d, nous dessinons une isotherme de l'air sortant avec la valeur numérique de l'air sortant - tÀtrouve au point 6.
12. À travers les points d'air interne - (•) B, (•) B1, nous traçons des lignes parallèles à la ligne du rapport chaleur-humidité.
13. L'intersection de ces lignes, qui s'appellera - les rayons du processus
avec isothermes d'alimentation et d'extraction d'air - tP et TÀ détermine les points de soufflage sur le diagramme J-d - (•) P, (•) P1 et prises d'air de sortie - (•) O, (•) O1.
14. Déterminer l'échange d'air par la chaleur totale
et échange d'air pour l'assimilation de l'excès d'humidité
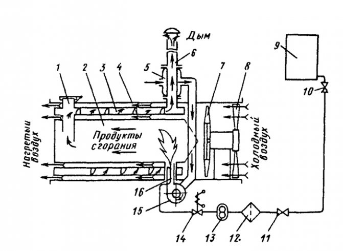
La troisième méthode est la plus simple - l'humidification de l'air soufflé extérieur dans un humidificateur à vapeur (voir Figure 12).
1. Détermination des paramètres de l'air intérieur - (•) B et recherche du point sur le diagramme J-d, voir points 1 et 2.
2. Détermination des paramètres d'air soufflé - (•) P voir points 3 et 4.
3. À partir d'un point avec des paramètres d'air extérieur - (•) H, nous traçons une ligne de teneur en humidité constante - dH = const jusqu'à l'intersection avec l'isotherme d'air soufflé - tP. Nous obtenons le point - (•) K avec les paramètres de l'air extérieur chauffé dans le réchauffeur.
4. Les processus de traitement de l'air extérieur sur le diagramme J-d seront représentés par les lignes suivantes :
- ligne NK - le processus de chauffage de l'air d'alimentation dans l'appareil de chauffage;
- Ligne KP - le processus d'humidification de l'air chauffé avec de la vapeur.
5. En outre, comme au paragraphe 10.
6. La quantité d'air soufflé est déterminée par la formule


7. La quantité de vapeur pour humidifier l'air soufflé chauffé est calculée par la formule
W=GP(réP - réK), g/h
8. La quantité de chaleur pour chauffer l'air soufflé
Q=GP(JK —JH) = GP xC(tK — tH), kJ/h
où : С = 1,005 kJ/(kg × ºС) – capacité calorifique spécifique de l'air.
Pour obtenir la puissance calorifique du réchauffeur en kW, il faut diviser Q kJ/h par 3600 kJ/(h × kW).
Schéma de principe du traitement de l'air soufflé en période froide de l'année HP, pour la 3ème méthode, voir Figure 13.
Une telle humidification est utilisée, en règle générale, pour les industries : médicale, électronique, alimentaire, etc.
Calculs précis de la charge thermique
Valeur de conductivité thermique et résistance au transfert de chaleur pour les matériaux de construction
Mais encore, ce calcul de la charge thermique optimale sur le chauffage ne donne pas la précision de calcul requise. Il ne prend pas en compte le paramètre le plus important - les caractéristiques du bâtiment. Le principal est la résistance au transfert de chaleur du matériau pour la fabrication d'éléments individuels de la maison - murs, fenêtres, plafond et sol. Ils déterminent le degré de conservation de l'énergie thermique reçue du caloporteur du système de chauffage.
Qu'est-ce que la résistance au transfert de chaleur (R) ? C'est l'inverse de la conductivité thermique (λ) - la capacité de la structure du matériau à transférer de l'énergie thermique. Ceux. plus la valeur de conductivité thermique est élevée, plus la perte de chaleur est élevée. Cette valeur ne peut pas être utilisée pour calculer la charge calorifique annuelle, car elle ne tient pas compte de l'épaisseur du matériau (d). Par conséquent, les experts utilisent le paramètre de résistance au transfert de chaleur, qui est calculé par la formule suivante :
Calcul pour les murs et les fenêtres
Résistance au transfert de chaleur des murs des bâtiments résidentiels
Il existe des valeurs normalisées de résistance au transfert de chaleur des murs, qui dépendent directement de la région où se trouve la maison.
Contrairement au calcul élargi de la charge de chauffage, vous devez d'abord calculer la résistance au transfert de chaleur pour les murs extérieurs, les fenêtres, le sol du premier étage et le grenier. Prenons comme base les caractéristiques suivantes de la maison:
- Surface murale - 280 m². Il comprend des fenêtres - 40 m² ;
- Le matériau du mur est de la brique pleine (λ=0,56). L'épaisseur des murs extérieurs est de 0,36 m. Sur cette base, nous calculons la résistance de transmission TV - R \u003d 0,36 / 0,56 \u003d 0,64 m² * C / W;
- Pour améliorer les propriétés d'isolation thermique, une isolation externe a été installée - mousse de polystyrène de 100 mm d'épaisseur. Pour lui λ=0.036. En conséquence R \u003d 0,1 / 0,036 \u003d 2,72 m² * C / W;
- La valeur R globale des murs extérieurs est de 0,64 + 2,72 = 3,36 ce qui est un très bon indicateur de l'isolation thermique de la maison ;
- Résistance au transfert de chaleur des fenêtres - 0,75 m² * C / W (fenêtre à double vitrage avec remplissage d'argon).
En effet, les pertes de chaleur à travers les murs seront :
(1/3.36)*240+(1/0.75)*40= 124 W à 1°C de différence de température
Nous prenons les indicateurs de température de la même manière que pour le calcul élargi de la charge de chauffage + 22 ° С à l'intérieur et -15 ° С à l'extérieur. Un calcul supplémentaire doit être effectué selon la formule suivante :
Calcul de ventilation
Ensuite, vous devez calculer les pertes par ventilation. Le volume d'air total dans le bâtiment est de 480 m³. Dans le même temps, sa densité est approximativement égale à 1,24 kg / m³. Ceux. sa masse est de 595 kg. En moyenne, l'air est renouvelé cinq fois par jour (24 heures). Dans ce cas, pour calculer la charge horaire maximale pour le chauffage, vous devez calculer la perte de chaleur pour la ventilation :
(480*40*5)/24= 4000 kJ ou 1,11 kWh
En résumant tous les indicateurs obtenus, vous pouvez trouver la perte de chaleur totale de la maison :
De cette manière, la charge de chauffage maximale exacte est déterminée. La valeur résultante dépend directement de la température extérieure. Par conséquent, pour calculer la charge annuelle du système de chauffage, il est nécessaire de prendre en compte les changements de conditions météorologiques. Si la température moyenne pendant la saison de chauffage est de -7°C, alors la charge totale de chauffage sera égale à :
(124*(22+7)+((480*(22+7)*5)/24))/3600)*24*150(jours saison chauffage)=15843 kW
En modifiant les valeurs de température, vous pouvez effectuer un calcul précis de la charge thermique pour n'importe quel système de chauffage.
Aux résultats obtenus, il faut ajouter la valeur des pertes de chaleur par le toit et le sol. Cela peut être fait avec un facteur de correction de 1,2 - 6,07 * 1,2 \u003d 7,3 kW / h.
La valeur résultante indique le coût réel du vecteur énergétique pendant le fonctionnement du système. Il existe plusieurs façons de réguler la charge de chauffage du chauffage. Le plus efficace d'entre eux est de réduire la température dans les pièces où il n'y a pas de présence constante de résidents.Cela peut être fait à l'aide de contrôleurs de température et de capteurs de température installés. Mais en même temps, un système de chauffage à deux tuyaux doit être installé dans le bâtiment.
Pour calculer la valeur exacte de la perte de chaleur, vous pouvez utiliser le programme spécialisé Valtec. La vidéo montre un exemple de travail avec elle.
Anatoly Konevetsky, Crimée, Yalta
Anatoly Konevetsky, Crimée, Yalta
Chère Olga ! Désolé de vous recontacter. Quelque chose selon vos formules me donne une charge thermique impensable : Cyr \u003d 0,01 * (2 * 9,8 * 21,6 * (1-0,83) + 12,25) \u003d 0,84 Qot \u003d 1,626 * 25600 * 0,37 * ((22-(- 6)) * 1,84 * 0,000001 \u003d 0,793 Gcal / heure Selon la formule agrandie ci-dessus, il s'avère que 0,149 Gcal / heure.Je ne comprends pas ce qui ne va pas ? Veuillez expliquer !
Anatoly Konevetsky, Crimée, Yalta
Calcul des pertes de chaleur dans la maison
Selon la deuxième loi de la thermodynamique (physique scolaire), il n'y a pas de transfert spontané d'énergie d'objets mini ou macro moins chauffés vers des objets plus chauffés. Un cas particulier de cette loi est la « tentative » de créer un équilibre de température entre deux systèmes thermodynamiques.
Par exemple, le premier système est un environnement avec une température de -20°C, le second système est un bâtiment avec une température intérieure de +20°C. Selon la loi ci-dessus, ces deux systèmes auront tendance à s'équilibrer par l'échange d'énergie. Cela se produira à l'aide des pertes de chaleur du deuxième système et du refroidissement du premier.
Nous pouvons certainement dire que la température ambiante dépend de la latitude à laquelle se trouve la maison privée. Et la différence de température affecte la quantité de fuite de chaleur du bâtiment (+)
Par perte de chaleur, on entend un dégagement involontaire de chaleur (énergie) d'un objet (maison, appartement). Pour un appartement ordinaire, ce processus n'est pas si «perceptible» par rapport à une maison privée, car l'appartement est situé à l'intérieur du bâtiment et «adjacent» à d'autres appartements.
Dans une maison privée, la chaleur "part" à un degré ou à un autre à travers les murs extérieurs, le sol, le toit, les fenêtres et les portes.
Connaissant la quantité de chaleur perdue pour les conditions météorologiques les plus défavorables et les caractéristiques de ces conditions, il est possible de calculer la puissance du système de chauffage avec une grande précision.
Ainsi, le volume de fuite de chaleur du bâtiment est calculé par la formule suivante :
Q=Qsol+Qmur+Qla fenêtre+Qtoit+QPorte+…+Qje, où
Qi est le volume de perte de chaleur d'un type uniforme d'enveloppe de bâtiment.
Chaque composant de la formule est calculé par la formule :
Q=S*∆T/R, où
- Q est la fuite thermique, V ;
- S est la surface d'un type particulier de structure, sq. m;
- ∆T est la différence de température entre l'air ambiant et l'intérieur, °C ;
- R est la résistance thermique d'un certain type de construction, m2*°C/W.
Il est recommandé de prendre la valeur même de la résistance thermique pour les matériaux réellement existants à partir de tables auxiliaires.
De plus, la résistance thermique peut être obtenue en utilisant la relation suivante :
R=d/k, où
- R - résistance thermique, (m2 * K) / W;
- k est la conductivité thermique du matériau, W/(m2*K) ;
- d est l'épaisseur de ce matériau, m.
Dans les vieilles maisons avec une structure de toit humide, les fuites de chaleur se produisent par la partie supérieure du bâtiment, à savoir par le toit et le grenier. Réalisation de mesures pour isoler le plafond ou isolation toiture mansardée résoudre ce problème.

Si vous isolez le grenier et le toit, la perte totale de chaleur de la maison peut être considérablement réduite.
Il existe plusieurs autres types de pertes de chaleur dans la maison par des fissures dans les structures, le système de ventilation, la hotte de cuisine, l'ouverture des fenêtres et des portes. Mais cela n'a aucun sens de prendre en compte leur volume, puisqu'ils ne représentent pas plus de 5% du nombre total de fuites de chaleur importantes.
CALCUL DE L'INSTALLATION DE CHAUFFAGE ELECTRIQUE
|
2
Figure 1.1 - Schémas d'implantation du bloc des éléments chauffants
1.1 Calcul thermique des éléments chauffantsEn tant qu'éléments chauffants dans les radiateurs électriques, des radiateurs électriques tubulaires (TEH) sont utilisés, montés dans une seule unité structurelle. La tâche de calcul thermique du bloc d'éléments chauffants comprend la détermination du nombre d'éléments chauffants dans le bloc et la température réelle de la surface de l'élément chauffant. Les résultats du calcul thermique sont utilisés pour affiner les paramètres de conception du bloc. La tâche de calcul est donnée en annexe 1. La puissance d'un élément chauffant est déterminée en fonction de la puissance de l'élément chauffant Pà et le nombre d'éléments chauffants z installés dans le réchauffeur. Le nombre d'éléments chauffants z est considéré comme un multiple de 3 et la puissance d'un élément chauffant ne doit pas dépasser 3 ... 4 kW. L'élément chauffant est sélectionné en fonction des données du passeport (annexe 1). Selon la conception, les blocs se distinguent par un couloir et une disposition échelonnée des éléments chauffants (figure 1.1).
Pour la première rangée d'éléments chauffants du bloc chauffant assemblé, la condition suivante doit être remplie : оС, (1.2) où tn1 - température de surface moyenne réelle radiateurs de première rangée, оС; Pm1 est la puissance totale des radiateurs de la première rangée, W ; Épouser— coefficient moyen de transfert de chaleur, W/(m2оС) ; Ft1 - surface totale de la surface de dégagement de chaleur des radiateurs de la première rangée, m2; tdans - température du flux d'air après le réchauffeur, °C. La puissance totale et la surface totale des radiateurs sont déterminées à partir des paramètres des éléments chauffants sélectionnés selon les formules où k - le nombre d'éléments chauffants à la suite, pcs ; Pt, Ft - respectivement, la puissance, W, et la surface, m2, d'un élément chauffant. Surface de l'élément chauffant nervuré où ré est le diamètre de l'élément chauffant, m; jeun – longueur active de l'élément chauffant, m; hR est la hauteur de la nervure, m; un - pas d'aileron, m Pour les faisceaux de tubes profilés transversalement, il convient de prendre en compte le coefficient de transfert de chaleur moyen Épouser, car les conditions de transfert de chaleur par des rangées séparées de réchauffeurs sont différentes et sont déterminées par la turbulence du flux d'air. Le transfert de chaleur des première et deuxième rangées de tubes est inférieur à celui de la troisième rangée. Si le transfert de chaleur de la troisième rangée d'éléments chauffants est pris comme unité, le transfert de chaleur de la première rangée sera d'environ 0,6, le second - environ 0,7 en faisceaux décalés et environ 0,9 - en ligne à partir du transfert de chaleur de la troisième rangée. Pour toutes les rangées après la troisième rangée, le coefficient de transfert de chaleur peut être considéré comme inchangé et égal au transfert de chaleur de la troisième rangée. Le coefficient de transfert de chaleur de l'élément chauffant est déterminé par l'expression empirique , (1.5) où Nu – Critère de Nusselt, - coefficient de conductivité thermique de l'air, = 0,027 W/(moC) ; ré – diamètre de l'élément chauffant, m. Le critère de Nusselt pour des conditions de transfert de chaleur spécifiques est calculé à partir des expressions pour faisceaux de tubes en ligne à Re 1103 , (1.6) à Re > 1103 , (1.7) pour les faisceaux de tubes en quinconce : pour Re 1103, (1.8) à Re > 1103 , (1.9) où Re est le critère de Reynolds. Le critère de Reynolds caractérise le flux d'air autour des éléments chauffants et est égal à où — vitesse du flux d'air, m/s ; — coefficient de viscosité cinématique de l'air, = 18,510-6 m2/s. Afin d'assurer une charge thermique efficace des éléments chauffants qui n'entraîne pas une surchauffe des éléments chauffants, il est nécessaire d'assurer un débit d'air dans la zone d'échange thermique à une vitesse d'au moins 6 m/s. Compte tenu de l'augmentation de la résistance aérodynamique de la structure des conduits d'air et du bloc chauffant avec une augmentation de la vitesse d'écoulement de l'air, cette dernière doit être limitée à 15 m/s. Coefficient de transfert de chaleur moyen pour les faisceaux en ligne pour les poutres d'échecs , (1.12) où n — le nombre de rangées de tuyaux dans le faisceau du bloc de chauffage. La température du flux d'air après le réchauffeur est où Pà - la puissance totale des éléments chauffants de l'appareil de chauffage, kW ; — masse volumique de l'air, kg/m3 ; Avecdans est la capacité calorifique spécifique de l'air, Avecdans= 1 kJ/(kgоС); Niv – capacité du réchauffeur d'air, m3/s. Si la condition (1.2) n'est pas remplie, choisir un autre élément chauffant ou modifier la vitesse de l'air prise dans le calcul, la disposition du bloc chauffant. Tableau 1.1 - valeursdu coefficient c Données initialesPartage avec tes amis: |
2
Quels sont les types
Il existe deux manières de faire circuler l'air dans le système : naturelle et forcée. La différence est que dans le premier cas, l'air chauffé se déplace conformément aux lois de la physique, et dans le second cas, à l'aide de ventilateurs.Selon la méthode d'échange d'air, les appareils sont divisés en:
- recirculation - utilisez l'air directement de la pièce;
- recirculation partielle - utilise partiellement l'air de la pièce ;
- fournir de l'air en utilisant l'air de la rue.
Caractéristiques du système Antares
Le principe de fonctionnement d'Antares confort est le même que celui des autres systèmes de chauffage à air.
L'air est chauffé par l'unité AVH et est distribué à travers les conduits d'air à l'aide de ventilateurs dans tout le local.
L'air revient par les conduits de retour, en passant par le filtre et le collecteur.
Le processus est cyclique et se poursuit sans fin. Se mélangeant à l'air chaud de la maison dans l'échangeur de chaleur, tout le flux passe par le conduit de retour.
Avantages :
- Faible niveau sonore. Il s'agit du fan allemand moderne. La structure de ses pales incurvées vers l'arrière pousse légèrement l'air. Il ne frappe pas le ventilateur, mais comme enveloppant. De plus, une isolation phonique épaisse AVN est fournie. La combinaison de ces facteurs rend le système presque silencieux.
- Taux de chauffage de la pièce. La vitesse du ventilateur est réglable, ce qui permet de régler la pleine puissance et de réchauffer rapidement l'air à la température souhaitée. Le niveau de bruit augmentera sensiblement proportionnellement à la vitesse de l'air fourni.
- Polyvalence. En présence d'eau chaude, le système de confort Antares est capable de fonctionner avec tout type de chauffage. Il est possible d'installer des chauffe-eau et des chauffe-eau électriques en même temps. C'est très pratique : lorsqu'une source d'alimentation tombe en panne, passez à une autre.
- Une autre caractéristique est la modularité. Cela signifie que le confort d'Antares est composé de plusieurs blocs, ce qui se traduit par une réduction de poids et une facilité d'installation et d'entretien.
Avec tous les avantages, le confort d'Antares n'a aucun inconvénient.
Volcan ou volcan
Un chauffe-eau et un ventilateur connectés ensemble - voici à quoi ressemblent les unités de chauffage de la société polonaise Volkano. Ils fonctionnent à partir de l'air intérieur et n'utilisent pas l'air extérieur.
Photo 2. Appareil du fabricant Volcano conçu pour les systèmes de chauffage à air.
L'air chauffé par le ventilateur thermique est réparti uniformément à travers les volets fournis dans quatre directions. Des capteurs spéciaux maintiennent la température souhaitée dans la maison. L'arrêt se produit automatiquement lorsque l'unité n'est pas utilisée. Il existe plusieurs modèles de ventilateurs thermiques Volkano de différentes tailles sur le marché.
Caractéristiques des aérothermes Volkano :
- qualité;
- prix abordable;
- silence;
- possibilité d'installation dans n'importe quelle position;
- boîtier en polymère résistant à l'usure ;
- préparation complète pour l'installation;
- garantie de trois ans;
- économie.
Parfait pour chauffer les sols des usines, les entrepôts, les grands magasins et les supermarchés, les élevages de volailles, les hôpitaux et les pharmacies, les centres sportifs, les serres, les complexes de garages et les églises. Les schémas de câblage sont inclus pour rendre l'installation rapide et facile.
La séquence d'actions lors de l'installation du chauffage à air
Pour installer un système de chauffage à air pour un atelier et d'autres locaux industriels, la séquence d'actions suivante doit être suivie :
- Développement d'une solution de conception.
- Installation de système de chauffage.
- Réaliser la mise en service et les essais par voie aérienne et l'actionnement des systèmes d'automatisation.
- Réception en exploitation.
- Exploitation.
Ci-dessous, nous examinons plus en détail chacune des étapes.
Conception d'un système de chauffage à air

L'emplacement correct des sources de chaleur autour du périmètre permettra de chauffer les locaux dans le même volume. Cliquez pour agrandir.
Le chauffage de l'air d'un atelier ou d'un entrepôt doit être installé en stricte conformité avec une solution de conception préalablement développée.
Vous n'avez pas à faire tout le nécessaire calculs et sélection des équipements autonome, car des erreurs de conception et d'installation peuvent entraîner un dysfonctionnement et l'apparition de divers défauts : augmentation du niveau sonore, déséquilibre de l'alimentation en air des locaux, déséquilibre de température.
Le développement d'une solution de conception doit être confié à un organisme spécialisé qui, sur la base des spécifications techniques (ou termes de référence) soumis par le client, traitera les tâches et problèmes techniques suivants :
- Détermination des pertes de chaleur dans chaque pièce.
- Détermination et sélection d'un aérotherme de la puissance requise, en tenant compte de l'ampleur des pertes de chaleur.
- Calcul de la quantité d'air chauffé en tenant compte de la puissance de l'aérotherme.
- Calcul aérodynamique du système, effectué pour déterminer la perte de charge et le diamètre des canaux d'air.
Après l'achèvement des travaux de conception, il convient de procéder à l'achat de l'équipement, en tenant compte de sa fonctionnalité, de sa qualité, de la gamme de paramètres de fonctionnement et de son coût.
Installation d'un système de chauffage à air
Les travaux d'installation du système de chauffage à air de l'atelier peuvent être effectués indépendamment (par des spécialistes et des employés de l'entreprise) ou recourir aux services d'une organisation spécialisée.
Lors de l'installation du système vous-même, il est nécessaire de prendre en compte certaines fonctionnalités spécifiques.
Avant de commencer l'installation, il ne sera pas superflu de s'assurer que l'équipement et le matériel nécessaires sont complets.

La disposition du système de chauffage à air. Cliquez pour agrandir.
Dans les entreprises spécialisées produisant des équipements de ventilation, vous pouvez commander des conduits d'air, des raccordements, des registres d'étranglement et d'autres produits standard utilisés dans l'installation d'un système de chauffage de l'air pour les locaux industriels.
De plus, les matériaux suivants seront nécessaires : vis autotaraudeuses, ruban en aluminium, ruban de montage, conduits d'air isolés flexibles avec fonction d'amortissement du bruit.
Lors de l'installation du chauffage de l'air, il est nécessaire de prévoir une isolation (isolation thermique) des conduits d'air soufflé.
Cette mesure est destinée à éliminer la possibilité de condensation. Lors de l'installation des conduits d'air principaux, on utilise de l'acier galvanisé, sur lequel est collé un isolant en feuille autocollante, d'une épaisseur de 3 mm à 5 mm.
Le choix des conduits d'air rigides ou flexibles ou leur combinaison dépend du type d'aérotherme déterminé par la décision de conception.
La connexion entre les conduits d'air est réalisée à l'aide de ruban d'aluminium renforcé, de colliers en métal ou en plastique.
Le principe général d'installation du chauffage à air est réduit à la séquence d'actions suivante:
- Réalisation des travaux préparatoires généraux de la construction.
- Installation du conduit d'air principal.
- Installation de conduits d'air de sortie (distribution).
- Pose d'aérotherme.
- Dispositif d'isolation thermique des conduits d'air soufflé.
- Installation d'équipements supplémentaires (si nécessaire) et d'éléments individuels : récupérateurs, grilles, etc.
Application de rideaux d'air thermiques
Pour réduire le volume d'air entrant dans la pièce lors de l'ouverture de portails ou de portes extérieurs, pendant la saison froide, des rideaux d'air thermiques spéciaux sont utilisés.
À d'autres moments de l'année, ils peuvent être utilisés comme unités de recirculation. Ces rideaux thermiques sont recommandés pour une utilisation:
- pour portes extérieures ou ouvertures dans des pièces à régime humide;
- à des ouvertures constamment ouvertes dans les murs extérieurs des structures qui ne sont pas équipées de vestibules et peuvent être ouvertes plus de cinq fois en 40 minutes, ou dans des zones où la température de l'air estimée est inférieure à 15 degrés ;
- pour les portes extérieures des bâtiments, si elles sont adjacentes à des locaux sans vestibule, qui sont équipés de systèmes de climatisation ;
- aux ouvertures dans les murs intérieurs ou dans les cloisons des locaux industriels afin d'éviter le transfert de fluide frigorigène d'une pièce à l'autre ;
- à la porte ou à la porte d'une salle climatisée avec des exigences de processus particulières.
Un exemple de calcul de chauffage de l'air pour chacun des objectifs ci-dessus peut servir de complément à l'étude de faisabilité pour l'installation de ce type d'équipement.
La température de l'air fourni à la pièce par les rideaux thermiques ne dépasse pas 50 degrés aux portes extérieures et ne dépasse pas 70 degrés - aux portes ou ouvertures extérieures.
Lors du calcul du système de chauffage de l'air, les valeurs suivantes de la température du mélange entrant par des portes ou des ouvertures extérieures (en degrés) sont prises:
5 - pour les locaux industriels lors de travaux lourds et l'emplacement des lieux de travail à moins de 3 mètres des murs extérieurs ou à 6 mètres des portes;
8 - pour les travaux lourds dans les locaux industriels ;
12 - pour les travaux mi-lourds dans les locaux industriels, ou dans les halls d'établissements publics ou administratifs.
14 - pour travaux légers pour locaux industriels.

Pour un chauffage de haute qualité de la maison, l'emplacement correct des éléments chauffants est nécessaire. Cliquez pour agrandir.
Le calcul des systèmes de chauffage à air avec rideaux thermiques est effectué pour diverses conditions extérieures.
Les rideaux d'air aux portes, ouvertures ou portails extérieurs sont calculés en tenant compte de la pression du vent.
Le débit de liquide de refroidissement dans de telles unités est déterminé à partir de la vitesse du vent et de la température de l'air extérieur aux paramètres B (à une vitesse ne dépassant pas 5 m par seconde).
Dans ces cas quand la vitesse du vent si les paramètres A sont supérieurs aux paramètres B, les aérothermes doivent être vérifiés lorsqu'ils sont exposés aux paramètres A.
La vitesse de sortie de l'air des fentes ou des ouvertures extérieures des rideaux thermiques est supposée ne pas dépasser 8 m par seconde aux portes extérieures et 25 m par seconde aux ouvertures ou portails technologiques.
Lors du calcul des systèmes de chauffage avec des unités d'air, les paramètres B sont pris comme paramètres de conception de l'air extérieur.
L'un des systèmes pendant les heures non ouvrables peut fonctionner en mode veille.
Les avantages des systèmes de chauffage à air sont :
- Réduire l'investissement initial en réduisant le coût d'achat des appareils de chauffage et de pose des canalisations.
- Garantir les exigences sanitaires et hygiéniques pour les conditions environnementales dans les locaux industriels en raison de la répartition uniforme de la température de l'air dans les grands locaux, ainsi que du dépoussiérage et de l'humidification préliminaires du liquide de refroidissement.









































