- Choisir un emplacement pour une éolienne
- Comment fonctionne une éolienne ?
- Comment fabriquer une éolienne rotative de vos propres mains
- Outils et matériaux
- Dessins et schémas
- Instructions de fabrication
- Test de l'appareil
- Schéma de câblage
- Classification des éoliennes
- Selon l'emplacement du générateur : horizontal ou vertical
- Par tension nominale générée
- Évaluation de la faisabilité de l'installation
- Types d'éoliennes
- vertical
- Horizontal
- Variétés et modifications d'éoliennes verticales
- Possibilités de fabrication
- Schémas et dessins
- Protection contre les tempêtes d'éoliennes
- La légalité de l'installation d'une éolienne
- Avantages et principe de fonctionnement des éoliennes
- Aspects juridiques de l'installation d'une éolienne
- Nous enroulons la bobine
- Instructions pour fabriquer une éolienne de vos propres mains
- Le côté juridique de la question
Choisir un emplacement pour une éolienne
Choisir le bon endroit pour installer une éolienne est une étape importante. Il est préférable de placer l'appareil sur un point ouvert et aussi haut que possible et de veiller soigneusement à ce qu'il ne tombe pas en dessous du niveau des bâtiments résidentiels et commerciaux adjacents. Sinon, les bâtiments deviendront un obstacle à la circulation de l'air et l'efficacité de l'unité sera fortement réduite.
Si le site se dirige vers une rivière ou un lac, le moulin à vent est placé sur le rivage, où les vents soufflent particulièrement souvent.Les collines disponibles sur le territoire ou les grands espaces vides où il n'y a pas d'obstructions artificielles ou naturelles du flux d'air conviennent parfaitement à l'emplacement du générateur.
Lorsque l'immobilier résidentiel (maison, chalet, appartement, etc.) est situé dans la ville ou est situé à l'extérieur de la ville, mais dans des zones densément bâties, le complexe éolien est placé sur le toit.
Pour installer un groupe électrogène sur le toit d'un immeuble, ils demandent l'accord écrit des voisins et obtiennent l'autorisation officielle des autorités compétentes.
Lors de l'installation d'un générateur vertical sur le toit d'un immeuble d'habitation, il convient de rappeler que l'unité est assez bruyante et peut causer des désagréments aux propriétaires et au reste des résidents. Par conséquent, vous devez placer l'appareil plus près du centre du toit, afin que les propriétaires d'appartements situés aux étages supérieurs ne souffrent pas du bourdonnement émis par le moulin à vent pendant le fonctionnement.
Dans une maison privée avec un grand terrain de jardin, choisir un endroit approprié est beaucoup plus facile. La principale chose à considérer est que la structure se trouve à une distance de 15 à 25 mètres des quartiers d'habitation. Ensuite, les effets sonores des pales rotatives ne dérangeront personne.
Comment fonctionne une éolienne ?
La conception de l'éolienne comprend plusieurs pales qui tournent sous l'influence des courants de vent. À la suite d'un tel impact, une énergie de rotation est créée. L'énergie résultante est transmise par le rotor au multiplicateur, qui à son tour transfère l'énergie au générateur.

Comment fonctionne une éolienne
Il existe également des conceptions d'éoliennes sans multiplicateurs. L'absence de multiplicateur permet d'augmenter significativement la productivité de l'usine.

Le principe de fonctionnement de l'éolienne
Les éoliennes peuvent être installées à la fois individuellement et en groupes combinés dans un parc éolien. De plus, les éoliennes peuvent être combinées avec des générateurs diesel, ce qui permettra d'économiser du carburant et d'assurer le fonctionnement le plus efficace du système d'alimentation électrique à la maison.
De tels systèmes sont appelés systèmes d'alimentation sans coupure à onduleur (ou batterie).
Comment fabriquer une éolienne rotative de vos propres mains
La fabrication artisanale de toute éolienne est un travail assez difficile. De nombreuses pièces et assemblages nécessitent l'utilisation de machines et d'équipements spéciaux et la capacité de travailler dessus. Par conséquent, il est beaucoup plus raisonnable de récupérer des pièces et des assemblages prêts à l'emploi et, si nécessaire, de les modifier et de terminer l'assemblage de vos propres mains.
L'un des sérieux avantages d'une éolienne de type rotatif est qu'elle est de faible hauteur. Lors de sa fabrication et de sa maintenance, aucun travail en haute altitude n'est nécessaire.
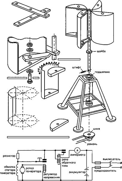
Éolienne rotative
Outils et matériaux
Si vous décidez de fabriquer vous-même une centrale éolienne de type rotatif, les premières étapes vers le résultat doivent être les suivantes:
- Sélectionnez le type de rotor.
- Découvrez les différents modèles de ce type.
- Sélectionnez des matériaux et des composants prêts à l'emploi pour sa fabrication.
- Préparer un outil approprié pour les travaux futurs.
A titre d'exemple, la fabrication de l'éolienne de faible puissance la plus simple à partir de pièces finies avec un rotor vertical pour charger une batterie de téléphone est donnée. Cela se fait dans l'ordre indiqué dans le tableau.
| Illustration | Description de l'action |
![]() | Préparation des composants |
![]() | Assemblage du rotor |
![]() | Assemblage de l'ensemble de l'appareil |
Dessins et schémas
Pour une éolienne plus puissante et plus complexe, des pièces et des dispositifs prêts à l'emploi sont nécessaires. Les pales peuvent être fabriquées à partir d'un fût métallique standard de 200 litres. Le rotor du générateur est composé d'un moyeu de disque de frein d'une voiture désaffectée et d'aimants en néodyme. Les dessins et les schémas doivent être sélectionnés prêts à l'emploi.
Instructions de fabrication
| Illustration | Description de l'action |
![]() | Fabrication de lames |
![]() | Schémas de générateurs monophasés et triphasés |
![]() | Fabrication d'un rotor de générateur à partir d'un moyeu de roue de voiture |
![]() | Générateur de moteur de machine à laver |
Test de l'appareil
Tester le générateur consiste à vérifier son fonctionnement en charge. Une lampe électrique doit être connectée à sa sortie, un voltmètre doit être connecté aux bornes de sortie et un ampèremètre doit être connecté à la coupure dans n'importe quelle section du circuit.
Schéma de câblage
Regardons de plus près le circuit électrique. Il est clair que le vent peut s'arrêter à tout moment. Par conséquent, les éoliennes ne sont pas connectées directement aux appareils électroménagers, mais elles chargent d'abord les batteries à partir de ceux-ci, pour assurer la sécurité de celles-ci, un contrôleur de charge est utilisé. De plus, étant donné que les batteries fournissent du courant continu basse tension, alors que presque tous les appareils électroménagers consomment du courant alternatif de 220 volts, un convertisseur de tension ou, comme on l'appelle aussi, un onduleur est installé et alors seulement tous les consommateurs sont connectés.
Pour que l'éolienne assure le fonctionnement d'un ordinateur personnel, d'une télévision, d'une alarme et de plusieurs lampes à économie d'énergie, il suffit d'installer une batterie d'une capacité de 75 ampères / heure, un convertisseur de tension (onduleur) avec une puissance de 1,0 kW, plus un générateur de la puissance appropriée. De quoi d'autre avez-vous besoin lorsque vous vous détendez à la campagne ?
Classification des éoliennes
Sur l'ensemble du parc d'éoliennes auto-conçues, 2 types principaux avec des axes de rotation différents sont exploités :
- horizontal (ailé);
- vertical (carrousel).
Chacun a ses propres caractéristiques, parmi lesquelles il existe des différences dans:
- le nombre de pales (deux, trois, multipales) ;
- caractéristiques du matériau des pales (métal, fibre de verre, voile);
- pas de vis (fixe, variable).
À la maison, il est préférable de fabriquer soi-même une éolienne à axe vertical. Son principal avantage est l'insensibilité au vent. De plus, la simplicité de conception ne nécessite pas la création d'un mécanisme d'orientation du vent, de sorte que le besoin de dispositifs rotatifs est éliminé.
Selon l'emplacement du générateur : horizontal ou vertical
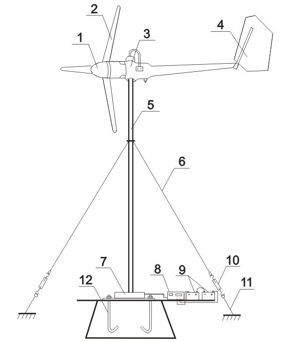
Beaucoup de gens associent à une centrale éolienne (APU) une disposition d'aspect classique, horizontale. Dans ce type, l'axe de rotation est parallèle au sol et les pales sont disposées perpendiculairement. Dans une telle conception, une girouette est nécessaire, fonctionnant sur le principe de l'empennage. Ceci contribue à la position avantageuse du plan de rotation perpendiculaire au flux de vent.
La position horizontale de l'axe correspond à la direction du vent. Il y a un problème avec la connexion électrique. Sans le contrôle directionnel électronique, la carrosserie s'enroule autour de l'essieu, provoquant la rupture des fils. Pour éviter la situation, un limiteur de tour complet est installé.
Fabriquer une éolienne verticale de vos propres mains est beaucoup plus facile. L'axe de rotation positionné est indépendant de la direction du flux d'air.Un avantage supplémentaire de l'hélice à rotor est que les unités de maintenance sont en bas et qu'il n'est pas nécessaire de monter.
Par tension nominale générée
Pour obtenir le maximum d'économies, les artisans installent des éoliennes artisanales pour la maison la plus puissante. Une conception faite à 12-14 volts est plus populaire. Un vieux alternateur de voiture fonctionne mieux pour cela. Après l'avoir changé, le convertisseur de tension produira 12-14 volts.
Une éolienne de bricolage de 220 volts est considérée comme une installation à application directe. Il ne nécessite pas de convertisseur de tension. Mais comme le travail de l'éolienne est soumis à la force du flux d'air, un stabilisateur est nécessaire en sortie. En fonction de la vitesse, il remplit les fonctions d'un régulateur.
Évaluation de la faisabilité de l'installation
Avant de procéder à la fabrication d'une éolienne de type vertical, ils étudient la situation météorologique de leur région et tentent de déterminer si l'unité peut fournir la quantité de ressource requise.
Les experts recommandent d'évaluer les paramètres suivants :
- le nombre de jours venteux - prenez la valeur moyenne de l'année lorsque la rafale dépasse 3 m / s;
- la quantité d'électricité consommée par jour par les ménages ;
- un endroit approprié sur votre propre terrain pour l'équipement éolien.
Le premier indicateur est tiré des données obtenues à la station météo la plus proche ou trouvées sur Internet sur les portails concernés. De plus, ils consultent les publications géographiques imprimées et dressent un tableau complet de la situation des vents dans leur région.
Les statistiques ne sont pas prises pour un an, mais pour 15 à 20 ans, alors seulement les chiffres moyens seront aussi corrects que possible et montreront si le générateur peut satisfaire pleinement les besoins en électricité du ménage ou si sa puissance est seulement suffisante pour alimenter un individu. besoins du ménage.
Si le propriétaire a un grand terrain situé sur une pente, près de la rive du fleuve ou dans une zone dégagée, il n'y aura aucun problème d'installation.
Lorsque la maison est située dans les profondeurs de la colonie et que la cour est de taille compacte et étroitement adjacente aux bâtiments voisins, il ne sera pas facile d'installer de vos propres mains un modèle vertical de moulin à vent. La structure devra être surélevée de 3 à 5 m au-dessus du sol et renforcée afin qu'elle ne tombe pas avec une forte rafale.
Il est nécessaire de prendre en compte toutes ces informations au stade de la planification, afin qu'il devienne clair si l'éolienne pourra prendre en charge la totalité de l'approvisionnement énergétique ou si son rôle restera dans le cadre d'une source d'énergie auxiliaire. Au préalable, il est souhaitable d'effectuer le calcul du moulin à vent.
Types d'éoliennes
Ils sont classés en fonction des caractéristiques des performances techniques, qui affectent la fonctionnalité et les capacités.
vertical
Selon le type de rotor et de pales utilisés, les éoliennes verticales peuvent être orthogonales, une sous-espèce de savonius, multipales (il existe ici un mécanisme de guidage), darya, hélicoïdale. Le principal avantage des appareils est le fait qu'ils n'ont pas besoin d'être corrigés pour le vent, ils fonctionnent bien dans toutes les directions. Ils ne sont donc pas équipés d'appareils captant les courants d'air.
En raison de la simplicité, les unités peuvent être placées au sol, par rapport aux options horizontales, il sera beaucoup plus facile de fabriquer des pales pour une telle éolienne de vos propres mains. L'inconvénient est la faible productivité des modèles verticaux, la portée est limitée en raison de leur efficacité insuffisante.
Horizontal
Ici, le nombre de lames varie. Les spécimens à une pale montrent la vitesse la plus élevée, par rapport aux spécimens à trois pales, avec une force de vent identique, ils tournent environ 2 fois plus vite. L'efficacité des modèles horizontaux dépasse largement les performances des modèles verticaux.
Éoliennes à axe horizontal
L'orientation horizontale-axiale présente une vulnérabilité - ses performances sont liées à la direction du vent, de sorte que l'appareil est équipé de mécanismes supplémentaires qui capturent le mouvement des flux d'air.
Variétés et modifications d'éoliennes verticales
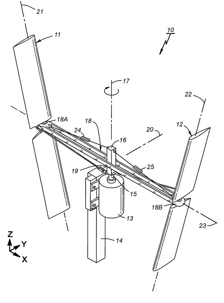
Une éolienne orthogonale est équipée de plusieurs pales situées à une certaine distance parallèlement à l'axe de rotation. Ces moulins à vent sont également connus sous le nom de rotor Darrieus. Ces unités se sont avérées les plus efficaces et les plus fonctionnelles.
La rotation des pales est assurée par leur forme en aile, ce qui crée la force de levage nécessaire. Cependant, le fonctionnement normal de l'appareil nécessite des efforts considérables, de sorte que les performances du générateur peuvent être augmentées en installant des écrans statiques supplémentaires. Comme inconvénients, il convient de noter un bruit excessif, des charges dynamiques élevées (vibrations), qui entraînent souvent une usure prématurée des unités de support et une défaillance des roulements.
Il existe des éoliennes avec un rotor Savonius qui conviennent le mieux aux conditions domestiques. L'éolienne est constituée de plusieurs demi-cylindres qui tournent en continu autour de leur axe. La rotation s'effectue toujours dans le même sens et ne dépend pas de la direction du vent.
L'inconvénient de telles installations est le basculement de la structure sous l'action du vent. De ce fait, une tension est créée dans l'axe et le roulement de rotation du rotor tombe en panne. De plus, la rotation ne peut démarrer toute seule si seulement deux ou trois pales sont installées dans l'éolienne. À cet égard, il est recommandé de fixer deux rotors sur l'axe à un angle de 90 degrés l'un par rapport à l'autre.
L'éolienne multipale verticale est l'un des appareils les plus fonctionnels de cette gamme de modèles. Il a des performances élevées avec peu de charge sur les éléments porteurs.
La partie interne de la structure est constituée de lames statiques supplémentaires placées sur une rangée. Ils compriment le flux d'air et régulent sa direction, augmentant ainsi l'efficacité du rotor. Le principal inconvénient est le prix élevé dû au grand nombre de pièces et d'éléments.
Possibilités de fabrication
Depuis longtemps de l'existence des énergies alternatives, des générateurs électriques de différentes conceptions ont été créés. Ils peuvent être fabriqués à la main. La plupart des gens pensent que cela est difficile, car cela nécessite un certain nombre de connaissances, divers matériaux coûteux, etc. Dans ce cas, les générateurs seront de très faibles performances en raison du grand nombre d'erreurs de calcul. Ce sont ces pensées qui poussent ceux qui veulent abandonner l'idée de fabriquer un moulin à vent de leurs propres mains.Mais toutes les déclarations sont absolument fausses, et maintenant nous allons le montrer.
Les artisans créent le plus souvent des générateurs électriques pour un moulin à vent de deux manières :
- Depuis le hub ;
- Le moteur fini est converti en générateur.
Examinons ces options plus en détail.
Schémas et dessins
Le générateur en tant qu'appareil génère du courant alternatif, qui doit être converti en courant continu, porté à la tension requise. Si le moteur-générateur produit, disons, 40 volts, il est peu probable que ce soit une valeur appropriée pour la plupart des appareils électroniques grand public qui consomment 5 ou 12 volts CC ou 127/220 volts CA.
Éprouvé par le temps et des millions d'utilisateurs, le schéma de l'ensemble de l'installation comprend un redresseur, un contrôleur, une batterie et un onduleur. Une batterie de voiture d'une capacité de 55 à 300 ampères-heures est utilisée comme stockage tampon de l'énergie stockée. Sa tension de fonctionnement est de 10,9-14,4 V avec une charge cyclique (cycle complet de charge-décharge) et de 12,6-13,65 avec un tampon (portionné, dosé, lorsqu'il faut recharger une batterie partiellement déchargée).


Le contrôleur convertit, par exemple, les mêmes 40 volts en 15. Son efficacité en termes de volt-ampère varie de 80 à 95% - sans tenir compte des pertes dans le redresseur.
Un générateur triphasé a le rendement le plus élevé - sa puissance est 50% supérieure à celle d'un générateur monophasé, il ne vibre pas pendant le fonctionnement (les vibrations desserrent la structure, ce qui la rend de courte durée).
Les bobines de l'enroulement de chacune des phases alternent les unes avec les autres et sont connectées en série - comme les pôles des aimants, face à l'un des côtés des bobines.


Les appareils électroménagers et électroniques modernes sont capables de fonctionner à partir de 110 volts (la norme américaine pour les réseaux domestiques) jusqu'à 250 - il n'est pas recommandé de donner plus aux appareils et appareils réseau. Tous les convertisseurs sont à impulsions, par rapport aux convertisseurs linéaires, leurs pertes de chaleur sont bien moindres.

Protection contre les tempêtes d'éoliennes
Il s'agit de protéger l'appareil des ouragans et des fortes rafales de vent. En pratique, il est mis en œuvre de deux manières :
- En limitant la vitesse de l'éolienne à l'aide d'un frein électromagnétique.
- La suppression du plan de rotation de la vis de l'impact direct du flux de vent.
La première méthode est basée sur la connexion d'une charge électrique de ballast à une éolienne. Nous en avons déjà parlé dans l'un des articles précédents.
La deuxième méthode consiste à installer une queue repliable, qui permet, à force de vent nominale, d'orienter l'hélice vers le flux du vent, et lors d'un orage, au contraire, de mettre l'hélice à l'abri du vent.
La protection contre le pliage de la queue se produit selon le schéma suivant.

- Par temps calme, la queue est légèrement inclinée (vers le bas et sur le côté).
- A la vitesse nominale du vent, la queue se redresse et l'hélice devient parallèle au flux d'air.
- Lorsque la vitesse du vent dépasse les valeurs nominales (par exemple, 10 m/s), la pression du vent sur l'hélice devient supérieure à la force créée par le poids de la queue. À ce stade, la queue commence à se replier et l'hélice se déplace hors du vent.
- Lorsque la vitesse du vent atteint des valeurs critiques, le plan de rotation de l'hélice devient perpendiculaire au flux du vent.
Lorsque le vent faiblit, la queue sous son propre poids revient à sa position d'origine et tourne la vis vers le vent.Pour que la queue revienne à sa position d'origine sans ressorts supplémentaires, un mécanisme pivotant avec un pivot incliné (charnière) est utilisé, qui est installé sur l'axe de rotation de la queue.

L'axe de rotation de la queue est incliné : 20° par rapport à l'axe vertical et 45° par rapport à l'axe horizontal.

Pour que le mécanisme remplisse sa fonction principale, l'axe du mât doit être à une certaine distance de l'axe de rotation de la turbine (de manière optimale - 10 cm).

Pour que lors de fortes rafales de vent, la queue ne se développe pas et ne tombe pas sous l'hélice, des limiteurs doivent être soudés des deux côtés du mécanisme.
Un tableau Excel avec des formules prêtes à l'emploi vous aidera à calculer les dimensions de la queue et leur dépendance aux autres paramètres de l'éolienne. Dans celui-ci, la zone des valeurs variables est marquée en jaune.
La surface optimale de l'unité de queue est de 15% ... 20% de la surface de l'éolienne.
La variante la plus courante de la protection mécanique d'une éolienne est présentée à votre attention. Sous une forme ou une autre, il est utilisé avec succès dans la pratique par les utilisateurs de notre portail.
Utilisateur WatchCat
Lors d'une tempête, il est nécessaire de ralentir l'hélice en la tirant sous le vent. Par exemple, lorsque le vent est trop fort, le moulin à vent chavire avec la vis vers le haut. Pas la meilleure option, car le retour à la position de travail s'accompagne d'un coup perceptible. Mais pendant dix ans, le moulin à vent ne s'est pas cassé.
La légalité de l'installation d'une éolienne
Les sources d'énergie alternatives sont le rêve de tout résident estival ou propriétaire dont le site est situé loin des réseaux centraux.Cependant, lorsque nous recevons des factures d'électricité consommée dans un appartement en ville, et en regardant les tarifs majorés, nous nous rendons compte qu'une éolienne créée pour les besoins domestiques ne nous ferait pas de mal.
Après avoir lu cet article, vous réaliserez peut-être votre rêve.

Une éolienne est une excellente solution pour alimenter en électricité une installation périurbaine. De plus, dans certains cas, son installation est la seule issue possible.
Afin de ne pas perdre d'argent, d'efforts et de temps, décidons : y a-t-il des circonstances extérieures qui nous créeront des obstacles dans le processus d'exploitation d'une éolienne ?
Pour fournir de l'électricité à une datcha ou à un petit chalet, une petite centrale éolienne suffit, dont la puissance ne dépassera pas 1 kW. De tels appareils en Russie sont assimilés à des produits ménagers. Leur installation ne nécessite pas de certificats, de permis ou d'approbations supplémentaires.
Afin de déterminer la faisabilité de l'installation d'une éolienne, il est nécessaire de connaître le potentiel éolien d'une zone particulière (cliquer pour agrandir)
Aucune taxe n'est prévue pour la production d'électricité, qui est dépensée pour répondre à leurs propres besoins domestiques. Par conséquent, une éolienne de faible puissance peut être installée en toute sécurité, elle peut être utilisée pour générer de l'électricité gratuite sans payer de taxes à l'État.
Cependant, au cas où, vous devriez demander s'il existe des réglementations locales concernant l'alimentation en énergie individuelle qui pourraient créer des obstacles à l'installation et au fonctionnement de cet appareil.

Les éoliennes qui peuvent satisfaire la plupart des besoins d'une ferme moyenne ne peuvent pas causer de plaintes, même de la part des voisins
Des réclamations peuvent provenir de vos voisins s'ils subissent des inconvénients liés au fonctionnement de l'éolienne. Rappelez-vous que nos droits s'arrêtent là où commencent les droits des autres.
Par conséquent, lors de l'achat ou de l'auto-fabrication d'une éolienne pour une maison, vous devez porter une attention particulière aux paramètres suivants:
Hauteur du mât. Lors de l'assemblage d'une éolienne, il est nécessaire de prendre en compte les restrictions de hauteur des bâtiments individuels qui existent dans un certain nombre de pays du monde, ainsi que l'emplacement de votre propre site. Sachez qu'à proximité des ponts, des aéroports et des tunnels, les bâtiments de plus de 15 mètres de haut sont interdits.
Bruit de la boîte de vitesses et des lames. Les paramètres du bruit généré peuvent être réglés à l'aide d'un appareil spécial, après quoi les résultats de mesure peuvent être documentés
Il est important qu'ils ne dépassent pas les normes de bruit établies.
Interférence d'éther. Idéalement, lors de la création d'un moulin à vent, une protection contre les télé-interférences doit être fournie là où votre appareil peut causer de tels problèmes.
Allégations environnementales
Cet organisme ne peut vous empêcher d'exploiter l'installation que si elle interfère avec la migration des oiseaux migrateurs. Mais c'est peu probable.
Lors de la création et de l'installation de l'appareil vous-même, apprenez ces points et lors de l'achat d'un produit fini, faites attention aux paramètres qui figurent dans son passeport. Il vaut mieux se protéger à l'avance que de s'énerver plus tard.
Avantages et principe de fonctionnement des éoliennes
Un générateur vertical moderne est l'une des options d'énergie alternative pour la maison. L'unité est capable de convertir des rafales de vent en une ressource énergétique. Pour un fonctionnement correct, il n'a pas besoin de dispositifs supplémentaires qui déterminent la direction du vent.
Une éolienne rotative est très facile à fabriquer de vos propres mains. Bien sûr, il ne pourra pas entièrement prendre en charge la mise à disposition d'un chalet privé de grande taille avec de l'énergie, mais il s'occupera parfaitement de l'éclairage des dépendances, des allées de jardin et de la zone locale
Le dispositif de type vertical fonctionne à basse altitude. Pour sa maintenance, divers dispositifs ne sont pas nécessaires pour assurer la réalisation en toute sécurité des travaux de réparation et de maintenance à haute altitude.
Un minimum de pièces mobiles rend l'éolienne plus fiable et stable sur le plan opérationnel. Le profil optimal des pales et la forme originale du rotor confèrent à l'appareil un haut niveau d'efficacité, quelle que soit la direction du vent à un moment donné.
Les petits modèles domestiques se composent de trois pales légères ou plus, attrapent instantanément la rafale la plus faible et commencent à tourner dès que la force du vent dépasse 1,5 m / s. En raison de cette capacité, leur efficacité dépasse souvent l'efficacité des grandes installations qui nécessitent un vent plus fort.
Le générateur fonctionne de manière absolument silencieuse, n'interfère pas avec les propriétaires et les voisins, ne crée pas d'émissions nocives dans l'atmosphère et sert de manière fiable pendant de nombreuses années, fournissant avec précision de l'énergie aux locaux résidentiels.
Le générateur de type vent vertical fonctionne sur le principe de la lévitation magnétique.Pendant la rotation des turbines, des forces d'impulsion et de portance sont formées, ainsi que la force de freinage réelle. Les deux premiers font tourner les pales de l'appareil. Cette action active le rotor et crée un champ magnétique qui génère de l'électricité.
Une éolienne avec un axe de rotation vertical n'est pas inférieure en efficacité à ses homologues horizontaux. De plus, il ne revendique aucunement l'emplacement territorial et fonctionne pleinement dans presque tous les endroits pratiques pour les propriétaires.
L'appareil fonctionne de manière totalement indépendante et ne nécessite pas l'intervention des propriétaires dans le processus.
Aspects juridiques de l'installation d'une éolienne
Une éolienne est une propriété inhabituelle, la possession de cet appareil est associée au respect de certaines règles et lois. Si l'appareil est installé à proximité de ponts, d'aéroports et de tunnels, la hauteur du mât ne doit pas dépasser 15 m et le niveau de bruit généré ne doit pas dépasser 70 dB le jour et 60 dB la nuit. Nécessite une protection contre les télé-interférences. Les services environnementaux ne doivent pas faire d'allégations concernant la création d'obstacles à la migration des oiseaux migrateurs. Il est conseillé de mener une consultation juridique sur chaque paramètre et d'avoir des documents officiels avant de commencer la construction. La production d'électricité pour les besoins domestiques propres n'est pas imposée par la loi.
Moulin à vent
Nous enroulons la bobine
En choisissant une option pas très rapide, la charge d'une batterie 12V commence à 100-150 tr/min. Le nombre de tours pour cela devrait correspondre à 1000-1200. En divisant les tours sur toutes les bobines, nous obtenons leur nombre pour un.
Si un gros fil est utilisé pour les virages, la résistance diminue et l'intensité du courant augmente.
Les caractéristiques des éoliennes assemblées à la main sont affectées par l'épaisseur des aimants sur le disque et leur nombre.
Les coils sont généralement réalisés de forme ronde, mais en les étirant légèrement, il sera possible de redresser les spires. Terminé, les bobines doivent être égales ou légèrement plus grandes que les aimants. L'épaisseur du stator doit également être liée aux aimants.
Si ce dernier est plus grand en raison du plus grand nombre de spires, l'espace entre les disques augmente et le flux magnétique diminue.
Mais plus de bobines de résistance entraîneront une diminution du courant. Le contreplaqué convient à la forme du stator. Pour augmenter la résistance du produit, de la fibre de verre est placée au-dessus des bobines (au fond du moule). Avant d'appliquer la résine époxy, le moule est traité avec de la vaseline ou de la cire, ou du ruban adhésif est utilisé.
Le générateur est testé en le tournant à la main. Pour une tension de 40V, le courant atteint 10 A.
Instructions pour fabriquer une éolienne de vos propres mains
- Montez les aimants dans des évidements spécialement conçus sur le rotor. Utilisez de la superglue pour être sûr.
- Enveloppez les aimants avec du papier et remplissez l'espace libre restant avec de l'époxy.
- Tourner l'axe sur l'équipement de tournage. Fixez-y un support de tige en acier.
- Fabriquez des lames à partir du tuyau.
- Fixez le générateur, les pales, le rotor et la queue au rail porteur.
- Installez l'unité d'alimentation à l'aide du support pivotant.
- Montez le mât dans la base en béton et fixez-le avec 4 boulons.
- Connectez le fil au blindage.
- Connectez tout et testez les performances.


Vous ne vous sentez pas en sécurité dans vos propres capacités - obtenez une unité domestique. Cela sera également bénéfique.En général, sélectionnez un modèle en vous concentrant sur vos capacités financières et construisez-le dans votre chalet d'été.

Faites-le tout de suite et demain vous ne broncherez plus lorsque vous recevrez des factures d'électricité.

Le côté juridique de la question
Une éolienne artisanale pour une maison ne tombe pas sous le coup des interdictions, sa fabrication et son utilisation n'entraînent pas de sanction administrative ou pénale. Si la puissance de l'éolienne ne dépasse pas 5 kW, elle appartient aux appareils électroménagers et ne nécessite aucune coordination avec la compagnie d'électricité locale. De plus, vous n'avez pas à payer d'impôts si vous ne tirez aucun bénéfice de la vente d'électricité. De plus, une éolienne génératrice artisanale, même avec une telle performance, nécessite des solutions d'ingénierie complexes : elle est facile à réaliser. Par conséquent, la puissance domestique dépasse rarement 2 kW. En fait, cette puissance est généralement suffisante pour alimenter une maison privée (bien sûr, si vous ne disposez pas d'une chaudière et d'un climatiseur puissant).
Dans ce cas, on parle de droit fédéral. Par conséquent, avant de décider de fabriquer un moulin à vent de vos propres mains, il ne serait pas superflu de vérifier la présence (l'absence) d'actes juridiques réglementaires assujettis et municipaux pouvant imposer certaines restrictions et interdictions. Par exemple, si votre maison est située dans une zone naturelle spécialement protégée, l'utilisation de l'énergie éolienne (et c'est une ressource naturelle) peut nécessiter des autorisations supplémentaires.
Des problèmes avec la loi peuvent survenir en présence de voisins agités. Les éoliennes pour la maison sont des bâtiments individuels, elles sont donc également soumises à certaines restrictions :
- La hauteur du mât (même si l'éolienne est sans pales) ne peut excéder les normes établies dans votre région. De plus, il peut y avoir des restrictions liées à l'emplacement de votre site. Par exemple, une trajectoire d'atterrissage vers l'aérodrome le plus proche peut passer au-dessus de vous. Ou à proximité immédiate de votre site, il y a une ligne électrique. En cas de chute, la structure peut endommager les poteaux ou les fils. Les limites générales sous une charge de vent normale sont de 15 mètres de hauteur (certaines éoliennes de fortune montent jusqu'à 30 mètres). Si le mât et le corps de l'appareil ont une grande section transversale, les voisins peuvent faire des réclamations contre vous, sur le terrain duquel l'ombre tombe. Il est clair que de telles plaintes découlent généralement « d'un préjudice », mais il existe une base juridique.
- Bruit de lame. La principale source de problèmes avec les voisins. Lors de l'utilisation d'une conception horizontale classique, le moulin à vent émet des infrasons. Ce n'est pas seulement un bruit désagréable, lorsqu'un certain niveau est atteint, les vibrations ondulatoires de l'air ont un effet néfaste sur le corps humain et les animaux domestiques. Un générateur de moulin à vent fait maison n'est généralement pas un "chef-d'œuvre" d'ingénierie et peut à lui seul faire beaucoup de bruit. Il est hautement souhaitable de tester officiellement votre appareil auprès des autorités de surveillance (par exemple, dans le SES) et d'obtenir un avis écrit indiquant que les normes de bruit établies ne sont pas dépassées.
- Un rayonnement électromagnétique. Tout appareil électrique émet des interférences radio. Prenez, par exemple, un moulin à vent d'un générateur de voiture. Pour réduire le niveau d'interférence du récepteur de voiture, des filtres à condensateur sont installés dans la voiture. Lors de l'élaboration d'un projet, assurez-vous de tenir compte de ce point.
Les réclamations peuvent être faites non seulement par les voisins qui ont des problèmes de réception des signaux de télévision et de radio. S'il existe des centres de réception industriels ou militaires à proximité, il n'est pas superflu de vérifier le niveau d'interférence dans l'unité de contrôle électronique des interférences (EW).
- Écologie. Cela semble paradoxal : il semblerait que vous utilisiez une unité respectueuse de l'environnement, quels problèmes peut-il y avoir ? Une hélice située à une hauteur de 15 mètres et plus peut devenir un obstacle à la migration des oiseaux. Les lames rotatives sont invisibles pour les oiseaux et elles sont facilement touchées.




















































