- Sélection des matériaux pour l'installation
- Tuyaux en fonte
- tuyaux en plastique
- Tuyaux en PVC
- Tuyaux en polypropylène
- Tuyaux en polyéthylène
- Système d'égout extérieur
- voie ouverte
- Voie cachée
- Assainissement externe
- Installation d'un puits de drainage
- Installation d'une fosse septique
- Quel niveau de pente d'égout supporter
- Pose de tuyaux d'égouts extérieurs
- Erreurs dans l'installation des tuyaux d'égout
- Installation de lignes secondaires
- Exigences primaires
- Le but du joint hydraulique dans le système d'égout
- Ventilation des colonnes montantes d'égout
- Travail à faire soi-même
- Schéma du réseau d'égouts
- Auto-assemblage
- Profondeur de pavage
- Éléments d'égout sous pression
- Sélection de tuyau
- La séquence de travail lors de l'installation de l'assainissement interne
- Exécution des travaux
- Installation de tuyaux en plastique avec de la colle
- Installation de tuyaux en plastique par soudage
- Règles générales d'installation
- Colonnes montantes d'égout sans hottes sorties au-dessus du toit
Sélection des matériaux pour l'installation
Il n'y a pas d'opinion unanime sur les conduites d'égout à choisir après tout. Chaque matériau a des côtés positifs et négatifs. Considérez les principaux matériaux pouvant être utilisés lors de la pose souterraine de conduites d'égout.
Tuyaux en fonte
Malgré leur solidité et leur résistance à la chaleur, les tuyaux en fonte sont rarement utilisés aujourd'hui. Les développeurs sont passés à de nouvelles normes pour plusieurs raisons, dont la principale est la sensibilité de la fonte aux processus corrosifs.

Une alternative aux tuyaux en fonte est la céramique, le fer et l'acier. Parmi les inconvénients, la complexité de l'installation se démarque et le remplacement difficile en cas de dommage. La rugosité inhérente à la fonte contribue à l'adhérence de la saleté sur ses parois internes, ce qui, avec le temps, compliquera le passage de l'eau.
tuyaux en plastique
Les entreprises de construction proposent plusieurs variétés de tuyaux en plastique : chlorure de polyvinyle (PVC), polypropylène (PP), polyéthylène (PE), polyéthylène réticulé (PEX) et tuyaux métal-plastique. Les types suivants sont utilisés pour l'installation :
Tuyaux en PVC
Des tuyaux en chlorure de polyvinyle sont utilisés pour les parties externes et internes du système d'égouts. Les tuyaux en PVC sont utilisés dans de nombreux domaines d'activité et conviennent également à l'installation d'égouts.

Ce matériau est recommandé par les codes et règlements du bâtiment (SNiP). Les avantages des tuyaux en PVC comprennent:
1) Résistant à la corrosion et à la pourriture ;
2) L'installation de tuyaux en PVC ne nécessite pas d'outils spéciaux ;
3) Les raccords de tuyauterie sont bien serrés ;
4) Faible coût par rapport aux tuyaux métalliques.
Tuyaux en polypropylène
Les tuyaux en polypropylène ont fait leurs preuves ces dernières années. Grâce à son faible poids, les tuyaux ne sont pas exposés à la corrosion et résistent aux contraintes mécaniques. Réagissez calmement aux basses températures. La surface lisse empêche la saleté de coller aux parois du tuyau. Résistant aux produits chimiques ménagers. Les inconvénients des tuyaux en polypropylène comprennent:
- Faible flexibilité des tuyaux ;
- Les tuyaux sont fabriqués sous la forme de pièces mesurées. La nécessité d'un grand nombre d'éléments de connexion complique l'installation ;
- Le scellement des joints est possible.
Tuyaux en polyéthylène
Les tuyaux en polyéthylène sont légers, ce qui facilite le transfert de matière. Les parois intérieures lisses empêchent le colmatage. La souplesse du matériau permet d'économiser sur les pièces de raccordement. La durée de vie est de cinquante ans. Le matériau n'est pas exposé aux processus corrosifs et aux produits chimiques ménagers. Résiste aux chocs hydrauliques. Comparé à ses homologues en métal et en béton, le prix des tuyaux en polyéthylène est inférieur.
Système d'égout extérieur
La pose de la canalisation externe peut être effectuée à la fois avant l'assemblage de la canalisation interne et après. Pour démarrer l'installation, il suffit d'avoir un tuyau de sortie d'égout domestique installé, car l'installation commence par celui-ci.

Cependant, avant le montage, il est nécessaire de décider de la méthode de pose du pipeline externe. La partie extérieure de l'égout peut être réalisée de manière ouverte et cachée.
voie ouverte
Cette méthode consiste à poser des tuyaux dans des tranchées préparées et à remblayer. Tous les travaux nécessaires pour creuser des tranchées et installer le pipeline peuvent être effectués à la main. Parmi les équipements spéciaux, seule une excavatrice peut être nécessaire si la longueur et la profondeur des égouts sont importantes et que vous souhaitez économiser vos propres forces. Cependant, il est possible de poser un système de drainage à ciel ouvert uniquement sur une zone relativement vide sans arbres ni dépendances.
L'ordre des travaux en présence du projet est le suivant :
- Ils creusent, dégagent des pierres et tassent des tranchées.La profondeur doit être inférieure au niveau de congélation afin que les eaux usées ne gèlent pas pendant la saison froide. S'il est prévu d'isoler le pipeline, la profondeur des tranchées est d'au moins un demi-mètre. La largeur des tranchées est supérieure de 40 cm au diamètre des tuyaux utilisés, la pente est de 1 à 3 cm par mètre linéaire.
- Du sable est versé dans les tranchées et tassé - un oreiller amortisseur est obtenu qui soutiendra le tuyau dans la bonne position.
- Collectez le pipeline de la sortie de l'égout domestique au site d'installation du puits.
- Endormez-vous des couches d'oreillers absorbant les chocs latéraux et tassez-les.
- Réaliser un remblayage sans tassement : d'abord poncer, puis terre.
Voie cachée
Sur le terrain, il peut y avoir des obstacles qui interfèrent avec le terrassement : arbres, bâtiments et autres objets paysagers. Dans ce cas, il ne sera pas possible de poser les égouts à ciel ouvert, vous devez donc vous tourner vers des spécialistes qui peuvent poser le pipeline sans porter atteinte à l'intégrité du sol.
La méthode cachée de pose des égouts est autrement appelée la méthode de ponction.
- Avec une plate-forme de forage spéciale, un puits pilote est posé sous terre depuis l'emplacement du puits jusqu'au tuyau d'égout domestique.
- Développez le puits à un diamètre de 1,5 fois la section transversale du pipeline.
- Fixez l'extrémité du pipeline à la buse à l'extrémité du foret et tirez-la dans le puits.

Assainissement externe
Schéma du système d'égouts
Les éléments externes de l'assainissement comprennent des réservoirs de sédimentation, des puits et des conduites d'alimentation. La durée de création et les caractéristiques de fonctionnement dépendent directement du type de système que vous avez choisi.
Le placement de l'une des options sélectionnées est influencé par les facteurs suivants :
- quelle est la profondeur des eaux usées
- relief du territoire
- à quel point le sol gèle-t-il en hiver
- disponibilité de puits dans la région
- structure du sol
- passage d'autres communications sur le site
Installation d'un puits de drainage
puits d'égout
Installation d'un puits de drainage
L'option la plus simple pour les eaux usées externes est un puits de vidange. Comment le faire de vos propres mains?
- Décidez où creuser le trou pour le puits. Le puits doit être situé légèrement plus bas que la maison
- Creusez un canal d'alimentation de la maison à la fosse et à la fosse elle-même
Choisissez le matériau de revêtement des parois du réservoir - Collectez un puits, apportez un tuyau de la maison
- Remplissez les douves et montez le couvercle du réservoir
Les matériaux de paroi de réservoir les plus courants sont :
- anneaux ou blocs de béton préfabriqués. Pour l'installation de telles structures, un équipement de levage est nécessaire.
- constructions monolithiques. Dans ce cas, la fosse préparée est coulée avec du béton à l'aide de raccords métalliques. Il existe des compartiments septiques monolithiques.
Le puisard peut être étanche et grillagé. Si vous choisissez hermétique, le fond de la fosse devra également être posé. Au fond des puits de criblage, en règle générale, de la pierre concassée ou des cailloux sont versés afin qu'ils laissent passer une partie du ruissellement dans le sol.
Installation d'une fosse septique
Installation d'une fosse septique
Installation d'une fosse septique
Avant de commencer la construction d'une fosse septique, vous devez préparer son projet. Le projet doit tenir compte du volume de la future structure, tenir compte des normes de construction et sanitaires. Ceux qui sont confrontés pour la première fois à un problème similaire sont invités à demander de l'aide à la rédaction d'un projet auprès de spécialistes. Mais vous pouvez essayer de faire un projet vous-même
La partie la plus importante de la préparation est le calcul du volume des compartiments de la fosse septique.Pour que le traitement des eaux usées soit effectué le plus efficacement possible, les eaux usées doivent rester dans la chambre de vidange pendant 3 jours. Vous devez calculer le volume de liquide drainé en fonction du nombre de personnes vivant dans la maison
Préparation des fosses, fossés. Roem une fosse pour les caméras et un fossé de la maison pour un tuyau
Nous déterminons le matériel pour les chambres septiques
Assemblage de caméra. Nous montons des caméras dans la fosse
Faire particulièrement attention à l'étanchéité des compartiments, les joints doivent être étanches, bien étanches
Lien. Au stade final, nous connectons les tuyaux à la fosse septique et effectuons un test
Il est nécessaire de prendre en compte les normes de placement des structures de déchets sur un terrain personnel
Les matériaux les plus courants pour les fosses septiques :
- anneaux ou blocs de béton préfabriqués. Pour l'installation de telles structures, un équipement de levage est nécessaire.
- constructions monolithiques. Dans ce cas, la fosse préparée est coulée avec du béton à l'aide de raccords métalliques. Sortie de fosses septiques monolithique
Filtre à eau pour la maison de campagne: filtre de débit, principal et autres (Photo & Vidéo) + Avis
Quel niveau de pente d'égout supporter
En entrant plus en détail dans cet article du magazine de construction au niveau de la pente des conduites d'égout, il convient de noter que les erreurs dans ce domaine entraînent le plus de problèmes. Premièrement, avec une petite pente des tuyaux, les drains ne peuvent pas se déplacer indépendamment vers la colonne montante sous l'influence de la gravité, de sorte que les tuyaux se bouchent de temps en temps.

Deuxièmement, en conséquence, les tuyaux d'égout peuvent fuir, surtout s'ils sont mal scellés au niveau des joints. Troisièmement, une odeur désagréable peut apparaître dans la pièce, du fait que les drains sont constamment dans les tuyaux.
C'est pourquoi il est si important d'observer le bon niveau de pente des conduites d'égout. Avec tout ce qui précède, vous devez savoir qu'un trop grand angle du clone d'égout n'est pas non plus très bon, en raison du bruit constant lors de la vidange des toilettes ou de l'évier.

Le niveau correct de pente d'égout doit être d'au moins 3 cm par 1 m pour un tuyau de 110 et d'au moins 2 cm pour un tuyau de 50 mm de diamètre. Niveau maximum pente pour tuyaux ne doit pas dépasser 15 cm sur 1 m, sinon il fera beaucoup de bruit lors de la vidange des égouts.
Pose de tuyaux d'égouts extérieurs
Restrictions sur l'emplacement des installations d'égouts :
- à partir de 5 m du logement ;
- de 20 à 50 m d'une source d'eau propre ;
- à 10 m du jardin.
Le bâtiment privé est supprimé pour :
- 8 m des puits-filtres ;
- 25 m des champs filtrants ;
- 50 m des équipements de traitement par aération ;
- A 300 m des égouts.
Les conduites d'eau vers la fosse septique sont isolées de manière à ne pas geler en hiver avec un isolant thermique et sont placées dans des structures en amiante-ciment. Le câblage externe est constitué d'éléments d'une section de 10 à 11 cm, dont la pente est de 2 cm sur 2 m.Il est souhaitable de poser des composants sans virages ni angles.
Erreurs dans l'installation des tuyaux d'égout
Premièrement, afin d'éviter que le tuyau ne soit écrasé par le sol, il doit d'abord être recouvert d'une couche de sable dont l'épaisseur serait d'au moins 15-20 cm. Deuxièmement, les puits d'inspection avec des révisions installées sur les tuyaux doivent être installé après une certaine distance. Dans ce cas, il sera possible de nettoyer les tuyaux d'égout des blocages.

Troisièmement, il ne faut pas oublier la pente nécessaire des conduites d'égout, qui doit être d'environ un centimètre par mètre.La qualité du réseau d'égouts et son fonctionnement ininterrompu à l'avenir en dépendent directement.
Lors de l'assemblage des tuyaux d'égout, des erreurs se produisent souvent en raison d'une mauvaise qualité d'étanchéité des joints. Pour sceller les coutures du tuyau d'égout il est recommandé d'utiliser un mastic à la silicone, qui non seulement scelle bien les joints, mais vous permet également de mettre rapidement un coude ou un té sur le tuyau (utilisé comme lubrifiant).

Dans ce cas, les élastiques (joints) doivent être absolument intacts et ne présenter aucun défaut. Ils doivent pouvoir se mettre correctement sur la douille du tuyau, s'ils sont unilatéraux. Sinon, la couture du tuyau d'égout fuira certainement.
Installation de lignes secondaires
Le câblage d'égout dans une maison privée est l'un des endroits les plus importants. L'embranchement doit mesurer au moins 1 mètre de long et au plus 10 mètres de long. Les systèmes complexes sont toujours un gros inconvénient, car lors du colmatage d'une zone, vous devrez démonter de nombreuses connexions pour déterminer la zone à problème. La première règle qu'un constructeur novice doit retenir est que le diamètre de sortie doit être exactement le même qu'au point de connexion. Autrement dit, 1 embranchement doit être composé du même tuyau, l'expansion ou la contraction n'est pas autorisée.
Le sciage s'effectue uniquement perpendiculairement, sans copeaux, surfaçages, "jambages" ou autres "améliorations" au grand dam des maîtres. L'utilisation de matériau PVC est autorisée, mais indésirable, vous devez acheter du plastique renforcé - il est beaucoup plus fiable. La pente d'égout dans une maison privée sur des embranchements doit être la suivante: 0,3% ou 0,003 ppm (3 centimètres par 1 mp) pour un tuyau Ф50 mm et 0,2% ou 0,002 ppm pour un diamètre de 110 mm.Il est impossible de faire une pente plus petite, car les sédiments s'accumuleront constamment, plus est également impossible, afin d'éviter le coton fort.
Exigences primaires
Afin d'éviter tout problème lors du processus de création d'un système d'assainissement dans votre propre maison, il est préférable de suivre autant que possible dans ce processus toutes les exigences et normes décrites dans la documentation réglementaire - SNiP. Dans ce cas, tout fonctionnera parfaitement pendant une longue période.
Dans tout bâtiment où une conduite d'eau est posée et où il y a une prise d'eau, un système doit être réalisé pour éliminer les masses de ruissellement. Des mécanismes de drainage devraient également être créés sur les sites. En général, un tel réseau peut non seulement offrir une vie confortable, mais également ne pas nuire à l'environnement et augmentera également considérablement le temps d'utilisation du bâtiment.
En règle générale, les égouts se composent des systèmes suivants :
- tempête, qui détourne l'eau;
- Extérieur;
- interne.
Ils doivent être posés de manière à ce que les diverses exigences d'assainissement des bâtiments pour l'assainissement de votre propre maison soient respectées.
Parmi ces exigences figurent :
- assurer un nettoyage normal;
- aucun risque d'inondation du bâtiment ;
- garantir le volume requis d'eaux usées ;
- accumulation et transport serrés des eaux usées.
Si nous parlons des exigences pour les systèmes internes de ce type, elles devraient alors comprendre les éléments suivants :
- une colonne montante à laquelle tous les tuyaux sont attachés ;
- dilution des tuyaux, qui pompe les eaux usées en direction de la colonne montante ;
- appareils de plomberie pour le drainage.

Selon les normes, dans le mécanisme, dont une partie est située dans le bâtiment, il doit y avoir suffisamment d'espace pour le libre transport du liquide depuis les endroits où la vidange est effectuée jusqu'aux tuyaux qui sortent du bâtiment. Lors de la pose d'égouts à l'intérieur du bâtiment, des tuyaux en fonte ou en certains types de polymères sont utilisés. À la sortie, la taille d'un tel tuyau doit être de 11 centimètres. Naturellement, dans ce mécanisme, il doit également y avoir une ventilation. Habituellement, il est effectué à travers la colonne montante. Au-dessus de chaque élément, un espace d'échappement est aménagé qui surplombe le toit.


Si nous parlons du projet de systèmes externes, sa création est réalisée en tenant compte des exigences prescrites dans le SNiP numéro 2.04.03-85.
Les points suivants doivent être pris en compte dans ce document :
- des puits pour l'entretien et le nettoyage doivent être installés dans le mécanisme;
- pour dépolluer les effluents, une installation utilisant des biométhodes est nécessaire ;
- si nous parlons d'un réseau gravitaire, des tuyaux en polymère, en céramique ou en amiante-ciment sont utilisés;
- les tuyaux situés à l'extérieur des limites du bâtiment doivent avoir un diamètre d'environ quinze centimètres et être posés au niveau de dix à douze centimètres;
- s'il y a peu d'étages dans le bâtiment, plusieurs maisons peuvent être combinées en un seul réseau;
- s'il est impossible d'aménager un système gravitaire, il est préférable d'opter pour un égout sous pression.


Un autre point important est le choix du design
Ceci est très important lors de la conception d'un réseau d'égouts autonome.
Il peut y avoir trois options pour les fosses septiques utilisées :
- bassins d'aération;
- fosse septique de stockage;
- traitement.
Parlons maintenant un peu plus d'eux. Les Aerotanks sont les dernières solutions utilisant plusieurs méthodes de nettoyage.Après avoir utilisé une telle fosse septique, le liquide est éliminé à près de 100 %. L'eau peut être facilement drainée dans le sol, un réservoir et utilisée pour l'irrigation. La fosse septique de catégorie stockage est une version améliorée du puisard, dans laquelle le nettoyage n'est pas effectué, mais seuls les drains sont collectés. Lorsque la fosse septique est remplie à un certain niveau, il devient nécessaire de la nettoyer. Cela se fait généralement à l'aide d'un équipement d'égout spécial.
Si nous parlons des différences par rapport au puisard, aucune filtration dans le sol n'est effectuée dans ce cas. Cela signifie qu'aucun dommage n'est causé à l'environnement. Mais encore, ce type de fosse septique a été extrêmement peu utilisé ces dernières années en raison du coût élevé du coût des services des équipements spéciaux d'assainissement. Ce type ne peut être utilisé que si vous vivez relativement rarement dans la maison.


Les fosses septiques de traitement sont utilisées non seulement pour l'accumulation, mais également pour l'épuration des eaux usées. En règle générale, au début, les effluents qu'ils contiennent sont décantés, après quoi la décomposition se produit au niveau biologique à l'aide de bactéries spéciales - anaérobies et aérobies, qui sont spécialement ajoutées au sol à cette fin.
Pour cette raison, les meilleurs types de sol pour cette catégorie de fosses septiques seront le sable et le loam sableux. Si la terre est argileuse, il est préférable d'utiliser une autre fosse septique, bien que cette option ne soit pas interdite dans ce cas. C'est juste qu'alors l'installation d'une fosse septique s'avérera trop coûteuse, car il y aura toujours l'installation spéciale nécessaire pour créer des champs de filtration.


Le but du joint hydraulique dans le système d'égout
Les drains et les eaux usées ont une odeur désagréable, mais ils sont absents de l'appartement, en raison de la présence de joints d'étanchéité dans les appareils de plomberie. Il s'agit d'un bouchon d'eau formé à la suite de la différence de hauteur entre deux tuyaux. Il y a toujours de l'eau dans le tuyau, le recouvrant complètement en coupe transversale, même lorsque la plomberie n'est pas utilisée. Cette barrière à l'eau empêche les gaz d'égout de pénétrer dans les tuyaux dans la pièce. Après la vidange, l'ancien bouchon d'eau est remplacé par un nouveau.
Pour éviter le dessèchement du joint d'eau, un peu d'huile végétale est versée dans les trous de vidange avant de partir. Il forme un film et empêche ainsi le liquide de s'évaporer. Les toilettes et les bidets ont des joints d'eau. "Remplacement des égouts de appartement à faire soi-même».
Pour raccorder les éviers de cuisine, douches, baignoires et lavabos au réseau d'égouts utilisent des siphons, qui ont une double fonction :
- étanchéité à l'eau;
- élément de liaison entre le tuyau et l'appareil sanitaire.
Résoudre la question de savoir comment fabriquer un égout dans un appartement est une étape importante dans la préparation des travaux de réparation. Mais pour cela, vous devez avoir une idée claire du fonctionnement du système d'égout pendant son fonctionnement.
Ventilation des colonnes montantes d'égout
Afin d'éviter le déversement dans les conduites d'égout et l'écoulement inverse des eaux usées, la colonne montante d'égout ne doit pas avoir une extrémité supérieure aveugle - le tuyau d'égout vertical doit être dirigé vers l'extérieur sur le toit pour la ventilation.
La ventilation du réseau doit être assurée par des colonnes montantes de ventilation raccordées aux points les plus hauts des canalisations.
Les réseaux d'égouts domestiques et industriels qui rejettent les eaux usées dans le réseau d'égouts extérieur doivent être ventilés par des colonnes montantes dont la partie d'évacuation est mise en hauteur : par le toit ou le conduit de ventilation préfabriqué du bâtiment :
a) d'un toit plat non utilisé ………. 0,3 m;
b) toit en pente ………………………………………….0,5 m;
c) toit exploité …………………………… 3,0 m;
d) bord tranchant du puits de ventilation préfabriqué …….. 0,1 m.
Le diamètre de la partie d'échappement de la colonne montante d'égout doit être égal au diamètre partie perdue de la colonne montante.
Il est permis de combiner plusieurs colonnes montantes d'égout au-dessus d'une partie d'échappement.
Diamètre de sortie colonne montante pour un groupe de colonnes montantes d'égout unitaire un bâtiment résidentiel privé, ainsi que les diamètres des sections de la tuyauterie de ventilation préfabriquée qui unit les colonnes montantes d'égout, doivent être pris au moins 100 mm.
La connexion d'une colonne montante de ventilation supplémentaire à l'égout doit être prévue par le bas sous le dernier appareil inférieur ou par le haut - vers le processus dirigé vers le haut du té oblique installé sur la colonne montante d'égout au-dessus des côtés des appareils sanitaires ou des révisions situés à cet étage . La conduite de ventilation préfabriquée reliant les colonnes montantes d'égout au sommet doit être dotée d'une pente de 0,01 vers les colonnes montantes.
Les parties d'échappement des colonnes montantes d'égout sorties au-dessus du toit doivent être placées à partir de l'ouverture fenêtres et balcons distance d'au moins 4 m (horizontalement).
Attention! Il est interdit de connecter la partie d'échappement des colonnes montantes d'égout avec des systèmes de ventilation et des cheminées
Travail à faire soi-même
Pour organiser de vos propres mains un dispositif d'assainissement dans une maison, vous avez besoin d'un schéma avec lequel vous pouvez calculer quels types de matériaux et de plomberie seront nécessaires et en quelle quantité. Le dessin doit être réalisé à l'échelle.
Vous devez également prendre en compte des facteurs tels que :
- Le type de sol;
- niveau de la nappe phréatique ;
- Volume d'eau utilisé ;
- Caractéristiques climatiques de la région.
Plusieurs types de pose de canalisations d'égouts sont possibles : sous le sol, à l'intérieur des murs, à l'extérieur, mais cela est moins esthétique. Les tuyaux posés dans les murs ou sous le sol sont enduits de 2 cm ou remplis de ciment. Pour réduire le bruit du système, les tuyaux sont enroulés sans entrefers.
Schéma du réseau d'égouts
Le système d'égout dans une maison privée a un schéma compliqué, il doit prendre en compte, en plus de la profondeur et des matériaux, l'emplacement, en tenant compte des exigences.
À savoir:
- Pour installer une fosse septique ou un autre type de traitement des eaux usées, l'endroit le plus bas du site est sélectionné.
- La distance à la source d'eau potable est d'au moins 20 m.
- À la chaussée - au moins 5 m.
- Vers un réservoir ouvert - au moins 30 m.
- À un immeuble résidentiel - au moins 5 m.
Les tuyaux en plastique sont bien adaptés pour organiser les eaux usées
Lors de l'élaboration d'un schéma, il est nécessaire de marquer tous les points de vidange d'eau et la colonne montante. Le stand doit être à portée de main. Habituellement, il est installé dans les toilettes, car le tuyau d'évacuation des toilettes a un diamètre de 110 mm, comme celui de la colonne montante.
Les tuyaux de sortie de la baignoire et du lavabo sont généralement combinés en une seule ligne.
Il est important de se rappeler que le tuyau des toilettes ne doit pas avoir d'entrées provenant d'autres tuyaux. De plus, le schéma doit inclure l'emplacement du tuyau d'évent.
Auto-assemblage
Installation à faire soi-même à la maison il est recommandé de commencer par l'intérieur de l'égout, ainsi que sa ventilation. Le système d'égout doit contenir des trappes dans la canalisation pour l'inspection et la réparation. Les tuyaux sont fixés aux murs avec des colliers, des cintres, etc. Des croix, des tés et des collecteurs de grand diamètre (environ 100 mm) doivent être utilisés aux joints. Les adaptateurs aideront à connecter des tuyaux de différents diamètres.
La ventilation est également importante, car elle remplit 2 fonctions à la fois - entrée d'air dans les zones raréfiées, gaz d'échappement. Le vide se forme plus souvent lorsque l'eau est évacuée dans la cuvette des toilettes et lorsque la pompe de vidange de la machine à laver est en marche. L'afflux d'air empêche la capture d'eau dans le siphon et la formation d'un joint d'eau, qui émet un son fort et désagréable. Suite de la montée sur le toit se trouve un tuyau de ventilateur.
Pour l'installer correctement, vous devez suivre les règles :
- Le diamètre du tuyau du ventilateur est de 110 mm pour éviter que la glace ne bloque le passage.
- La hauteur du tuyau sur le toit est plus élevée que le reste, y compris les poêles, les cheminées, etc.
- Emplacement à une distance de 4 m des fenêtres et des balcons.
- Le tuyau du ventilateur doit être séparé de la ventilation générale et avec une sortie ultérieure vers le grenier.
Lors de l'aménagement des égouts, les règles de sécurité doivent être respectées
À travers un manchon avec clapet anti-retour, le collecteur dans la fondation sort à l'égout externe. Le diamètre du manchon est de 150-160 mm. L'écoulement inverse des eaux usées en présence d'un clapet anti-retour n'est pas possible en cas de contamination de la canalisation ou de débordement du récepteur d'eaux usées.
Profondeur de pavage
À quelle profondeur poser les tuyaux dépend de l'approfondissement de la fosse septique et de la profondeur du gel du sol dans la région. De plus, les tuyaux doivent être posés en dessous de ce niveau.
Ils sont posés selon le schéma et les règles suivants:
- Manque de virages de la maison à la fosse septique pour éviter les blocages.
- Tuyaux du bon diamètre.
- Le même matériau de tuyau dans le même pipeline.
- Respect de la pente (environ 0,03 m pour 1 linéaire).
S'il n'y a pas de pente ou si le degré est insuffisant, vous devrez installer une pompe d'égout. En outre, des puits supplémentaires doivent être inclus dans le système d'assainissement externe, en particulier s'il y a des virages de canalisation de la maison à la fosse septique. Ils aideront à l'entretien des égouts et à l'élimination des blocages ou du gel.
Il est recommandé de compléter les égouts, comme la plomberie, par une isolation thermique en mousse de polyuréthane et en polyéthylène ou de poser un câble électrique.
Éléments d'égout sous pression
L'assainissement sous pression se distingue de l'assainissement gravitaire par la présence d'équipements supplémentaires et se compose des éléments suivants :
- pipeline à partir de tuyaux sous pression spéciaux;
- pompe fécale ou station de pompage;
- puits ou récipient pour recueillir les eaux usées.
- La pompe est placée dans un puits et pompe les déchets à travers des tuyaux à la distance et à la hauteur requises.
Sur une note!
L'assainissement sous pression ne se fait que dans un cas, lorsqu'il est impossible d'en équiper un gravitaire.
La nécessité d'organiser un système de pression dépend de facteurs tels que:
- le bâtiment est situé sous le niveau des réseaux d'égouts centraux ;
- il est nécessaire de faire passer des canalisations à travers une route ou une voie ferrée ;
- le site a un relief différent ;
- la nécessité d'utiliser des tuyaux de petit diamètre.
Sélection de tuyau
courant
les magasins offrent une large sélection de tuyaux d'égout. Contrairement à
L'époque soviétique, quand il n'y avait pas d'autres options que les pipelines en fonte
était, aujourd'hui il existe un large choix de matériel:
- PVC (chlorure de polyvinyle);
- PPRC (polypropylène);
- PEHD (polyéthylène).
Sélection de tuyau
Les tuyaux en plastique sont beaucoup plus pratiques
en mise en place. Ils sont plus légers, équipés de douilles de raccordement avec étanchéité
sonne, regarde
beaucoup plus précis et n'ont pas besoin d'appliquer une couche protectrice de peinture. Poser horizontalement
un système de tels tuyaux est beaucoup plus simple et plus rapide. Il y a tout le nécessaire
raccords, tés, croix, etc. De plus, sous le pipeline en plastique
de n'importe quel diamètre, des pinces de montage sont vendues qui offrent un ajustement sûr
systèmes. Cela rend le montage
les égouts dans l'appartement sont un événement rapide et de haute qualité.
Les personnes non formées ne sont souvent pas
peut déterminer la taille (diamètre) des tuyaux d'égout. Existe
la méthode généralement acceptée d'installation de canalisations de 110 mm dans les toilettes. Tout à l'égout dans la cuisine ou
dans la salle de bain ne nécessite pas de telles dimensions, 50 mm suffisent. Si aucun
il n'y a pas d'exigences spécifiques, vous pouvez être guidé par cette règle.
La séquence de travail lors de l'installation de l'assainissement interne
L'installation du système d'égout à l'intérieur de la maison s'effectue dans l'ordre suivant:
Tout d'abord, des contremarches sont installées, amenant leurs extrémités au toit et au sous-sol. Ils doivent passer à proximité immédiate des toilettes. Au sous-sol, ils sont reliés à un tuyau incliné qui sort dans la fosse septique et les extrémités supérieures sont laissées ouvertes. ou muni de clapets anti-retour.
Deuxièmement, ils amènent les chariots des cuvettes de toilettes à la colonne montante. Ils doivent être séparés.
Troisièmement, ils sont connectés aux colonnes montantes d'autres appareils au-dessus des entrées des cuvettes des toilettes.
Quatrièmement, des siphons sont installés sur tous les appareils.
Cinquièmement, ils relient les siphons avec des eye-liners.
Sur ce, on peut considérer l'installation du système d'assainissement interne terminée.
Il est important que tous les joints soient serrés et que tous les tuyaux soient fixés de manière rigide aux murs ou aux plafonds, et leur divergence serait exclue
En conclusion, disons qu'un système d'égouts correctement conçu et assemblé fonctionnera tout ce dont il a besoin pendant longtemps sans problèmes graves.
_ _ _ _ _ _ _ _ _ _ _ _ _ _ _ _ _ _ _ _ _ _ _ _ _ _ _ _ _ _ _ _ _ _ _ _ _ _ _ _ _ _ _ _ _ _ _ _ _ _ _ _ _ _ _ _ _ _ _ _ _ _ _ _ _ _ _ _ _ _ _ _ _ _
Exécution des travaux
Après avoir effectué tous les travaux préparatoires, vous pouvez procéder directement à l'installation. Tout d'abord, vous devez démonter l'ancien système. Les travaux se déroulent comme suit :
- Tout d'abord, les zones problématiques sont identifiées dans lesquelles des travaux supplémentaires devront être effectués. Cela peut être l'endroit où le tuyau traverse le mur.
- À l'aide d'un ciseau, le démontage des tuyaux en fonte commence. Dans le même temps, la fonte ne doit pas être autorisée à pénétrer dans la conduite principale du système d'égout. Sinon, il peut mal fonctionner.

Travailler avec un égout en fonte n'est pas le spectacle le plus esthétique.
Si le remplacement de la colonne montante principale n'est pas prévu, le tuyau en est scié à l'aide d'une meuleuse.
Une fois le démontage effectué, les travaux sont arrêtés jusqu'au refroidissement complet des nœuds de connexion.
Installation de tuyaux en plastique modernes peut se faire de deux manières.
Installation de tuyaux en plastique avec de la colle
- les tuyaux sont coupés en morceaux de la longueur requise;
- les bords sont nettoyés avec du papier de verre;
- les bords sont dégraissés;
- les tuyaux sont vérifiés pour la compatibilité;
- la colle est appliquée aux bons endroits;
- les éléments traités sont interconnectés ;
- lorsque deux tuyaux sont comprimés, un rouleau se forme, ressemblant à du miel liquide en couleur;
- La colle sèche en une heure.
Installation de tuyaux en plastique par soudage
- l'installation commence également par la coupe des tuyaux de la longueur requise et le décapage;
- le dispositif de soudage est chauffé à une température d'au moins 260 degrés ;
- les connecteurs et un tuyau sont fixés sur un fer à souder;
- les pièces sont chauffées à la température souhaitée ;

Soudage de tuyaux en plastique
- les tuyaux sont connectés dans des endroits chauffés;
- les coutures sont vérifiées pour leur intégrité.
Règles générales d'installation
Les égouts internes dans une maison privée sont équipés d'un certain nombre de règles:
- Les éléments de colonne montante à rotation de 90° sont assemblés à partir de deux coudes en plastique tournés de 45°. Si une canalisation en fonte est installée, deux coudes à 135 ° sont utilisés.
- Afin de pouvoir éliminer les blocages éventuels dans les sections de canalisation, un té oblique en plastique ou en fonte est installé à 45 ° avec un bouchon et un coude ou une branche en fonte.Le raccord en fonte diffère du plastique par ses noms et ses gradations . Par exemple, un coude en plastique de 45° correspondra parfaitement à un coude en fonte de 135°.
- Les conduites de dérivation, situées dans les sous-sols, sous le plafond des locaux, sont reliées aux colonnes montantes à l'aide de croix ou de tés obliques.
- La hauteur entre la partie inférieure de la douille horizontale du té ou de la croix droite et le sol ne doit pas dépasser 20 mm.
- La longueur du tuyau entre les toilettes et la colonne montante ne doit pas dépasser 1 m.Pour les autres appareils de plomberie - pas plus de 3,5 m.
- Des croix à 90° ou des tés droits peuvent être utilisés pour faire des virages sur les contremarches ou des transitions vers des parcours horizontaux.
- Pour éviter l'apparition d'odeurs d'égout dans la pièce, une hotte d'évacuation doit être équipée. Le soi-disant tuyau de ventilateur est sorti à travers le toit à une hauteur d'environ 0,7 m.Il est inacceptable de le connecter à une cheminée ou à une ventilation.
- Si l'installation d'un tuyau de ventilateur n'est pas possible, une vanne d'air spéciale pour les égouts est installée.
- Le diamètre de la colonne montante doit être égal au diamètre de la partie échappement. Avec une hotte, vous pouvez combiner deux ou même plusieurs colonnes montantes au dernier étage ou dans le grenier. Les sections horizontales d'un tel pipeline sont fixées avec des supports de suspension ou simplement câblées aux chevrons.
- Sur les contremarches qui n'ont pas de retraits dans les étages supérieur et inférieur, des révisions pour l'égout sont installées. La hauteur standard de l'arrangement de révision est de 1000 mm à partir du niveau du sol. Si la pièce doit être installée dans le coin de la pièce, elle doit être tournée à un angle de 45° par rapport aux murs.
- Lors de l'installation d'un système d'égout interne, tous les tuyaux en plastique traversant les sols sont installés dans des manchons métalliques spéciaux. La hauteur de l'élément dépend de la largeur du chevauchement. Le haut de la pièce doit dépasser de 20 mm du niveau du sol et le bas doit être au ras du plafond.
- La colonne montante est installée avec un manchon. Pour qu'il ne tombe pas du tuyau, il est attaché avec un fil fin à la douille supérieure de la croix ou du té, ou éclaté de morceaux de mousse.
- S'il est supposé qu'une cuvette de toilette et d'autres appareils de plomberie seront connectés en série sur une section horizontale, un adaptateur d'égout doit être installé entre eux. Les pièces en plastique ne doivent pas être tournées vers le haut. Cela menace de problèmes lors de la connexion ultérieure de l'équipement, en particulier avec une douche ou un bain.En moyenne, le virage doit être effectué à la moitié de la douille du té en hauteur avec une direction vers le mur.
- Des pinces sont utilisées pour sécuriser l'égout. Les tuyaux en plastique sont fixés dans des sections horizontales si nécessaire, de sorte qu'il n'y ait pas de fractures. En moyenne, une pince est installée par demi-mètre - un mètre de longueur de ligne.
- Les tuyaux en fonte sont montés sur des supports en acier avec un coude à l'extrémité, ce qui empêche le pipeline de bouger. Des attaches sont installées sous chaque tuyau près de la douille.
- Les contremarches sont fixées aux parois latérales avec 1 à 2 pinces par étage. Les attaches sont installées sous les douilles.
Il est important de noter qu'à la fin des travaux d'installation, des tests d'étanchéité sont obligatoires.

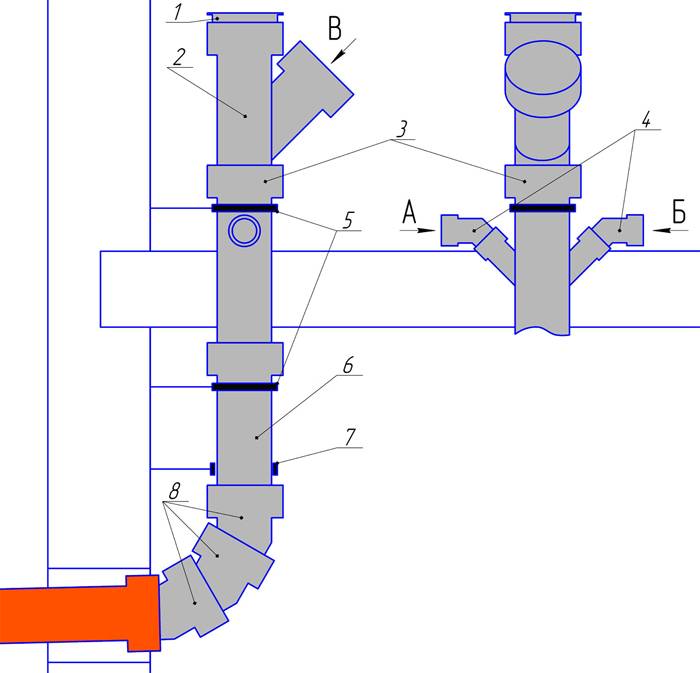
Fanovaya le tuyau peut être amenés sur le toit de diverses manières. Sur le Le diagramme montre trois options possibles. conceptions

Pour l'agencement des eaux usées internes, divers éléments de raccordement sont utilisés. Il convient de garder à l'esprit que les mêmes éléments en fonte et en plastique peuvent différer dans les noms et les marquages.
Les égouts sont un élément nécessaire de toute maison confortable. Son agencement ne nécessite pas de connaissances particulières, mais, en même temps, il ne peut pas être qualifié de simple. Il y a beaucoup de nuances et caractéristiques de la disposition du système. Commencez par le développement plans de tuyauterie, qui deviendra la base des travaux ultérieurs et aidera à calculer correctement la quantité de matériaux nécessaires. Déjà à ce stade, vous pouvez évaluer vos points forts et comprendre si vous serez capable de faire face au travail par vous-même ou si vous devrez rechercher des assistants. De nombreuses entreprises se spécialisent dans la fourniture de services de plomberie.Les professionnels effectueront rapidement et avec compétence l'installation d'un système d'égout de toute complexité.
(2 votes, moyenne : 3,5 sur 5)
Colonnes montantes d'égout sans hottes sorties au-dessus du toit
Dans ce cas, les eaux usées ne s'écouleront pas bien. Puisqu'ils n'ont aucune possibilité d'aspirer de l'air remplissant toute la section du tuyau (par exemple, sortant de la cuvette des toilettes), ils aspireront l'eau des siphons au lieu de l'air (à travers la hotte ou la valve d'aération). Dans ce cas, les gaz d'égout pénétreront dans les pièces.
Dans la maison, au moins une, la plus éloignée, située du drain à l'extérieur de la maison, la colonne montante d'égout doit avoir une hotte d'évacuation au-dessus du toit
Il est important que la hauteur du capot empêche le remblayage avec de la neige. Il assure l'aération de l'installation et l'évacuation des gaz d'égout vers l'extérieur.
Le reste des colonnes montantes peut se terminer par des vannes d'aération.













































