- Caractéristiques du choix du type de gazoduc
- Zones de sécurité d'autres réseaux
- Nuances des zones protégées
- Organisation d'une zone de sécurité du gazoduc à haute pression
- Technique de pose et règles de montage
- Description détaillée des principales étapes des travaux : raccordement à l'eau
- Matériaux : fonte et autres
- Installation à faire soi-même en 7 étapes : pince, selle, système d'assainissement, raccord
- Règles pour le placement des puits d'égout
- Violation de la zone de sécurité du gazoduc. Implications juridiques et environnementales
- Règles de calcul de la bande passante
- Entrées de base de gaz
- Zone de sécurité du gazoduc à haute pression: combien de mètres selon SNiP (SP)
- Le but de surveiller l'état d'un gazoduc souterrain
- Variétés de gazoducs
- Ce qui détermine le choix des communications
- Quel tuyau choisir: types
Caractéristiques du choix du type de gazoduc
Avant la construction de l'autoroute, vous devez choisir la meilleure option adaptée à des conditions spécifiques et vous familiariser avec les règles de pose. Étant donné que tout cela affecte les coûts financiers, l'efficacité et les coûts de main-d'œuvre.
Puisque, tout d'abord, le gazoduc doit être fiable, lors du choix d'une option, il est nécessaire de prendre en compte des points tels que:
- activité corrosive des sols;
- densité de construction;
- la présence de courants vagabonds ;
- caractéristiques du terrain ;
- type de revêtement routier, si le gazoduc le traversera ;
- largeur d'entrée ;
- la présence de barrières d'eau et bien d'autres.
De plus, il est nécessaire de déterminer le type de gaz qui sera fourni. Et aussi sa quantité - les volumes devraient être suffisants pour répondre aux besoins de tous les consommateurs.
Pour éviter les risques associés, ainsi que les dépenses financières inutiles, la pose de tout gazoduc doit commencer par des calculs spéciaux, dont le résultat sera la création d'un projet
Il convient également de tenir compte de la sécurité de l'approvisionnement. Dans cette optique, il convient de rappeler qu'un gazoduc en anneau est préférable à un gazoduc sans issue ou mixte. Par exemple, si le gaz est fourni au consommateur dit non commutable, l'option spécifiée doit être choisie.
Tous les points ci-dessus ne peuvent être ignorés - chacun d'eux est indiqué dans les documents réglementant les questions liées à la pose de gazoducs. Parmi lesquels figurent SP 62.13330.2011 et autres.
De plus, nous ne devons pas oublier que la construction et la modernisation de tout gazoduc doivent être effectuées conformément aux schémas d'approvisionnement en gaz. Qui sont développés à différents niveaux - du fédéral au régional.
Par conséquent, avant de commencer la conception, le propriétaire du bâtiment, les locaux doivent :
- obtenir un permis de gazéification auprès du département d'architecture et de design de la ville, du district ;
- s'adresser par écrit au gorgaz local (raygaz) afin d'obtenir la mission dite technique, qui est un ensemble d'informations nécessaires à la réalisation d'un gazoduc.
Et seulement après cela, il est permis de commencer à concevoir. Qui se termine par l'accord à Gorgaz (Reigaz).
Ce n'est qu'après cela qu'il sera possible de commencer à poser le gazoduc.Ce qui, par préparation, devrait fournir aux consommateurs du carburant dans la quantité requise et être sûr.
Les subtilités du joint gazoduc à une maison privée nous avons décrit dans le post suivant.
Le lieu de pose du gazoduc doit être clôturé et signalé par des panneaux spéciaux. De plus, cette règle est pertinente pour tous les cas. Ceci est fait pour assurer la sécurité.
Zones de sécurité d'autres réseaux
Il convient de garder à l'esprit que l'approvisionnement en eau, les égouts et les autres communications ont également leurs propres zones de protection sanitaire. Ils sont aussi appelés agents de sécurité. Oui, la zone protégée du gazoduc en tient déjà compte.
Réseau de chauffage souterrain
Cependant, avant d'effectuer tout travail, il est important de prendre en compte ces paramètres pour chaque réseau afin que rien ne soit laissé sans attention. Et pour qu'en fin de compte, il ne s'avère pas qu'un réseau ne correspond pas aux autres
Il est important de prendre en compte que la zone sanitaire pour certaines communications doit être installée de chaque côté de l'axe. Chacun de ces systèmes avec une zone de sécurité a sa propre table SNiP (SP) avec des normes de distance à certains objets
Il vaut toujours la peine d'être guidé avec précision par les codes du bâtiment et les règles sur le nombre de mètres dans chaque direction à reculer.
Nuances des zones protégées
Il est également important de considérer que le gazoduc principal est une histoire complètement différente d'une station ou d'un hub de distribution de gaz. Et la zone de sécurité sur les autoroutes à haute pression atteint 50 mètres
La taille de la zone de protection du tuyau principal
En règle générale, ce sont des tuyaux de grand diamètre. Avec une telle largeur, en cas d'accident, la fuite sera beaucoup plus importante et plus intense. Cela est dû au volume de la substance à l'intérieur et à la vitesse de son transport.
Les règles de localisation des zones de sécurité sont valables partout, tant à Moscou que dans la région de Nizhny Novgorod. Après tout, selon la définition des experts, ce pipeline a le statut d'une HIF (installation de production dangereuse).
Gazoduc principal hors sol
Et il ne s'agit pas seulement de graves conséquences juridiques pour ceux qui violent la zone de protection. À en juger par la pratique des décennies, avec la pose illettrée de communications gazières, il est possible de faire face à de tels risques qui menaceront la vie d'autrui.
Organisation d'une zone de sécurité du gazoduc à haute pression
La zone de sécurité du gazoduc à haute pression est organisée par l'organisme qui l'exploite sur la base d'un projet qui affine l'enquête réalisée après l'achèvement de la construction et les permis délivrés. Pour le maintenir, les activités suivantes sont menées.

- Tous les six mois, une organisation exploitant des gazoducs à haute pression est tenue de rappeler aux particuliers et aux organisations qui exploitent des terres dans des zones protégées les caractéristiques de l'utilisation des terres dans ces zones.
- Chaque année, l'itinéraire doit être mis à jour et, si nécessaire, toute la documentation émise à son sujet doit être corrigée. La zone de sécurité du gazoduc à haute pression est spécifiée en conséquence.
- La zone de sécurité du gazoduc à haute pression est marquée sur ses sections linéaires à l'aide de colonnes situées à une distance maximale de 1000 m (Ukraine) et maximale de 500 m (Russie), tous les angles de rotation du tuyau doit également être indiqué par une colonne.
- Les points d'intersection du gazoduc avec les autoroutes de transport et autres communications sont nécessairement signalés par des panneaux spéciaux indiquant qu'il existe une zone d'exclusion du gazoduc à haute pression.Il est interdit d'arrêter les véhicules dans la zone de sécurité désignée.
- Chaque colonne est fournie avec deux affiches avec des informations sur la profondeur de l'itinéraire, ainsi que sa direction. La première plaque est installée verticalement et l'autre avec des marques de kilométrage - à un angle de 30 degrés pour la possibilité d'un contrôle visuel depuis les airs.
Technique de pose et règles de montage

Installation d'un pipeline à partir de tuyaux individuels d'une longueur mesurée ou de sections sur des chaises longues au-dessus d'une tranchée
La pose des communications par gazoduc est un processus difficile et long, qui se déroule par étapes et comprend plusieurs étapes. Une étape préparatoire est nécessaire, y compris le développement d'un projet de gazoduc.
Le projet ne doit être développé que par des spécialistes qualifiés ; sur sa base, l'installation sera effectuée à l'avenir. Le projet doit nécessairement tenir compte des caractéristiques du paysage et du sol du site où les travaux d'installation seront effectués, ainsi que des conditions climatiques de la zone.
La deuxième étape comprend les travaux directs sur l'installation de gazoducs. Ensuite, les travaux de démarrage sont effectués.
La dernière étape est le contrôle du gazoduc installé. Il est nécessaire de tester sa résistance et d'effectuer un contrôle d'étanchéité de tous les éléments structurels. Toutes les vérifications hydrauliques ne peuvent être effectuées qu'après l'installation de tous les accessoires.
Le gazoduc étant un ouvrage explosif, aucune construction ne peut être réalisée à proximité immédiate. Pour cela, des colonnes spéciales sont utilisées qui marquent la zone de sécurité. La taille de la zone tampon dépend du type de gazoduc. Des panneaux d'avertissement appropriés sont installés au besoin.
Conclusions principales :
Seules des personnes spécialement formées doivent effectuer le processus d'installation.
Le gazoduc est une structure qui crée un danger.
L'installation nécessite le strict respect des règles de sécurité, dont la violation peut entraîner des conséquences dangereuses.
Préparer la documentation technique nécessaire pour le permis et l'installation d'équipements à gaz.
Seules des personnes spécialement formées doivent effectuer le processus de conception et d'installation.
Il est important de respecter toutes les exigences relatives aux matériaux et composants du gazoduc.
Description détaillée des principales étapes des travaux : raccordement à l'eau
Lorsque vous décidez comment effectuer un raccordement à l'alimentation en eau sans couper la pression dans le système central, vous devez vous familiariser attentivement avec chaque étape des travaux. Au départ, il faut calculer le tracé des tuyaux. Une profondeur de 1,2 m est considérée comme optimale pour eux.Les tuyaux doivent aller directement de l'autoroute centrale à la maison.
Matériaux : fonte et autres
Ils peuvent être fabriqués à partir des matériaux suivants :
- polyéthylène;
- fonte;
- Acier Cink.
Un matériau artificiel est préférable, car le raccordement à l'alimentation en eau ne nécessite pas de soudure dans ce cas.
Pour simplifier les travaux sur le lieu de raccordement, un puits (caisson) est construit. Pour cela, la fosse est approfondie de 500 à 700 mm. Un coussin de gravier est rempli à 200 mm. Un matériau de toiture est roulé dessus et du béton de 100 mm d'épaisseur avec une grille de renforcement de 4 mm est coulé.
Une plaque en fonte avec un trou pour une trappe est installée sur le cou. Les murs verticaux sont recouverts d'une substance imperméabilisante. La fosse à ce stade est recouverte d'un sol préalablement sélectionné.
Le canal perce manuellement ou à l'aide d'une excavatrice.L'essentiel est que la profondeur réponde aux exigences du projet. C'est en dessous de la limite de gel du sol dans cette zone climatique. Mais la profondeur minimale est de 1 m.
Pour le tie-in, il est préférable d'utiliser du matériel artificiel
Installation à faire soi-même en 7 étapes : pince, selle, système d'assainissement, raccord
Le processus d'installation se déroule selon la technologie suivante.
- Le dispositif de taraudage sous pression est situé dans une sangle spéciale de la pince. Cet élément est installé sur un tuyau préalablement nettoyé de l'isolation thermique. Le métal est frotté avec du papier de verre. Cela enlèvera la rouille. Le diamètre de la section transversale du tuyau sortant sera plus étroit que celui du tuyau central.
- Une pince avec une bride et un tuyau est installée sur la surface nettoyée. De l'autre côté, un robinet-vanne avec un manchon est monté. L'appareil dans lequel se trouve le couteau est fixé ici. Avec sa participation, une insertion dans le régime général est réalisée.
- Une perceuse est insérée dans le tuyau à travers une vanne ouverte et un presse-étoupe d'une bride aveugle. Il doit correspondre à la taille du trou. Forage en cours.
- Après cela, le manchon et le couteau sont retirés et la vanne d'eau se ferme en parallèle.
- Le tuyau d'entrée à ce stade doit être connecté à la bride de la vanne de canalisation. Le revêtement protecteur de la surface et les matériaux isolants sont restaurés.
- Le long du parcours de la fondation au canal principal, il est nécessaire de prévoir une pente de 2% du raccordement au tuyau d'entrée et de sortie.
- Ensuite, un compteur d'eau est installé. Une vanne de couplage d'arrêt est montée des deux côtés. Le compteur peut être dans le puits ou dans la maison. Pour le calibrer, la vanne à bride d'arrêt est fermée et le compteur est retiré.
Il s'agit d'une technique de taraudage courante.La perforation est réalisée en fonction du type de matériau et de la conception du renfort. Pour la fonte, le meulage est effectué avant le travail, ce qui vous permet d'éliminer la couche externe compactée. Un robinet-vanne à bride en fonte avec un coin caoutchouté est installé au point de raccordement. Le corps du tuyau est percé d'une couronne en carbure. Le matériau de l'élément de coupe est important. Une vanne à bride en fonte ne nécessite que des couronnes solides, qui devront être changées environ 4 fois pendant le processus de taraudage. Le piquage sous pression dans une conduite d'eau n'est effectué que par des spécialistes compétents.
Pour les tuyaux en acier, il n'est pas nécessaire d'utiliser une pince. Le tuyau doit y être soudé. Et déjà une vanne et un dispositif de fraisage y sont attachés. La qualité de la soudure est évaluée. Si nécessaire, il est en outre renforcé.
Le tuyau en polymère n'est pas meulé avant qu'un outil de prise de pression ne soit placé sur le site de ponction. La couronne d'un tel matériau peut être à la fois solide et souple. C'est une autre raison pour laquelle les tuyaux en polymère sont considérés comme bénéfiques.
La prochaine étape consiste à tester. Les robinets d'arrêt (robinet à bride, robinet-vanne) et les joints sont vérifiés pour détecter les fuites. Lorsque la pression est appliquée à travers la vanne, l'air est purgé. Lorsque l'eau commence à couler, le système est inspecté avec le canal non encore enterré.
Si le test réussit, ils enterrent la tranchée et la fosse au-dessus du raccordement. Les travaux sont exécutés dans le respect des règles de sécurité et conformément aux instructions.
Il s'agit d'une méthode fiable et productive qui ne perturbe pas le confort des autres consommateurs. Le travail peut être effectué par tous les temps
Par conséquent, la méthode présentée est si populaire aujourd'hui.Le raccordement au réseau d'eau est un événement technique très important.
Règles pour le placement des puits d'égout
Les puits des systèmes de drainage constituent une partie importante du réseau, offrant la possibilité d'entretien, de nettoyage, de technologie pour déplacer le flux. Ils sont installés à une distance donnée les uns des autres.
La densité de placement des conteneurs dépend du diamètre du canal. Par exemple, pour une ligne de 150 mm entre les réservoirs d'inspection, il devrait y avoir 35 m. Pour les tuyaux de 200 et jusqu'à 450 mm, la distance entre les puits passe à 50 m. Ces normes sont dues aux spécificités du travail et les paramètres de l'équipement qui nettoie les canaux. Il est impossible de les casser, car à cause de cela, la possibilité de restaurer le réseau disparaîtra.
Quelle devrait être la distance entre le gazoduc et l'égout, les normes ne l'indiquent pas directement. Les principales exigences portent sur les interstices entre les fondations, les limites du site, les puits ou puits d'abreuvement, les réservoirs, etc. On pense que les égouts ne menacent pas le gazoduc. Cependant, tant pour le réseau d'assainissement que pour les communications gazières, des normes sanitaires et de protection s'appliquent. Ils ne répondent pas aux exigences techniques, ce qui devient souvent une source de litiges et de désaccords.
Oui, pour le gaz zone tampon des pipelines est de 2 m autour du tuyau. Pour zone de sécurité des égouts est de 5 m autour du pipeline ou du puits. Par conséquent, selon les normes SanPiN, la distance entre le gazoduc et le système d'égouts doit être d'au moins 7 m, ce qui peut être assuré lors de la construction de grands bâtiments, mais une telle exigence ne peut pas être satisfaite dans la construction privée. La taille des parcelles, la proximité d'autres objets et d'autres facteurs vous empêcheront de respecter les normes.
Il convient de tenir compte du fait que la zone de sécurité des communications augmente considérablement s'il y a des réservoirs, des puits d'eau potable et d'autres plans d'eau à proximité. Par conséquent, l'emplacement des pipelines fait l'objet de controverses constantes. Ils sont autorisés, guidés par les conditions d'emplacement du bâtiment, la taille du site et d'autres facteurs. Dans le même temps, le droit formel de se plaindre des violations de la pose de réseaux dans les services SES demeure, même s'ils ne s'efforcent pas trop de l'utiliser.
Violation de la zone de sécurité du gazoduc. Implications juridiques et environnementales
La violation de la zone protégée du gazoduc peut provoquer un grave accident d'origine humaine, un incendie ou une explosion. Ils peuvent être causés par des travaux de terrassement non autorisés dans des zones protégées sans accord avec l'organisation de service du gazoduc, des chutes d'arbres et des dommages causés par des voitures.
Au mieux, il y aura une violation de l'isolation, au pire, des fissures et d'autres défauts apparaîtront sur le tuyau, ce qui, avec le temps, entraînera une fuite de gaz. De tels défauts peuvent ne pas apparaître immédiatement et ne provoquer qu'éventuellement une condition d'urgence.
Les dommages aux gazoducs dus à la violation des zones de sécurité sont passibles d'une amende administrative importante, qui dépend du degré de dommage. La démolition des bâtiments et ouvrages construits sur le territoire des zones protégées est effectuée par décision du tribunal administratif.
Réalisation de travaux de terrassement non autorisés, plantation non autorisée d'arbres et d'arbustes, organisation de compétitions sportives, mise en place de sources d'incendie, construction de bâtiments, développement de bacs à sable, ainsi que pêche, approfondissement ou nettoyage du fond, et aménagement d'un abreuvoir aux endroits où l'eau sous-marine section du gazoduc passe, est passible d'amendes de 5 mille roubles.
Règles de calcul de la bande passante
Le principal facteur responsable de l'approvisionnement continu en carburant bleu des consommateurs est la valeur du débit du gazoduc. Le calcul de ce paramètre est effectué selon un algorithme spécial. De plus, il est fabriqué quel que soit le type de tuyaux utilisés.
Le débit maximal d'une conduite de gaz peut être calculé à l'aide de la formule suivante :
Q max. \u003d 196,386 × D² × P / Z × T,
où:
- P est la pression de service maintenue dans le gazoduc, plus 0,1 MPa ou la pression absolue du gaz;
- D est le diamètre intérieur du tuyau ;
- T est la température du carburant bleu pompé, mesurée sur l'échelle Kelvin ;
- Z est le facteur de compressibilité.
Cette formule établit le schéma suivant : plus la valeur de l'indicateur T est élevée, plus la bande passante du réseau doit être importante.
Sinon, une dépressurisation du gazoduc se produira, ce qui entraînera inévitablement une explosion de cette substance dangereuse.
Après avoir choisi le type de tuyaux pour le gazoduc, il est important de déterminer correctement la méthode de raccordement
Il existe une formule plus compliquée. Cependant, l'algorithme donné ci-dessus est tout à fait suffisant pour effectuer les calculs nécessaires avant le raccordement au gazoduc.
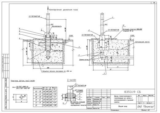
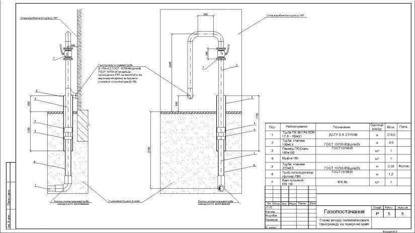
Entrées de base de gaz

Description et application des entrées de base de gaz
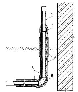
Des entrées de socle de gaz sont installées aux points de transition du gazoduc souterrain externe vers la position hors sol, ainsi qu'à l'endroit où la sortie est située à proximité immédiate du bâtiment.
L'entrée de la base de gaz peut être réalisée en pliant un tuyau en plastique avec une connexion en polyéthylène-acier dans un boîtier de protection (Fig. b).
De même que les entrées de base de gaz sont réalisées à l'aide d'une branche et de réchauffeurs intégrés (Fig.dans)
Les entrées de socle de gaz sont recouvertes d'un revêtement isolant renforcé conformément aux normes GOST 9.602-2005 et RD 153-39.4-091-01.
Variétés d'entrées de base de gaz
Selon le code de règles pour la conception et la construction de gazoducs à partir de tuyaux en polyéthylène SP 42-103-2003 ″, il est possible d'utiliser trois types d'entrées de base de gaz:
a - entrée de base de gaz en acier;
b - entrée de base de gaz en polyéthylène, avec un coude libre du tuyau;
c - entrée de base de gaz en polyéthylène, utilisant une sortie avec résistances intégrées.
1 - section en acier de l'entrée du sous-sol ; 2 - transition "acier-polyéthylène" ; 3 - gazoduc en polyéthylène ; 4 - boîtier ; 5 - boîtier en polyéthylène incurvé ; 6 - prise avec éléments chauffants intégrés ; 7 - dispositif d'isolation électrique
LLC "NIZHPOLYMER" propose tous les types d'entrées de base de gaz, conformément à l'ensemble des règles SP 42-103-2003.
a - Entrée de base de gaz en forme de L (courbée) à partir d'un tuyau isolé en acier.
Une telle entrée de base de gaz est un produit très fiable et éprouvé qui peut être utilisé pendant la saison froide à basse température, du fait que la connexion permanente est souterraine. Une telle entrée de base de gaz a un diamètre de 32x34 (Dn25) et 63x57 (90x89, 110x108) et est fabriquée sans joint soudé.
Les entrées de socle de gaz d'un diamètre de 160x159, 225x219, 315x273 et plus sont fabriquées avec un joint soudé avec un protocole pour leur vérification. La partie en acier est isolée avec un ruban à quatre couches "Polylen" à base de polyéthylène stabilisé à la lumière thermique et de caoutchouc butyle. La couche d'isolation est supérieure à 1,8 mm.
b - Entrée directe de base de gaz avec un coude libre d'un tuyau en polyéthylène.
Le diamètre des entrées directes du socle de gaz est de 32x34(Dn25)mm.
c - Entrée de base de gaz d'un gazoduc avec une section droite d'un tuyau en polyéthylène et d'un tuyau isolé en acier (entrée de base en forme de i).
Une telle entrée de base de gaz est utilisée dans diverses zones climatiques, en raison de l'emplacement souterrain de 0,5 m. La partie supérieure d'une telle entrée est également renforcée par une bande Polylen à quatre couches à base de polyéthylène thermo-stabilisé à la lumière et de caoutchouc butyle. La couche d'isolation est supérieure à 1,8 mm.
Tableau des entrées de base de gaz chez NizhPolymer :
| Nom | Poids (kg | Tuyau PE GOST 50838-95 | Tuyaux en acier | L1, pas moins de mm | L2, pas moins de mm | L3 pas plus de mm | dmm | d1mm |
| VCG PE 80 GAZ SDR 11 32/st25 GOST 3262-75 (2х1)** | 6,96 | 32x3.0 | 25x3.2 | 1800 | 1100 | 300 | 32 | 32 |
| VCG PE 80 GAZ SDR 11 32/st32 GOST 8732-78 (2х1) | 6,47 | 32x3.0 | 32x3.0 | 1800 | 1100 | 300 | 32 | 32 |
| VCG PE 80 GAZ SDR 11 32/st25 GOST 3262-75 (2х2)*** | 9,87 | 32x3.0 | 25x3.2 | 1800 | 2100 | 300 | 32 | 32 |
| VCG PE 80 GAZ SDR 11 32/st32 GOST 8732-78 (2x2) | 9,17 | 32x3.0 | 32x3.0 | 1800 | 2100 | 300 | 32 | 32 |
| VCG PE 80 GAZ SDR 11 40/st32 GOST 3262-75 (2х1) | 9,00 | 40x3.7 | 32x3.2 | 1800 | 1100 | 300 | 40 | 38 |
| VCG PE 80 GAZ SDR 11 40/st38 GOST 8732-78 (2х1) | 7,73 | 40x3.7 | 38x3.0 | 1800 | 1100 | 300 | 40 | 38 |
| VCG PE 80 GAZ SDR 11 40/st32 GOST 3262-75 (2x2) | 12,74 | 40x3.7 | 32x3.2 | 1800 | 2100 | 300 | 40 | 38 |
| VCG PE 80 GAZ SDR 11 40/st38 GOST 8732-78 (2x2) | 10,92 | 40x3.7 | 38x3.0 | 1800 | 2100 | 300 | 40 | 38 |
| VCG PE 80 GAZ SDR 11 63/st57 GOST 10705-80 (2x1) | 13,24 | 63x5.8 | 57x3.5 | 1800 | 1100 | 300 | 63 | 38 |
| VCG PE 80 GAZ SDR 11 63/st57 GOST 10705-80 (2x2) | 18,82 | 63x5.8 | 57x3.5 | 1800 | 2100 | 300 | 63 | 38 |
| VCG st57 GOST 10705-80 (2x3) | 25,38 | – | 57x3.5 | 1800 | 3000 | 300 | 57 | 38 |
Ensemble complet supplémentaire d'entrées de socle de gaz
, si nécessaire, est prêt à alimenter les entrées de gazoducs à base de gaz dans les configurations suivantes :
1) Vannes à gaz montées ;
2) Joints de dilatation à soufflet joints isolants ;
3) Coudes d'électrofusion.
Et aussi différentes tailles standard sont possibles (2x1, 2,5x1,3, 2x1,5, 2x2, etc.)
Zone de sécurité du gazoduc à haute pression: combien de mètres selon SNiP (SP)
Selon SP 62.13330.2011, ce paramètre est le plus grand. La zone du gazoduc devrait idéalement occuper un espace suffisant pour sécuriser les installations environnantes et fournir un accès rapide pour les réparations.
robinet-vanne
En effet, dans un gazoduc à haute pression, toutes sortes de risques sont plus élevés. En cas d'urgence, le gaz éclate brusquement, poussé par lui-même, et également en raison de facteurs qui indiquent à la substance la vitesse (à la suite de laquelle elle se déplace).
D'où il s'ensuit que pour la catégorie 2 (avec une chute de 0,3-0,6 MPa inclus), la zone de sécurité du gazoduc à haute pression est de 7 mètres dans chaque sens. Grâce à cela, il est possible d'éviter les problèmes de maintenance des communications ou toute situation d'urgence.
De telles mesures sont justifiées et l'on pense que la zone de protection des conduites haute pression de catégorie 2 devrait être encore plus grande. Au moins 7,4 à 7,8 mètres. Mais pour l'instant ce n'est qu'une théorie.
Canalisation hors sol
L'expérience accumulée est suffisante pour affirmer que ces normes pour les gazoducs de différentes pressions répondent aux besoins modernes. Et il est peu probable qu'ils changent dans les prochaines décennies.
Au moins jusqu'en 2022, aucun changement n'est prévu. Vous trouverez ci-dessous les normes applicables à la fois aux établissements humains, y compris les villes et les villages, et au secteur privé.
Composition du gaz naturel
Ces chiffres ont été obtenus au cours de nombreuses années d'exploitation des gazoducs et des communications gazières. Selon eux, l'excavation et d'autres travaux, la construction peuvent ou non être autorisés à la fin.
| Un objet | Distance du gazoduc (0,3–0,6 MPa inclus) |
| Maison (à la fondation, pas à la façade) | 7 mètres |
| Route | 7 mètres |
| Tuyaux d'eau | 1,5 mètres |
| Assainissement | 2 mètres |
| Lignes électriques (1–35 kV) | 5 mètres |
Il est important de tenir compte du fait que la pression dans la canalisation de catégorie 2 est de 0,3 à 0,6 MPa. Ainsi, les travaux de maintenance sur ce réseau de gazoducs se caractérisent par un danger accru.
Ainsi que l'exploitation d'un tel gazoduc est généralement plus dangereuse.
Bien sûr, un tel pipeline est beaucoup plus difficile à poser dans un endroit où il y a de nombreux bâtiments et structures à proximité, en raison de la distance de garde. Par exemple, même s'il s'agit d'un secteur privé, les maisons sont souvent situées à proximité, ce qui signifie que les structures souterraines et aériennes sont proches, y compris les communications avec leurs zones de sécurité.
Il convient donc de se demander à plusieurs reprises si la décision de poser un pipeline à haute pression sera justifiée. Même s'il y avait accord, approbation et, en général, toute la procédure a été adoptée sans plainte, ce n'est peut-être pas une raison pour poser un gazoduc avec de tels paramètres.
Normes pour la localisation des communications conformément à SNiP et SP
Cependant, il ne faut pas oublier qu'il existe encore des canalisations à haute pression de première classe, de 0,6 à 1,2 MPa. Dans de tels systèmes, la zone de sécurité est de 10 m dans chaque direction. Il sera de 2 m à l'arrivée d'eau, 5 m à l'égout.
Les normes d'indentation pour les gazoducs haute pression de catégorie 1 (plus de 0,6 et jusqu'à 1,2 MPa) sont présentées dans le tableau ci-dessous.
| Un objet | Distance du gazoduc (plus de 0,6 à 1,2 MPa) |
| Loger | 10 mètres |
| Route | 10 mètres |
| Tuyaux d'eau | 2 mètres |
| Ménage d'égout | 5 mètres |
Bien sûr, plus est possible. Par exemple, 5,5 m jusqu'à l'égout ou 3 m jusqu'à l'arrivée d'eau, y compris le puits. Mais ce sont toujours les paramètres applicables aux GDS (ainsi qu'aux ShRP et GRP) et aux nœuds.Les restrictions sont donc loin de celles qui sont imposées aux principaux pipelines.
Le but de surveiller l'état d'un gazoduc souterrain
Les gazoducs posés dans des tranchées nécessitent une inspection régulière tout autant que les routes terrestres. Bien sûr, ils ne sont pas menacés de dommages purement mécaniques, comme c'est le cas avec les communications ouvertes. Cependant, les travailleurs du gaz n'ont pas moins de raisons de s'inquiéter de leur état.
Si le tuyau transportant le carburant bleu est immergé dans le sol :
- Il est difficile de surveiller l'état mécanique du gazoduc, mais ses parois sont affectées par la pression au sol, le poids des structures et des piétons, ainsi que le passage des véhicules si la conduite principale passe sous une autoroute ou une voie ferrée.
- Il est impossible de détecter la corrosion à temps. Elle est causée par des eaux souterraines agressives, directement le sol, qui contient des composants actifs. La perte des caractéristiques techniques initiales est facilitée par les fluides techniques pénétrant jusqu'à la profondeur du tracé.
- Il est difficile de déterminer la perte d'étanchéité due à une violation de l'intégrité du tuyau ou de l'assemblage soudé. La raison de la perte d'étanchéité est généralement l'oxydation et la rouille des canalisations métalliques, l'usure banale des structures en polymère ou une violation de la technologie d'assemblage.
Malgré le fait que la pose de gazoducs dans des tranchées prévoit le remplacement complet des sols agressifs par des sols aux propriétés neutres, et que le dispositif dans les lieux de déversement possible de liquides techniques est totalement interdit, sans dispositifs spéciaux, ils ne peuvent être considérés comme complètement protégés contre agression chimique.
À la suite de la perte d'étanchéité, une fuite de gaz se produit qui, comme il se doit pour toutes les substances gazeuses, se précipite. En pénétrant par les pores du sol, la substance toxique gazeuse remonte à la surface et crée des zones au-dessus du gazoduc qui sont négatives pour tous les êtres vivants.
Une fuite de gaz peut facilement provoquer une catastrophe grave si le carburant bleu qui a quitté le tuyau "trouve" une cavité dans le sol pour s'accumuler. Lorsqu'il est chauffé, par exemple, par une exposition élémentaire à la lumière du soleil pendant une période estivale chaude, une explosion de combustible gazeux accumulé est presque inévitable.

La survenue d'une fuite de gaz du pipeline menace non seulement d'une violation de l'équilibre écologique, mais également de graves conséquences catastrophiques: explosions, destructions, incendies
De plus, une fuite de gaz entraîne des pertes financières considérables pour l'organisme de production et de transport de gaz. De plus, des désaccords peuvent survenir entre eux, ce qui ne vaut même pas la peine d'aller en justice si un tube de contrôle pour la surveillance n'a pas été installé sur le boîtier du gazoduc.
Variétés de gazoducs
Les communications par gazoduc sont classées en fonction de la pression et de l'emplacement.
Selon le niveau de pression peut être:
Pression de gaz dans le tuyau
- basse pression (jusqu'à 5 kPa);
- moyenne pression (jusqu'à 0,3 MPa);
- haute pression (jusqu'à 1,2 MPa).
Les gazoducs à moyenne et haute pression sont conçus pour fournir du gaz aux entreprises de production industrielle et aux stations de distribution de gaz, il est donc conseillé de les construire comme ressource pour la production à grande échelle.
Le gazoduc à basse pression est utilisé pour fournir du gaz directement aux habitations, il est donc nécessaire de le construire pour les établissements, les installations résidentielles et publiques.
Par emplacement, ils peuvent être du type suivant :
- clandestinement;
- terrain;
- Extérieur;
- interne.
L'installation de chaque type a ses propres caractéristiques et nuances. Le choix d'une méthode de pose d'un gazoduc dépend de nombreux indicateurs, par exemple les propriétés caractéristiques du sol, les conditions climatiques.
Les communications par gazoduc sont divisées en:
- gazoducs principaux ;
- gazoducs des réseaux de distribution.
Principaux gazoducs. Conçu pour fournir du gaz sur de longues distances. À certaines distances, des stations de compression de gaz doivent être installées, conçues pour maintenir la pression.
Les gazoducs des réseaux de distribution sont conçus pour fournir du gaz des stations de distribution de gaz aux consommateurs.

Ce qui détermine le choix des communications
Une commission spéciale est responsable du projet du nouveau gazoduc, qui détermine le tracé du gazoduc, la méthode de sa construction et les points pour la construction du GDS.
Lors du choix d'une méthode de pose, les critères suivants sont pris en compte:
- population du territoire où il est prévu d'étirer le gazoduc;
- la présence sur le territoire de communications souterraines déjà étendues ;
- type de sol, type et état des revêtements;
- caractéristiques du consommateur - industriel ou domestique ;
- les possibilités de divers types de ressources - naturelles, techniques, matérielles, humaines.
Une pose souterraine est considérée comme préférable, ce qui réduit le risque de dommages accidentels aux tuyaux et fournit un régime de température stable. C'est ce type qui est pratiqué le plus souvent s'il est nécessaire de fournir du gaz à des zones résidentielles ou à des bâtiments individuels.
Dans les entreprises industrielles, les autoroutes sont réalisées au-dessus du sol - sur des supports spécialement installés, le long des murs. La pose à ciel ouvert est également observée à l'intérieur des bâtiments.
Dans de rares cas, les conduites de gaz peuvent être masquées sous un sol en béton - dans les laboratoires, les lieux de restauration publique ou les services publics. Pour des raisons de sécurité, le gazoduc est placé dans un isolant anti-corrosion, coulé avec du mortier de ciment, et placé dans des étuis fiables aux points de sortie pour assurer la stabilité.
Quel tuyau choisir: types
Les tuyaux métalliques pour la clôture sont classés en deux groupes selon la section du profil. L'option de profil est subdivisée en trois groupes :
Selon la classification, les poteaux ronds conviennent aux clôtures grillagées. L'installation est réalisée au moyen de crochets soudés à la surface du profilé. La tension du treillis est augmentée en raison de la fixation.
Un tuyau professionnel est utilisé lors du montage de sections solides: tôles profilées, clôtures en bois ou en métal. De plus, le cadre est équipé de pièces encastrées pour la fixation du décalage et des plafonds.
Facteurs de choix des supports de clôture :
- Diamètre de coupe. Les supports de section insuffisante tomberont sous le poids du bardage, ou le leur lors du vent.
- Genre acier. Un support en acier revêtu durera plus longtemps, mais le coût de tels tuyaux est plus élevé. Des tuyaux en acier sans pulvérisation sont souvent utilisés, mais avec un traitement anti-corrosion supplémentaire.
- Longueur d'appui. Le paramètre dépend de la section et du poids des clôtures, du sol - la quantité de pénétration est prise en compte.
Tous les paramètres affectent la résistance à l'usure et la durée de vie de la clôture. Avec les charges de vent attendues, le quatrième facteur est pris en compte - le vent.Autrement dit, la capacité des supports à maintenir la clôture lors d'un ouragan et d'une tempête.































