- Installation de réservoir de toilette
- Montage mural
- Installation d'un réservoir autonome
- Installation du réservoir sur une clayette cuvette compacte
- Auto-remplacement du dispositif de vidange
- Remplacement facile du mécanisme de vidange
- Remplacement complet des composants
- Avec alimentation en eau de fond
- Instructions étape par étape pour remplacer le mécanisme de chasse d'eau dans les toilettes
- Nuances importantes lors du remplacement du réservoir de chasse vous-même
- Processus de préparation
- Comment remplacer la cuvette des toilettes vous-même
- Retrait du couvercle avec deux boutons
- Disposition générale des réservoirs
- Comment retirer complètement le réservoir si la réparation est impossible ?
- Dommages non liés aux barres d'armature
- Mesures préventives
- En bref sur les principaux
- Installation du réservoir et raccordement à l'eau froide
- Appareil et principe de fonctionnement
- Ajustement des éléments individuels
- Remplacement et fixation des pièces
Installation de réservoir de toilette
Les travaux préparatoires ont été effectués, les pièces internes sont préparées pour l'installation, la prochaine étape sera l'installation du réservoir. La méthode d'installation est présélectionnée, car chaque type de réservoir est monté selon son propre schéma.
Montage mural
Pour l'installation d'une cuvette de toilette suspendue et d'un réservoir intégré, un cadre-cadre est utilisé - installation. Avant de coudre le réservoir et le cadre avec un écran décoratif, vous devez vérifier non seulement la bonne installation du réservoir, mais également l'intégrité du cadre lui-même.
Algorithme d'installation de l'installation et du réservoir de vidange :
- Compte tenu des souhaits de l'emplacement du réservoir en hauteur, un emplacement pratique est choisi pour le cadre par rapport au mur, au sol et aux conduites d'égout.
- Lorsque les dimensions du cadre sont finalement sélectionnées, les emplacements de sa fixation sont marqués au mur et au sol.
- Les boulons d'ancrage fixent la position de l'installation.
- Une citerne et un siphon d'égout sont installés sur le cadre d'installation.
- Le réservoir de vidange est relié à l'alimentation en eau.
- Un écran décoratif est installé.
- Une fenêtre est découpée sous le bouton de vidange dans un faux mur avec son installation ultérieure.
Ce schéma général est destiné à une première prise de connaissance du principe de montage d'un réservoir encastrable. Le plan de travail exact étape par étape est décrit dans les instructions pour chaque système.
Installation d'un réservoir autonome

Avec cette conception, l'eau est évacuée sous pression, ce qui vous permet de laver la saleté avec moins de consommation d'eau.

1 - corps du conteneur ;
2 - partie supérieure - couvercle;
3 - pour abaisser le liquide - un levier;
4 - un tuyau qui améliore la pression de chasse - un tuyau de vidange;
5 - pour fixer le tuyau au réservoir - raccord;
6 - pour se connecter aux toilettes - un adaptateur.
Algorithme d'installation pour la plomberie autonome :
- Un tuyau de dérivation est relié à la structure du bol. Selon le niveau de son extrémité supérieure, l'emplacement du réservoir est marqué sur la paroi. Une fois le tuyau retiré jusqu'à ce que le travail avec le drain soit effectué.
- Les points pour les fixations sont mesurés sur la largeur du réservoir.
- Un réservoir est assemblé: des raccords sont placés à l'intérieur du réservoir de vidange, un tuyau de dérivation est connecté.
- Le réservoir est fixé au mur.
- Le tuyau de dérivation est relié au bol.
- Les conduites d'eau mènent au réservoir.
- Un test de vérification est en cours.
Installation du réservoir sur une clayette cuvette compacte
Le schéma le plus simple pour monter un réservoir de vidange consiste à le fixer à l'étagère des toilettes du modèle compact. Dans ce cas, un outil professionnel n'est pas nécessaire et tout le travail peut être effectué de manière autonome.
- Assemblez l'intérieur du récipient.
- Un joint torique est installé sur la partie saillante de la cuvette des toilettes (étagère). Un réservoir est monté dessus de manière à recouvrir le trou de raccordement par lequel le liquide est évacué du réservoir. L'étanchéité de la connexion est renforcée en serrant les boulons. Il est recommandé de placer le mastic sur le mastic. Dans ce cas, les trous pour les boulons reliant la structure du drain et la cuvette doivent correspondre.
- Tout d'abord, des rondelles en plastique et des joints en caoutchouc en forme de cône (cône vers le bas) sont enfilés sur les boulons, ils sont placés dans les trous des boulons de connexion, après quoi des joints plats et des rondelles en plastique sont placés sur la goupille des boulons. Les écrous sont serrés avec une clé.
Un serrage fort du joint entraînera son usure rapide.
Ce travail n'est pas terminé. Vous devez régler le réservoir de sorte qu'il soit de niveau. L'armature est mise en place. Le haut du récipient est mis en place - le couvercle. Le bouton est monté en place.
Un raccordement à l'alimentation en eau est en cours et des travaux de test sont effectués pour l'étanchéité de toutes les connexions, pour le bon fonctionnement du mécanisme de libération. Pour ce faire, le récipient est rempli d'eau. Si ces tests se sont déroulés sans problème, le fonctionnement est vérifié pour l'absence de fuite après la descente du liquide dans le bol. Si ces tests ont également réussi, les toilettes compactes peuvent être utilisées.
Auto-remplacement du dispositif de vidange
Pour remplacer l'ensemble de chasse d'eau dans le réservoir, vous devez préparer :
- pinces;
- clé ou clé;
- des pièces de rechange ou un tout nouveau mécanisme.
Tous les travaux sont effectués avec le plus grand soin possible, car les pièces individuelles sont très fragiles. Si une force excessive est appliquée, le kit peut être endommagé.
Remplacement facile du mécanisme de vidange
En règle générale, le mécanisme de la cuvette des toilettes, qui est responsable de la chasse d'eau, peut être facilement ajusté ou réparé, car il s'agit d'une conception vraiment simple et compréhensible, comme on peut le voir sur le schéma. Cependant, il arrive aussi que le mécanisme tombe complètement en panne, alors vous ne pouvez pas vous passer de son remplacement complet, pour lequel vous devez d'abord vous occuper du démontage de l'ancien mécanisme.
Rappelles toi
Tous les travaux de remplacement, de réglage ou de réparation du mécanisme de vidange ne doivent être commencés que lorsque vous avez complètement coupé l'alimentation en eau. La façon la plus simple de le faire est de fermer les robinets communs de la maison ou de l'appartement. Si ceux-ci n'ont pas été trouvés, vous devrez contacter le bureau du logement avec une demande de fermeture de la colonne montante pendant un certain temps, qui doit être respecté.
Remplacement complet des composants
Des consultants compétents et expérimentés travaillent dans des magasins de plomberie modernes, qui peuvent simplement décrire le mécanisme de vidange dont vous avez besoin pour une cuvette de toilettes à l'ancienne, avec un bouton ou deux boutons, afin qu'ils comprennent et vous conseillent exactement ce dont vous avez besoin.
- Coupez l'eau et appuyez sur le bouton de vidange du réservoir pour évacuer le liquide restant du système qui, lors du démontage, risque de couler sur le sol, ce qui est tout à fait inacceptable.
- Après avoir dévissé le bouton de vidange, retirez le couvercle des toilettes. Comment cela peut-il être fait exactement avec différentes options de boutons, il y a déjà un article sur notre site Web, vous devriez le lire plus en détail.
- Débranchez soigneusement tous les tuyaux visibles et démontez l'intérieur du mécanisme de vidange avec trop-plein et flotteur.
- Du bas de la toilette, dévissez les vis qui la fixent solidement au réservoir.
- Après avoir retiré le réservoir du support, nous démontons la partie inférieure du mécanisme de vidange avec le gros joint principal dessus.
- Dans l'ouverture du réservoir ainsi libéré, on commence à insérer progressivement et méthodiquement les pièces nécessaires à tour de rôle, en répétant toutes les étapes dans l'ordre inverse.
Si les vis de fixation du réservoir ont succombé à la corrosion, elles doivent être remplacées, même si elles ne sont pas dans le kit de réparation. Ensuite, vous devrez acheter ces articles en plus, heureusement, leur coût est abordable pour tout le monde. Ensuite, il reste à terminer le montage, mais pas complètement, puisque la première vidange d'eau doit être faite immédiatement, alors que vous n'avez pas encore vissé le couvercle du réservoir à sa place. Le mécanisme de chasse d'eau de la cuvette des toilettes à double bouton est remplacé de la même manière qu'avec un seul. L'essentiel est d'obtenir le bon jeu de pièces de rechange, afin de ne pas faire d'erreur de calcul.
Avec alimentation en eau de fond
Lorsque la vanne d'entrée d'eau dans le réservoir n'est pas située sur le côté, comme dans la plupart des cas, mais par le bas, il faudra alors un peu plus de temps pour bricoler. Le fait est qu'il n'y aura certainement pas seulement une valve, mais une membrane spéciale, qu'il sera assez difficile de «rapprocher» et de dérouler, en raison du manque d'espace libre. Le réservoir est le plus souvent situé près du mur, il sera donc vraiment difficile de faire demi-tour.
Les experts recommandent soit d'utiliser des têtes à douille spéciales, qui ne sont pas disponibles dans la ferme de tous les artisans domestiques, soit de couper une partie d'une clé ordinaire avec une meuleuse, soit d'essayer de faire quelque chose comme ça.Toutes les autres actions, à l'exception du dévissage des raccords d'admission, doivent être répétées selon le plan proposé, et de nouvelles pièces doivent être installées à la place des anciennes pièces. N'oubliez pas que de telles actions devront être répétées tous les 5 à 7 ans si, pendant cette période, des réparations dans la salle de bain et un remplacement complet du réservoir ne sont pas impliqués. Alors préparez-vous à de tels hauts et bas, et l'expérience vient généralement avec l'âge.
Instructions étape par étape pour remplacer le mécanisme de chasse d'eau dans les toilettes
Le mécanisme de chasse est installé comme suit :
- Fermez la vanne par laquelle l'eau pénètre dans le réservoir, vidangez le contenu restant du réservoir.
- Si les toilettes sont munies d'un bouton, démontez cet élément.
- Retirez le couvercle du réservoir.
- Retirez le levier de dégagement.
- Dévisser la soupape de purge avec siège.
- Débranchez le réservoir en dévissant les attaches qui le relient aux toilettes.
- Retirez l'écrou en plastique qui maintenait le mécanisme.
- Retirez le joint situé sous le réservoir, lavez-le ou remplacez-le.
- Le joint est remis à sa place.
- Installez le mécanisme dans le réservoir de vidange, vissez un nouvel écrou par le bas.
- Fixez le réservoir.
- Ajustez l'emplacement du levier de vidange en fonction de la hauteur du récipient.
- Ouvrez l'eau et remplissez le réservoir.
- Réglez les paramètres du mécanisme de vidange.
- Installez le couvercle en place.
- Visser le bouton.
Nuances importantes lors du remplacement du réservoir de chasse vous-même

Les instructions étape par étape pour remplacer le réservoir de toilette à la maison sont assez simples, mais pour que tout se passe bien, nous vous conseillons de suivre certaines recommandations :
Avant d'acheter un réservoir, renseignez-vous sur la marque de la toilette ou mesurez-la. Sinon, le nouvel article pourrait ne pas rentrer dans vos toilettes.
Il est préférable de contacter des magasins de confiance où travaillent des consultants expérimentés.
Ils sélectionneront le modèle de réservoir optimal et recommanderont les composants nécessaires.
Tous les boulons de montage doivent être inclus dans le kit - faites attention à cela. Sinon, achetez-les immédiatement séparément.
Si l'eau est fournie au réservoir par un tuyau, il est préférable de le remplacer par un tuyau flexible
C'est plus pratique et fiable.
Aux extrémités du raccord souple, les écrous ont un filetage intérieur, et si une sortie d'eau sort également du mur avec un filetage intérieur, il faudra utiliser un adaptateur.
Lors de l'achat d'un réservoir, évaluez le matériau du renfort. Si les pièces sont en plastique bon marché et cassant, elles s'useront rapidement et deviendront inutilisables.
Vous savez maintenant comment installer un réservoir de chasse d'eau chez vous et ce dont vous avez besoin pour cela. Notre guide vous permettra d'économiser sur les services de plombiers professionnels.
Si vous ne voulez pas consacrer votre temps libre à un processus fastidieux, vous pouvez toujours commander un remplacement de réservoir de toilette dans notre entreprise. Des plombiers avec de nombreuses années d'expérience travaillent à Sanremo - ils arriveront à l'heure et effectueront le travail proprement, avec compétence et à moindre coût.
Processus de préparation
Types d'alimentation en tuyaux du réservoir à la plomberie
Lors du choix d'une cuvette de toilette, il est important de considérer le type de connexion du réservoir au système de plomberie. Distinguer l'alimentation latérale et inférieure. Avec le type d'alimentation latérale, le réservoir est connecté par le côté, cette option est plus populaire
Avec le type d'alimentation latérale, le réservoir est connecté par le côté, cette option est plus populaire.
Dans le type d'alimentation inférieur, le réservoir est connecté par le bas, cette option est considérée comme silencieuse, elle vous permet de retirer les tuyaux de la vue. Petit à petit, il remplace le type de côté des marchés.
Il est nécessaire d'acheter un type d'approvisionnement approprié pour la structure d'égout existante, s'il n'y a pas de plans pour un remplacement majeur des conduites d'eau.
Outils dont vous aurez besoin lors du remplacement de la structure des toilettes
Pour changer une toilette cassée, vous aurez besoin d'outils standards. La composition de l'ensemble varie en fonction des caractéristiques de la plomberie en panne, du type de cuvette des toilettes, de l'état et de l'emplacement des tuyaux.
Vous aurez besoin d'un perforateur, d'un tournevis et d'une clé à molette, d'un burin avec un marteau, d'une scie à métaux, d'une spatule en caoutchouc, d'un niveau à mesurer, de lunettes de sécurité et de gants de travail.
Une clé à molette est utilisée lors du raccordement de l'alimentation en eau. Un perforateur fait des trous dans un mur ou un sol en béton pour fixer un réservoir ou un bol. Des tournevis sont nécessaires pour serrer les vis. Le mastic silicone est utilisé pour traiter les joints.
Quels éléments préparer à l'avance
Afin de démonter et d'installer rapidement une nouvelle plomberie, vous devez acheter à l'avance les éléments nécessaires, à savoir la cuvette des toilettes - un compact. La composition comprend des bagues d'étanchéité en caoutchouc, des attaches, un dispositif de vidange du réservoir. Si une colonne montante en fonte est installée sous les toilettes, vous aurez besoin d'un ciseau avec un marteau. Lorsque vous réglez le bol pour plus de précision, utilisez un niveau de mesure.
Consommables qui seront nécessaires lors du remplacement de la plomberie
S'il y a une pénurie de boulons, vis, rondelles, chevilles dans le kit de montage, vous pouvez acheter vous-même ceux qui manquent.
Le processus de démantèlement de l'ancienne toilette
Le démantèlement des équipements modernes ne causera pas beaucoup de difficultés. Le processus de démantèlement de la plomberie obsolète a ses propres nuances si l'égout est constitué d'un tuyau en fonte.
Si les toilettes sont fixées à un support en bois, il est assez facile de les retirer. Le support lui-même est retiré et le trou du sol est rempli d'une chape spéciale.
Une description étape par étape du démantèlement des toilettes modernes
Tout d'abord, nous restreignons l'accès à l'eau, puis nous vidons l'eau du réservoir.Nous enlevons l'eau restante avec un seau et un chiffon. Au fond du réservoir, dévissez les boulons et retirez-le, retirez un tuyau ondulé ou un excentrique en plastique reliant l'égout et la cuvette. Il est nécessaire d'essuyer le bol avec un chiffon ou une éponge. Nous dévissons les attaches sous le bol avec une clé, et il peut être retiré librement du sol.
Démontage d'une toilette installée au mortier de ciment
À l'époque soviétique, l'installation de la plomberie était faite de bonne foi, les toilettes étaient montées à l'aide de mortier de ciment. Le démontage de la plomberie sera similaire, comme pour les toilettes modernes jusqu'à ce que la cuvette soit retirée. À l'aide d'un ciseau, battez la base des toilettes en cercle et fendez le ciment, puis basculez les toilettes, utilisez un ciseau pour fendre doucement la sortie et retirer la cuvette. Retirez ensuite les restes de plomberie et de mortier de ciment du tuyau.
Comment remplacer la cuvette des toilettes vous-même

Lorsque vous changez la cuvette des toilettes d'un modèle neuf ou ancien à la maison, vous devez installer le nouvel élément sans hâte et très soigneusement
Il est important de s'assurer que le trou au fond du bol s'aligne avec le trou dans le lit à l'arrière du bol. Vous devez d'abord mettre des rondelles en plastique avec des joints en caoutchouc sur les boulons de montage, après quoi un joint en caoutchouc est également mis sur le drain et un réservoir est placé sur le dessus
Pour plus de fiabilité, vous pouvez enduire tous les élastiques de mastic silicone. Assurez-vous que tous les trous correspondent parfaitement, après quoi vous pouvez insérer les boulons de montage et commencer à serrer les écrous - vous devez le faire progressivement : d'abord à gauche, puis à droite. Cela évitera la distorsion. L'essentiel est de ne pas en faire trop pour que le fond du réservoir n'éclate pas.
Si vous achetez une nouvelle citerne, les raccords doivent être installés en usine, vous n'avez donc pas à l'installer, ce qui simplifiera votre tâche. Vous devrez raccorder le flexible d'arrivée d'eau sur le côté ou par le bas, mais n'oubliez pas d'utiliser un joint. Ouvrez ensuite le robinet pour remplir le réservoir. Ne vous précipitez pas pour vidanger l'eau, mais assurez-vous d'abord qu'il n'y a pas de fuites - l'eau ne doit pas suinter ou couler n'importe où.
Si tout est en ordre, vous devrez couvrir le réservoir avec un couvercle et serrer le bouton de vidange, puis vérifier le fonctionnement de la vidange.
Retrait du couvercle avec deux boutons
L'arsenal d'appareils pour la salle de bain a récemment été reconstitué avec deux échantillons de boutons-poussoirs. Le principe de l'appareil et le fonctionnement de la dernière modification ne sont pas très différents de l'analogique à un bouton et sont disponibles pour un remplacement à faire soi-même. La seule différence est que l'algorithme d'actions est répété deux fois. Pour retirer le réservoir de vidange :
- Appuyez sur l'un des boutons. En même temps, nous retirons le deuxième bouton de la fente à l'intérieur de la seconde moitié.
- Dans le trou ouvert, nous trouvons et dévisser la vis à fente.
- En soulevant, tournez le couvercle du réservoir de vidange de 90 degrés.
- Retirez le clip qui maintient le bouton.
- Retirez le couvercle et mettez de côté.

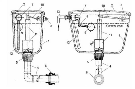
Disposition générale des réservoirs
La composition du réservoir de la chasse d'eau comprend les éléments principaux suivants :
- corps de réservoir ;
- Complexe d'aménagements intérieurs ;
- Accessoires d'étanchéité et de fixation.
Le corps de la cuvette des toilettes est en céramique, a différentes formes, volumes et designs. Parfois, il y a des produits en plastique. L'approvisionnement en eau s'effectue de deux manières - par le côté et par le bas, cela peut être fait à gauche et à droite.
Le complexe d'aménagements intérieurs se compose des éléments suivants :
- Vanne d'arrêt de remplissage ;
- Vanne de vidange;
- mécanisme de flotteur.
Le réservoir est rempli d'eau par la vanne de remplissage.
Une alimentation en eau flexible est reliée au filetage externe, la partie interne sert de dispositif de verrouillage et est contrôlée par un mécanisme à flotteur. Lorsque le flotteur est relevé à sa position la plus haute, la vanne se ferme ; lorsqu'il est abaissé, il s'ouvre.
Le mécanisme du flotteur a deux types d'exécution :
- Flottez sur un rayon métallique;
- Flottez sur la tige du levier d'entraînement.
Le flotteur est en plastique, moins souvent - en métal (aluminium, etc.).
La vanne de vidange est équipée d'un élément de verrouillage inférieur (poire, glissement) en caoutchouc plastique (caoutchouc). Il y a un trou de trop-plein au centre de la poire. Un tube de débordement creux est fixé à la poire et remonte jusqu'au tiers supérieur de la cuve. Lors du remplissage à son niveau supérieur (c'est-à-dire que la vanne de remplissage n'est pas complètement fermée), l'eau déborde dans la cuvette des toilettes.
Le robinet de vidange ferme le trou par lequel l'eau est fournie aux toilettes. La vanne s'ouvre de plusieurs manières :
- Dispositif à bouton - simple ou double;
- Commande d'échappement avec poignée;
- Entraînement d'échappement d'un réservoir à charnière avec une chaîne, un cordon;
- Pousser le flotteur.
Le dispositif à bouton-poussoir, lorsqu'il est enfoncé, soulève la poire du dispositif de vidange à l'aide de leviers. Un appareil à un seul bouton draine tout le volume d'eau, un appareil à deux boutons draine deux parties de volumes différents.
La tige de traction est reliée directement à l'actionneur de vidange et, lorsqu'elle est tirée, ouvre l'ouverture de vidange.Selon un principe similaire, l'eau est évacuée d'un réservoir séparé (mural), la poire est soulevée en tirant une chaîne ou un cordon relié par un mécanisme de transmission.
Certains modèles de réservoirs en plastique sont équipés d'un flotteur à pression ; lorsqu'il est enfoncé, le flotteur ouvre la vidange grâce à un système de leviers ; lorsqu'il est rempli d'eau, il ferme la vanne de remplissage.
Comment retirer complètement le réservoir si la réparation est impossible ?
Si le réservoir des toilettes est irréparable, il doit être soigneusement remplacé - mais comment faire? Vous devez agir dans un certain ordre :
- Arrêter l'alimentation en eau. Débranchez l'alimentation en eau à l'aide d'une clé à molette suédoise.
- Dévissez le bouton de vidange.
- Retirer le couvercle.
- Dévissez les deux vis qui fixent la cuvette au WC (elles sont situées au fond du réservoir).
- Remplacez l'ancien joint par un neuf. Cela aidera à éviter d'éventuelles fuites à l'avenir.
- Fixez un nouveau réservoir aux toilettes en respectant strictement la séquence d'actions inverse.
Le réservoir doit être installé uniformément, sinon il risque de se fissurer ou de fuir. Les boulons aux toilettes sont vissés progressivement pour éviter toute déformation.
Si vous rencontrez des problèmes avec le fonctionnement des toilettes, vous n'avez pas besoin de paniquer et de contacter immédiatement le maître. Ayant quelques tournevis et pinces à la maison, en plus d'écouter les recommandations d'experts, vous pouvez faire tout le travail vous-même, même si vous le faites pour la première fois.
Dommages non liés aux barres d'armature
Il est important de savoir comment réparer le réservoir ou la toilette elle-même s'il y a des fissures dans le corps. Une fuite d'eau peut provoquer une inondation, donc si vous trouvez un problème, vous devez agir immédiatement.
La colle pour céramique aidera à fermer la fissure, mais dans un proche avenir, la plomberie devra être remplacée.
Une fuite peut également se produire si :
- Les écrous des boulons avec lesquels le réservoir est fixé à la cuvette des toilettes se sont desserrés. Les fixations doivent être soigneusement serrées avec une clé. S'il est nécessaire de remplacer les joints, le réservoir devra être démonté et réinstallé.
- La manchette de liaison entre le réservoir et la tablette des toilettes est déformée ou endommagée. Il doit être remplacé, mais à titre temporaire, les espaces qui en résultent peuvent être scellés avec du mastic à la silicone.
Comment fermer rapidement une fissure dans le réservoir
Mesures préventives
Pour éviter les problèmes liés aux fuites, avec une consommation excessive d'eau s'écoulant constamment dans la cuvette des toilettes depuis le réservoir, il est important de connaître la conception du réservoir de chasse, pour pouvoir régler et réparer les mécanismes. Recommandé systématiquement :
Recommandé systématiquement :
- vérifier l'état de la tuyauterie flexible, nœud de raccordement ;
- inspectez les raccords à l'intérieur du réservoir, nettoyez-le des dépôts de calcaire et autres contaminants;
- vérifiez le serrage du collier de raccordement et des attaches boulonnées avec une serviette en papier;
- inspecter le réservoir et les toilettes pour les fissures.
Des mesures préventives vous permettent de prolonger la durée de vie des mécanismes.
En bref sur les principaux
La cause de la rupture du réservoir de chasse d'eau est généralement des raccords usés ou endommagés, un mauvais réglage, une déformation et une contamination des joints ou du robinet de vidange. En sachant réparer un réservoir de vidange, vous pouvez réparer ou régler le mécanisme d'alimentation en eau, rétablir la fonctionnalité du dispositif de vidange, remplacer complètement les raccords ou remplacer les éléments endommagés, y compris les joints.
Installation du réservoir et raccordement à l'eau froide
Fermez l'eau froide. À l'aide de clés à molette, dévissez les boulons et retirez l'ancien réservoir. Ensuite, rincez et séchez l'étagère où il se tenait.
Après le démontage, procédez à l'installation d'un nouveau.
Tout d'abord, collectez tous les éléments internes, installez les raccords pour évacuer l'eau.
N'oubliez pas que cela ne devrait pas affecter le fonctionnement du flotteur.
Une attention particulière est portée à la connexion étanche du réservoir avec la cuvette des toilettes. Enduire le joint des deux côtés avec du mastic silicone
Installez le réservoir et fixez les deux boulons. N'oubliez pas les coussinets
Serrez les boulons à tour de rôle en faisant attention, sinon la faïence risque d'éclater
Le remplacement du barillet des toilettes est presque terminé. Le raccordement à l'eau froide est le plus facile à installer. Connectez le tuyau d'eau froide à la vanne sur laquelle le flotteur est fixé, ajustez le niveau du flotteur et ouvrez l'eau. Observer le remplissage du réservoir jusqu'à ce que le flotteur remonte jusqu'à la position haute maximale.
Dès que l'eau atteint le niveau réglé, vérifiez à nouveau soigneusement l'étanchéité de la connexion. Si nécessaire, réajustez à nouveau le flotteur. Vidanger l'eau pendant le fonctionnement normal. Si tout fonctionne bien, installez le couvercle et fixez le bouton de vidange.
- Chape à faire soi-même sous un sol à eau chaude - les subtilités de la création d'une chape de haute qualité
- Semoir à grains manuel - de vos propres mains, vous pouvez le faire de différentes manières
- Nous fabriquons un hachoir à foin de nos propres mains
Appareil et principe de fonctionnement
Dans le niveau de concurrence actuel, les fabricants essaient d'offrir au consommateur le maximum de choix. Ceci s'applique également aux réservoirs.Les différences se feront dans le matériel utilisé, la qualité de réalisation, le prix. Afin de comprendre comment régler la cuvette des toilettes ou en installer une nouvelle, vous devez d'abord comprendre son dispositif.
La base de travail sera la même pour tous. Les différences seront dans la conception du réservoir. Ils peuvent être les suivants :
- Un mode de fonctionnement - un bouton ;
- Équipé d'un mécanisme à double mode - deux boutons.
Un réservoir avec un seul bouton signifie la libération de tout le volume d'eau en une seule fois. La présence de deux boutons et de 2 modes de fonctionnement permet d'importantes économies d'eau. Ils permettent de ne drainer que la moitié du volume lors de la vidange. Avec cette conception, il y a deux boutons. Un grand drainera toute l'eau et un petit - partiellement.

Le processus d'évacuation de l'eau peut également être effectué de différentes manières. Ici, les méthodes de transfert de force à la vanne qui ferme le trou de vidange sont distinguées.
Le schéma de rinçage du liquide peut être différent.
- Chasse directe. L'eau du réservoir s'écoule directement dans les toilettes. Ne change pas de direction.
- Rinçage inversé. Pendant le rinçage, le fluide change de direction. C'est plus efficace mais plus bruyant.
Si vous connaissez le dispositif de réservoir, vous pouvez facilement comprendre comment réparer le réservoir de toilette. Voyons maintenant le principe de fonctionnement et les éléments structurels. Il y a deux phases de travail :
- Le processus de collecte de la quantité d'eau requise;
- Rincer directement.
Le dispositif du réservoir de vidange sera similaire à un joint hydraulique classique. Les éléments principaux sont l'élément de verrouillage, le flotteur et le système de levier. En appuyant sur le bouton, on agit sur les leviers. Ils soulèvent la constipation qui obture le trou de drainage. En conséquence, l'eau est fournie au lavabo des toilettes.
Avec un design externe, tout est simple.Il ne comporte que 3 éléments - un réservoir, un couvercle, un bouton de vidange. C'est plus dur à l'intérieur. Il comprend les éléments suivants :
- Soupape à flotteur. Contrôle la présence et le niveau d'eau. Il comprend un flotteur, son levier. Le corps du robinet comporte des joints, un piston, un écrou-raccord pour le raccordement d'un tuyau d'alimentation en eau.
- Poire. Elément en caoutchouc recouvrant le trou de vidange.
- Vanne de vidange. Transfère la force du bouton à la poire.
Afin de comprendre comment assembler un réservoir, vous devez comprendre le principe de fonctionnement du mécanisme de vidange. Il est le suivant. Lorsque le bouton est enfoncé, le système de levier transmet le mouvement à la valve en caoutchouc (poire). Il monte, libérant le passage de l'eau vers le bas. Le niveau d'eau baisse. En même temps, le flotteur s'abaisse, ouvrant la vanne d'alimentation en eau. Le récipient est rempli jusqu'à un certain niveau. Le flotteur est compris et ferme la vanne.
Article connexe : Comment réparer un réservoir de toilettes
Pour un fonctionnement fluide et fluide lors de l'installation, il est nécessaire d'ajuster et de fixer le flotteur dans une position appropriée. Trouver la bonne position est facile.
- L'eau est fournie plus que nécessaire. Abaissez le flotteur.
- Le manque d'eau indique la nécessité de remonter le flotteur.
Ajustement des éléments individuels
Pour installer un nouveau système chargé de remplir d'eau, vous aurez besoin des outils suivants :
- règle en plastique ou ruban à mesurer en métal;
- clé;
- clés;
- composants d'armature nouvellement achetés.
L'eau peut entrer dans le réservoir par le bas ou par le côté. Si nous parlons de sommation latérale, pour la réparation, vous devez effectuer les étapes suivantes :
- Déterminer le diamètre du tuyau d'arrivée d'eau.
- Choisissez le système qui est nécessaire pour votre modèle.C'est assez simple à faire - vous devez retirer le couvercle du réservoir et voir quel type de raccords s'y trouvent. Après cela, achetez le même à coup sûr.
- Une fois toute la structure achetée, vous pouvez installer une nouvelle vanne d'admission d'eau.
- Coupez l'alimentation en eau des toilettes.
- Ouvrez le couvercle et videz complètement l'eau.
- Retirez les anciens raccords. Cela peut être fait après avoir dévissé l'écrou situé sur le tuyau flexible avec une clé. Dans le même temps, veillez à conserver toute la structure.
Cet événement peut être réalisé par une seule personne - l'essentiel est de travailler harmonieusement des deux mains.
Dans le cas où l'eau vient du dessous, il va falloir beaucoup souffrir pour dévisser l'écrou. Cela ne peut être fait qu'avec des matériaux improvisés ou après avoir raccourci la clé standard:
- Inspectez soigneusement le joint déjà utilisé. S'il ne présente pas de dommages ou de violations visibles, il est autorisé à le réutiliser pour une nouvelle structure installée.
- Les nouveaux raccords doivent être placés de manière à ne pas gêner le fonctionnement du système de vidange et à ne pas toucher les parois du réservoir lui-même.
- Connectez l'eau.
- Vérifier l'exactitude du travail effectué.
Remplacement et fixation des pièces
Après avoir ouvert le couvercle, vous verrez plusieurs trous d'un diamètre de 1,5 à 2 cm pour l'alimentation en eau (peut-être un seul). Dans l'un d'eux, des raccords de remplissage avec une vanne à membrane seront fixés.
Le principe de son fonctionnement est simple : lorsque le réservoir se vide, il démarre l'alimentation en eau, lorsqu'il est plein, il s'arrête. Un flotteur est nécessaire pour déterminer le niveau d'eau. Si vous avez peu ou inversement beaucoup d'eau, vous pouvez ajuster vous-même le niveau souhaité. Il est recommandé d'utiliser un volume de 5 à 7 litres d'eau.
La membrane est très sensible à la qualité de l'eau, sa durée de vie dépendra donc des filtres à eau. Si vous n'avez pas du tout de filtres, il est préférable de remplacer le mécanisme par un mécanisme domestique avec une valve à tige.
Le plus souvent, vous pouvez résoudre la question de savoir comment réparer un réservoir de chasse d'eau en remplaçant complètement les pièces. Pour les toilettes chères, vous pouvez trouver des rem. ensemble avec manchon et membrane. Sur les modèles bon marché, il sera plus rentable d'acheter de nouveaux raccords, ils ne sont pas très chers. L'essentiel lors de l'achat est de choisir le diamètre de tuyau souhaité, généralement de 10, 15 mm, ainsi que de 1/3 et ½ pouce.
Kit de montage pour la réparation des toilettes
Lors du remplacement, vous devez faire un joint étanche, alors mettez un joint d'étanchéité avant la fixation. Les raccords sont assemblés avec un écrou de réservoir. Ne les tordez pas trop fort ou des fissures pourraient apparaître.
Des bouchons décoratifs sont insérés dans les trous libres restants. Si nécessaire, vous pouvez modifier la position de l'alimentation en eau. Si le bouchon est simplement inséré dans le trou jusqu'à ce qu'il s'enclenche et ne repose pas sur l'écrou, aucun joint n'y est fourni, de sorte que l'eau s'écoulera en cas de dysfonctionnement.
Au bas du réservoir se trouvent des trous pour la fixation aux toilettes. La fixation s'effectue sur des boulons en métal ou en plastique. Les boulons en laiton et en acier inoxydable sont les mieux adaptés pour fixer la cuvette des toilettes. Les attaches métalliques ordinaires seront plus solides que celles en plastique, mais rouilleront rapidement. Avant de les fixer, les rondelles et les joints en caoutchouc doivent être portés.
Au centre se trouve le plus grand trou pour évacuer l'eau. La vanne d'arrêt du réservoir de vidange est fixée avec une rondelle à capuchon à travers le joint.
















































