Quelle capacité pour une fosse septique est-il préférable de choisir + comment la fabriquer soi-même

Égouts dans le pays de leurs propres mains

Fonctionne sur le dispositif d'assainissement interne

Installation d'égout à l'intérieur du bâtimentInstallation d'égout à l'intérieur du bâtiment

Ayant une disposition de tous les points du système et ayant acheté le matériel nécessaire, vous pouvez procéder à son installation. La colonne montante centrale est installée en premier. Son diamètre est choisi d'environ 110 mm, et pour l'évacuation des gaz, la partie supérieure dépasse du niveau du toit ou est affichée dans le grenier. Deux types de tuyaux sont utilisés :

  • PVC - le matériau est chimiquement résistant, non sujet à la corrosion et à la prolifération, la surface intérieure lisse passe librement les drains, l'installation est effectuée par la méthode de la douille. Les prix du PVC sont assez abordables.
  • Fonte - fiable et durable, mais a une masse importante et est difficile à installer. Le coût de ces tuyaux est nettement plus élevé que celui des tuyaux en plastique.
  • Céramique - ont d'excellentes caractéristiques, mais sont chères.

Sortie d'égout 45 degrésSortie d'égout 45 degrés Après avoir installé la colonne montante principale, située à 4 mètres des fenêtres, des canalisations horizontales sont posées. La capacité de surveiller l'état des tuyaux et d'effectuer le nettoyage est assurée par des trappes d'inspection, situées au-dessus des toilettes et au point le plus bas du système. Lors de l'installation des tuyaux, évitez les virages à 90 degrés qui entravent le mouvement des drains.

Chaque appareil de plomberie de son appareil doit avoir un siphon avec un joint hydraulique qui empêche la pénétration d'une odeur désagréable dans la pièce. Le tuyau des toilettes est connecté directement, avec un tuyau d'au moins 100 mm de diamètre.

Pour raccorder l'évier et la baignoire, des tuyaux d'un diamètre de 50 mm suffisent. Le réseau doit être placé à un angle qui assure le mouvement de l'eau. Le dispositif d'assainissement du pays prévoit la préparation préalable d'un trou dans la fondation pour le retrait du tuyau d'égout vers l'extérieur. Un clapet anti-retour doit être installé à la sortie, ce qui ne permet pas aux eaux usées de refluer.

Création d'un puits d'infiltration

Le puits filtrant ne peut être installé que sur une base de sol bien perméable et absorbant l'eau. Si des dépôts de sables, de pierres concassées ou de graviers-cailloux se trouvent sous son fond conditionnel, l'évacuation des effluents traités dans les couches de sol sous-jacentes se fera sans le moindre obstacle.

Un puits absorbant de 1 m est recouvert d'un filtre de sol afin que les fractions de remblai diminuent avec la hauteur. Tout d'abord, le fond est rempli de sable - l'épaisseur de la couche de sable doit être de 30 à 40 cm, puis une couche de gravier fin se forme - 30 à 40 cm.

Le niveau supérieur du filtre de sol est généralement constitué de pierre concassée ou de gravier plus gros, recouvert d'une couche de 20 à 30 cm.

Quelle capacité pour une fosse septique est-il préférable de choisir + comment la fabriquer soi-même
Pour la construction des parois du puits avec filtration inférieure et latérale, des anneaux perforés sont utilisés, dont le diamètre des trous est d'environ 30-50 mm

S'il est prévu d'évacuer les eaux usées non seulement par le fond, mais également par les murs, l'anneau inférieur du puits de drainage doit être perforé. Il est installé selon la même technologie que les anneaux à parois pleines. Les vides entre les parois de la fosse et les anneaux de béton sont recouverts de gravier.

S'il est prévu de construire un champ de filtration, des tuyaux perforés sont utilisés. Ils sont posés sur un "coussin" de graviers-sable, qui assure l'infiltration des effluents traités dans les couches de sol sous-jacentes, et sont recouverts de géotextiles par le dessus et recouverts de terre.

Avantages et inconvénients des fosses septiques

La question de savoir lequel est le meilleur - un puisard ou une fosse septique, est mieux considérée en termes d'efficacité, ainsi que de coût de fabrication et d'entretien.

Dans le même temps, il est important de se souvenir de la sécurité de la structure.

Notez que dans la plupart des paramètres, c'est la fosse septique qui l'emporte, qui se distingue par de tels avantages :

  • un haut degré de purification des eaux usées domestiques - l'eau à la sortie de l'appareil peut être utilisée à des fins domestiques;
  • l'absence d'odeur désagréable dans la zone;
  • la conception hermétique réduit le risque que les eaux usées pénètrent dans les eaux souterraines et rend la structure sans danger pour l'environnement ;
  • il n'y a pas besoin de pompage régulier - l'élimination des résidus de boue peut être effectuée une fois toutes les quelques années.

Les inconvénients des fosses septiques comprennent :

  • conception plus complexe;
  • augmentation du coût de la construction;
  • des exigences strictes pour l'utilisation de détergents ménagers. La chimie conventionnelle est préjudiciable aux micro-organismes, il faut donc utiliser des composés spéciaux ;
  • une diminution de l'activité bactérienne avec une diminution de la température - à 4 ° C et en dessous, le processus de traitement des eaux usées s'arrête.

Malgré quelques nuances, l'utilisation d'une fosse septique vous permet de préserver la nature et la santé des autres, et c'est un plus qui ne peut être barré par aucune difficulté et aucun coût financier.

Quelle capacité pour une fosse septique est-il préférable de choisir + comment la fabriquer soi-même

Équipement pas à pas d'une fosse septique à partir d'anneaux en béton

Comme mentionné précédemment, ce sont les anneaux de puits qui sont plus souvent que les autres matériaux utilisés pour équiper les fosses septiques. Pour ce faire, la première étape consiste à creuser des trous dans le sol. Après avoir décidé de l'endroit, ils enlèvent le sol, manuellement ou à l'aide d'une excavatrice. La deuxième option vous permettra de minimiser le temps passé au travail. Le fait est que lorsque vous travaillez manuellement, vous devrez creuser seul, car il n'y aura tout simplement pas de place dans la fosse pour accueillir 2 travailleurs.

Au cours de l'aménagement d'une fosse pour les anneaux de puits, vous pouvez immédiatement trier le sol. La couche fertile peut être retirée du jardin ou des parterres de fleurs, tout le reste doit être retiré du terrain ou utilisé dans la construction de la maison.

Lors de la pose du tuyau d'égout, des tuyaux gris et orange peuvent être utilisés. Les gris conviennent aux travaux d'intérieur, il est donc préférable d'utiliser la version orange à l'extérieur, car elle est plus dense, résistante aux changements de température et aux influences extérieures. Il est nécessaire d'observer la pente, ce qui est important au stade de la disposition du tuyau. La pente doit être faible afin que les plus gros résidus fécaux flottent sur l'eau, offrant une praticabilité maximale. En général, une pente de 1 à 2 degrés par 1 m de tuyau sera suffisante.

Dès que la tranchée est prête, les tuyaux sont posés, les trous pour l'installation des anneaux de puits sont préparés, il est nécessaire de commander la livraison du matériel sur le manipulateur. Vous ne pouvez pas mettre de tels anneaux manuellement, et il serait donc plus correct d'utiliser un manipulateur qui non seulement livrera, mais déchargera également et effectuera également l'installation.

Au moment où la machine arrive sur le site, il est important de préparer le fond du premier réservoir. Il doit être nivelé avec une quantité abondante de sable, puis une base en béton armé doit être abaissée au fond, car la tâche consiste à fabriquer une fosse septique complètement scellée.

Le long des bords de la base, il est nécessaire de décomposer le mortier de ciment, après quoi le premier anneau doit être abaissé. De même, en utilisant une solution, les anneaux suivants doivent être montés.

Si notre système n'a pas plus de 2 fosses septiques, le fond de la deuxième fosse ne doit pas être rendu étanche. Pour ce faire, la base de 2 réservoirs est approfondie plus bas que celle du premier, puis du sable est versé au fond, des cailloux sont versés dessus et ce n'est qu'alors que des anneaux de puits sont posés. Couvercles et trappes métalliques sont posés sur les cuves au tout dernier moment.

Après avoir terminé la connexion avec des tuyaux en plastique, vous devez couler au fond du 2ème réservoir et y faire le maximum de trous. Ces trous doivent relier l'eau de drainage aux décombres qui entourent la chambre de l'extérieur. Les trous doivent être aussi grands que possible, en choisissant un diamètre d'environ 2-3 cm.Pendant le fonctionnement, seuls des tuyaux jaunes doivent être utilisés, car ils ont une résistance maximale et peuvent supporter des charges importantes.À la fin des travaux, une trappe de puits doit être installée, après quoi il est nécessaire de remplir l'espace autour des anneaux de puits qui forment les réservoirs avec de la terre ou du gravier concassé. La deuxième option est la plus préférable, mais coûteuse en termes d'investissement.

N'oubliez pas la ventilation, qui éliminera les gaz formés lors de la décomposition des résidus organiques. Il peut également être fabriqué à partir de tuyaux d'égout.

Liste des outils et matériaux nécessaires

Une fosse septique prête à l'emploi coûte beaucoup d'argent, il est beaucoup moins cher de la fabriquer. Une fosse septique à faire soi-même, sans pompage, doit avoir au moins 2 conteneurs dans la conception, qui sont reliés par un tuyau. Dans de tels cas, les eaux usées entreront dans le premier réservoir et se déposeront au préalable, après avoir rempli un tel réservoir, les eaux usées iront par gravité dans le deuxième réservoir.

Il filtre également les fractions lourdes et légères. Les plus lourds finissent par se déposer au fond et continuent à pourrir jusqu'à ce que les eaux usées se clarifient. Après avoir rempli ce compartiment de l'appareil, le liquide s'écoule dans la chambre de filtration, elle est équipée d'un fond avec la soi-disant perforation, et d'un matériau filtrant.

Fosse septique en béton schéma des anneaux à faire soi-même

La brique cassée ou la pierre concassée convient parfaitement comme matériau de filtrage. Mais sous cette couche, un coussin de sable est également posé. Si vous le souhaitez, le liquide filtré peut être détourné vers des installations supplémentaires à partir desquelles l'eau pénètre dans le puisard. En utilisant cette méthode de filtration, vous pouvez arroser les plantes de jardin et fertiliser le sol.

Pour construire une fosse septique à faire soi-même qui fonctionne sans pompage, les gens utilisent une grande variété de matériaux et de réservoirs.

Parmi toute la gamme sont populaires:

  • Brique de clinker.

    Pour concevoir des compartiments de fosse septique, vous devez avoir de l'expérience avec les briques. Après avoir forcé les murs de la structure de l'extérieur, il est conseillé d'effectuer une imperméabilisation en appliquant du mastic et en remplissant la distance avec de l'argile. Au milieu de la chambre, la brique est plâtrée.

  • La solution. Le bas de la structure est d'abord coulé avec du béton prêt à l'emploi, puis le coffrage est installé et les murs sont coulés. Lors de la construction du coffrage, il est nécessaire de renforcer la structure, et le renforcement est utilisé pour cela. Après séchage de la solution, le produit est traité avec des mastics.
  • La meilleure option pour construire ceci est une fosse septique à faire soi-même composée d'anneaux en béton, le schéma est présenté ci-dessus.Un tel système est considéré comme plus facile, puisque les anneaux sont déjà prêts, ils sont installés dans un trou creusé, sur le dessus les uns des autres, mais il n'est pas conseillé d'utiliser plus de 3 pièces pour une chambre. C'est cette quantité qui est nécessaire pour que le produit ne s'affaisse pas sous son propre poids. Lors de l'installation d'une fosse septique à partir d'anneaux en béton selon le schéma, il est préférable d'utiliser un treuil ou d'appeler un équipement spécial. Une fois terminés, les joints sont qualitativement scellés avec du mortier et traités avec du mastic bitumineux pour une meilleure étanchéité.
  • Réservoirs en plastique et en métal.

    Ils sont parfaits pour les équipements de fosses septiques à faire soi-même dans la maison de campagne fonctionnant sans pompage, surtout s'il y a des conteneurs anciens mais entiers. L'inconvénient des conteneurs métalliques est considéré comme une faible résistance à la corrosion. Ici, un fût en plastique est idéal pour une telle installation, car il résiste aux influences extérieures, tolère des températures inférieures à zéro et ne se déforme pas sous la pression du sol.

Lire aussi :  TOP 8 des robots aspirateurs "Samsung" (Samsung) : aperçu des options + avantages et inconvénients des modèles

Lors du choix d'un matériau, les critères suivants doivent être pris en compte:

  • La qualité des déchets entrants ;
  • Distance à la nappe phréatique ;
  • Indicateurs de matériaux de construction ;
  • Capacités individuelles de construction et opportunités personnelles concernant l'argent.

Après tout, si vous décidez d'équiper une fosse septique de vos propres mains, en utilisant une brique, mais que vous n'avez pas d'expérience en maçonnerie, vous devrez alors appeler un maçon et dépenser de l'argent supplémentaire pour cela.

Pour concevoir un tel système, vous devez disposer du matériel et des outils suivants :

  • Pierre concassée, ciment et sable;
  • Armature ou tiges d'une section d'au moins 1 cm ;
  • Pour organiser le chevauchement, vous avez besoin d'un coin, de tuyaux et de préférence d'un canal;
  • Pour construire le coffrage, vous aurez besoin de bois, de lattes et de planches;
  • Clous et vis;
  • Moyens pour effectuer l'isolement ;
  • Un conteneur pour le mélange et les mesures du matériau, ainsi qu'une bétonnière pour le mélange ;
  • Bulgare, scie à bois et machine à souder;
  • Pilon et marteau ;
  • Tournevis ou perceuse électrique avec une buse pour vis autotaraudeuses;
  • Roulette et niveau de construction.

Lorsqu'il est nécessaire d'isoler non seulement les tuyaux, mais également la fosse septique elle-même, un matériau supplémentaire est nécessaire, principalement de l'argile expansée ou de la laine minérale.

Pourquoi choisir une fosse septique pour votre maison ?

Quelle capacité pour une fosse septique est-il préférable de choisir + comment la fabriquer soi-même

Si auparavant les seules eaux usées autonomes étaient une fosse, elles ne sont aujourd'hui dans la plupart des cas pas utilisables. Examinons ces options plus en détail :

  • Le volume des stocks a considérablement augmenté. Cela a été influencé par le développement de la civilisation et le progrès technologique. Beaucoup ont des machines à laver et des lave-vaisselle, des baignoires, des jacuzzis, des bidets et de nombreuses autres innovations.Construire un puisard avec autant de déchets de vidange n'est tout simplement pas rationnel, vous devrez donc le vider très souvent, ce qui vous touchera durement.
  • La construction de la fosse est dangereuse pour l'environnement car elle n'est pas étanche ;
  • Le cloaque dégage une odeur très désagréable.

Que sont et sur quel principe fonctionnent les fosses septiques ?

Beaucoup de gens rêvent de leur propre maison et d'un terrain adjacent. Cependant, un tel bien immobilier a également un point négatif: vous devez vous occuper des communications et payer vous-même leur entretien pendant le fonctionnement.

En particulier, nous parlons d'un système de collecte des eaux usées, qui idéalement ne devrait pas nécessiter de pompage fréquent ou s'en passer du tout. À cet égard, un cloaque ordinaire, qui se remplit assez rapidement, n'est pas la meilleure solution. Les propriétaires préfèrent un appareil tel qu'une fosse septique, qu'ils ont tendance à fabriquer eux-mêmes pour économiser sur la main-d'œuvre.

Quelle capacité pour une fosse septique est-il préférable de choisir + comment la fabriquer soi-mêmeLa fosse septique est composée d'au moins deux réservoirs

Une fosse septique se distingue d'une fosse par la présence de deux ou trois chambres et d'un trop-plein, puisque la deuxième fosse est reliée par un tuyau à la première. Le composant liquide de l'effluent déborde le long de celui-ci et le contenu solide précipite, s'accumule, puis est nettoyé par une méthode d'égout.

Quelle capacité pour une fosse septique est-il préférable de choisir + comment la fabriquer soi-mêmeLe principe de fonctionnement d'une fosse septique à deux sections

A partir du deuxième réservoir, qui a un fond drainant, l'eau, qui est progressivement évacuée à travers un remblai à gros grains, va simplement dans le sol. Avec cette approche, le premier décanteur se remplit très lentement, et ne nécessite donc pas de pompage constant. Ce schéma est le plus souvent utilisé dans les maisons individuelles, bien qu'il en existe d'autres.

Par exemple, il peut y avoir non pas deux caméras, mais trois.Dans ce cas, dans le réservoir intermédiaire, le contenu liquide est également réglé et pratiquement clarifié, et lorsqu'il pénètre dans le troisième réservoir, il ne peut pas seulement être déversé dans le sol. L'eau ici, bien sûr, n'est pas assez propre pour être utilisée pour les besoins domestiques, mais elle convient tout à fait à l'irrigation ou à un étang domestique, dans lequel certaines personnes élèvent des carpes ou des écrevisses.

Quelle capacité pour une fosse septique est-il préférable de choisir + comment la fabriquer soi-mêmeOption à trois chambres

Quelle capacité pour une fosse septique est-il préférable de choisir + comment la fabriquer soi-mêmeSchéma de fonctionnement d'une fosse septique à trois chambres

Quelle capacité pour une fosse septique est-il préférable de choisir + comment la fabriquer soi-mêmeBioseptic ne nécessite pas de pompage

Comment assurer le fonctionnement normal du puisard

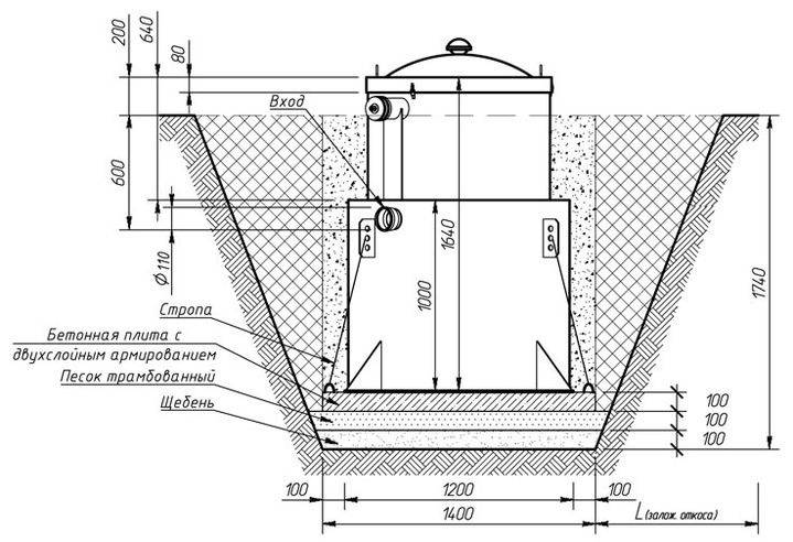
La principale exigence pour les réservoirs de sédimentation des égouts est leur étanchéité. Pour éliminer la possibilité de contamination des eaux souterraines, le ruissellement ne doit pas s'infiltrer directement dans le sol.

Lire aussi :  Où vit maintenant Lyubov Uspenskaya: un manoir pour la chanteuse et son chien

De même, l'eau contenue dans le sol ne doit pas pénétrer à l'intérieur de la fosse septique, sinon tout son contenu, et le récipient lui-même, pourraient flotter à la surface. Par conséquent, là où il existe une telle menace, il est nécessaire de prévoir autour du puisard d'égout et un système de drainage.

Non seulement les parois du réservoir doivent être étanches, mais également les endroits où les tuyaux les traversent, pour lesquels des manchons, des joints en caoutchouc ou en paronite, des mastics à base de silicone sont utilisés.

Quelle capacité pour une fosse septique est-il préférable de choisir + comment la fabriquer soi-mêmeÉtanchéité d'entrée de tuyau

Pour un fonctionnement normal de la fosse septique, sa partie stockage doit avoir un volume suffisant. Il faut environ 72 heures pour que les masses lourdes se séparent de l'eau et se déposent au fond. En conséquence, le puisard doit être d'une taille telle que les effluents qui y tombent puissent s'y trouver pendant ce temps.

La consommation d'eau et son élimination dépendent toujours du nombre de personnes vivant dans la maison. Une famille de trois personnes produira au maximum 2,5 m³ d'eaux usées en trois jours.Un tel « collectif » ne nécessite pas une plus grande capacité, puisque dans ce cas les masses vont stagner, ce qui n'est pas bon non plus.

Quelle capacité pour une fosse septique est-il préférable de choisir + comment la fabriquer soi-mêmeVolume approximatif du réservoir

Quelle capacité pour une fosse septique est-il préférable de choisir + comment la fabriquer soi-mêmeVous n'avez pas besoin d'une grande fosse septique, vous en avez besoin d'une optimale

Quelle capacité pour une fosse septique est-il préférable de choisir + comment la fabriquer soi-mêmeIsolation de la tête de la fosse septique

Lors de la construction de fosses septiques d'égout, il est nécessaire de prendre en compte non seulement le niveau des eaux souterraines, mais également la profondeur à laquelle la terre gèle. Le plus souvent, il faut isoler, sinon toutes les parois du réservoir, du moins sa tête.

Afin de ne pas avoir à introduire une pompe fécale dans le système, les effluents doivent tomber dans les réservoirs par gravité, et cela ne peut être assuré qu'en créant une pente de canalisation. Parfois, le paysage naturel du site joue entre les mains, mais grâce à cela, seule une petite différence d'élévation peut être nivelée. Une pente importante à organiser en utilisant le relief ne fonctionnera pas sans ambiguïté.

Quelle capacité pour une fosse septique est-il préférable de choisir + comment la fabriquer soi-mêmeLa pente de la canalisation doit être vers le drain

Quelle capacité pour une fosse septique est-il préférable de choisir + comment la fabriquer soi-mêmeS'il est impossible d'organiser une pente dans la fosse septique, vous devrez installer une pompe

Prix ​​des pompes submersibles

Pompe submersible

Et un autre aspect très important à prendre en compte lors de l'aménagement d'une fosse septique est la nécessité d'éliminer les gaz formés lors de la fermentation de substances organiques. Cela sera assuré par un tuyau de ventilateur, qui, en principe, est présent dans tous les égouts, y compris dans les immeubles à plusieurs appartements - seulement là, il est affiché sur le toit de la maison, et ici il s'élèvera à peine au-dessus de la tête du Char.

Quelle capacité pour une fosse septique est-il préférable de choisir + comment la fabriquer soi-mêmeTuyau de ventilation (ventilateur)

Avantages et inconvénients des disques en plastique

Comme tout autre appareil, une fosse septique en plastique présente un certain nombre d'avantages et d'inconvénients. Parmi les avantages de l'utilisation de cette variété, il convient de souligner:

  1. Innocuité indéniable par rapport à l'état écologique de la terre et de l'environnement, notamment d'un point de vue épidémiologique. Le plastique à partir duquel la fosse septique cumulative de Chistok est fabriquée est particulièrement résistant à la décomposition dans le sol, ce qui empêche la libération de substances et de micro-organismes potentiellement dangereux pour la biocénose du sol.
  2. Résistant aux éclatements de grand volume du système de tuyauterie, ce qui est assuré par une étanchéité et une durabilité fiables du réservoir de stockage.
  3. Procédure d'installation considérablement simplifiée dans toutes les conditions météorologiques de la région.
  4. Faible poids, ce qui, lorsqu'il est correctement installé, le facilite considérablement.
  5. Pas besoin d'assembler les composants du nettoyeur de plastique car il s'agit d'une structure monolithique qui ne nécessite qu'une installation sur site.
  6. Bon marché relatif sur le marché.
  7. Une fosse septique de type stockage ne dépend pas de l'alimentation électrique, ce qui non seulement réduit les coûts en espèces de l'électricité, mais évite également les problèmes dans les colonies avec des pannes de courant.

Quelle capacité pour une fosse septique est-il préférable de choisir + comment la fabriquer soi-même

Les inconvénients de l'exploitation de fosses septiques en plastique d'égout comprennent:

  1. Tout de même petite masse dans le cas où le sol sur le site a tendance à augmenter son volume en hiver. Dans cette situation, un entraînement léger peut être retiré du sol, ceci est particulièrement souvent observé s'il n'est pas installé correctement.
  2. Conditions d'utilisation limitées.
  3. Formation possible de déformations et de divers types de courbure de la coque sous l'influence du poids de la terre ou de la pression des eaux souterraines.
  4. Possibilité d'endommagement de la coque par les rongeurs.
  5. La nécessité d'un nettoyage régulier pour assurer son fonctionnement continu normal. Pour ce faire, le propriétaire d'une maison privée devra impliquer les forces des camions aspirateurs et permettre l'accès au lecteur de nettoyage à tout moment.
  6. La préparation d'une fosse spéciale pour y placer une fosse septique est également problématique, surtout si elle est installée manuellement par le propriétaire lui-même.
  7. Toutes les fosses septiques en plastique ne conviennent pas à la méthode chimique de nettoyage de l'eau entrante, ce qui peut entraîner l'apparition d'une odeur désagréable dans la zone.

Évaluation
Site sur la plomberie

Nous vous conseillons de lire

Où remplir la poudre dans la machine à laver et combien de poudre verser