- L'endroit idéal pour une station de pompage - où est-il ?
- Entretien des équipements
- Qu'est-ce qu'une station de pompage ?
- Composants du système
- Le principe de fonctionnement et les avantages de la station
- Principe de fonctionnement
- Éjecteur fait maison
- Choix d'une pompe et d'un emplacement d'installation
- Le principe de fonctionnement de l'éjecteur
- Le principe de fonctionnement de l'éjecteur
- Comment l'appareil est agencé et comment il fonctionne
L'endroit idéal pour une station de pompage - où est-il ?
Les experts recommandent d'installer des équipements de prise d'eau dans séparé de construction de maison. Il est souhaitable qu'il soit à une certaine distance de la maison, car pendant le fonctionnement, la pompe émet des sons assez forts. Ils peuvent gêner le sommeil des habitants de la maison. Le local d'installation doit être sec. N'oubliez pas que l'appareil est alimenté à l'électricité. Ainsi, une humidité élevée a un effet néfaste sur la pompe. L'entretien de l'équipement dans de telles conditions met la vie en danger.

Station de pompage dans sa zone désignée
La station doit être installée sur un piédestal spécial fait de blocs de bois ou de briques. L'unité peut également être placée sur une base en béton solide et bien nivelée. Un tapis en caoutchouc approprié doit impérativement être placé sous la pompe.Il vous protégera des éventuels chocs électriques et amortira les vibrations qui se produisent lors du démarrage et du fonctionnement de l'appareil. La station, en outre, doit être fixée à une base en béton (brique, bois). Les ancres sont utilisées à ces fins. Ils sont installés dans les jambes de pompe, qui sont initialement disponibles dans l'équipement de tous les fabricants.
Entretien des équipements
Le dépannage fait partie de la routine d'une inspection préventive. Par conséquent, vous devriez avoir une idée des pannes les plus courantes, des causes de leur apparition et de la manière de les éliminer. Par exemple, si l'équipement ne s'allume tout simplement pas, un câblage électrique cassé, un niveau d'eau bas ou un clapet anti-retour bloqué peuvent empêcher cela. Si l'unité ne s'allume pas, mais que l'indicateur d'urgence est allumé, cela signifie que le moteur est plus susceptible de tomber en panne ou que les systèmes de protection qui bloquent le fonctionnement de la station sont activés avec des violations. Cependant, des problèmes peuvent survenir non seulement à l'intérieur de la structure. Ainsi, une station de pompage avec une pompe submersible pour un puits est particulièrement souvent confrontée aux dommages susmentionnés au flotteur. Même son serrage accidentel dans le puits peut perturber le fonctionnement de l'unité de commande, ce qui donnera des commandes incorrectes.
Par conséquent, il est si important de surveiller les travaux et de vérifier visuellement l'état des pompes submersibles.
Qu'est-ce qu'une station de pompage ?
Avant de passer à la phase préparatoire, il ne fait pas de mal de considérer tous les éléments de cet équipement, pour savoir en quoi il diffère d'une unité conventionnelle - une pompe. La réponse à la dernière question est un mode de fonctionnement plus doux, il garantit une durée de vie plus longue.Mais pour comprendre le fonctionnement de l'équipement, il est nécessaire de considérer tous les appareils qui le composent.
Composants du système
La structure de toute station de pompage comprend un complexe d'éléments.
- Pompe. Son seul rôle est de pomper l'eau. Le plus souvent, les agrégats de type surface agissent comme le "protagoniste", moins souvent les agrégats submersibles, idéaux pour les puits d'une profondeur de 40 à 70 m.
- Accumulateur hydraulique. C'est un réservoir, mais pas facile. Sa partie interne est divisée en deux chambres par une membrane élastique. L'un d'eux, le supérieur, est destiné au liquide, l'autre à l'air.
- Bloc de contrôle. Sa tâche est d'assurer le fonctionnement automatique de la station de pompage, d'allumer ou d'éteindre la pompe lorsque la pression dans l'accumulateur atteint une certaine valeur.
- Appareils de controle. L'appareil principal est un relais avec un manomètre qui détermine le niveau de pression dans le système de la station de pompage. Il est installé sur l'hydrobloc.
Si la ferme dispose d'un accumulateur hydraulique et d'une pompe d'une puissance suffisante, alors, en règle générale, il n'y a aucun doute sur l'opportunité de l'opération. Les éléments restants peuvent être achetés séparément, car leur prix n'est pas si élevé. Le maître a seulement besoin de savoir à l'avance comment assembler la station de pompage, quelles sont les caractéristiques de ce travail.
Le principe de fonctionnement et les avantages de la station

Avant d'assembler une station de pompage, il n'est pas inutile de se familiariser avec son fonctionnement. Le travail se déroule en cycles, qui comprennent deux étapes.
- La pompe se met en marche, ce qui soulève l'eau d'un puits ou d'un puits. Le liquide suit dans l'accumulateur, où il est collecté jusqu'à ce que la pression dépasse le seuil supérieur. Lorsque cela se produit, le pressostat arrête l'alimentation en eau, éteignant le moteur de la pompe. La station passe en mode veille.
- Après l'ouverture du robinet ou la mise en marche des appareils électroménagers qui consomment de l'eau, le liquide commence à s'écouler de l'accumulateur. Lorsque la pression dans le réservoir atteint le seuil inférieur, le relais redémarre la pompe, qui reprend immédiatement l'alimentation en eau de la source.
Il semble qu'un système relativement compact n'ait pas d'inconvénients et ses mérites ne font aucun doute. Ceux-ci inclus:

- fonctionnement entièrement automatique, prolongeant la durée de vie des appareils;
- efficacité maximale d'un tel système d'approvisionnement en eau "forcé";
- l'absence de problèmes sérieux - avec la pression, avec la stabilité de l'approvisionnement en eau;
- sécurité accrue: à la fois les canalisations, les appareils électroménagers et l'équipement lui-même;
- la possibilité d'avoir toujours un certain approvisionnement en eau, pour assurer son approvisionnement lors d'une panne de courant.
Si nous considérons les avantages de l'auto-assemblage d'un tel kit, il convient de noter un autre avantage important. C'est une bonne occasion de placer la station dans une pièce relativement exiguë, puisque vous pouvez placer les éléments les uns par rapport aux autres à votre guise.
Ce système de pompage est universel. Il peut être intégré à l'alimentation en eau principale dans le cas où la pression qu'il contient laisse beaucoup à désirer. Un tel problème de baisse de pression se rencontre souvent dans les chalets d'été, les villages de chalets, ainsi que dans les zones rurales.
Principe de fonctionnement
Les stations de pompage fonctionnent selon un schéma élémentaire. Le cycle de travail comprend les étapes suivantes :
-
Après avoir été connectée au réseau, la pompe commence à pomper de l'eau dans le système, remplissant l'accumulateur jusqu'à un certain niveau.
-
Lorsque le manomètre indique la pression maximale, la station de pompage s'éteint automatiquement.
-
Le prélèvement d'eau abaisse le niveau dans l'accumulateur hydraulique, respectivement, le relais donne l'ordre de démarrer la pompe.
-
Si le robinet est constamment ouvert, l'eau est pompée sans interruption, lorsqu'il est fermé - jusqu'à ce que le niveau défini soit atteint.
En principe, il s'agit d'un système d'approvisionnement en eau autonome qui ne nécessite qu'un entretien périodique.
Éjecteur fait maison
Pour fabriquer un éjecteur d'air de vos propres mains, vous devez acheter l'ensemble de pièces suivant, composé de raccords et d'éléments d'interface:
- tee - la base de l'éjecteur d'air conçu;
- montage - un conducteur de haute pression d'eau dans l'appareil;
- raccords et coudes - ces éléments sont utilisés pour l'auto-assemblage de l'appareil d'éjection.
Afin d'assembler un éjecteur pour une station de pompage à partir de pièces de vos propres mains, vous devez effectuer les étapes suivantes:
- d'abord, vous devez prendre un té dont les extrémités sont utilisées pour l'installation filetée. Dans ce cas, le filetage à ses extrémités doit être interne ;
- de plus, un raccord doit être installé au bas du té. Dans ce cas, le raccord doit être fixé au té de manière à ce que le petit tuyau se trouve à l'intérieur de l'unité de pompage. Dans ce cas, le tuyau de dérivation ne doit pas apparaître à l'extrémité, qui est située du côté opposé au té.
De la même manière, un raccord court est augmenté en utilisant un tube en polymère. La distance entre les extrémités du té et le raccord doit être de 2-3 mm.;
- puis, au-dessus du té - au-dessus du raccord, un adaptateur doit être installé.De plus, 1 extrémité de l'adaptateur doit être conçue pour le filetage externe (elle doit être installée sur la base de l'appareil de pompage), et la seconde doit être installée comme sortie à sertir (raccord) pour une canalisation métal-plastique à travers laquelle l'eau s'écoule du puits;
- à partir du bas du té avec le raccord installé, la 2ème sortie à sertir est installée, sur laquelle il est nécessaire de mettre et de fixer la conduite de recirculation avec des écrous. À cet égard, avant d'installer l'appareil, vous devez d'abord meuler jusqu'à 3-4 fils du fil sur la partie inférieure du raccord;
- une fois l'assemblage d'un appareil de pompage fait maison terminé, un deuxième coin doit être vissé dans la branche latérale, à l'extrémité de laquelle une pince de serrage est installée pour l'installation d'une conduite d'eau.
La connexion filetée est réalisée sur des joints en polymères - matériau d'étanchéité fluoroplastique (FUM).
Après avoir terminé l'assemblage d'une pompe à éjecteur maison, celle-ci est connectée à la station elle-même.
Si vous installez un éjecteur fait maison à l'extérieur du puits, vous vous retrouverez avec une station avec un dispositif d'éjection intégré.
Si le dispositif d'éjection est installé dans un puits dans lequel il est recouvert d'eau, une station avec un dispositif d'éjection externe sera obtenue.
REGARDER LA VIDÉO
Lors de l'installation d'un tel appareil fait maison, 3 tuyaux doivent être connectés au té en même temps:
- 1er - jusqu'à la fin, qui est située sur le côté du tee. Le tuyau est abaissé vers le bas et un filtre avec un maillage est installé à son extrémité. Une petite pression d'eau commence à s'écouler à travers un tel tuyau;
- 2ème - jusqu'à la fin, qui est située au bas du tee. Il est relié à la ligne de pression qui sort de la station. En conséquence, le débit d'eau dans la pompe à éjecteur commence à augmenter ;
- 3ème - jusqu'à la fin, qui est située au-dessus du tee.Il est ramené à la surface et relié à un tuyau qui aspire l'eau. À travers un tel tuyau, l'eau coulera avec une pression encore plus grande.
En conséquence, le premier tuyau sera sous l'eau, et les deuxième et troisième - à la surface du liquide aqueux.
Le prix d'un éjecteur pour une station de pompage varie de 16 à 18 000 roubles. et dépend de ses spécifications.
Stefan de Bulgarie a partagé son expérience de fabrication d'un éjecteur à jet de ses propres mains. C'est son premier éjecteur. L'éjecteur à jet est conçu pour l'extraction de l'or. Ce dont vous avez besoin pour la fabrication. Eh bien, au moins la tête et les mains. Vient ensuite le matériel et les possibilités. Si vous avez une machine-outil et savez affûter, on peut dire que la moitié du travail est faite. Il ne reste plus que le combat. Une belle couture n'est peut-être pas nécessaire, mais elle est souhaitable. Peut-être est-il plus facile d'acheter chez Mikhalych ou ailleurs? C'est peut-être plus facile ainsi. Chaque décision est prise par lui-même.
Et aujourd'hui, nous verrons comment Stefan de Bulgarie a fabriqué son premier éjecteur.
Et voici à quoi cela ressemble décomposé en morceaux.
Pourquoi l'a-t-il fait ainsi ? Pourquoi quatre cônes ? Oui, je ne savais tout simplement pas comment cela fonctionnerait et donc je l'ai fait à titre expérimental. Chez Mikhalych, la production d'éjecteurs a été lancée car tout a déjà été testé et la meilleure option a été choisie pour un diamètre particulier de tuyau, de pompe et d'écluse. Ou vice versa. Voici le premier éjecteur à jet à faire soi-même. Affûtez les cônes interchangeables et changez-les.
Souder un tuyau, en principe, n'est pas difficile pour quelqu'un qui sait cuisiner.
Et un tuyau plus petit. Nous collectons. Nous obtenons l'éjecteur fini.
Choix d'une pompe et d'un emplacement d'installation
Lors du choix d'un équipement sous pression adapté, vous devez vous concentrer sur les caractéristiques suivantes :
Performance.Pour arroser le jardin, une pompe d'une efficacité d'environ un cube par heure suffit amplement, mais pour le système d'approvisionnement en eau à la maison, vous devrez faire des calculs en tenant compte du nombre de personnes qui y vivent et du nombre de prises d'eau
Une famille de quatre personnes doit acheter une pompe avec un débit d'au moins trois cubes par heure.
Profondeur d'alimentation en eau
La longueur des tuyaux, leur emplacement est pris en compte verticalement ou horizontal, la taille de la source d'approvisionnement en eau.
La pression du débit d'eau au tout dernier point de la prise d'eau, situé le plus loin possible de la pompe. La valeur doit être suffisamment grande
L'indicateur de pression, en règle générale, est indiqué dans la documentation d'accompagnement de l'équipement et est mesuré en atmosphères, bars
Vous pouvez trouver la valeur en additionnant tous les segments de distance parcourus par le liquide. Tous les 10 m, il y a une diminution d'une atmosphère.
Tension secteur
Cet indicateur est également d'une importance non négligeable, car il affecte les performances de la station de pompage. Lorsque la tension chute, la pompe n'a tout simplement pas assez de puissance pour fournir à toute la maison le volume d'eau nécessaire.Une pompe de surface, en plus de l'alimentation en eau du chalet, peut également être utilisée pour irriguer le jardin, ou pour pomper l'eau du sous-sol, ce qui est important pour les zones où les inondations printanières
Pour équiper un système d'alimentation en eau autonome, vous devez acheter une pompe plus puissante que pour l'irrigation de serre ordinaire
Une pompe de surface, en plus de l'alimentation en eau d'un chalet, peut également être utilisée pour arroser un potager, un jardin ou pour pomper l'eau d'un sous-sol, ce qui est important pour les régions où les inondations printanières se produisent souvent. Pour équiper un système d'alimentation en eau autonome, vous devez acheter une pompe plus puissante que pour l'irrigation en serre ordinaire.
L'installation des pompes de surface est toujours effectuée sur terre, car l'humidité ne peut pas pénétrer dans le boîtier de l'appareil. Idéalement, la pompe électrique doit être située le plus près possible de la source d'approvisionnement en eau. Il est interdit d'installer dans une pièce à forte concentration d'humidité, basse température, mauvaise ventilation et ouverte aux manifestations atmosphériques.
Pour monter l'unité, de petits bâtiments sont érigés à côté du puits ou des caissons sont équipés dans le sol - des structures isolées en béton, en plastique ou en métal. L'installation de ce dernier est réalisée en dessous du point de congélation de la terre.
Si un puits constitué de gros anneaux de béton est un point de captage d'eau, vous pouvez y installer une pompe directement. Il n'y a pas besoin de terrassement, un radeau solide de petite taille est nécessaire, mais pour qu'il puisse supporter la masse de la pompe qui y est attachée. La structure est abaissée directement sur la surface de l'eau. L'inconvénient de cette méthode est que le dispositif de pression devra être retiré périodiquement pour ajuster la pression.
C'est intéressant : combien de temps vous ne pouvez pas ouvrir les fenêtres après avoir posé du papier peint : nous couvrons les points
Le principe de fonctionnement de l'éjecteur
Plus l'eau est profonde, plus il est difficile de la remonter à la surface. En pratique, si la profondeur du puits est supérieure à sept mètres, la pompe de surface peut difficilement faire face à ses tâches.
Bien entendu, pour les puits très profonds, il est plus judicieux d'acheter une pompe submersible performante. Mais à l'aide d'un éjecteur, il est possible d'améliorer les performances d'une pompe de surface à un niveau acceptable et à un coût bien inférieur.
L'éjecteur est un appareil petit mais très efficace. Ce nœud a une conception relativement simple, il peut même être fabriqué indépendamment de matériaux improvisés. Le principe de fonctionnement consiste à donner au débit d'eau une accélération supplémentaire, ce qui augmentera la quantité d'eau provenant de la source par unité de temps.
Galerie d'images
Photo de
Éjecteur - un dispositif nécessaire pour élever l'eau avec une pompe de surface à une profondeur de plus de 7 m. Ils sont utilisés pour former une pression dans la conduite d'aspiration
Les éjecteurs sont divisés en variétés intégrées et distantes. Des dispositifs à distance sont utilisés pour remonter l'eau d'une profondeur moyenne de 10 à 25 m.
Deux tuyaux de diamètres différents sont connectés au dispositif d'éjection, en raison de la différence de pression dans les tuyaux adjacents, une pression est créée
Des éjecteurs fabriqués en usine sont fournis aux stations de pompage et aux pompes automatiques
Les dispositifs sont utilisés dans les aménagements paysagers nécessitant une alimentation en eau sous pression pour les systèmes de gicleurs, les fontaines et les structures similaires.
Pour installer l'éjecteur, le groupe motopompe doit avoir deux entrées
En utilisant les schémas et les dimensions des éjecteurs fabriqués en usine, vous pouvez créer un appareil utile pour pomper de vos propres mains.
Un clapet anti-retour avec une crépine est installé sur l'orifice d'aspiration d'un éjecteur fait maison, ce qui assure une circulation normale pendant le processus de pompage
Cette solution est particulièrement pratique pour ceux qui vont installer ou ont déjà installé une station de pompage avec une pompe de surface. L'éjecteur augmentera la profondeur de la prise d'eau jusqu'à 20-40 mètres. Il convient également de noter que l'achat d'équipements de pompage plus puissants entraînera une augmentation notable de la consommation d'électricité. En ce sens, l'éjecteur apportera des avantages notables.
L'éjecteur d'une pompe de surface se compose des éléments suivants :
- chambre d'aspiration ;
- unité de mélange ;
- diffuseur;
- buse rétrécie.
Le fonctionnement de l'appareil est basé sur le principe de Bernoulli. Il dit que si la vitesse du flux augmente, une zone de basse pression se crée autour de lui. De cette manière, un effet de dilution est obtenu. L'eau pénètre par une buse dont le diamètre est inférieur aux dimensions du reste de la structure.
Ce schéma permet de se faire une idée du dispositif et du principe de fonctionnement de l'éjecteur pour une station de pompage. Le flux inversé accéléré crée une zone de basse pression et transfère l'énergie cinétique au flux d'eau principal
Une légère constriction donne une accélération notable à l'écoulement de l'eau. L'eau pénètre dans la chambre du mélangeur, créant une zone à pression réduite à l'intérieur. Sous l'influence de ce processus, un courant d'eau à une pression plus élevée pénètre dans le mélangeur à travers la chambre d'aspiration.
L'eau dans l'éjecteur ne provient pas d'un puits, mais d'une pompe. Ceux. l'éjecteur doit être installé de manière à ce qu'une partie de l'eau soulevée par la pompe revienne à l'éjecteur par la buse. L'énergie cinétique de ce flux accéléré sera constamment transférée à la masse d'eau aspirée de la source.
Pour créer une zone de pression raréfiée à l'intérieur de l'éjecteur, un raccord spécial est utilisé, dont le diamètre est inférieur aux paramètres du tuyau d'aspiration.
Ainsi, une accélération constante du flux sera assurée. L'équipement de pompage aura besoin de moins d'énergie pour transporter l'eau à la surface. En conséquence, son efficacité augmentera, tout comme la profondeur à partir de laquelle l'eau peut être prélevée.
Une partie de l'eau ainsi extraite est renvoyée à l'éjecteur par le tuyau de recirculation, et le reste entre dans la plomberie de la maison. La présence d'un éjecteur a un autre "plus". Il aspire l'eau par lui-même, ce qui assure en outre la pompe contre le ralenti, c'est-à-dire de la situation de "marche à sec", dangereuse pour toutes les pompes de surface.
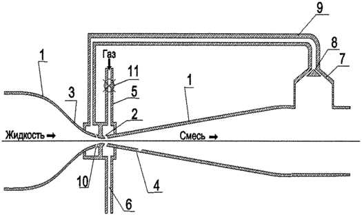
Le schéma montre le dispositif d'un éjecteur externe : 1- té ; 2 - montage ; 3 - adaptateur pour conduite d'eau; 4, 5, 6 - coins
Pour réguler le fonctionnement de l'éjecteur, utilisez une vanne conventionnelle. Il est installé sur le tuyau de recirculation, à travers lequel l'eau de la pompe est dirigée vers la buse d'éjection. À l'aide d'un robinet, la quantité d'eau entrant dans l'éjecteur peut être réduite ou augmentée, réduisant ou augmentant ainsi le débit inverse.
Le principe de fonctionnement de l'éjecteur
Plus l'eau est profonde, plus il est difficile de la remonter à la surface. En pratique, si la profondeur du puits est supérieure à sept mètres, la pompe de surface peut difficilement faire face à ses tâches.
Bien entendu, pour les puits très profonds, il est plus judicieux d'acheter une pompe submersible performante.Mais à l'aide d'un éjecteur, il est possible d'améliorer les performances d'une pompe de surface à un niveau acceptable et à un coût bien inférieur.
L'éjecteur est un petit appareil, mais très efficace. Ce nœud a une conception relativement simple, il peut même être fabriqué indépendamment de matériaux improvisés. Le principe de fonctionnement consiste à donner au débit d'eau une accélération supplémentaire, ce qui augmentera la quantité d'eau provenant de la source par unité de temps.
Galerie d'images
Photo de
L'utilisation d'un éjecteur dans le pompage à partir d'une profondeur de plus de 7 m
Pompe automatique avec un éjecteur structurellement intégré
La conception du surpresseur
Modèle de pompe automatique avec éjecteur déporté
Application dans le système d'irrigation automatique
Possibilité de connecter un éjecteur à une pompe de surface
Modèles maison d'éjecteurs pour équiper la pompe
Clapet anti-retour sur le port d'aspiration
Cette solution est particulièrement pratique pour ceux qui vont installer ou ont déjà installé une station de pompage avec une pompe de surface. L'éjecteur augmentera la profondeur de la prise d'eau jusqu'à 20-40 mètres.
Il convient également de noter que l'achat d'équipements de pompage plus puissants entraînera une augmentation notable de la consommation d'électricité. En ce sens, l'éjecteur apportera des avantages notables.
L'éjecteur d'une pompe de surface se compose des éléments suivants :
- chambre d'aspiration ;
- unité de mélange ;
- diffuseur;
- buse rétrécie.
Le fonctionnement de l'appareil est basé sur le principe de Bernoulli. Il dit que si la vitesse du flux augmente, une zone de basse pression se crée autour de lui. De cette manière, un effet de dilution est obtenu. L'eau pénètre par une buse dont le diamètre est inférieur aux dimensions du reste de la structure.
Ce schéma permet de se faire une idée du dispositif et du principe de fonctionnement de l'éjecteur pour une station de pompage. Le flux inversé accéléré crée une zone de basse pression et transfère l'énergie cinétique au flux d'eau principal
Une légère constriction donne une accélération notable à l'écoulement de l'eau. L'eau pénètre dans la chambre du mélangeur, créant une zone à pression réduite à l'intérieur. Sous l'influence de ce processus, un courant d'eau à une pression plus élevée pénètre dans le mélangeur à travers la chambre d'aspiration.
L'eau dans l'éjecteur ne provient pas d'un puits, mais d'une pompe. Ceux. l'éjecteur doit être installé de manière à ce qu'une partie de l'eau soulevée par la pompe revienne à l'éjecteur par la buse. L'énergie cinétique de ce flux accéléré sera constamment transférée à la masse d'eau aspirée de la source.
Pour créer une zone de pression raréfiée à l'intérieur de l'éjecteur, un raccord spécial est utilisé, dont le diamètre est inférieur aux paramètres du tuyau d'aspiration.
Ainsi, une accélération constante du flux sera assurée. L'équipement de pompage aura besoin de moins d'énergie pour transporter l'eau à la surface. En conséquence, son efficacité augmentera, tout comme la profondeur à partir de laquelle l'eau peut être prélevée.
Une partie de l'eau ainsi extraite est renvoyée à l'éjecteur par le tuyau de recirculation, et le reste entre dans la plomberie de la maison. La présence d'un éjecteur a un autre "plus". Il aspire l'eau par lui-même, ce qui assure en outre la pompe contre le ralenti, c'est-à-dire de la situation de "marche à sec", dangereuse pour toutes les pompes de surface.
Le schéma montre le dispositif d'un éjecteur externe : 1- té ; 2 - montage ; 3 - adaptateur pour conduite d'eau; 4, 5, 6 - coins
Pour réguler le fonctionnement de l'éjecteur, utilisez une vanne conventionnelle. Il est installé sur le tuyau de recirculation, à travers lequel l'eau de la pompe est dirigée vers la buse d'éjection. À l'aide d'un robinet, la quantité d'eau entrant dans l'éjecteur peut être réduite ou augmentée, réduisant ou augmentant ainsi le débit inverse.
Comment l'appareil est agencé et comment il fonctionne
Le dispositif utilise le principe de Bernoulli, d'où il résulte qu'une augmentation de la vitesse du fluide provoque la formation d'une zone dépressionnaire au voisinage immédiat de l'écoulement (en d'autres termes, un effet de raréfaction se produit). La conception de l'éjecteur comprend:
- chambre d'aspiration ;
- unité de mélange ;
- diffuseur;
- buse spéciale (buse progressivement effilée).
Le milieu liquide, se déplaçant à travers la buse, prend une très grande vitesse à la sortie de celle-ci. Le vide qui en résulte provoque l'écoulement d'eau de la chambre d'aspiration. La pression de cette partie du liquide est beaucoup plus grande. Après s'être mélangée à l'intérieur du diffuseur, l'eau commence à se déplacer le long du pipeline dans un écoulement général. A proprement parler, le principe de fonctionnement d'une pompe à éjecteur est l'échange d'énergie cinétique entre des flux ayant des vitesses différentes (à ne pas confondre avec un injecteur, qui agit exactement à l'inverse).
Il existe des pompes d'éjection à vapeur et à jet de vapeur. Un appareil à vapeur de type sous vide maintient un vide en pompant du gaz hors d'un espace clos. Le plus souvent, de tels dispositifs sont utilisés pour fournir de l'eau.
Les pompes à jet de vapeur fonctionnent par éjection d'air. Ici, l'énergie du jet est utilisée, ce qui se produit lors du processus de pompage d'un milieu aqueux, vaporeux ou gazeux. Le plus souvent, les pompes à jet de vapeur sont équipées de navires fluviaux et maritimes.































