- Procédure de bricolage pour l'installation d'un puits de drainage
- Pour les égouts pluviaux
- Pour une fosse septique
- Fosse septique de purification d'eau
- Installation d'une fosse septique
- Bien filtrer
- Types d'installations de filtrage
- Puits d'absorption dans le système de drainage et d'orage
- Structure de filtration dans le réseau d'égouts
- Installation à faire soi-même d'un puits filtrant pour les eaux usées (vidéo)
- But et caractéristiques des puits de filtration
- But et principe de fonctionnement du puits filtrant
- Installation d'un puits filtrant
- Nous fabriquons un tel puits avec des moyens improvisés: à partir de briques et de pneus
- Caractéristiques structurelles du PF
- Schéma d'appareil typique
- Conception et matériaux pour la fabrication de puits de drainage
- Vidéo d'installation d'un puits de drainage en plastique
- Matériaux pour puits et leurs caractéristiques
- Vidéo faisant un puits de drainage à partir de briques avec vos propres mains
Procédure de bricolage pour l'installation d'un puits de drainage
Quel que soit le but du puits, la séquence de travail sur son installation peut être considérée comme typique, et pourtant il y a quelques nuances.
Pour les égouts pluviaux
Étant donné que la séquence des travaux d'installation est la même pour tous les types de puits de drainage, nous l'examinerons en utilisant l'exemple d'un puits en béton armé pour les égouts pluviaux.
Pour l'exécution rapide des travaux d'installation, il est nécessaire de préparer à l'avance:
- anneaux en béton armé;
- une dalle béton pour le dispositif du fond de cuve ou des éléments nécessaires au dispositif d'une chape béton ;
- mastic bitumineux ou verre liquide pour sceller les joints;
- pilon et truelle.
De plus, il faut prévoir la possibilité d'arrivée de matériel de levage lourd.
La séquence des opérations est la suivante :
Le balisage des principaux éléments du système est en cours et des travaux de terrassement sont en cours (creusement de tranchées et d'une fosse de fondation pour un puits).
Au fond de la fosse, un coussin de sable est disposé, qui est soigneusement enfoncé. Pour une plus grande efficacité, le sable est renversé avec de l'eau.
Une dalle en béton armé est posée sur la couche de sable compacté ou une chape en béton armé est coulée, dont l'épaisseur doit être d'au moins 100 mm.
Lors de l'exécution de ces travaux, il est extrêmement important d'atteindre l'horizontalité de la base en béton.
Les trous pour les tuyaux sont formés dans des anneaux en béton armé à des endroits pré-marqués. La surface extérieure des anneaux est abondamment recouverte de mastic bitumineux ou de verre liquide.
À l'aide d'un palan, l'anneau de support est lentement soulevé et abaissé sur la base en béton.
S'il est nécessaire d'installer plusieurs anneaux, du mortier de ciment est appliqué à l'extrémité supérieure du précédent et seulement après cela, l'anneau suivant est installé.
Les tuyaux sont installés dans des trous pré-préparés, et les fissures et les espaces restants sont scellés avec du mortier de ciment
Une fois la solution complètement sèche, les sites d'installation des buses sont traités avec du mastic bitumineux ou du verre liquide. De plus, le fond de la mine doit également être recouvert de mastic.
Le dernier anneau est recouvert d'une dalle de béton avec un trou dans lequel le col du puits est installé.Le col ainsi installé est recouvert d'une trappe ou d'une grille spéciale.
L'espace entre la surface extérieure des anneaux et le sol est à moitié rempli de sable et percuté. Le reste de l'espace est recouvert de terre jusqu'à la surface. Une fois que le sol coulé s'est finalement installé, une zone aveugle de mortier de ciment est équipée autour du périmètre.
Important! Avant de commencer l'exploitation du puits de drainage, il est nécessaire de s'assurer qu'il est étanche. Pour ce faire, les tuyaux se chevauchent et remplissent le réservoir d'eau.
Si le niveau d'eau ne baisse pas dans les 3-4 jours, le puits est prêt à fonctionner.
Pour une fosse septique
Les puits de drainage d'injection présentent certaines similitudes avec un puisard conventionnel. Ils n'ont pas non plus de fond et, après filtration, leur permettent de pénétrer librement dans le sol.
Les puits pour une fosse septique sont assez simples, ils peuvent donc être assemblés seuls à partir de matériaux improvisés. La séquence des travaux d'installation est la suivante.
- Creusez un trou dont le volume dépasse le volume de la future fosse septique.
- Installez un ensemble d'anneaux en béton, un ensemble de pneus ou un grand baril en plastique sans fond dans la fosse, en d'autres termes, formez les parois latérales du puits. En plus des matériaux énumérés ci-dessus, vous pouvez utiliser de la brique, la poser en laissant des fenêtres de drainage spéciales.
- Couvrir le fond du puits avec de la pierre concassée ou du sable grossier.
- Pour assurer un drainage intensif, des trous de drainage spéciaux sont pratiqués dans les parois latérales du puits à une hauteur de 500 à 800 mm.
- À l'aide de tuyaux d'égout, connectez la fosse septique au puits et connectez une ventilation supplémentaire. Sinon, "l'aération" du système est possible.
- Sceller soigneusement l'entrée de la fosse septique.
- Couvrir l'espace entre la surface extérieure du réservoir et les parois de la fosse avec du sable et de la terre.
À ce stade, les travaux sur l'équipement de drainage de la fosse septique peuvent être considérés comme terminés.
Important! Les puits de drainage doivent être enterrés sous le niveau d'argile. De plus, le niveau des eaux souterraines sur le site du puits doit être d'au moins 2 m.
La construction de puits de drainage n'est pas particulièrement difficile, mais nécessite une documentation technique précise. Des puits correctement installés augmentent considérablement l'efficacité du système de drainage dans son ensemble.
Fosse septique de purification d'eau
La purification de l'eau se fait en deux étapes. Initialement, les eaux usées pénètrent dans la fosse septique. Dans celui-ci, des particules solides précipiteront et seront traitées par des microbes aérobies. Ensuite, l'eau se retrouve dans un puits filtrant, où elle est déjà traitée par des filtres sous une forme purifiée et pénètre dans le sol. La pollution du sol et de l'environnement ne se produit pas lors d'un tel nettoyage.
Lors de l'installation d'un système de traitement de ce type, il est nécessaire de réaliser un câblage interne dans la maison. Pour ce faire, vers un tuyau commun d'un diamètre de 300 mm, les tuyaux sont détournés de toutes les sources de sortie d'eau:
- salle de bains,
- évier de cuisine,
- Lave-vaisselle.
A la sortie du tuyau commun de la maison, un joint hydraulique ou un coude conventionnel est installé pour empêcher les odeurs désagréables de pénétrer dans la maison.
Installation d'une fosse septique
L'étape suivante consiste à installer une fosse septique. Le lieu de son emplacement ne doit pas être à moins de dix mètres de tous les bâtiments, y compris les dépendances. Dans le cas où la consommation d'eau atteint 1 m3 / jour, l'installation d'une fosse septique à chambre unique de dimensions 1x1,5 m et 1,5 m de profondeur suffira.
Si vous envisagez d'utiliser un plus grand volume d'eau, vous avez besoin d'une fosse septique à deux chambres avec la première chambre dans 75% de l'ensemble du liquide traité. Il n'est pas difficile de choisir une fosse septique adaptée en termes de volume et de qualité aujourd'hui, car il existe un grand nombre de fabricants avec des offres variées sur le marché.
Par exemple, sous la fosse septique Topas ou toute autre, il est nécessaire de creuser une fosse de 20 à 30 cm plus grande que la taille de la fosse septique elle-même.Un col doit être laissé au-dessus de la surface de la fosse.
Avant de creuser dans la fosse, la fosse septique est remplie d'eau, sinon le mélange de terre et de sable peut s'enfoncer et déformer ses parois. Après l'installation du navire, une sortie de tuyau est réalisée avec une pente d'au moins 2 cm, reliée au puits de filtre.
Bien filtrer
Lors de la construction d'un puits filtrant, des anneaux en brique, en moellons ou en béton sont nécessaires. Le puits ne doit pas être situé à moins de 10 m de tout bâtiment, structure ou objet dans le cas où l'eau souterraine se trouve à au moins 1 m du fond du puits.
- Avec des plans de consommation d'eau, pas plus de 0,5 m3 / jour pour les sols sableux, un puits avec des paramètres de 1x1 m est requis, pour limon sableux 1,5x1,5 m.
- Avec un volume allant jusqu'à 1 m3 / jour, puis pour le sable 1,5x1,5 m, pour le limon sableux - 2x2 m, respectivement.
La fosse finie est équipée d'anneaux en béton. Un filtre est posé à son fond, dont le matériau peut être des fragments de brique, de la pierre concassée, des scories, du gravier de différentes tailles, par exemple de 10 à 70 mm. Le remblai est formé avec une épaisseur de 400-500 mm. De la même manière, avec le même matériau et la même hauteur, la partie supérieure du puits est comblée.
Des trous sont faits dans les murs situés directement à côté du filtre.Habituellement, sur la partie du puits située au-dessus du filtre, ils fabriquent une hotte d'extraction avec un tuyau de ventilation et une girouette.
Au-dessus du sol, il ne doit pas s'élever à moins de 50 à 70 cm de hauteur. Le puits peut être recouvert d'une dalle béton avec trappe technologique. Mais il est possible de fabriquer des sols en bois, seule leur durée de vie est bien moindre.
Types d'installations de filtrage
Il existe deux types de structures de puits de filtration qui fonctionnent sur le même principe et sont installées de manière similaire. Leurs différences résident dans le domaine d'application. Les premiers sont utilisés dans le système de drainage et d'orage, les seconds dans les égouts.
Puits d'absorption dans le système de drainage et d'orage
Dans ce cas, les puits d'absorption de drainage sont le point final d'un système de drainage complexe du site, où les eaux souterraines ou les eaux de pluie se précipitent à travers le pipeline, de sorte que plus tard, après avoir traversé un filtre naturel, elles pénètrent dans le sol. Son objectif principal est de détourner l'eau de la maison et de la nettoyer du limon et du sable.
Le schéma montre l'organisation des égouts pluviaux et de drainage d'un site avec un lecteur. Dans les sols à forte capacité d'absorption, au lieu d'un collecteur, un puits de filtration est installé
Le diamètre de ces puits, en règle générale, ne dépasse pas un an et demi et la profondeur d'occurrence peut atteindre deux mètres. Il est permis de drainer les deux systèmes dans un seul puits. La cuve filtrante est installée au point le plus bas du site afin que l'eau s'y écoule par gravité naturelle.
Structure de filtration dans le réseau d'égouts
Dans le réseau d'égouts du site, des puits d'absorption sont utilisés pour le post-traitement des eaux usées provenant d'un réservoir hermétiquement fermé, dans lequel les eaux usées subissent un traitement biologique primaire. Le réservoir est constitué d'anneaux en béton, de briques ou de moellons, ou une fosse septique prête à l'emploi est utilisée.
Schéma d'installation d'un puits de filtration avec une fosse septique, dans lequel les eaux usées subissent un traitement primaire, puis pénètrent dans le réservoir d'absorption par le tuyau et pénètrent dans le sol par le système de filtration
Le principe de fonctionnement du système est le suivant: les eaux usées des égouts de la maison pénètrent dans un récipient scellé, où elles sont oxydées pendant deux à trois jours sous l'influence de bactéries anaérobies vivant dans un espace sans air. Ensuite, les eaux usées pénètrent dans le puits de filtration, où d'autres bactéries - aérobies - sont déjà présentes. Leur activité vitale est activée sous l'influence de l'oxygène.
À la suite d'une double purification, le liquide pénétrant dans le sol à partir du puits d'absorption est presque complètement débarrassé des micro-organismes nocifs et des substances organiques.
L'évacuation des eaux usées peut être organisée de deux manières :
- Séparé. L'eau de la cuisine, de la salle de bain, des machines à laver va dans la fosse septique et les eaux usées avec les matières fécales vont dans le puisard.
- Découper. Tous les déchets ménagers sont acheminés vers une fosse septique ou un réservoir de stockage.
En règle générale, dans le premier cas, les effluents gris sont envoyés vers différentes installations d'égouts. Par exemple, les matières fécales - dans un puits de stockage avec pompage et élimination ultérieurs, les eaux usées domestiques grises des éviers de cuisine, des baignoires, des lavabos, etc. dispositifs - dans les puits d'absorption.
Dans le second cas, une fosse septique est nécessaire, composée de deux ou trois chambres, dans chacune desquelles sa propre étape de nettoyage est effectuée séquentiellement. Les masses fécales se déposent dans la première chambre, d'où elles sont périodiquement pompées par une machine à eaux usées.
Une fosse septique à chambre unique est généralement installée dans des fermes individuelles dans lesquelles un système d'assainissement séparé est organisé
La deuxième chambre reçoit les déchets liquides sans particules en suspension avec une quantité minimale d'impuretés, où ils subissent une purification supplémentaire. Après cela, l'eau passe à travers les tuyaux dans le puits de filtration, d'où, après avoir traversé un filtre naturel, elle pénètre dans le sol.
La deuxième variante du schéma conjoint est le pompage et l'évacuation complets des eaux usées.
Installation à faire soi-même d'un puits filtrant pour les eaux usées (vidéo)
- brouette;
- pelle;
- un marteau;
- couteau de chantier;
- hache;
- scie à métaux pour le bois et le métal;
- roulette.
- Organisation de la voie d'accès. Après avoir choisi un emplacement pour un tel dispositif de traitement, il est nécessaire de prévoir une route d'accès à celui-ci. Au fil du temps, beaucoup de limon se forme au bas de sa structure et le filtre cesse de remplir sa fonction. Dans ce cas, vous ne pouvez pas vous passer de l'aide d'une machine à eaux usées.
- Creuser une fosse. Si des anneaux en béton armé sont utilisés pour les parois du puits, le processus consiste à installer d'abord le premier anneau. Ensuite, vous devez creuser de l'intérieur de l'anneau en jetant la terre. L'anneau va progressivement s'enfoncer dans le sol sous l'effet de sa masse. Une fois que le premier anneau s'est enfoncé sous terre sur toute sa hauteur, des briques sont posées, dans lesquelles des trous sont prévus en damier. Après cela, l'anneau suivant est installé et le creusement de la fosse se poursuit.
- Installation de tuyaux. À travers elle, les eaux usées sortant de la fosse septique s'écouleront vers le filtre. Il doit être placé à 10 cm au-dessus du filtre inférieur sous une pente.
- Disposition du tampon filtrant. Pour le filtre inférieur, le centre est rempli de: gravier, argile expansée, scories de grandes fractions et ses plus petites particules près des parois. A un niveau de 15 cm du filtre inférieur, un trou est fait vers la fosse septique.
- Chevauchement de l'installation. Il peut être utilisé comme couverture en plastique d'un diamètre approprié ou comme plafond rond en bois fait maison. Si le dispositif de filtration est utilisé toute l'année, il est logique de prévoir l'installation de deux couvercles, entre lesquels un espace sera ménagé. Dans cet espace, il faudra répartir l'isolant sous forme de laine minérale ou d'une feuille de mousse. Afin de faciliter la vérification de l'état si nécessaire, une trappe de fermeture doit être prévue à l'intérieur du dispositif de filtration, dont le diamètre doit être d'au moins 70 cm.
Après avoir creusé et aménagé la mine, celle-ci est recouverte d'une large couche de terre. Afin de ne pas gâcher la vue paysagère du site, ce lieu doit être décoré à votre guise.
La conception du puits peut être arbitraire, mais une condition doit être remplie - le respect de la tâche d'assurer la filtration de l'eau, qui peut avoir une intensité variable.
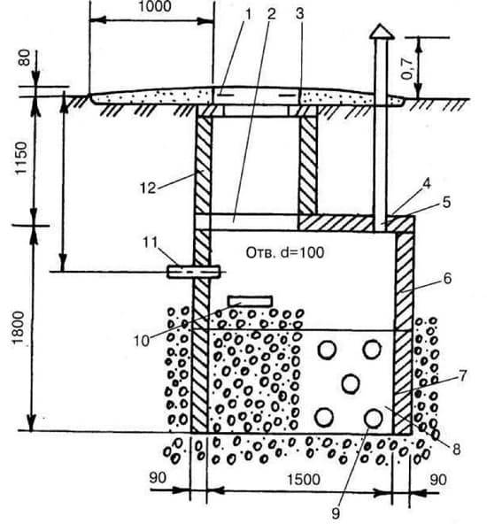
Pour sélectionner le type de station d'épuration le plus approprié dans des conditions spécifiques, un certain nombre de circonstances doivent être prises en compte, notamment : la présence d'un aquifère, la présence d'un puits conventionnel et le type de sol. L'IMAGE 1 illustre la conception du puits filtrant, ainsi que les normes à prendre en compte lors de l'approfondissement.
Dans certains cas, certaines circonstances ne permettent pas de bien équiper un filtre, mais si des conditions subjectives et objectives favorisent l'utilisation de cet élément de nettoyage, il serait tout à fait logique de se demander de quel côté du site il est préférable de le placer. Ainsi, vous pouvez facilement organiser un système de filtration de vos propres mains sur des sols adaptés à la filtration, parmi lesquels: sableux, limon sableux, tourbe.
Image 1. La conception du puits de filtre.
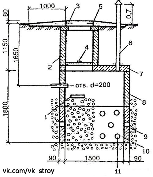
Lorsque vous essayez de construire un tel filtre dans un sol argileux, il est possible que le système ne s'y implante pas. La surface de filtration est également importante pour le puits filtrant, qui peut être égal à un indicateur de l'ordre de 1,5 m², ce qui est vrai pour le limon sableux, et 3 m² pour le sable. Plus la zone de filtrage du système est grande, plus sa durée de vie sera longue. L'IMAGE 2 montre comment les murs du puits peuvent être posés à l'aide de briques.
Pour que le puits filtrant puisse pleinement faire face aux tâches assignées, il doit être situé dans une section où il se trouve en dessous du niveau sur lequel se trouve le fond filtrant, qui est un oreiller en pierre concassée. Dans ce cas, la distance entre le fond et l'eau doit être d'au moins 0,5 m.La base du système doit être à 1 m au-dessus du niveau de la nappe phréatique.Si le territoire est caractérisé par un niveau élevé de la nappe phréatique, dans ce cas, il est préférable refuser d'installer un puits filtrant.
But et caractéristiques des puits de filtration
Les enjeux de l'écologie et de la protection de l'environnement sont aujourd'hui très aigus.Les eaux usées non traitées, si elles s'écoulent directement dans les plans d'eau ou le sol à partir des eaux usées domestiques, peuvent constituer une source de contamination de l'eau et du sol.
Il est donc strictement interdit de le faire. Avant d'entrer dans des sources à ciel ouvert ou de quitter le sol, l'eau sanitaire sale doit nécessairement passer par un système de purification.
Il existe différentes façons de purifier les eaux usées, dont l'une est un puits d'absorption, qui agit comme une sorte de filtre multicouche naturel. Il retient la saleté, les débris et autres particules et laisse passer l'eau purifiée dans le sol.
Galerie d'images
Photo de
Un puits d'absorption, également appelé puits filtrant, est un objet du réseau d'égouts conçu pour l'évacuation des eaux usées traitées.
Dans les schémas d'un dispositif d'assainissement autonome, un puits d'absorption est installé après une fosse septique qui nettoie les eaux usées à 95%.
Le puits filtrant est utilisé en tandem avec des fosses septiques industrielles et artisanales qui nettoient les drains gris
En fait, le puits d'absorption est une fosse de drainage, équipée d'un filtre de sol d'une capacité de 1 m
Le dispositif de puits d'absorption ne peut être réalisé que dans des sols non cohésifs: sables, à l'exception des dépôts d'argile fine et poussiéreuse, de gravier et de pierre concassée
Les eaux usées traitées qui ont subi un post-traitement au sol dans le puits d'absorption doivent être librement absorbées par les sols environnants.
En cas de pénétration dans des sols à faible capacité de filtration, par exemple dans du sable limoneux ou du loam sableux, la surface d'absorption est augmentée en installant des murs en briques perforées ou des anneaux en béton.
Une autre option pour augmenter le débit consiste à l'installer à l'intérieur d'un tuyau perforé, enterré à 1,5 - 2 m sous le fond conditionnel du filtre de sol
But fonctionnel dans l'égout
L'emplacement du puits d'absorption après la fosse septique
Partie d'un système de purification autonome
Prototype de puits d'absorption
Conditions techniques pour la construction d'un puits filtrant
Qualités de filtration des sols environnants
Parois perforées du puits d'absorption
Conception améliorée de l'absorbeur
Une caractéristique distinctive des structures filtrantes est l'absence de fond étanche. Au fond du puits, un filtre de fond en pierre concassée, gravier, briques brisées et autres matériaux de construction similaires est équipé. La hauteur totale du lit filtrant doit être jusqu'à un mètre.
Un puits filtrant, en règle générale, est équipé dans les zones non équipées d'un égout de drainage, ainsi que dans les endroits où il n'y a pas de réservoirs naturels à proximité pour évacuer l'eau.
Il peut être utilisé comme structure indépendante dans l'aménagement d'un système de drainage ou d'égout pluvial, ou pour le post-traitement des eaux usées qui ont subi un traitement préalable dans une fosse septique.
La fonction du puits filtrant est de faire passer le liquide circulant dans les tuyaux à travers le système de filtre naturel et de drainer l'eau déjà purifiée profondément dans le sol
C'est intéressant : tuyau de ventilateur - technologie dispositifs de colonne montante de ventilateur
But et principe de fonctionnement du puits filtrant
Le puits filtrant est utilisé comme épurateur naturel des eaux usées. Il est utilisé en l'absence d'assainissement et de capacité à amener l'eau domestique dans un réservoir destiné à ces déchets.
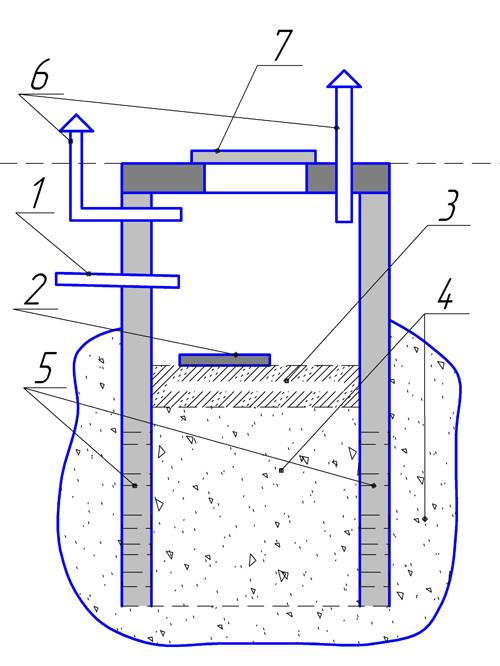
La photo explique le fonctionnement d'un tel puits
Le système de traitement de l'eau domestique est assez simple.
L'eau de la maison pénètre dans la fosse septique ou le puisard, où certaines des particules lourdes se déposent. L'eau partiellement purifiée est évacuée par un tuyau dans un récipient.
Un puits filtrant pour une fosse septique est utilisé non seulement comme lieu de drainage de l'eau, mais également comme filtre supplémentaire, où la dernière étape de nettoyage se termine et le liquide est aspiré dans le sol. Si le volume de déchets ménagers ne dépasse pas 1 mètre cube par jour, un réservoir de nettoyage est monté sur le site en tant que structure indépendante. Sinon, il remplit la fonction de traitement de l'eau.
La structure est montée à une distance de 30 mètres de la source d'eau potable.
Installation d'un puits filtrant
Tout d'abord, il convient de noter que le puits de nettoyage ne convient que pour certains types de sols.
Le sol sablonneux, la tourbe, le sol rocheux meuble, qui contient de l'argile, sont un excellent endroit pour le plein fonctionnement du filtre naturel. Un puits filtrant en argile ne remplira pas pleinement ses fonctions, car l'argile, de par sa nature même, ne laisse pas passer l'eau très bien. Pour les sols qui nettoient et absorbent mal les liquides, il existe d'autres moyens de purifier l'eau.
De plus, le sol affecte également la surface de la structure et sa durée de vie. L'efficacité du filtre est obtenue grâce à la profondeur des eaux souterraines, qui doit être inférieure d'un demi-mètre au fond du puits.
Conseils. Un puits filtrant avec un niveau élevé d'eau souterraine ne doit pas être installé, car l'eau ne pourra pas être absorbée dans le sol. Il convient également de prendre en compte la profondeur du gel du sol en hiver.
Le puits filtrant se compose de :
- chevauchements ;
- murs (béton, brique, pneus, barils en plastique);
- filtre de fond (pierre concassée, brique, laitier, gravier) ;
Sous le filtre inférieur, on entend un monticule au fond d'une hauteur d'environ un mètre. Les grosses particules sont placées au milieu et les petites le long du périmètre.
Un exemple de filtre à fond de pierre
Les eaux usées sont dans une fosse septique avant d'entrer dans le réservoir de traitement. Ensuite, il se déplace à travers le tuyau jusqu'au puits.
La distance entre la fosse septique et le puits filtrant doit être de 20 cm.
Les murs du puits peuvent être un baril, une brique, une pierre, des anneaux de béton standard et des pneus. L'essentiel est qu'ils aient des trous d'un diamètre allant jusqu'à 10 cm et qu'ils soient décalés.
Le conteneur du filtre doit être équipé d'un tuyau de ventilation d'un diamètre de 10 cm.Au-dessus du niveau du sol, le tuyau doit être à une hauteur d'environ un mètre.
Les dimensions standard des réservoirs filtrants modernes sont de 2 mètres de diamètre et de 3 mètres de profondeur. Ils sont construits de forme carrée ou ronde. Quelques années après la mise en fonctionnement du filtre à eaux usées et l'apparition des premiers problèmes, chacun se pose la question de savoir comment rétablir la filtration du filtre bien.
Et arrête de laisser entrer l'eau dans le sol. Pour ralentir ce processus, les experts recommandent d'installer plusieurs fosses septiques. Et en cas de fort envasement, appelez la voiture un égout.
Nous fabriquons un tel puits avec des moyens improvisés: à partir de briques et de pneus
Pour installer un puits filtrant, une grande fosse est creusée dans la brique. Le coffrage est installé et revêtu de briques. La pierre se trouve à une courte distance. Une couche de drainage est coulée au fond du réservoir. Et le dessus est fermé avec un couvercle en bois ou en plastique.
Exemple de puits de pneus usagés
Une option bon marché et abordable consiste à créer un puits de filtre à partir de pneus. Le plus souvent, les pneus d'automobiles et de tracteurs sont sélectionnés à cet effet. Une telle structure n'est pas durable, mais elle peut servir pendant plus de 10 ans au profit de l'environnement.
Le processus d'organisation du conteneur est assez simple.
Au début, un trou est creusé le long du diamètre des pneus et recouvert de gravats d'environ 30 cm d'épaisseur.Les restes de briques et de scories conviennent également. De plus, l'espace entre les pneus est rempli de gravats. Un trou pour le tuyau est découpé dans le pneu supérieur. Pour assurer l'étanchéité de l'extérieur, les pneus sont enveloppés de polyéthylène dense ou de matériau de toiture.
L'installation d'un puits filtrant est indispensable pour toute maison de campagne où il n'y a pas de système d'égout central. Cela aidera à protéger les eaux souterraines de la contamination par des particules chimiques dangereuses.
La vidéo montre le processus de construction d'un puits de filtre. Assurez-vous de le vérifier.
Caractéristiques structurelles du PF
Le champ de filtration est un terrain relativement grand sur lequel s'effectue la purification secondaire du liquide.
Cette méthode de nettoyage est exclusivement biologique, de nature naturelle, et sa valeur réside dans l'économie d'argent (pas besoin d'acheter des appareils ou des filtres supplémentaires).
Les dimensions du PF dépendent de la superficie du territoire libre et des caractéristiques paysagères de la parcelle de jardin. S'il n'y a pas assez d'espace, au lieu de PF, un puits absorbant est aménagé, qui filtre également le liquide avant qu'il ne pénètre dans le sol
Un dispositif de champ de filtration typique est un système de tuyaux de drainage parallèles (drains) qui s'étendent du collecteur et sont placés à intervalles réguliers dans des fossés avec une épaisse couche de sable et de gravier.
Auparavant, des tuyaux en amiante-ciment étaient utilisés, il existe maintenant une option plus fiable et économique - les drains en plastique. Une condition préalable est la présence d'une ventilation (colonnes montantes installées verticalement qui fournissent un accès à l'oxygène aux tuyaux).
La conception du système vise à garantir que le liquide est uniformément réparti sur la zone allouée et a le degré de purification maximal, il y a donc plusieurs points importants :
- distance entre les drains - 1,5 m;
- longueur des tuyaux de drainage - pas plus de 20 m;
- diamètre du tuyau - 0,11 m;
- intervalles entre les colonnes montantes de ventilation - pas plus de 4 m;
- la hauteur des contremarches au-dessus du niveau du sol n'est pas inférieure à 0,5 m.
Pour que le mouvement naturel du liquide ait lieu, les tuyaux ont une pente de 2 cm / m. Chaque drain est entouré d'un "coussin" filtrant de sable et de galets (pierre concassée, gravier), et est également protégé du sol par un géotextile.
L'une des options complexes de l'appareil : après le nettoyage du champ de filtration, l'eau pénètre dans le puits de stockage, d'où elle est pompée à l'aide d'une pompe. Son autre chemin est vers un étang ou un fossé, ainsi que vers la surface - pour l'irrigation et les besoins techniques.
Il y a une condition sans laquelle l'installation d'une fosse septique avec un champ de filtration n'est pas pratique. Des propriétés de perméabilité spéciales du sol sont requises, c'est-à-dire que sur des sols lâches à grains grossiers et fins qui n'ont pas de lien entre les particules, il est possible de construire un système de post-traitement et des sols argileux denses, dont les particules sont connectés de manière consolidée, ne conviennent pas pour cela.
Schéma d'appareil typique
Quelles que soient les dimensions générales du champ de filtration, sa conception se compose des pièces suivantes :
- collecteur (puits de contrôle, puits de distribution) ;
- réseaux de drains en plastique (tuyaux de drainage avec trous);
- colonnes montantes de ventilation;
- tampon filtrant.
Traditionnellement, la couche de drainage est coulée à partir de sable et de gravier (pierre concassée, cailloux). Les géotextiles sont utilisés pour protéger les drains. Le système d'égout avec PF ressemble à ceci :
Faites attention à l'épaisseur du tampon de drainage. L'indicateur minimum est considéré comme une épaisseur totale de 1 m, dans ce schéma c'est plus: pierre concassée - 0,3-0,4 m, sable - 0,8-1 m Lors de la construction d'un champ de filtration de vos propres mains, il n'est pas nécessaire construire vous-même un collecteur - en vente, vous pouvez trouver des conteneurs d'égout en plastique du bon volume
Lors de la construction d'un champ de filtration de vos propres mains, il n'est pas nécessaire de construire vous-même un collecteur - en vente, vous pouvez trouver des conteneurs d'égout en plastique du volume requis.
Souvent, ils se passent d'un puits de distribution, reliant directement la fosse septique et le système de canalisations - mais cela est pratique pour les petits PF.
Schéma d'un champ de filtration d'une superficie de 4 m x 3,75 m. La distance entre les drains est de 1,5 m, chaque tuyau de drainage est équipé d'une colonne montante de ventilation. En tant que filtre souterrain - un "coussin" de sable et de gravier avec une couche de géotextile
Parfois, au lieu de PF, des dispositifs en plastique prêts à l'emploi - des infiltrateurs - sont utilisés. Ils aident quand il y a un manque d'espace libre et que le sol n'a pas de couches de loam avec du loam sableux et a des propriétés de débit suffisantes.
Si vous le souhaitez, vous pouvez installer plusieurs infiltrateurs reliés par des tuyaux en série.
Schéma d'un système d'égout local avec un infiltrateur.Il n'est pas recommandé de briser les parterres de fleurs sur les champs de filtration, car le système racinaire peut endommager les tuyaux. Pour l'infiltré, au contraire, le décor floral est l'option la plus acceptable.
Ensuite, considérez comment concevoir et installer correctement le PF.
Conception et matériaux pour la fabrication de puits de drainage

La raison pour laquelle un puits de drainage est nécessaire est compréhensible, examinons maintenant les caractéristiques de conception. Le système se compose des parties suivantes :
- Le bac (kinet) peut être un passage traversant, situé perpendiculairement au tube annelé ou un té ;
- Un arbre, dont le rôle est joué par un tuyau ondulé avec une douille ou un morceau de tuyau à paroi lisse sans douille. La longueur n'est pas inférieure à 2 m.Le col est relié à l'entrée des eaux pluviales au moyen d'un raccord en caoutchouc élastique.
Pour que le système fonctionne correctement au printemps et en automne, il est nécessaire de nettoyer les tuyaux du limon avec un long bâton, un tuyau d'arrosage ou simplement à la main, si possible.
Il est important d'avoir une couverture qui ferme bien le drainage, cela protège contre l'excès de pollution.
Vidéo d'installation d'un puits de drainage en plastique
Le but des puits est différent :
- Inspection, réservoirs de révision, conçus non pour l'accumulation d'eau, mais pour le nettoyage, la surveillance du fonctionnement du système. Installé dans les sections supérieures, représentant un tuyau avec une paire de buses. Ils sont rapidement nettoyés sous la pression de l'eau et peuvent jouer le rôle d'élément rotatif dans le puits.
- Variable. Pour lisser les grosses gouttes dans le système, il existe des puits de débordement avec des buses situées à différentes hauteurs. Montré pour une disposition dans des zones avec un niveau de relief instable.
- Absorption / filtrage.Servir pour l'accumulation de volumes d'eau et sont présentés pour la disposition sur des sols sablonneux. De grandes dimensions (2-5 m. Profondeur et 1,5 m ou plus de diamètre), l'absence de fond avec une couche filtrante de gravier, de pierre concassée ou de pierre, vous permettent de construire vous-même rapidement un puits de ce type sur le site.
- Des puits de stockage sont installés au point le plus bas du système de drainage. Il est obligatoire d'avoir une pompe d'aspiration, à travers laquelle l'excès d'eau est éliminé, s'il n'y a aucune possibilité d'évacuer l'humidité dans un fossé, une rivière.
Matériaux pour puits et leurs caractéristiques

Il convient de considérer certains des matériaux les plus populaires utilisés pour la fabrication :
- Puits renforcés en béton. Il s'agit d'anneaux standards en béton armé fabriqués industriellement. Un tel puits de drainage est installé à l'aide d'un équipement lourd, ce qui est peu pratique. De plus, le système est financièrement coûteux, sujet à la destruction ;
- constructions plastiques. Le polyéthylène, le PVC, le polypropylène sont utilisés pour la production. Diffèrent dans l'étanchéité, sont équipés de branches pour tuyaux, manchettes. Une résistance supplémentaire est donnée par l'utilisation d'ondulations de surface d'une manière spéciale, ce qui permet aux tuyaux de résister parfaitement à la pression du sol.
- Puits de drainage en brique. Structures durables très confortables, mais nécessitant des compétences et des connaissances particulières dans l'aménagement. A cause de quoi le prix du système est extrêmement élevé.
- Un puits de drainage improvisé est le type le plus populaire, bien connu des résidents d'été. Le faible coût est un plus, mais une faible fiabilité et une courte période d'utilisation sont un inconvénient de la conception.

Parmi tous les types proposés, les consommateurs achètent le plus souvent des systèmes en plastique. Caractéristiques positives du produit :
- Poids extrêmement léger;
- Facilité d'installation;
- Prix très abordable;
- Haute rigidité des anneaux;
- Résistance impeccable à la corrosion aux influences extérieures;
- Résistance au gel ;
- Résistance aux chocs.
Vidéo faisant un puits de drainage à partir de briques avec vos propres mains
Aménager ou non des puits de drainage sur le site, c'est au propriétaire de décider. Si la datcha sert de lieu de repos et qu'il n'y a pas besoin de plantation, il semble qu'il n'y ait pas besoin d'un système de drainage, surtout lorsque l'aquifère du sol est bas. Dans tous les autres cas, il convient de penser à améliorer l'évacuation de l'excès d'humidité. De plus, il n'est pas difficile de créer votre propre système de drainage en présence de structures légères en plastique.











































