- Description détaillée des principales étapes des travaux : raccordement à l'eau
- Matériaux : fonte et autres
- Installation à faire soi-même en 7 étapes : pince, selle, système d'assainissement, raccord
- Insertion dans le réseau d'eau
- méthode de soudage
- Serrer
- Règles de raccordement d'une maison à une alimentation en eau centrale
- Pour référence : types de pinces
- Recherche indépendante de canalisations souterraines
- Demande de détecteur de métaux
- Protection environnementale
- Règles pour la tuyauterie dans une habitation
- Comment se connecter à une conduite d'eau commune
- Travailler avec des canalisations en fonte
- Dispositif pour puiser dans l'alimentation en eau sous pression
- Installation de la selle
- But des pipelines principaux
- Puiser dans un tuyau sous pression d'eau
- Conclusions et vidéo utile sur le sujet
Description détaillée des principales étapes des travaux : raccordement à l'eau
Lorsque vous décidez comment effectuer un raccordement à l'alimentation en eau sans couper la pression dans le système central, vous devez vous familiariser attentivement avec chaque étape des travaux. Au départ, il faut calculer le tracé des tuyaux. Une profondeur de 1,2 m est considérée comme optimale pour eux.Les tuyaux doivent aller directement de l'autoroute centrale à la maison.
Matériaux : fonte et autres
Ils peuvent être fabriqués à partir des matériaux suivants :
- polyéthylène;
- fonte;
- Acier Cink.
Un matériau artificiel est préférable, car le raccordement à l'alimentation en eau ne nécessite pas de soudure dans ce cas.
Pour simplifier les travaux sur le lieu de raccordement, un puits (caisson) est construit. Pour cela, la fosse est approfondie de 500 à 700 mm. Un coussin de gravier est rempli à 200 mm. Un matériau de toiture est roulé dessus et du béton de 100 mm d'épaisseur avec une grille de renforcement de 4 mm est coulé.
Une plaque en fonte avec un trou pour une trappe est installée sur le cou. Les murs verticaux sont recouverts d'une substance imperméabilisante. La fosse à ce stade est recouverte d'un sol préalablement sélectionné.
Le canal perce manuellement ou à l'aide d'une excavatrice. L'essentiel est que la profondeur réponde aux exigences du projet. C'est en dessous de la limite de gel du sol dans cette zone climatique. Mais la profondeur minimale est de 1 m.
Pour le tie-in, il est préférable d'utiliser du matériel artificiel
Installation à faire soi-même en 7 étapes : pince, selle, système d'assainissement, raccord
Le processus d'installation se déroule selon la technologie suivante.
- Le dispositif de tapotement sous pression est situé dans un coussinet de col spécial. Cet élément est installé sur un tuyau préalablement nettoyé de l'isolation thermique. Le métal est frotté avec du papier de verre. Cela enlèvera la rouille. Le diamètre de la section transversale du tuyau sortant sera plus étroit que celui du tuyau central.
- Une pince avec une bride et un tuyau de dérivation est installée sur la surface nettoyée. De l'autre côté, un robinet-vanne avec un manchon est monté. Un appareil est attaché ici dans lequel se trouve le couteau. Avec sa participation, une insertion dans le régime général est réalisée.
- Une perceuse est insérée dans le tuyau à travers une vanne ouverte et un presse-étoupe d'une bride aveugle. Il doit correspondre à la taille du trou. Forage en cours.
- Après cela, le manchon et le couteau sont retirés et la vanne d'eau se ferme en parallèle.
- Le tuyau d'entrée à ce stade doit être connecté à la bride de la vanne de canalisation. Le revêtement protecteur de la surface et les matériaux isolants sont restaurés.
- Le long du parcours de la fondation au canal principal, il est nécessaire de prévoir une pente de 2% du raccordement au tuyau d'entrée et de sortie.
- Ensuite, un compteur d'eau est installé. Une vanne de couplage d'arrêt est montée des deux côtés. Le compteur peut être dans le puits ou dans la maison. Pour le calibrer, la vanne à bride d'arrêt est fermée et le compteur est retiré.
Il s'agit d'une technique de taraudage courante. La perforation est réalisée en fonction du type de matériau et de la conception du renfort. Pour la fonte, le meulage est effectué avant le travail, ce qui vous permet d'éliminer la couche externe compactée. Un robinet-vanne à bride en fonte avec un coin caoutchouté est installé au point de raccordement. Le corps du tuyau est percé d'une couronne en carbure. Le matériau de l'élément de coupe est important. La vanne à bride en fonte nécessite l'utilisation de couronnes solides uniquement, qui devront être changées environ 4 fois pendant le processus de raccordement. Le piquage sous pression dans une conduite d'eau n'est effectué que par des spécialistes compétents.
Pour les tuyaux en acier, il n'est pas nécessaire d'utiliser une pince. Le tuyau doit y être soudé. Et déjà une vanne et un dispositif de fraisage y sont attachés. La qualité de la soudure est évaluée. Si nécessaire, il est en outre renforcé.
Le tuyau en polymère n'est pas meulé avant qu'un outil de prise de pression ne soit placé sur le site de ponction. La couronne d'un tel matériau peut être à la fois solide et souple. C'est une autre raison pour laquelle les tuyaux en polymère sont considérés comme bénéfiques.
La prochaine étape consiste à tester. Les robinets d'arrêt (robinet à bride, robinet-vanne) et les joints sont vérifiés pour détecter les fuites. Lorsque la pression est appliquée à travers la vanne, l'air est purgé. Lorsque l'eau commence à couler, le système est inspecté avec le canal non encore enterré.
Si le test réussit, ils enterrent la tranchée et la fosse au-dessus du raccordement. Les travaux sont exécutés dans le respect des règles de sécurité et conformément aux instructions.
Il s'agit d'une méthode fiable et productive qui ne perturbe pas le confort des autres consommateurs. Le travail peut être effectué par tous les temps
Par conséquent, la méthode présentée est si populaire aujourd'hui. Le raccordement au réseau d'eau est un événement technique très important.
Insertion dans le réseau d'eau
Les caractéristiques du système principal d'alimentation en eau sont les suivantes: une telle conduite est posée dans les rues principales, des conduites d'un diamètre de 100 à 2000 mm sont utilisées. L'insertion nécessite l'accès à l'un des deux options possibles tâche confiée :
- soudage - un fil est soudé, ce qui est nécessaire pour l'installation d'une grue, qui sert à connecter un tuyau allant à une maison particulière;
- pince suspendue - utilisée lorsqu'il n'y a aucune possibilité de bloquer l'écoulement de l'eau.
La profondeur de la ligne détermine l'emplacement du raccordement. Si le tuyau principal est à une profondeur décente, le raccordement est effectué dans sa partie supérieure, et sinon - avec une branche sur le côté. Examinons de plus près les options mentionnées.
méthode de soudage
Lorsque vous utilisez cette méthode, il est conseillé de couper d'abord l'alimentation en eau, puis de procéder à un raccordement direct.Pourquoi vous devez graver un trou en fonction du diamètre du fil, qui doit ensuite être soudé.
Dans le même temps, le processus d'un tel travail ne ressemble pas toujours exactement à cela. Dans certains cas, le piquage dans une conduite d'eau s'effectue sans couper l'alimentation en eau. Cela peut s'expliquer par l'absence élémentaire de vannes d'arrêt ou par le fait que de tels raccords existent, mais qu'ils sont anciens, ce qui ne permet pas de les utiliser conformément à leur destination. En pratique, l'ensemble d'actions suivant est attendu :
- le lieu du raccordement est sélectionné, où le fil est soudé;
- puis une vanne à passage intégral est vissée ;
- un trou est percé à travers le robinet installé, garantissant que le perforateur est protégé de l'eau par un écran en caoutchouc ou en carton;
- à la fin du processus précédent, le foret est tiré brusquement et le robinet se ferme.
Le forage doit être effectué à un régime élevé, car cela réduit le risque de blocage de la perceuse. Cette méthode de raccordement est problématique en raison de la forte pression de l'eau dans l'alimentation en eau principale. Si la pression dépasse 5 atm., Il est alors nécessaire de refuser d'effectuer un tel travail de manière indépendante. Dans ce cas, vous devez contacter des organismes spécialisés et ne pas prendre l'initiative.
Serrer
La possibilité d'utiliser un collier suspendu, s'il est nécessaire de l'attacher à la ligne, est tout à fait appropriée lorsque l'on travaille avec des tuyaux en différents matériaux : acier, polypropylène, polyéthylène, etc.
En pratique, un tel lien suit la procédure suivante :
- l'eau est coupée;
- une pince aérienne est fixée au tuyau, en tenant compte du fait que cet élément de montage doit être d'une taille plus grand que le tuyau;
- un joint est placé sous la pince, généralement en caoutchouc ou en silicone, nécessaire pour assurer l'étanchéité de la connexion;
- par soudage, un fil est attaché à la pince;
- la grue est montée;
- l'eau est fournie.
De la même manière, un robinet est installé dans une conduite d'eau sans couper l'eau, mais uniquement si la pression ne dépasse pas 5 atm. Dans une plus large mesure, cette méthode convient lorsque vous travaillez avec un tuyau en polyéthylène - un processus de forage plus simple. Lorsque le tuyau et le collier sont en métal, il n'est pas nécessaire de fixer le collier. Quant au tuyau en polyéthylène, ce n'est pas le cas, ce qui s'explique par la présence d'une grande dilatation linéaire de ce produit. Cela oblige à utiliser de l'époxy pour asseoir le joug.
Règles de raccordement d'une maison à une alimentation en eau centrale
Le document fondamental réglementant le raccordement d'une ligne centralisée au système d'alimentation en eau est le décret gouvernemental du 29 juillet 2013 n ° 644, qui définit les règles d'alimentation en eau froide et de drainage.
Ses principales dispositions consistent dans les points suivants :
- Outre le document n ° 644 ci-dessus, la procédure de connexion des objets est déterminée par les lois fédérales sur l'urbanisme et «sur l'approvisionnement en eau et l'assainissement». La base des travaux d'installation est un contrat standard de raccordement à une conduite d'alimentation en eau centralisée.
- Un demandeur qui souhaite rejoindre un système d'approvisionnement en eau centralisé ou augmenter de manière significative le volume de consommation d'eau doit introduire une demande auprès des autorités territoriales.Dans les 5 jours (la période de calcul est uniquement en jours ouvrables), il est tenu de fournir des données, basées sur le système d'approvisionnement en eau de la région, sur l'organisation chargée de la gestion de l'eau sur le territoire du bâtiment résidentiel connecté.
- Ensuite, des représentants des autorités locales ou le client lui-même demandent au service des eaux la délivrance de conditions techniques pour puiser dans l'alimentation en eau centrale. Si le client connaît le volume d'approvisionnement en eau requis, il peut demander au service des eaux de conclure un accord en collectant le paquet de documents nécessaire sans attendre la réception des conditions techniques.
- Le service qui a le droit d'effectuer des travaux dans le cadre du contrat est l'organisation : délivrant les conditions techniques et le permis correspondant, son successeur ou le propriétaire de la conduite d'alimentation en eau. Après acceptation des documents, il doit les vérifier dans les 3 jours ouvrables selon la liste ci-dessous. De plus, le rapport d'équilibre entre le drainage et l'approvisionnement en eau, la faisabilité technique de la réalisation des activités, en tenant compte de la hauteur (nombre d'étages) de l'installation, la section de canalisation sur laquelle le raccordement doit être effectué sont déterminés.
- Si les documents reçus sont incomplets ou mal rédigés, si le bilan est incorrectement corrélé ou si les caractéristiques de pression de la conduite d'eau principale de la source ne fournissent pas d'eau au nombre d'étages spécifié, l'autorité envoie une notification au client au plus tard 3 journées. Il stipule que dans les 20 jours, le client est tenu de fournir les informations manquantes ou de modifier les exigences en matière de documentation, c'est-à-dire de les corréler avec les caractéristiques techniques de la ligne.
- Si des données nouvelles ou modifiées ne sont pas reçues dans les 20 jours, la demande est annulée, à propos de laquelle le client reçoit une notification dans les 3 jours suivant la prise de décision.
- Si tous les documents sont fournis et qu'il existe une possibilité technique d'effectuer les opérations d'installation, le service des eaux envoie l'accord de raccordement, les conditions techniques et le calcul du paiement au client dans les 20 jours.
Riz. 2 Un exemple de tuyauterie à laquelle les appareils de plomberie sont connectés
- La législation ne permet pas le refus du service d'approvisionnement en eau d'établir un accord et de remplir les obligations de se connecter à la ligne avec la faisabilité technique existante.
- Si le raccordement à la ligne n'est pas possible pour des raisons techniques, un projet individuel est établi qui permet de réaliser ces travaux par une autre méthode.
- Conformément au contrat type, le paiement s'effectue selon les montants suivants et à l'ordre :
- 35% jusqu'à 15 jours après la rédaction des documents contractuels ;
- 50% dans les 90 jours pendant les travaux, au plus tard à leur achèvement effectif ;
- 15% dans les 15 jours suivant l'établissement et la signature des actes définitifs qui garantissent la possibilité technique de fournir l'eau au client au plus tard à sa réception effective.
- Le contrat d'approvisionnement en eau est établi pour la durée qui y est indiquée et peut être automatiquement prolongé d'un mois avant la fin de son terme, si les parties n'ont pas annoncé sa suspension ou sa modification.
Pour référence : types de pinces
L'insertion avec des pinces peut être utilisée sur les systèmes d'alimentation en eau à partir d'éléments en divers matériaux. Cependant, vous devez comprendre la différence entre les différents types de pinces et être en mesure de sélectionner la bonne option.
- Pince-clip. Ne s'applique pas si le taraudage est effectué sous pression.S'il est possible de couper la pression de l'eau et de vidanger les restes, cela est considéré comme une option idéale, car il a une conception simple et est très peu coûteux. Il est possible d'acheter une telle pince à la fois en version métal et en plastique.
- Pince de selle. Conçu pour être monté juste sous pression. La pression de l'eau est bloquée par un mécanisme d'obturation spécial.
- Perceuse pince. Il est intéressant en ce que l'unité comprend un mécanisme qui, après montage de la sortie, n'est pas retiré de la conduite, jouant le rôle d'un régulateur ou d'un robinet-vanne.
- Le collier de selle électrosoudé est idéal pour l'installation avec des tuyaux en plastique. Le kit comprend une fraise du diamètre approprié. Les inconvénients comprennent le besoin d'outils supplémentaires pour l'installation lors du raccordement.
Si vous avez affaire à un système de plomberie en plastique, utilisez les pinces des deux dernières variétés.
Recherche indépendante de canalisations souterraines
Le matériau à partir duquel les éléments souhaités sont fabriqués est d'une grande importance. Cela dépend non seulement de la façon de trouver des conduites d'eau dans le sol, mais aussi de ce qu'il faut rechercher et de ce qu'il faut faire.
La technologie est différente et méthode moderne de recherche indépendante les services publics souterrains peuvent viser à déterminer l'emplacement de :
- Plomberie métallique pour eau chaude et froide.
- Chauffage en acier "T" dans les collecteurs.
- Câbles d'alimentation et fils de systèmes de communication.
- Conduites d'égout en fonte.
- Conduites en plastique, polyéthylène, polypropylène;
- Moyens techniques métallo-plastiques et céramiques d'approvisionnement et d'enlèvement.
Demande de détecteur de métaux
Si le tuyau a été posé à une profondeur allant jusqu'à un mètre et demi, il peut être détecté à l'aide de détecteurs de métaux (professionnels, semi-professionnels ou amateurs). Dans le même temps, la présence d'isolant et d'imperméabilisation sur le «T» n'interfère pas avec la procédure.

Le prix de l'équipement peut atteindre jusqu'à 130 000 roubles. Cela signifie que pour un usage unique, son achat est peu pratique. Les modèles bon marché coûtent jusqu'à 6 000, mais ils sont moins efficaces.
Protection environnementale
Lors de la conception de la construction des conduites principales, il ne faut pas oublier les mesures de précaution pour protéger l'environnement. Les substances transportées par les réseaux ont souvent des caractéristiques chimiquement nocives et, en cas de fuite, peuvent créer des catastrophes environnementales de type local.
Tout d'abord, la conception doit avoir toutes les caractéristiques techniques pour son utilisation dans certaines conditions climatiques. Les tuyaux doivent être isolés et protégés contre les effets corrosifs dommageables. La possibilité de destruction de la surface du tuyau doit être minimisée.
Dans des conditions de température difficiles ou dans des zones sismiques actives, il est nécessaire de fournir aux canalisations une isolation spéciale et d'installer des compensateurs sur toute leur longueur.
Les réseaux de base sont un élément important de l'infrastructure de tout pays, de sorte que leur conception et leur installation sont réglementées par des normes strictes. Pour chaque type de ligne principale, les conduites et le type de leur installation sont sélectionnés en tenant compte des conditions climatiques et autres dans lesquelles le réseau prévu fonctionnera.
Règles pour la tuyauterie dans une habitation
Il existe deux méthodes de câblage principales - série et parallèle, chacune ayant ses propres avantages et inconvénients. Dans le premier cas, les équipements d'alimentation en eau et les appareils de plomberie sont connectés à la ligne en série, cette technologie permet d'économiser des matériaux de tuyauterie, mais en même temps, la pression au point le plus éloigné peut différer considérablement de celle à l'entrée de la conduite principale à la maison.
Avec la méthode du collecteur, les raccords et les tuyaux prennent plus, mais la pression dans toutes les branches est approximativement la même. Souvent, la tuyauterie est réalisée de manière mixte, reliant en série des équipements d'alimentation en eau autonomes et des appareils de plomberie étroitement espacés dans une branche d'une ligne.
Riz. 8 Câblage parallèle (collecteur)
L'installation de l'approvisionnement en eau dans une maison privée doit être effectuée selon des règles uniformes que les spécialistes doivent connaître, les informations peuvent également être utiles aux propriétaires lorsqu'ils effectuent des travaux par eux-mêmes. Les points principaux des instructions de plomberie sont les exigences suivantes:
- Le pipeline doit être situé strictement verticalement et horizontalement, les lignes ne doivent pas se croiser.
- Lors de la connexion de sections d'autoroute à l'aide de raccords à compression pliables, il est nécessaire de fournir un accès libre à chaque point de jonction.
- Un robinet à boisseau sphérique est installé à l'entrée de chaque branche de la ligne.
- Un filtre à sable doit être installé à l'entrée de l'aqueduc de la maison.
- Pour maintenir une pression constante, les sorties de la ligne sont faites d'un diamètre inférieur à celui de la ligne principale.
Riz. 9 Méthode de câblage en série avec équipement d'alimentation en eau connecté
Comment se connecter à une conduite d'eau commune
Avant de vous écraser dans une conduite d'eau sous haute pression de fluide, familiarisez-vous avec trois options technologiques qui varient en fonction du matériau dont sont faites les conduites (elles peuvent être en polymère (PP), en fonte, en acier galvanisé).
Pour un itinéraire central en polymère, un raccordement dans une conduite d'eau sous pression ressemble à ceci :
- Une tranchée d'au moins un mètre et demi est creusée, la zone où les travaux seront effectués est exposée et une tranchée est creusée de celle-ci jusqu'à la maison;
- À la fin des travaux de terrassement, une selle est préparée pour puiser dans le système d'alimentation en eau - il s'agit d'un collier à sertir pliable qui ressemble à un té. Les sorties droites de la selle sont divisées en deux et une vanne est installée sur la sortie verticale pour couper la pression. Un tuyau est percé à travers le robinet avec une buse spéciale pour le raccordement. Le schéma de selle le plus fiable est le soudage pliable. Il est facile de diviser un tel collier en deux moitiés, de l'assembler sur la section de raccordement et de le souder à la route principale. Ainsi, la pince pour puiser dans l'alimentation en eau est soudée dans le corps, fournissant une alimentation en eau fiable et absolument hermétique à l'habitation;
- Le tuyau est percé avec une perceuse conventionnelle et une perceuse électrique. Au lieu d'une perceuse, vous pouvez utiliser une couronne, mais le résultat est important, pas l'outil ;
- Un trou traversant est percé jusqu'à ce qu'un jet d'eau en sorte, après quoi le foret est retiré et la vanne est fermée. Pour des raisons de sécurité, à la fin du processus de perçage, l'outil électrique est remplacé par une perceuse à main ou une attelle. Si vous percez un trou non pas avec une perceuse, mais avec une couronne, cela assurera automatiquement l'étanchéité du site de forage.En plus de ces options, il existe une solution utilisant une fraise spéciale, qui est tournée par une clé à molette ou une entretoise externe;
- La dernière étape du raccordement à l'alimentation en eau centrale est l'établissement de votre propre alimentation en eau, posée à l'avance dans une tranchée, et la reliant à la voie centrale avec un raccord à compression américain.
Pour un contrôle complet du point d'insertion, il est conseillé d'équiper une révision au-dessus - un puits avec une trappe. Le puits est équipé en standard: un coussin de gravier-sable est réalisé au fond, des anneaux en béton armé sont descendus dans la tranchée ou les murs sont recouverts de briques. Ainsi, même en hiver, il sera possible de couper l'alimentation en eau s'il est nécessaire de la réparer dans la maison.
Pour un tuyau d'alimentation en eau central en fonte, le raccordement à l'aide de la méthode de la selle ressemble à ceci :
- Pour puiser dans un tuyau en fonte, il doit d'abord être soigneusement nettoyé de la corrosion. À l'endroit même du perçage, la couche supérieure de fonte est enlevée par une meuleuse de 1 à 1,5 mm;
- La selle est intégrée au pipeline de la même manière qu'au premier paragraphe, mais pour sceller complètement le joint entre le tuyau et le sertissage, un joint en caoutchouc est posé;
- À un stade ultérieur, des vannes d'arrêt sont fixées à la buse de serrage - une vanne à travers laquelle l'outil de coupe est inséré.
- Ensuite, le corps du tuyau en fonte est percé, et n'oubliez pas la nécessité de refroidir le site de coupe, ainsi que de changer les couronnes en temps opportun.
- Un trou est percé pour puiser dans l'alimentation en eau principale avec une couronne victorieuse ou en diamant en alliage dur;
- La dernière étape est la même: la couronne est retirée, la valve est fermée, le point d'insertion est ébouillanté avec des électrodes spéciales.
Un tuyau en acier est légèrement plus ductile qu'un tuyau en fonte, le raccordement des tuyaux est donc réalisé selon une technique similaire à la solution avec une ligne polymère, mais la selle n'est pas utilisée, et avant de faire un lien -dans une conduite d'eau en acier galvanisé, les étapes suivantes sont mises en œuvre :
- Le tuyau est exposé et nettoyé;
- Un tuyau de dérivation du même matériau que le tuyau principal est immédiatement soudé sur le tuyau ;
- Une vanne d'arrêt est soudée ou vissée sur la conduite ;
- Le corps du tuyau principal est percé à travers la vanne - d'abord avec une perceuse électrique, les derniers millimètres - avec un outil à main;
- Connectez votre alimentation en eau à la vanne et le raccordement sous pression est prêt.
Travailler avec des canalisations en fonte
Les tuyaux en fonte sous pression peuvent être percés à l'aide de pinces spéciales à couronnes bimétalliques.
Il est important de connaître les caractéristiques suivantes de ce processus :
la fonte est un matériau extrêmement fragile, qui nécessite des soins de la part de l'ouvrier ;
avant de percer le tuyau, vous devez le nettoyer du revêtement anti-corrosion;
il est inacceptable de surchauffer la couronne sur le col;
l'équipement doit fonctionner à basse vitesse.

Une fois le décoffrage terminé, il est nécessaire d'installer une selle de type repliable à la place de l'encordement. Cet endroit doit être scellé avec des tampons en caoutchouc. Le tuyau lui-même est percé d'une couronne en carbure, qui ne peut pas être remplacée pendant la procédure.
La séquence d'insertion est la suivante :
- Le tuyau est excavé et nettoyé au bon endroit.
- La couche supérieure de fonte trempée est coupée avec une meuleuse.
- Une selle pliable est montée. L'étanchéité du joint entre les raccords et la pince est réalisée au moyen d'un joint en caoutchouc.
- La vanne d'arrêt est ensuite fixée à la sortie de la bride nécessaire à l'insertion de la couronne.
- Le tuyau est foré avec un refroidissement constant de la zone de coupe.
- La couronne est retirée et l'eau est coupée avec une valve.
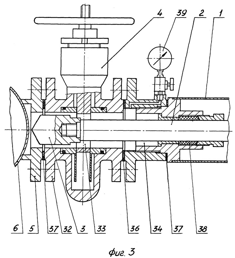
Dispositif pour puiser dans l'alimentation en eau sous pression
L'écrasement dans le système de canalisations avec un arrêt de pompage est associé à des pertes de matériaux importantes. Pour effectuer une telle opération, vous devez :
- Relâchez la pression dans l'alimentation en eau et vidangez l'eau qu'elle contient. Cela est dû à une interruption importante de l'alimentation en eau de toutes les installations concernées par cette canalisation.
- Faites un trou dans la paroi du tuyau de manière accessible.
- Installez un tuyau de vidange, montez un robinet ou une vanne dessus.
- Montez le nœud de connexion de la prise au câblage interne dans la maison et sur le site.
- Vérifiez l'étanchéité de toutes les connexions.
- Remplissez la canalisation d'eau, libérez les poches d'air, augmentez la pression dans le système à la valeur requise.
Il est évident que les coûts en temps et en énergie avec cette technologie de connexion sont très importants.
Par conséquent, une technologie a été développée et appliquée pour installer des coudes sur des tuyaux sous pression sans arrêter le fonctionnement du système d'alimentation en eau.
Avant de procéder à un raccordement à l'alimentation en eau sous pression, vous devez installer un collier de serrage spécial sur le tuyau, appelé "selle". Il s'agit d'un accouplement divisé, qui est assemblé avec des vis.
Un joint en caoutchouc est utilisé pour l'étanchéité. Une bride ou un morceau de tuyau est réalisé sur le demi-raccord pour insérer une perceuse. L'option d'étanchéité en caoutchouc est utilisée dans la production d'un raccordement dans un tuyau en plastique.

Lors du forage de tuyaux en fonte ou en acier, une selle est utilisée sous la forme d'une couche de revêtement en matière plastique appliquée sur la surface intérieure du raccord.
Actuellement, les transactions universelles réalisées à partir d'une bande métallique sont largement utilisées. Leur la conception ressemble à une pince pour voitures.
Compte tenu de l'amélioration constante de l'outil, nous prêtons attention au dispositif dans lequel la fraise est installée et un robinet est utilisé, installé sur le côté pour évacuer l'eau lors du passage à travers le mur. Les selles en trois parties sont utilisées pour une utilisation avec des tuyaux de grand diamètre
Pour une utilisation avec des tubes de grand diamètre, des selles en trois parties sont utilisées.
Installation de la selle

Cet élément structurel est fixé avec des vis. Dans ce cas, le serrage doit être effectué en serrant les vis alternativement afin que les demi-accouplements convergent uniformément, sans déformation. Sur les tubes en acier, une préparation soigneuse de la surface est nécessaire, jusqu'au traitement avec une brosse métallique ou une toile émeri.
Lors du forage pour puiser dans une conduite d'eau en fonte sous pression, la force axiale sur l'outil doit être appliquée avec moins de pression pour éviter la rupture de la paroi, car la fonte est cassante.
But des pipelines principaux
Par le biais de pipelines industriels et principaux, les matières premières sont transférées sur de longues distances. De nombreuses substances peuvent être transportées - du gazeux au liquide en vrac. En fin de compte, ces substances se retrouvent à leur destination, c'est-à-dire les ménages, les installations industrielles et les usines de traitement.

Le développement constant des infrastructures conduit à une mise à jour régulière des exigences de sécurité pour les principaux pipelines, compte tenu notamment du degré de leur impact sur la vie humaine - ces structures permettent le transport de l'énergie, sans laquelle la vie est impossible dans n'importe quel pays.
Puiser dans un tuyau sous pression d'eau
Pour percuter un tuyau sous pression, il en faut un
raccord à compression - selle. Cette connexion peut être achetée à
magasins de plomberie, mais avant d'acheter, vérifiez le diamètre de votre tuyau,
dans lequel s'écraser.
Nous installons la pince sur le tuyau et serrons les boulons reliant ses moitiés. Lors du serrage des boulons, les distorsions entre les moitiés de la selle doivent être évitées. Il est souhaitable de serrer les boulons en croix.
Installation d'un joint de compression sur une conduite sous pression d'eau.
Après cela, un robinet à tournant sphérique ordinaire de diamètre approprié doit être vissé dans le filetage de la selle. Comment choisir un robinet à tournant sphérique de haute qualité et l'ouvrir s'il est bloqué peut être trouvé dans cet article.
Il ne reste plus qu'à percer un trou dans le tuyau à travers l'ouverture
vanne à bille.
Tout d'abord, nous déterminons le diamètre du foret. Pour obtenir
bon débit d'eau, il est souhaitable de percer un trou aussi grand que possible
diamètre. Mais dans ce cas, le robinet à tournant sphérique a son propre trou. ce
le trou est plus petit que le diamètre intérieur du filetage du robinet. Par conséquent, l'exercice devra
ramasser ce trou.
Lors du perçage, il est important de ne pas accrocher le fluoroplastique
joints à l'intérieur du robinet à tournant sphérique. S'ils endommagent la grue cessera de tenir
pression de l'eau
Pour percer des tuyaux en plastique, il est préférable d'utiliser
forets à plume pour bois ou couronnes.Avec ces forets, les joints PTFE
les grues resteront intactes et ces forets ne glisseront pas du tuyau dans le très
début du forage.
Pendant le forage, vous n'avez pas à vous soucier des copeaux, ils seront lavés
débit d'eau lorsque le trou est percé.
Pour percer des trous en toute sécurité et facilement, il existe plusieurs
des trucs.
Étant donné que lors du processus de perçage d'un trou, il y a une forte probabilité de verser de l'eau dessus, il est déconseillé d'utiliser un outil électrique. Vous pouvez bien sûr utiliser une perceuse mécanique ou une attelle. Mais ils seront difficiles à percer des tuyaux métalliques. Vous pouvez utiliser un tournevis sans fil, même s'il est inondé d'eau, le choc électrique sera insignifiant. Mais un tournevis à un point important peut ne pas avoir assez de puissance. Lorsque le trou est presque percé et que le foret a presque dépassé la paroi du tuyau, il peut se coincer dans la paroi du tuyau métallique. Et puis la situation s'avérera que l'eau coule déjà sous pression sur l'outil et que le trou n'a pas encore été percé jusqu'au bout. Cela n'arrivera peut-être pas nécessairement, mais cela vaut la peine de s'en souvenir.
Les personnes particulièrement désespérées utilisent une perceuse électrique, mais le travail est effectué avec un partenaire qui éteint la perceuse de la prise lorsque de l'eau apparaît.
Pour protéger l'instrument du ruissellement de l'eau, vous pouvez le mettre dans un sac plastique.
Un sac en plastique enroulé autour d'un tournevis.
Percer un trou dans un tuyau à travers un robinet à tournant sphérique.
Ou placez un cercle d'un diamètre de 200 à 300 mm de caoutchouc épais directement sur la perceuse, qui servira de réflecteur. Vous pouvez même utiliser du carton épais au lieu du caoutchouc.
Carton-réflecteur, habillé sur une perceuse électrique.
Il existe un autre moyen simple et abordable. Le plastique est pris
Bouteille de 1,5 litre.Une partie avec un fond d'environ 10-15 cm en est coupée, et dans
un trou est percé dans le fond. On habille ce bas sur la perceuse avec la partie découpée
à partir d'une perceuse et avec un tel appareil, nous forons un tuyau. La bouteille doit couvrir
une grue. L'écoulement de l'eau sera réfléchi par un fond semi-circulaire.
Conclusions et vidéo utile sur le sujet
Rouleau #1. Conseils du maître pour la production de taraudage sous pression :
Rouleau #2. Le principe de fonctionnement de l'appareil pour le raccordement:
Rouleau #3. Conséquences d'une mauvaise installation :
Les manipulations de piquage sous pression doivent être réalisées en tenant compte de toutes les recommandations et règles ci-dessus. Si les conditions ne sont pas remplies, il y a une forte probabilité de violation de l'intégrité du système, ce qui annulera tous les efforts et entraînera des conséquences désastreuses.
Voulez-vous partager des informations utiles sur le puisage dans un approvisionnement en eau existant ? Vous avez des questions sur le sujet de l'article, trouvé des points controversés dans le matériel ? Veuillez le laisser dans la case ci-dessous.










































