- Le dispositif et le principe de fonctionnement du générateur d'hydrogène
- Comment ça fonctionne
- méthode d'électrolyse
- Pile à combustible de Stanley Meyer
- Avantages du gaz de Brown comme source d'énergie
- Les modèles Hub, qui sont les meilleurs selon les éditeurs Tehno.guru
- "ARMED 7F-3L" - un concentrateur d'oxygène avec une bonne fonctionnalité
- "OXYbar Auto" est un produit de la très célèbre marque "Atmung"
- "BITMOS OXY-6000" - un appareil avec d'assez bonnes performances
- Comment ça fonctionne
- Pourquoi l'eau n'est toujours pas chauffée
- Y a-t-il une voiture "à eau"
- Loi de conservation de l'énergie ↑
- Champ d'application
- Respect des mesures de sécurité
- Points d'utilisation sélectionnés
- Règles de sélection d'une chaudière à hydrogène de chauffage
- Comment installer une chaudière à hydrogène ?
- Caractéristiques du générateur d'hydrogène
- L'ESSENCE DU SYSTÈME DE CHAUFFAGE À L'HYDROGÈNE
- Générateur d'hydrogène bricolage
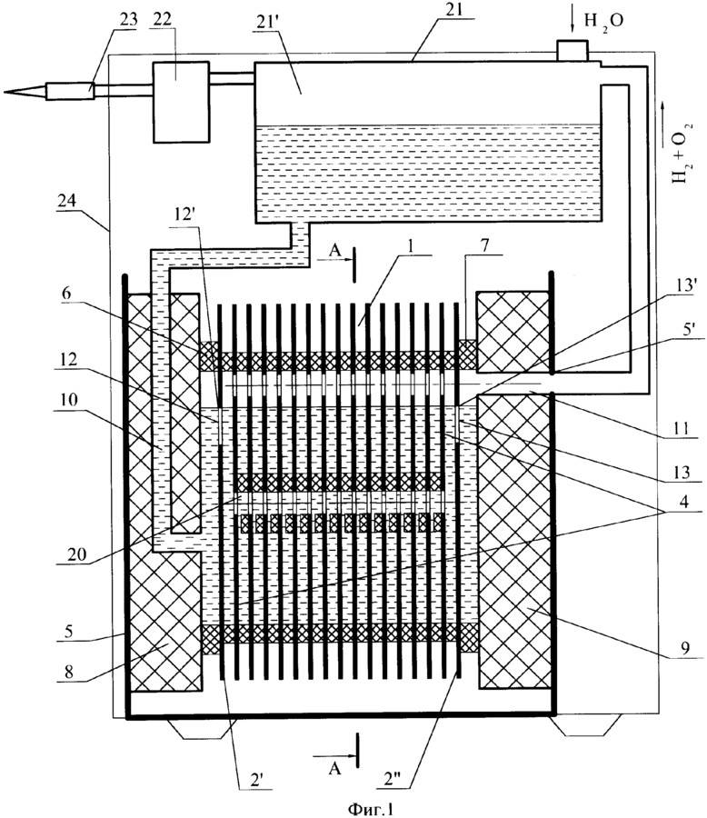
Le dispositif et le principe de fonctionnement du générateur d'hydrogène
Comment ça fonctionne
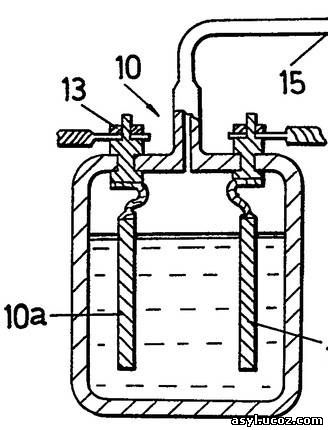
L'appareil classique de génération d'hydrogène comprend un tube de petit diamètre, souvent de section circulaire. En dessous se trouvent des cellules spéciales avec électrolyte. Les particules d'aluminium elles-mêmes sont situées dans le récipient inférieur. L'électrolyte dans ce cas ne convient que pour le type alcalin. Un réservoir est installé au-dessus de la pompe d'alimentation, où le condensat est collecté. Certains modèles utilisent 2 pompes.La température est contrôlée directement dans les cellules.
Le générateur obtient le gaz de l'eau. Sa qualité affecte directement la quantité d'impuretés dans le produit fini. Ainsi, si de l'eau avec une forte concentration d'ions étrangers pénètre dans le générateur, elle devra d'abord passer à travers un filtre de désionisation.
Voici comment se déroule le processus d'obtention de gaz :
- Le distillat est divisé en oxygène (O) et en hydrogène (H) au cours du processus d'électrolyse.
- L'O2 pénètre dans le réservoir d'alimentation puis s'échappe dans l'atmosphère en tant que sous-produit.
- H2 est fourni au séparateur, séparé de l'eau, qui retourne ensuite au réservoir d'alimentation.
- L'hydrogène est repassé à travers la membrane de séparation, qui en extrait l'oxygène restant, puis pénètre dans l'équipement chromatographique.

méthode d'électrolyse
Comme mentionné ci-dessus, il n'y a pratiquement pas de sources d'énergie aussi inépuisables dans le monde que l'hydrogène. Il ne faut pas oublier que les 2/3 de l'océan mondial sont constitués de cet élément, et dans tout l'Univers, H2, avec l'hélium, occupe le plus grand volume. Mais pour obtenir de l'hydrogène pur, vous devez diviser l'eau en particules, et ce n'est pas très facile à faire.
Les scientifiques après de nombreuses années d'astuces ont inventé la méthode de l'électrolyse. Cette méthode consiste à placer deux plaques métalliques proches l'une de l'autre dans l'eau, qui sont connectées à une source de haute tension. Ensuite, la puissance est appliquée - et un grand potentiel électrique brise en fait la molécule d'eau en composants, à la suite de quoi 2 atomes d'hydrogène (HH) et 1 oxygène (O) sont libérés.

Ce gaz (HHO) a été nommé d'après le scientifique australien Yull Brown, qui en 1974 a breveté la création d'un électrolyseur.
Pile à combustible de Stanley Meyer
Le scientifique américain Stanley Meyer a inventé une telle installation qui n'utilisait pas un fort potentiel électrique, mais des courants d'une certaine fréquence. La molécule d'eau oscille dans le temps avec les impulsions électriques changeantes et entre en résonance. Progressivement, il gagne en puissance, ce qui suffit à séparer la molécule en composants. Pour un tel impact, les courants sont dix fois plus faibles que pour le fonctionnement d'une unité d'électrolyse standard.

Avantages du gaz de Brown comme source d'énergie
- L'eau à partir de laquelle HHO est obtenu est présente sur notre planète en quantités énormes. Ainsi, les sources d'hydrogène sont pratiquement inépuisables.
- La combustion du gaz de Brown produit de la vapeur d'eau. Il peut être recondensé en un liquide et réutilisé comme matière première.
- La combustion de HHO ne libère aucune substance nocive dans l'atmosphère et ne forme pas de sous-produits autres que l'eau. On peut dire que le gaz de Brown est le carburant le plus écologique au monde.
- Lors de l'utilisation d'un générateur d'hydrogène, de la vapeur d'eau est libérée. Sa quantité est suffisante pour maintenir longtemps une humidité confortable dans la pièce.

Les modèles Hub, qui sont les meilleurs selon les éditeurs Tehno.guru
Après avoir lu de nombreuses critiques sur le Web, après avoir examiné les caractéristiques techniques de nombreux modèles, l'équipe éditoriale de Tehno.guru a sélectionné certains des meilleurs modèles. Cela devrait aider notre cher lecteur à faire le bon choix sans tracas inutiles et de nombreuses heures à pelleter Internet à la recherche d'un bon appareil.
"ARMED 7F-3L" - un concentrateur d'oxygène avec une bonne fonctionnalité

Voici à quoi ressemble l'un des meilleurs appareils - "ARMED 7F-3L" "ARMED 7F-3L" est recommandé non seulement pour un usage domestique, mais également pour une utilisation dans un jardin d'enfants, une école, un centre de fitness. La productivité de l'appareil peut atteindre 3 l / min à une concentration en oxygène de 93%. Les dimensions de l'appareil sont de 480 × 280 × 560 mm, poids - 26,5 kg. Convient pour la préparation de cocktails oxygénés. Voici quelques-unes de ses caractéristiques.
| Modèle de marque | Productivité en oxygène, l/min | Niveau de bruit, dB | Consommation d'énergie, W |
| ARMÉ 7F-3L | 0-3 | 49 | 350 |
Un peu bruyant, mais dans l'ensemble une unité assez décente. Voici ce que les internautes disent de lui.
ARMÉ 7F-3L
"OXYbar Auto" est un produit de la très célèbre marque "Atmung"
OXYbar Auto est l'un des appareils les plus silencieux et les plus compacts Appareil très silencieux, léger et compact
Le kit comprend un adaptateur pour la connexion dans la voiture, ce qui est très important pour de nombreux longs trajets. Poids seulement 5,2 kg
À ce jour, il n'existe pas de tels dispositifs d'éclairage sur le marché russe. Le fabricant affirme que l'appareil peut fonctionner 24 heures sur 24. La capacité maximale de l'appareil est de 6 l/min, cependant, la concentration en oxygène ne sera que de 30 %, ce qui ne peut pas plaire. Avec des réglages de performance de 1l/min, la concentration est acceptable - 90%. Considérez les caractéristiques de l'appareil.
| Modèle de marque | Productivité en oxygène, l/min | Niveau de bruit, dB | Consommation d'énergie, W |
| Atmung OXYbar Auto | 0,2-6 | 40 | 115 |
Ainsi, l'appareil peut être appelé non seulement le plus petit, mais aussi l'un des plus silencieux.
Atmung OXYbar Auto
"BITMOS OXY-6000" - un appareil avec d'assez bonnes performances

"BITMOS OXY-6000" a de bonnes caractéristiques
| Modèle de marque | Productivité en oxygène, l/min | Niveau de bruit, dB | Consommation d'énergie, W |
| BITMOS OXY-6000 | 1-6 | 35 | 360 |
"BITMOS OXY-6000" est une idée originale de fabricants allemands. Et, comme toute technique allemande, elle est fabriquée de très haute qualité. Il a une forme très pratique - c'est une "valise" à roulettes, ce qui est très pratique avec un poids de 19,8 kg. Les dimensions de l'appareil sont de 520 × 203 × 535 mm. Il y a une fonction pour préparer des phytococktails d'oxygène. En cas d'augmentation de température, de baisse de débit, de baisse de concentration en oxygène, de déconnexion du réseau et d'erreurs du microprocesseur, l'appareil émet un bip. Avec une capacité de 1-4l/min, la concentration en oxygène atteint 95%. Et qu'en est-il des caractéristiques ?
BITMOS OXY-6000
INFORMATIONS UTILES!
Le coût de tels appareils est assez élevé et tout le monde ne peut pas se le permettre. C'est pourquoi aujourd'hui, vous pouvez trouver de nombreuses entreprises proposant un concentrateur d'oxygène à usage domestique à louer à des prix tout à fait raisonnables.

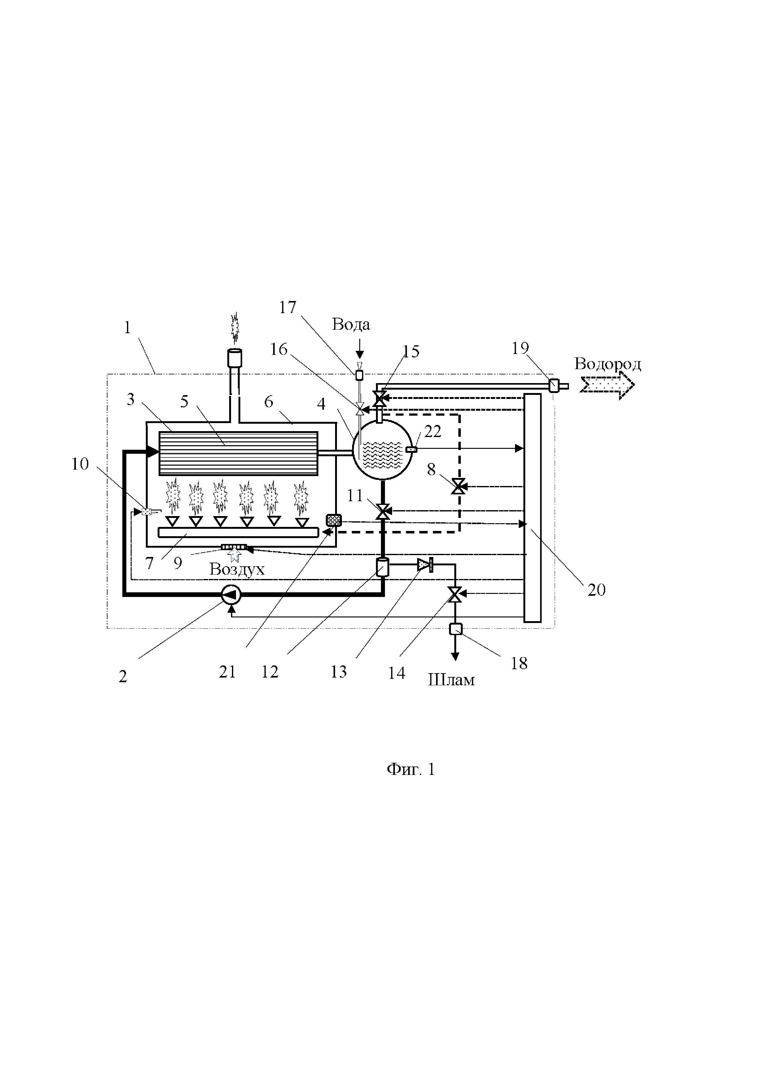
Comment ça fonctionne
Le développement d'une méthode de chauffage prometteuse a été réalisé en Italie. Lors du fonctionnement d'une chaudière à hydrogène, aucune substance toxique n'est rejetée dans l'atmosphère, c'est pourquoi son utilisation est la plus sûre pour chauffer les maisons et les appartements. Les réactions effectuées pendant le processus de conversion ne sont pas accompagnées de bruit, de sorte que les vibrations sonores de la chaudière en fonctionnement sont minimes.
Structure de plancher dans un conteneur
L'utilité de la technologie est que les scientifiques et les concepteurs ont réussi à atteindre une température relativement basse de combustion du gaz hydrogène. L'indicateur atteint environ trois cents degrés Celsius. Cette caractéristique permet d'importantes économies de matériaux pour les chaudières, puisque la protection contre la fonte peut être négligée.
Les principes de la réaction continue à l'intérieur du générateur sont connus depuis l'école. Lorsqu'un atome d'oxygène et un atome d'hydrogène interagissent, une molécule d'eau se forme. Des catalyseurs de réaction sont nécessaires pour démarrer le processus de transformation. Lors de la formation des liaisons, le liquide circulant dans le pipeline est chauffé à environ 40 degrés. Cela suffit pour chauffer les planchers à un niveau suffisant.
Chauffage à l'hydrogène
Afin d'atteindre des températures plus élevées dans la maison, le fonctionnement de l'équipement de la chaudière est régulé, en particulier sa puissance. La nécessité de modifier les paramètres est nécessaire pour adapter le système de chauffage aux différentes dimensions de la pièce. Les chaudières conçues pour les réactions de conversion de l'hydrogène sont modulaires.
Cela signifie qu'ils peuvent inclure plusieurs canaux qui, indépendamment les uns des autres, sont connectés à une seule unité. Pour chaque conduit, un récipient séparé avec un catalyseur est connecté, de sorte que le liquide pénètre dans la pièce d'échange, avec une température d'environ 40 degrés.
Le principe de fonctionnement de l'appareil est le suivant :
- L'équipement fini comprend un appareil avec une paire de plaques interconnectées avec différents niveaux de charge (cathode et anode), qui sont immergées dans l'eau et un signal positif et négatif leur est appliqué. Pour cela, il est souhaitable d'utiliser une source de courant exclusivement régulée. Les performances du système sont améliorées en utilisant un électrolyte au lieu d'un liquide normal, par exemple, un environnement alcalin ou acide avec une grande quantité d'ions libres.
- Lorsque les réactions se déroulent à partir de la cathode, de l'hydrogène commence à être libéré du liquide et de l'oxygène près de l'anode.
- Les deux gaz sont transférés à travers un tube vers un joint hydraulique, qui sépare la vapeur et empêche une explosion dans le réacteur.
- Après cela, l'hydrogène gazeux pénètre dans le brûleur, où il doit brûler. Le résultat est de l'eau.
Principe de fonctionnement
Pourquoi l'eau n'est toujours pas chauffée
Les liaisons intermoléculaires de l'eau apparaissent et se rompent beaucoup plus facilement que les liaisons intramoléculaires. Ce sont donc eux qui ont décidé de les utiliser dans les processus de transfert de chaleur. Les chimistes ont découvert expérimentalement que l'énergie des liaisons intermoléculaires de l'eau est comprise entre 0,26 et 0,5 eV (électronvolt).
Le problème est que pour obtenir du carburant à partir de l'eau, celle-ci doit être décomposée en ses composants. En termes simples, il doit être décomposé en oxygène et en hydrogène, puis brûler l'hydrogène et obtenir à nouveau de l'eau. La séparation est obtenue en faisant passer un courant électrique à travers le liquide.
Lors de l'ébullition, l'eau ne se divise pas en molécules séparées, mais s'évapore seulement. L'échauffement par combustion ordinaire ne provoque aucune autre réaction dans le liquide. De plus, ce processus nécessite beaucoup d'énergie, qui pourrait être utilisée avec profit. Par exemple:
- brûler 1 kg de bois de chauffage sec avec une teneur en humidité ne dépassant pas 20% donne environ 3,9 kW;
- si le taux d'humidité du bois atteint 50 %, seuls 2,2 kW sont libérés à partir de 1 kg.
La décomposition de l'eau pour produire une véritable combustion nécessite une quantité importante d'énergie. Il en faut beaucoup plus que ce qui sera libéré lors de la réutilisation des éléments récupérés comme combustible. Un rapport approximatif peut être donné :
- 100 % d'énergie - pour le fractionnement ;
- 75% de l'énergie provient de la combustion des composants récupérés.
C'est le fait que moins d'énergie est libérée lors de la réaction inverse de l'hydrogène et de l'oxygène libérés, raison pour laquelle l'eau comme carburant pour les voitures et pas seulement n'est toujours pas utilisée. Économiquement, cette méthode s'est avérée peu rentable. Il est plus réaliste de fabriquer du carburant à partir de déchets. Il peut être liquide, gazeux et solide.
Y a-t-il une voiture "à eau"
En 2008, au Japon, une voiture « à eau » est présentée par Genepax lors d'une exposition à Osaka. Il était possible d'utiliser un verre d'eau du robinet ou de la rivière comme carburant, et même du soda ordinaire.

L'appareil a divisé le liquide en molécules d'hydrogène et d'oxygène, qui ont commencé à brûler et à donner à la voiture de l'énergie pour conduire. On sait aujourd'hui que Genepax a fait faillite et a fermé un an plus tard.
Loi de conservation de l'énergie ↑
Tout dans la nature est interconnecté. Si quelque chose est arrivé quelque part, cela signifie qu'il est parti de quelque part. Cette sagesse populaire, d'une manière simplifiée mais généralement correcte, décrit la loi de la conservation de l'énergie. L'hydrogène, lorsqu'il est brûlé, libère de l'énergie thermique. Mais pour obtenir du gaz par électrolyse, vous devrez dépenser une certaine quantité d'électricité. Ce qui, à son tour, est principalement obtenu en générant de la chaleur à partir de la combustion d'autres combustibles. Et si l'on prend l'énergie thermique pure nécessaire à la production d'électricité et l'énergie que l'hydrogène va donner lors de la combustion, même les installations les plus avancées entraînent une double perte. Nous jetons littéralement la moitié de l'argent. Et ce ne sont que des frais de fonctionnement, mais il faut aussi tenir compte du coût des équipements très coûteux.
Le projet du dirigeable vent-hydrogène Aeromodeller II.Les ingénieurs belges ont dressé un beau tableau, il reste à l'étayer avec des technologies spécifiques économiquement viables
Selon le laboratoire de recherche INEEL, sur les générateurs d'hydrogène industriels aux États-Unis, le coût d'un kilogramme d'hydrogène était de :
- Électrolyse à partir d'un réseau électrique industriel - 6,5 USD.
- Électrolyse des éoliennes - 9 USD.
- Photoélectrolyse à partir d'appareils solaires - 20 USD.
- Production à partir de biomasse - 5,5 USD.
- Conversion du gaz naturel et du charbon - 2,5 USD.
- Électrolyse à haute température dans les centrales nucléaires - 2,3 USD. C'est le moyen le moins cher et le plus éloigné des conditions d'origine.
De plus, même le meilleur générateur d'hydrogène à domicile sera nettement inférieur à celui industriel en termes d'efficacité. Avec de tels prix, il n'y a aucune raison de parler d'une concurrence sérieuse pour le carburant hydrogène par rapport non seulement au gaz naturel bon marché, mais aussi au chauffage électrique coûteux, au carburant diesel et même aux pompes à chaleur.
Champ d'application
Aujourd'hui, l'électrolyseur est un appareil aussi familier qu'un générateur d'acétylène ou qu'un découpeur plasma. Au départ, les générateurs d'hydrogène étaient utilisés par les soudeurs, car transporter une unité ne pesant que quelques kilogrammes était beaucoup plus facile que de déplacer d'énormes bouteilles d'oxygène et d'acétylène. Dans le même temps, la haute intensité énergétique des unités n'était pas d'une importance décisive - tout était déterminé par la commodité et l'aspect pratique. Ces dernières années, l'utilisation du gaz de Brown est allée au-delà des concepts habituels d'hydrogène comme combustible pour les machines de soudage au gaz. À l'avenir, les possibilités de la technologie sont très larges, car l'utilisation de HHO présente de nombreux avantages.
- Réduire la consommation de carburant des véhicules. Les générateurs d'hydrogène automobiles existants permettent d'utiliser le HHO comme additif à l'essence, au diesel ou au gaz traditionnels. Grâce à une combustion plus complète du mélange de carburant, une réduction de 20 à 25 % de la consommation d'hydrocarbures peut être obtenue.
- Économie de carburant dans les centrales thermiques utilisant du gaz, du charbon ou du mazout.
- Réduction de la toxicité et augmentation de l'efficacité des anciennes chaufferies.
- Réduction multiple du coût de chauffage des bâtiments résidentiels grâce au remplacement complet ou partiel des combustibles traditionnels par le gaz de Brown.
- Utilisation de plantes portables HHO pour les besoins domestiques - cuisiner, obtenir de l'eau chaude, etc.
- Développement de centrales électriques fondamentalement nouvelles, puissantes et respectueuses de l'environnement.
Un générateur d'hydrogène construit à l'aide de la «technologie des piles à combustible à eau» de S. Meyer (à savoir, c'était le nom de son traité) peut être acheté - de nombreuses entreprises aux États-Unis, en Chine, en Bulgarie et dans d'autres pays sont engagées dans leur fabrication. Nous vous proposons de fabriquer vous-même un générateur d'hydrogène.
Respect des mesures de sécurité
L'électrolyseur est un appareil à très haut danger.
Pour cette raison, lors de sa fabrication, de son installation et de son fonctionnement, il est tout d'abord nécessaire de respecter les mesures de sécurité générales et spécialisées.
Les mesures spécialisées comprennent les éléments suivants :
- la concentration du mélange d'hydrogène et d'oxygène doit être contrôlée afin d'éviter une explosion ;
- si le niveau de liquide n'est pas visible dans la fenêtre de visualisation du générateur d'hydrogène, il ne peut pas être utilisé ;
- lors de la réparation, il faut s'assurer qu'au point final du système, en tant que tel, il n'y a pas d'hydrogène;
- l'utilisation de flammes nues, d'appareils électriques à fonction chauffante et de lampes portatives d'une tension supérieure à 12 volts à proximité de l'électrolyseur est contre-indiquée;
- pendant la période de travail avec l'électrolyte, vous devez vous protéger en utilisant un équipement de protection (vêtements de protection spéciaux, gants et lunettes).
Points d'utilisation sélectionnés
Tout d'abord, je tiens à souligner que la méthode traditionnelle brûler du gaz naturel or le propane ne convient pas dans notre cas, puisque la température de combustion du HHO dépasse de plus de trois fois celle des hydrocarbures. Comme vous le comprenez, l'acier de construction ne résistera pas longtemps à une telle température. Stanley Meyer lui-même a recommandé d'utiliser un brûleur de conception inhabituelle, dont nous présentons le schéma ci-dessous.
Schéma d'un brûleur à hydrogène conçu par S. Meyer
Toute l'astuce de cet appareil réside dans le fait que HHO (indiqué par le numéro 72 sur le schéma) passe dans la chambre de combustion par la vanne 35. Le mélange d'hydrogène brûlant monte par le canal 63 et effectue simultanément le processus d'éjection, entraînant l'air extérieur par les ouvertures réglables 13 et 70. Sous le chapeau 40, une certaine quantité de produits de combustion (vapeur d'eau) est retenue, qui pénètre dans la colonne de combustion par le canal 45 et se mélange au gaz brûlant. Cela vous permet de réduire plusieurs fois la température de combustion.
Le deuxième point sur lequel je voudrais attirer votre attention est le liquide qui doit être versé dans l'installation. Il est préférable d'utiliser de l'eau préparée qui ne contient pas de sels de métaux lourds. L'option idéale est le distillat, qui peut être acheté dans n'importe quel magasin automobile ou pharmacie.
Pour le bon fonctionnement de l'électrolyseur, de l'hydroxyde de potassium KOH est ajouté à l'eau, à raison d'environ une cuillère à soupe de poudre par seau d'eau.
Et la troisième chose sur laquelle nous mettons un accent particulier est la sécurité. Rappelez-vous que le mélange d'hydrogène et d'oxygène n'est pas accidentellement appelé explosif. Le HHO est un composé chimique dangereux qui, s'il est manipulé avec négligence, peut provoquer une explosion. Suivez les règles de sécurité et soyez particulièrement prudent lorsque vous expérimentez avec de l'hydrogène. Seulement dans ce cas, la "brique" qui compose notre Univers apportera chaleur et confort à votre maison.
Nous espérons que l'article est devenu une source d'inspiration pour vous et que vous, après avoir retroussé vos manches, commencez à fabriquer une pile à combustible à hydrogène. Bien sûr, tous nos calculs ne sont pas la vérité ultime, cependant, ils peuvent être utilisés pour créer un modèle fonctionnel d'un générateur d'hydrogène. Si vous souhaitez passer complètement à ce type de chauffage, la question devra alors être étudiée plus en détail. C'est peut-être votre installation qui deviendra la pierre angulaire, grâce à laquelle la redistribution des marchés de l'énergie prendra fin, et bon marché et respectueuse de l'environnement la chaleur entrera dans chaque maison.
Règles de sélection d'une chaudière à hydrogène de chauffage
La première chose que vous devez exiger lors de l'achat est un certificat de conformité pour l'unité de protection de l'appareil.
Vérifiez ensuite les détails de conformité, déterminez un certain nombre de paramètres de base :
- Du pouvoir. Choisissez en fonction du réseau disponible dans la maison et en fonction du volume de la surface du bâtiment. Pour 10 m2, 1 kW de chaleur est nécessaire.
- Paramètres du système de chauffage. Par exemple, si la chaudière chauffe de l'eau à partir de +90 C et que le réseau fonctionne avec un liquide de refroidissement ne dépassant pas +80 C, la puissance de la chaudière doit être réduite.
- Le volume de la chambre de combustion.L'indicateur doit correspondre au nombre d'échangeurs de chaleur pour réchauffer la maison.
- Le nombre de circuits et la possibilité technique d'en installer un supplémentaire. Par exemple, pour la distribution d'eau chaude à différents étages.
Comment installer une chaudière à hydrogène ?
À l'heure actuelle, de nombreuses personnes préfèrent produire indépendamment des générateurs d'hydrogène pour leurs systèmes de chauffage. Et ce n'est pas surprenant, car les analogues "shop" sont non seulement très chers, mais n'ont pas non plus un rendement très élevé. Mais si cet appareil est fabriqué à la main, son efficacité sera d'un ordre de grandeur supérieur.
Il existe plusieurs options pour assembler un générateur fonctionnant à l'hydrogène. Mais dans tous les cas, pour sa fabrication à domicile, les consommables suivants seront nécessaires.
Alimentation 12 volts.
Plusieurs tubes en acier inoxydable et ayant des diamètres différents.
Le réservoir dans lequel la structure sera située.
Contrôleur PWM
Il est important que sa puissance soit d'au moins 30 ampères, ce sont les principaux composants qui composent généralement les générateurs d'hydrogène faits maison. De plus, n'oubliez pas le réservoir d'eau distillée - c'est aussi un must.
L'eau doit être fournie à une structure étanche avec une dialectique à l'intérieur. Dans la même conception, il y aura un ensemble constitué de plaques d'acier inoxydable adjacentes les unes aux autres au moyen d'un matériau isolant. Il est important que la tension de 12 volts soit appliquée à ces plaques. Si tout est fait correctement, alors lorsque la tension est appliquée, l'eau se décomposera en 2 éléments gazeux
De plus, n'oubliez pas le réservoir d'eau distillée - sa présence est également requise. L'eau doit être fournie à une structure étanche avec une dialectique à l'intérieur. Dans la même conception, il y aura un ensemble constitué de plaques d'acier inoxydable adjacentes les unes aux autres au moyen d'un matériau isolant.
Il est important que la tension de 12 volts soit appliquée à ces plaques. Si tout est fait correctement, alors lorsque la tension est appliquée, l'eau se décomposera en 2 éléments gazeux
Ce sont les principaux composants qui composent généralement les générateurs d'hydrogène faits maison. De plus, n'oubliez pas le réservoir d'eau distillée - sa présence est également requise. L'eau doit être fournie à une structure étanche avec une dialectique à l'intérieur. Dans la même conception, il y aura un ensemble constitué de plaques d'acier inoxydable adjacentes les unes aux autres au moyen d'un matériau isolant.
Il est important que la tension de 12 volts soit appliquée à ces plaques. Si tout est fait correctement, alors lorsque la tension est appliquée, l'eau se décomposera en 2 éléments gazeux
Noter! Plus efficace à cet égard est l'utilisation du courant continu (il doit avoir une fréquence spécifique) produit par un générateur de type PWM. Dans ce cas, le courant pulsé (ou alternatif) sera remplacé par un courant constant. En conséquence, l'efficacité de l'équipement augmentera considérablement.
En conséquence, l'efficacité de l'équipement augmentera considérablement.
Caractéristiques du générateur d'hydrogène
L'hydrogène pur est libéré dans diverses réactions chimiques, mais cette méthode d'obtention est assez difficile et souvent trop coûteuse.
L'exception concerne les processus technologiques dans lesquels le gaz est formé en tant que sous-produit, mais une telle production a jusqu'à présent des volumes limités.
Il est beaucoup plus facile d'extraire l'hydrogène de l'eau en y faisant passer un courant électrique - ce processus s'appelle l'électrolyse. Tout d'abord, la molécule H2O se décompose en l'atome d'hydrogène H et le groupe hydroxo OH, puis la séparation finale de l'oxygène et de l'hydrogène se produit.
Il est évident que la productivité de l'installation augmentera avec une augmentation de la surface de contact entre l'eau et les électrodes. Pour cette raison, ces derniers sont réalisés sous forme de plaques. Ils sont assemblés dans des structures ressemblant à des radiateurs de chauffage nervurés en acier.
Afin d'augmenter la productivité aujourd'hui, des électrodes cylindriques sont utilisées, ainsi qu'une forme plus complexe.
La vitesse d'évolution de l'hydrogène dépend également du matériau des électrodes.
Au lieu de cuivre ou d'acier inoxydable, les générateurs "avancés" modernes utilisent des alliages spéciaux assez coûteux.
Une autre condition est que l'eau doit passer le courant. A noter que sous forme distillée, c'est un diélectrique. Les ions font de ce liquide un conducteur d'électricité, dans lequel les substances qui y sont dissoutes, principalement les sels, se décomposent. Plus la solution est raide, mieux elle conduira le courant.
L'ESSENCE DU SYSTÈME DE CHAUFFAGE À L'HYDROGÈNE
Le chauffage des locaux à l'hydrogène est un excellent substitut au gaz naturel et aux combustibles solides. La température moyenne de combustion du carburant peut atteindre 3 000 degrés. Pour le processus technologique, vous aurez besoin d'un brûleur spécial, adapté à de telles conditions de température.
L'ensemble des équipements hydrogène comprend :
- Générateur d'hydrogène (électrolyseur), responsable de la réaction entre l'hydrogène et l'oxygène. Des catalyseurs sont utilisés pour optimiser le processus.
- Un brûleur qui crée une flamme. Le brûleur est situé dans la chambre de combustion et assure le chauffage du caloporteur dans le système de chauffage.
- Une chaudière qui remplit la fonction d'un échangeur de chaleur.
Les chaudières à hydrogène sont souvent créées sur la base d'appareils à combustible solide ou à gaz selon le principe ci-dessus. En termes d'économies, c'est beaucoup moins cher que d'acheter du matériel d'usine. Cependant, personne ne garantira qu'une chaudière faite maison répondra aux exigences de sécurité.
Générateur d'hydrogène bricolage
Les modèles fabriqués en usine diffèrent peu des homologues fabriqués à la maison et sont plus chers. Le prix total d'un générateur fini varie de 20 à 60 000 roubles, de sorte que de nombreux artisans tentent de créer eux-mêmes des appareils de chauffage à hydrogène. Mais avant de commencer le travail, il est nécessaire de peser le moindre doute. S'ils sont présents, il vaut mieux refuser le travail. Mais si les désirs et les opportunités donnent le feu vert, alors l'ensemble du processus de production peut être divisé en les étapes suivantes :
dessin et recherche de matériaux. Cette étape comprend une lecture approfondie de tous les nœuds de la structure, le calcul de la puissance requise et la vue générale du générateur ;
l'électrolyseur est un boîtier en acier inoxydable de haute qualité ;
plaques d'électrolyseur
Pour créer cette partie importante, vous aurez besoin d'une tôle d'acier, qui doit être coupée en 18 bandes égales. Ensuite, vous devez percer un trou pour le montage et la division plaques sur cathodes et anodes
Il ne reste plus qu'à connecter le courant à la structure;
Générateur de gaz
- le brûleur doit idéalement être acheté, car il peut être problématique d'assembler cette pièce sans erreur. De plus, dans les magasins spécialisés, le choix de tels éléments est suffisant ;
- le séparateur est relié à la structure pour extraire uniquement le composant hydrogène du mélange gazeux ;
- les tuyaux sont connectés en fonction de la superficie du bâtiment.
Pour que le système fonctionne pleinement, il est nécessaire d'avoir de grandes connaissances et compétences, sinon vous pouvez construire une structure dangereuse. De plus, les générateurs faits maison nécessitent un investissement en ressources matérielles et beaucoup de temps. Le risque élevé d'échec et la perte de temps totale font qu'il est préférable de choisir l'achat d'un système de chauffage à l'hydrogène dans la version d'usine.
Comment faire du chauffage à l'hydrogène chez soi ?








































