- Comment choisir le bon câble ?
- Installation du câble chauffant à l'intérieur et à l'extérieur du tube
- Types de câble chauffant
- Câble chauffant autorégulant
- Câble chauffant résistif
- Instructions d'installation pour câble autorégulateur
- Joint à l'intérieur du tuyau
- Pose à l'extérieur du tuyau
- Méthodes de placement
- Installation de canalisation de chauffage
- Erreurs lors de l'installation des câbles chauffants
- Conclusion
- Pourquoi un câble chauffant est nécessaire : faites-le vous-même
- 7. Une isolation ultérieure de la conduite chauffée est-elle nécessaire ?
- coût du câble
- Isolation thermique des conduites d'alimentation en eau
- Isolant rigide
- Isolation en rouleau
- Réchauffeurs de segment (boîtier)
- Isolation projetée (PPU)
- 6. Conseils utiles concernant les travaux d'installation
- Comment effectuer l'isolation thermique des tuyaux en polypropylène
Comment choisir le bon câble ?
Lors du choix d'un câble chaud approprié, il est nécessaire de déterminer non seulement son type, mais également la bonne puissance.
Dans ce cas, il est nécessaire de prendre en compte des paramètres tels que:
- le but de la structure (pour les égouts et l'approvisionnement en eau, les calculs sont effectués différemment);
- le matériau à partir duquel les égouts sont fabriqués;
- diamètre du pipeline ;
- caractéristiques de la zone à chauffer ;
- caractéristiques du matériau calorifuge utilisé.
Sur la base de ces informations, les pertes de chaleur sont calculées pour chaque mètre de la structure, le type de câble, sa puissance sont sélectionnés, puis la longueur appropriée du kit est déterminée. Les calculs peuvent être effectués à l'aide d'une formule spéciale, selon des tables de calcul ou à l'aide d'une calculatrice en ligne.
La formule de calcul ressemble à ceci :
Qtr - perte de chaleur du tuyau (W); - coefficient de conductivité thermique du réchauffeur ; Ltr est la longueur du tuyau chauffé (m); tin est la température du contenu de la canalisation (C), tout est la température ambiante minimale (C) ; D est le diamètre extérieur des communications, en tenant compte de l'isolation (m); d - diamètre extérieur des communications (m); 1.3 - facteur de sécurité
Lorsque les pertes de chaleur sont calculées, la longueur du système doit être calculée. Pour ce faire, la valeur résultante doit être divisée par la puissance spécifique du câble de l'appareil de chauffage. Le résultat doit être augmenté en tenant compte du chauffage des éléments supplémentaires. La puissance du câble pour l'assainissement démarre à partir de 17 W/m et peut dépasser 30 W/m.
Si nous parlons de canalisations d'égout en polyéthylène et en PVC, la puissance maximale est de 17 W / m. Si vous utilisez un câble plus productif, la probabilité de surchauffe et d'endommagement du tuyau est élevée. Vous trouverez des informations sur les caractéristiques du produit dans sa fiche technique.
En utilisant le tableau, choisir la bonne option est un peu plus facile. Pour ce faire, vous devez d'abord connaître le diamètre du tuyau et l'épaisseur de l'isolation thermique, ainsi que la différence attendue entre la température de l'air et le contenu du pipeline. Ce dernier indicateur peut être trouvé à partir de données de référence selon les régions.
À l'intersection de la ligne et de la colonne correspondantes, vous pouvez trouver la valeur de la perte de chaleur par mètre de tuyau. Ensuite, la longueur totale du câble doit être calculée.Pour ce faire, la taille de la perte de chaleur spécifique obtenue à partir du tableau doit être multipliée par la longueur de la canalisation et par un facteur de 1,3.
Le tableau vous permet de trouver la taille de la perte de chaleur spécifique d'un tuyau d'un diamètre spécifique, en tenant compte de l'épaisseur du matériau calorifuge et des conditions de fonctionnement du pipeline (+)
Le résultat obtenu doit être divisé par la puissance spécifique du câble. Ensuite, vous devez prendre en compte l'influence d'éléments supplémentaires, le cas échéant. Sur des sites spécialisés, vous pouvez trouver des calculatrices en ligne pratiques. Dans les champs appropriés, vous devez saisir les données nécessaires, par exemple le diamètre du tuyau, l'épaisseur de l'isolation, la température ambiante et du fluide de travail, la région, etc.
De tels programmes offrent généralement à l'utilisateur des options supplémentaires, par exemple, ils aident à calculer le diamètre requis de l'égout, les dimensions de la couche d'isolation thermique, le type d'isolation, etc.
En option, vous pouvez choisir le type de pose, connaître l'étape appropriée lors de l'installation du câble chauffant en spirale, obtenir une liste et le nombre de composants nécessaires à la pose du système.
Lors du choix d'un câble autorégulateur, il est important de bien tenir compte du diamètre de la structure sur laquelle il sera installé. Par exemple, pour les tuyaux d'un diamètre de 110 mm, il est recommandé de prendre la marque Lavita GWS30-2 ou une version similaire d'un autre fabricant
Pour un tuyau de 50 mm, le câble Lavita GWS24-2 convient, pour les structures d'un diamètre de 32 mm - Lavita GWS16-2, etc.
Des calculs complexes ne seront pas nécessaires pour les égouts qui ne sont pas souvent utilisés, par exemple, dans un chalet d'été ou dans une maison qui n'est utilisée qu'occasionnellement. Dans une telle situation, ils prennent simplement un câble d'une puissance de 17 W/m avec une longueur correspondant aux dimensions du tuyau.Un câble de cette puissance peut être utilisé à la fois à l'extérieur et à l'intérieur du tuyau, et il n'est pas nécessaire d'installer un presse-étoupe.
Lors du choix d'une option appropriée pour un câble chauffant, ses performances doivent être corrélées avec les données calculées sur la perte de chaleur probable du tuyau d'égout
Pour la pose d'un câble chauffant à l'intérieur d'un tuyau, un câble avec une protection spéciale contre les effets agressifs, par exemple DVU-13, est sélectionné. Dans certains cas, pour une installation à l'intérieur, la marque Lavita RGS 30-2CR est utilisée. Ce n'est pas tout à fait correct, mais une solution valable.
Ce câble est conçu pour chauffer les toits ou les égouts pluviaux, il n'est donc pas protégé contre les substances corrosives. Il ne peut être considéré que comme une option temporaire, car avec une utilisation prolongée dans des conditions inappropriées, le câble Lavita RGS 30-2CR se cassera inévitablement.
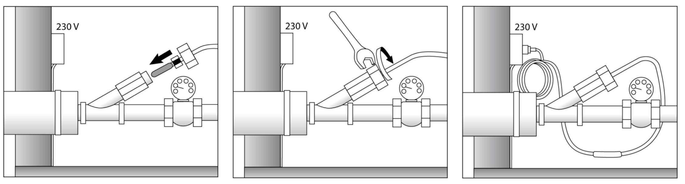
Installation du câble chauffant à l'intérieur et à l'extérieur du tube
Il est recommandé de confier l'installation d'un câble auto-chauffant à l'intérieur du tuyau à des spécialistes. Le processus consiste à insérer un té à travers lequel le fil est inséré vers l'intérieur à travers le manchon. Dans ce cas, il faut veiller à ce que le revêtement du câble ne soit pas endommagé lors du passage à l'intérieur.
Installation du câble chauffant de l'extérieur en ligne droiteLes composants du cordon sont faits de matériaux inoffensifs, vous n'avez donc pas à vous soucier de la qualité de l'eau.
L'installation d'un câble chauffant pour les eaux usées à l'extérieur est beaucoup plus facile. Il suffit de fixer le fil au tuyau à l'aide d'un filet ou d'un ruban adhésif. Vous pouvez le réparer de deux manières : autour et en ligne droite. Mais il ne faut pas oublier qu'avec une installation en spirale, son efficacité sera plus élevée, mais le coût du chauffage augmentera également.
La simplicité de l'installation à l'extérieur vous permet d'installer correctement et rapidement le câble chauffant pour les conduites d'égout.Tous les travaux peuvent être faits à la main. Lors de l'installation du cordon à l'intérieur du tuyau, la longueur maximale selon les règles établies ne doit pas dépasser 60 m, s'il est installé à l'extérieur, ce chiffre est de 100 m.
Schémas de connexion possibles pour les câbles résistifs chauffants à un et deux conducteurs, ainsi qu'un câble autorégulant pour un tuyau d'égout sur la vidéo :
Types de câble chauffant
Image 5. Exemple de montage
Au total, il existe deux principaux types de ces produits :
Chauffage résistif.
La fonction des éléments chauffants est assurée par des conducteurs de courant lorsqu'il s'agit de ces produits. Pour les canalisations, ces types de réchauffeurs sont de moins en moins utilisés.
Câbles chauffants autorégulants.
Le plus pratique à utiliser.
Câble chauffant autorégulant
Ils se composent d'un ou plusieurs noyaux, qui sont isolés les uns des autres à l'aide de coques spéciales. Les domaines d'application des produits sont différents.
La puissance de fonctionnement nécessaire est maintenue indépendamment par le produit. Il en va de même pour la quantité de chaleur générée. Le plus souvent, les paramètres sont déterminés par les conditions météorologiques qui se développent là où le système est utilisé.
Le fonctionnement du câble dépend de la résistance. L'alimentation en courant est réduite si la résistance est plus grande. En conséquence, la puissance est également réduite. Les zones où il est nécessaire d'augmenter ou de diminuer le degré sont automatiquement déterminées par le câble chauffant.
Câble chauffant résistif
Se compose d'un ou deux fils conducteurs. Ils ne sont pas sujets à l'auto-coupe, ils diffèrent des analogues existants par une longueur fixe.
Sans l'utilisation de thermostats dans ce cas, il devient impossible de changer la puissance. De tels câbles chauffants se trouvent souvent à l'intérieur des conduites d'égout.
Si le produit comprend deux noyaux parallèles traversés par le courant, il s'agit d'une sous-espèce zonale. Un fil attaché aux noyaux à une distance fixe agit comme un élément chauffant. Ces variétés sont fournies avec des marques spéciales, selon lesquelles il est facile de couper lors de l'installation du câble chauffant.
Instructions d'installation pour câble autorégulateur
2 méthodes sont utilisées :
- installation cachée - cette option est utilisée pour chauffer les communications souterraines;
- installation ouverte - pour les tuyaux de chauffage situés à la surface de la terre.
Le câble est posé dans des sections de la canalisation où il n'y a pas de vannes d'arrêt, car cela réduit le risque d'endommagement du câble. L'installation est effectuée pendant la saison chaude. Avant de commencer les travaux, le flux de fluide à travers le pipeline est arrêté.
Joint à l'intérieur du tuyau

Instructions pour installer le câble en utilisant la première des méthodes :
- L'extrémité du câble est protégée par un film rétractable. Cela augmente la fiabilité des fils conducteurs.
- Un presse-étoupe est placé sur le fil.
- Le câble est poussé dans le tuyau.
- La fiche est connectée à la deuxième extrémité du fil. Dans ce cas, la méthode de soudure est utilisée. Cette zone est ensuite protégée par un accouplement.
- Le sceau est fixe.
- Une mesure de résistance est en cours. Parfois, pendant la phase de test, un court-circuit est détecté lors de l'application de la tension, auquel cas le câble est retiré et inspecté pour détecter tout dommage.
- L'étanchéité de la canalisation est vérifiée, pour laquelle une alimentation en eau de test est effectuée.
- Le tuyau est protégé par une isolation thermique contre les pertes de chaleur.
Pose à l'extérieur du tuyau

Si les instructions fournies avec le système de chauffage indiquent la nécessité d'installer l'un ou l'autre des appareils de chauffage, vous devez les suivre.
Lorsqu'il est prévu d'utiliser une méthode de montage ouverte, envisagez un schéma de connexion différent :
- Considérant que le fil destiné à une telle tâche se caractérise par son élasticité, il est également utilisé pour empêcher le givrage des soupapes.
- Différentes méthodes de montage sont utilisées : bobine, droite. Le second est moins efficace, car il chauffe une petite partie de la surface de communication, mais la consommation de matière est dans ce cas réduite. La version enroulée est considérée comme plus efficace, cependant, les coûts augmenteront plusieurs fois lors de son utilisation, car le fil est enroulé autour de l'extérieur en virages serrés. Il est permis de combiner ces méthodes: d'abord, le câble est posé le long des communications, puis il est enroulé à tour de rôle.
- Le fil est fixé avec du ruban adhésif sur toute la longueur.
- Pour réduire les pertes de chaleur, les communications sont recouvertes d'une feuille ou d'un rouleau isolant.
Méthodes de placement
L'installation du système de chauffage est possible à l'intérieur des canalisations ou à l'extérieur. Le processus de pose dans les tuyaux est simple à la fois lors de l'installation et de la maintenance. Dans le cas de la pose d'un fil chauffant à la surface d'un produit tubulaire enfoui dans le sol, les travaux de réparation seront compliqués. Dans la plupart des cas, le fil est attaché en une seule ligne à travers le tuyau. Il est considéré comme indésirable de le placer au-dessus de l'armature, car dans ce cas, il existe une forte probabilité de déformation mécanique due à des objets ou des pierres tombant d'en haut.De plus, la congélation de l'eau commence par le bas, de sorte que cette disposition de l'élément chauffant est considérée comme plus efficace.

Options pour placer le fil chauffant sur la surface du tuyau :
- disposition en une ou plusieurs rangées droites éloignées les unes des autres ;
- pose en spirale autour du tuyau, en tenant compte d'une certaine étape.

Les brins de câble sont fixés avec un ruban en aluminium spécialisé. Le transfert de chaleur est amélioré si le tuyau est enveloppé de papier d'aluminium avant d'installer le produit chauffant. En tournant, le fil électrique doit être installé le plus près possible du rayon extérieur. Les sections avec des composants métalliques du support sont renforcées par chauffage lorsque des boucles supplémentaires sont introduites dans l'enchevêtrement. Le circuit du capteur de température ne doit pas être placé à proximité du point de chauffage. Il doit être placé non pas sur la surface du renfort, mais dans la zone latérale. Le point de fixation du capteur est collé avec du ruban aluminium, il est fixé dessus avec.

La pose à l'intérieur du câble nécessitera l'achat d'exactement le modèle conçu pour de telles tâches avec une section ronde et une isolation puissante. L'ensemble contient des éléments pour la pose à l'intérieur du tuyau : rondelles, douilles, joints.
Séquence d'installation à l'intérieur du produit tubulaire :
- chaque composant devant entrer dans le système est posé sur un fil, puis il est relié à un câble froid ;
- le point d'entrée est équipé d'un té avec un manchon d'étanchéité spécial ;
- le fil est inséré dans le tuyau à la longueur souhaitée, cependant, il ne faut pas oublier qu'il n'est pas nécessaire de le faire passer à travers une valve, un robinet et des endroits avec des saillies pointues qui peuvent déformer son intégrité;
- fixation de toutes les attaches, composant de presse-étoupe pour protéger contre la dépressurisation.


Installation de canalisation de chauffage
La principale exigence pour une telle connexion à la source est l'emplacement de la sortie sous la profondeur de congélation du sol. Ce facteur dépend des conditions climatiques de la région.
Vidéo
Pour la région de Moscou, il est d'environ 1,8 mètre, dans la région de Tcheliabinsk - 1,9. Imaginons une situation où la section d'alimentation devrait avoir une longueur de 10 à 15 mètres avec une profondeur de tranchée de plus de 2 mètres (jusqu'à 30 cm sera un dispositif de couche de drainage). Dans le même temps, sa largeur doit assurer un fonctionnement pratique de la pelle. Il est temps de commander une excavatrice ici !
Lors de l'utilisation de câbles chauffants, il suffit de creuser un fossé jusqu'à 50 cm de profondeur et environ 30 de large.Un dispositif de drainage est également nécessaire. La pose d'un tuyau en plastique avec un câble chauffant doit se faire librement, non étiré.
Avec ce placement du tuyau, ses déformations sont inévitables en raison des mouvements du sol, mais dans le cas de l'utilisation de produits en plastique, elles ne sont pas dangereuses en raison de la plasticité du matériau.
Le câble pour chauffer les tuyaux en plastique peut être placé dessus de différentes manières:
enrouler sur un tuyau
Cette fixation offre la plus grande surface de contact entre l'objet et l'élément chauffant. La fixation est réalisée avec du ruban adhésif métallisé dans les directions transversale et longitudinale;
pose du réchauffeur le long de la paroi du pipeline parallèlement à son axe
Avec cet agencement de l'émetteur de chaleur, un ou deux filetages sont utilisés à partir de différents côtés du tuyau. Le montage se fait de la même manière ;
placement du réchauffeur à l'intérieur de la canalisation. Il est préférable de confier cette opération à des spécialistes expérimentés, car elle est lourde de dommages au fil, ce qui entraîne sa défaillance rapide.
Pour éviter les pertes de chaleur dans l'environnement, les tuyaux chauffés sont dans tous les cas équipés d'une couche supplémentaire d'isolation thermique d'isolants amovibles, d'un enroulement d'isolants en feuille poreuse ou d'un isolant enroulé ordinaire. Pour le protéger, divers matériaux sont utilisés, du feutre de toiture à la feuille de métal.
L'installation de câbles dans des tuyaux en plastique avec un emplacement interne n'est pas utilisée pour chauffer les égouts de déversoir. Ces drains contiennent souvent des substances chimiquement actives qui peuvent causer des dommages importants à la route en peu de temps.
Il n'est pas rare que des câbles chauffants soient utilisés pour dégeler les tuyaux d'évacuation afin d'éviter qu'ils ne s'effondrent. Dans ce cas, des émetteurs de chaleur plus puissants sont utilisés à raison de 30 à 50 W par mètre.
Le câble de dégivrage des tuyaux en plastique des systèmes de drainage doit également avoir la même puissance.
Erreurs lors de l'installation des câbles chauffants
Considérez les erreurs typiques dans la construction de systèmes de chauffage:
- l'installation d'appareils de chauffage à une profondeur de pose du câblage inférieure au niveau de gel du sol, cela peut être considéré comme des coûts non productifs. Dans ce cas, il suffit d'installer un chauffage local dans les endroits à risque accru, où le système n'est pas assez profond. Un tel endroit, en règle générale, est le point d'entrée dans la maison;
- certains consommateurs pensent que le système de chauffage est capable de remplacer l'isolation du pipeline, ce qui n'est pas vrai. En l'absence d'isolation extérieure, ils reçoivent un système de chauffage inefficace qui ne sauve pas du gel;
- la croyance que la ligne de chauffage doit fonctionner en continu est erronée, souvent ce n'est pas nécessaire, et la consommation d'électricité à un taux de consommation de 18 W par mètre peut être importante. Dans ce cas, les coûts supplémentaires liés à l'activation / désactivation automatique du chauffage à l'aide de capteurs de température seront amortis dans les plus brefs délais.
Vidéo
Le câble de dégivrage des produits en plastique est installé, en règle générale, à titre préventif afin d'éviter la formation de bouchons de glace dans les endroits à risque accru, notamment à la sortie du système d'évacuation de la maison.
Pas le fait qu'il sera utilisé en permanence, mais dans n'importe quel climat, des conditions de fonctionnement extrêmes peuvent survenir. Dans ce cas, la possibilité supplémentaire de chauffage / dégivrage des tuyaux ne sera pas superflue.
Conclusion
Les coûts engagés pour le câble chauffant pour canalisations en plastique et son installation réduiront considérablement le coût des travaux de construction et protégeront de manière fiable le consommateur des vicissitudes climatiques.
Pourquoi un câble chauffant est nécessaire : faites-le vous-même
Un cordon thermique ou un tuyau chauffant peuvent être achetés dans n'importe quelle quincaillerie, mais ils sont très chers. Si vous avez des connaissances et des compétences techniques, vous pouvez fabriquer vous-même un câble chauffant. Pour cela, vous aurez besoin d'un simple câble téléphonique. Selon ses caractéristiques techniques, un fil fait maison s'apparente à un conducteur chauffant acheté. Il est tout aussi mince, rigide et durable, de sorte qu'il peut être utilisé en toute sécurité pour fournir de la chaleur au pipeline. La connexion d'un fil fait maison se fait manuellement, ce n'est pas du tout difficile à faire.
Le chauffage des tuyaux avec un fil chauffant peut non seulement empêcher le givrage, mais également prolonger la durée de vie du pipeline. L'utilisation de tels éléments chauffants garantit aux propriétaires de maisons privées et de chalets d'été une utilisation confortable du système de plomberie tout au long de l'année.
Le câble chauffant a une caractéristique très importante : il peut être installé sur n'importe quelle canalisation située sous terre ou à l'extérieur. Vous pouvez même équiper une cheminée d'un tel câble chauffant afin qu'elle ne gèle pas en hiver. Pourquoi un conducteur chauffant est-il si nécessaire ?
Aspects positifs de l'utilisation de ce type de câble :
- Économie;
- Facilité d'utilisation;
- Sécurité;
- Polyvalence.
Un tel élément thermique est simplement nécessaire au bon fonctionnement du système d'approvisionnement en eau tout au long de l'année, en particulier pendant la période hivernale rigoureuse.
7. Une isolation ultérieure de la conduite chauffée est-elle nécessaire ?
Une autre question d'actualité lors de l'organisation d'un système de chauffage de canalisations est de savoir si une isolation thermique ultérieure de la canalisation chauffée est nécessaire ? Si vous ne voulez pas chauffer l'air et faire fonctionner le câble à la puissance maximale, une isolation est absolument nécessaire. L'épaisseur de la couche d'isolation est choisie en fonction de l'emplacement des tuyaux et des températures minimales typiques de votre région. En moyenne, pour l'isolation des tuyaux situés dans le sol, un appareil de chauffage d'une épaisseur de 20 à 30 mm est utilisé. Si le pipeline est au-dessus du sol - au moins 50 mm
Il est très important de choisir le « bon » isolant qui ne perdra pas ses propriétés même après plusieurs années.
- Il n'est pas recommandé d'utiliser de la laine minérale comme matériau isolant.Ils ne sont pas destinés à être utilisés dans des conditions de forte humidité et, lorsqu'ils sont mouillés, ils perdent instantanément leurs propriétés. De plus, si le coton humide gèle, lorsque la température augmente, il s'effrite et se transforme en poussière;
- De plus, les matériaux qui peuvent se comprimer sous l'effet de la gravité ne sont pas toujours adaptés. Cela s'applique au caoutchouc mousse ou au polyéthylène expansé, qui perdent leurs propriétés lorsqu'ils sont comprimés. Il est permis d'utiliser de tels matériaux si le pipeline passe dans un égout spécialement équipé, où rien ne peut tout simplement exercer une pression dessus;
- Si les tuyaux sont posés dans le sol, une isolation rigide tuyau dans tuyau doit être utilisée. Lorsqu'un autre tuyau rigide d'un diamètre plus grand est placé au-dessus des tuyaux chauffés et du câble chauffant. Pour un effet supplémentaire ou en cas de fonctionnement dans des conditions difficiles, vous pouvez envelopper les tuyaux avec le même polyéthylène expansé, puis mettre le tuyau extérieur;
- Il est permis d'utiliser du polystyrène expansé, c'est-à-dire des fragments de tuyaux de différentes longueurs et diamètres. Il a des propriétés d'isolation thermique élevées, ne craint pas l'humidité et est capable de supporter certaines charges, en fonction de la densité. Un tel appareil de chauffage est souvent appelé "coque".
coût du câble
Aujourd'hui, sur le marché de la construction, plusieurs fabricants ont prouvé que leurs produits étaient du bon côté.
Il s'agit d'une société américaine Raychem, qui fabrique des produits de très haute qualité en utilisant les technologies les plus avancées. Il convient également de noter les produits de la société sud-coréenne Lavita, dont le prix est inférieur, mais les produits sont également d'une qualité irréprochable.Parmi les fabricants nationaux, il convient de mentionner le fabricant russe CST, dont les produits sont en concurrence avec des sociétés étrangères.
Considérez la politique de prix des principaux fabricants de câbles chauffants. Fondamentalement, le prix dépend de plusieurs indicateurs. Premièrement, il s'agit bien sûr du nom du fabricant - la marque, et deuxièmement, le prix dépend de la puissance par mètre linéaire, ainsi que du fait qu'il soit destiné à une installation extérieure ou intérieure dans un tuyau.
De plus, la température maximale à laquelle le câble peut chauffer est importante pour le prix :
- Les prix les plus abordables sont peut-être ceux du fabricant sud-coréen Lavita, représenté sur le marché russe. Les prix des câbles de cette société commencent à 150 roubles par mètre à une puissance de 10 W / m.
- Les prix des produits du fabricant russe SST vont de 270 roubles/m à 1500 roubles/m à une puissance de 10 à 95 W/m.
- Les prix des produits du fabricant le plus éminent Raychem se situent entre 380 et 4500 roubles / m à une puissance de 10 à 65 W / m et une température de chauffage maximale de 85 à 230 degrés Celsius. Cette société produit des câbles pour une installation extérieure et intérieure.
Il convient de noter que le premier câble autorégulateur a été produit par la société américaine Raychem en 1973. Et maintenant, la gamme de produits de cette société est très large. En plus des tuyaux, ses câbles sont utilisés pour chauffer les toits, les marches, les allées, les serres, les conteneurs - partout où il est nécessaire de faire circuler des liquides à n'importe quelle température de l'air extérieur.
Isolation thermique des conduites d'alimentation en eau
Il n'est pas difficile de se confondre dans une large gamme de matériaux d'isolation thermique. Pour choisir la meilleure option, vous devez, au minimum, connaître les principaux types et types, les principales caractéristiques et caractéristiques.
L'isolation thermique des conduites d'eau est réalisée par divers appareils de chauffage, qui sont regroupés ci-dessous (sous forme de classification) selon le principe de l'unité de la technologie d'isolation.
Isolant rigide
Cette catégorie comprend le polystyrène, le polystyrène expansé (2560-3200 roubles / mètre cube) et Penoplex (3500-5000 roubles / mètre cube), les propriétés d'isolation thermique et le prix dépendent de la densité.
Pose de conduites d'eau dans une boîte en mousse
Isolation en rouleau
Ce segment comprend: le polyéthylène (comme matériau supplémentaire), la mousse de feuille (50-56 roubles / m²), le coton (minéral (70-75 roubles / m²) et la laine de verre (110-125 roubles / m²) ), caoutchouc mousse pour meubles (250-850 roubles / m², selon l'épaisseur).
L'isolation des conduites d'alimentation en eau avec une isolation en rouleau se heurte également à des difficultés, qui résident dans l'hygroscopicité du matériau. Ceux. l'isolation perd ses propriétés sous l'influence de l'humidité, ce qui signifie qu'elle a une portée plus étroite ou nécessite une protection supplémentaire. De plus, vous devez réfléchir à la manière dont l'isolant est fixé au tuyau.
Tapis calorifuges en basalte et caoutchouc mousse pour l'isolation des conduites d'eau
Réchauffeurs de segment (boîtier)
L'enveloppe-isolation des tuyaux est la variante la plus progressive de l'isolation thermique du pipeline. La coque d'isolation de la conduite d'eau offre une étanchéité maximale et, par conséquent, crée une couche d'isolation thermique fiable.
Il existe plusieurs variétés de réchauffeurs de segments :
Les coques en polystyrène pour l'isolation des conduites d'eau sont rigides (une enveloppe calorifuge pour tuyaux est une coque en polystyrène expansé (PPU) ou en polystyrène expansé. Le prix est à partir de 190 roubles / m.p., selon l'épaisseur et le diamètre du cylindre);
Isolation projetée (PPU)
La particularité de l'isolation par projection de mousse de polyuréthane est qu'une isolation thermique est appliquée à la surface du tuyau, assurant une étanchéité à 100% (le coût des composants pour le remplissage en mousse de polyuréthane est de 3,5 euros par kg).
Le nombre de composants est déterminé par l'épaisseur du remblai, le travail est payé en supplément). En moyenne, le coût de l'isolation par pulvérisation de mousse de polyuréthane est de 15 à 20 dollars / m.p.
L'isolation pulvérisée comprend également la peinture calorifuge pour les tuyaux. Vous pouvez l'appliquer vous-même, parce que. la peinture thermique est vendue en bidons sous forme d'aérosol.
Couche de peinture de 20 mm. remplace l'isolant en laine de basalte de 50 mm. De plus, c'est le seul matériau qui n'est pas susceptible d'être endommagé par les rongeurs.
Isolation des conduites d'eau par projection de mousse de polyuréthane (PUF) Conduite d'eau isolée avec de la mousse de polyuréthane (PUF)
Lors du choix d'un matériau d'isolation thermique pour l'isolation des conduites d'eau, vous devez prendre en compte les facteurs suivants:
site d'installation de canalisations
L'isolation des conduites posées au sol et situées sous terre est réalisée de différentes manières, même en utilisant les mêmes matériaux (il est également important de prendre en compte les conduites posées jusqu'au niveau de congélation ou en dessous);
fréquence de fonctionnement du pipeline. Par exemple, dans une maison de campagne qui n'est pas destinée à la résidence permanente, il suffit juste d'éviter une rupture de tuyau
Pour ce faire, un récepteur est installé ou la conduite d'eau est isolée avec un câble.Mais dans une maison privée, il est nécessaire d'assurer l'approvisionnement en eau toute l'année. Ici, le choix de l'isolation doit être abordé avec plus de soin;
indicateur de conductivité thermique des tuyaux (plastique, métal);
résistance à l'humidité, à la combustion, à l'activité biologique, aux ultraviolets, etc. détermine la nécessité de protéger l'isolation de ces facteurs;
facilité d'installation;
le prix;
durée de vie.
6. Conseils utiles concernant les travaux d'installation
Certaines recommandations vous aideront à éviter les erreurs lors de l'installation ou du choix de l'élément chauffant lui-même :
Pour un montage sur une canalisation avec des relevés de température instables, il est préférable de choisir un câble autorégulateur
Il est particulièrement important d'en tenir compte si une partie du tuyau se trouve dans le bâtiment, une partie est posée dans la rue, puis pénètre à nouveau dans le bâtiment. Le chauffage nécessitera différentes quantités de chaleur dans différentes zones
Un câble résistif non seulement ne pourra pas fournir cette condition, mais consommera la même quantité d'électricité, rendant ainsi son utilisation non économique ;
Le choix du matériau d'isolation thermique pour les tuyaux chauffés doit faire l'objet d'une attention particulière.
Une isolation correctement sélectionnée réduira considérablement la consommation de chaleur et d'électricité et prolongera la durée de vie du câble;
Si vous avez définitivement décidé de poser le câble sur le dessus du tuyau, en effectuant l'enroulement, assurez-vous de vérifier les limites de flexion autorisées
Sinon, si le câble est plié au-delà des limites autorisées, ses performances peuvent être altérées ;
Dans le cas d'utilisation d'un câble chauffant sur des canalisations domestiques, il est impératif de le raccorder par l'intermédiaire d'un relais de fuite de courant.Ceci est nécessaire pour se protéger contre les chocs électriques en cas d'endommagement de l'isolation extérieure du conducteur ;
Il n'est pas difficile de choisir la longueur du câble lors de la pose sur ou à l'intérieur du tuyau - elle est égale à la longueur du tuyau avec une petite marge. Cependant, lors de l'enroulement du câble autour du tuyau, le calcul de la longueur doit être effectué comme 1,6 - 1,7 de la longueur du tuyau ;
Même si vous choisissez un type de câble autorégulateur, pour minimiser davantage les coûts énergétiques, installez un capteur de température. Définissez les paramètres suivants dessus - allumer à une température de +3°C, éteindre à +13°C. Ce mode prolongera également la durée de vie des appareils de chauffage, car ils disposent d'une certaine ressource d'heures de travail;
Lors de l'installation du capteur, il est très important de le faire correctement. La principale difficulté consiste à l'isoler de l'influence du réchauffeur, tout en maintenant le contact avec le tuyau. Seulement dans ce cas, il lira les lectures correctes.
Comment effectuer l'isolation thermique des tuyaux en polypropylène
L'isolation des tuyaux peut être de différentes formes et conceptions: enroulée, collée, en forme de coquille - ovale, etc. Il existe une large gamme de matériaux d'isolation, de revêtements et de composés d'isolation auxiliaires disponibles pour une utilisation dans les systèmes d'eau chaude.
La liste change constamment à mesure que de nouveaux matériaux synthétiques ou méthodes d'application sont développés. Par exemple, la dernière innovation en génie thermique est l'utilisation d'antigel comme liquide de refroidissement pour les systèmes fermés.
Cela n'a aucun sens de considérer un fabricant spécifique d'appareils de chauffage, vous devez faire attention aux types de matériaux utilisés











































