Vannes à boisseau sphérique: types, classification, dispositif et principe de fonctionnement

Robinet à tournant sphérique : dimensions, types, installation et fonctionnement

Quels paramètres sont importants lors du choix d'un robinet à tournant sphérique ?

Beaucoup de nos clients sont confrontés à la nécessité d'installer une vanne à boisseau sphérique dans l'installation, mais ils n'ont pas de marque.Dans ce cas, vous pouvez sélectionner la vanne dont vous avez besoin. Considérez quels paramètres sont importants lors du choix d'un clapet anti-retour. — diamètre de vanne, DN - généralement, il coïncide avec le diamètre du pipeline.Gamme standard de diamètres en millimètres et pouces : 6, 8, 10 (3/8"), 15 (½"), 20 (¾"), 25 (1"), 32 (1 ¼"), 40 (1 ½") ") ), 50 (2"), 65 (2 ½"), 80 (3"), 100 (4"), 125, 150, 200, 250, 300, 350, 400, 450, 500, 600, 700 , 800 mm. - pression conditionnelle de la vanne, Ru — Gamme standard de pressions : 10, 16, 25, 40, 63, 100, 160 kgf/cm2. Lors du choix d'une pression conditionnelle, il convient de prendre en compte le fait que pour un fonctionnement stable et à long terme de la vanne, il est nécessaire que la pression de travail soit 2 fois inférieure à la pression nominale. Par exemple, vous avez une pression de 12 kgf/cm2 dans votre canalisation. Il faut installer une grue à 25kgf/cm2. Si vous installez une grue à 16 kgf / cm2, la grue peut tomber en panne dans quelques mois. - Boîtier - les caractéristiques du matériau du corps de diverses grues sont décrites dans cet article au paragraphe 3. - type de connexion - les caractéristiques du matériau du corps de diverses grues sont décrites dans cet article au paragraphe 4. - conception de soupape - les caractéristiques de conception des robinets à tournant sphérique sont décrites dans cet article au paragraphe 8. - sceller dans la porte - les caractéristiques des joints des différents robinets sont décrites dans cet article au paragraphe 7. - Fabricant d'équipement - c'est un paramètre très important, car il existe actuellement sur le marché de nombreuses grues artisanales chinoises de mauvaise qualité, qui semblent convenir à tous égards, mais pendant le fonctionnement, elles causent tellement de maux de tête que les économies vont de côté. Le deuxième extrême est que de nombreuses marques européennes et américaines essaient de vendre leur équipement 3 à 5 fois plus cher qu'un produit de qualité normale.Comment être un acheteur ordinaire ? Dans ce cas, il est conseillé de se faire conseiller par des personnes de confiance - plombiers, installateurs, vendeurs réputés.

Les caractéristiques

Les GOST 19681-94 et 25809-96 normalisent la classification des raccords d'eau en fonction des caractéristiques techniques des produits :

  • débit vers :
    • Standard, passant 70-80% des médias ;
    • Plein passage, passant 90 à 100 % du média ;
    • Alésage partiel, passant 40-50% des médias.
  • selon la pression admissible du circuit de travail et la classe d'étanchéité :
    • 1 classe - jusqu'à 1 MPa;
    • Classe 2 - jusqu'à 0,63 MPa.

Vannes à boisseau sphérique: types, classification, dispositif et principe de fonctionnement

  • niveau de bruit:
    • Groupe 1 - 20 décibels ou moins ;
    • groupe 2 - 30-20 décibels ;
    • Groupe 3 - plus de 30 décibels.
  • selon le régime de température pour l'eau froide et chaude (jusqu'à 75⁰C).

Les caractéristiques du produit sont apposées sur l'emballage sous forme de marquages ​​et sont indiquées dans la documentation technique jointe.

Que sont les vannes à boisseau sphérique à brides ?

Le robinet d'eau à bride comporte également un élément d'obturation sphérique dont la rotation ouvre verticalement l'ouverture pour le mouvement de l'eau.

Les vannes à bille de ce type sont utilisées pour les pipelines à travers lesquels la vapeur, le pétrole, l'eau et l'air sont transportés. Généralement, les conceptions à brides sont utilisées dans les applications où l'utilisation de vannes à emboîture est limitée en raison des conditions de fonctionnement (température supérieure à 100 °C ou pression de fonctionnement supérieure à 16 bar).

Il est important de s'assurer que la vanne est tournée à fond. Sinon, une contamination apparaîtra sur l'élément de verrouillage, ce qui entraînera une fuite.

Il sera nécessaire de réparer ou même de remplacer toute la structure.

Il existe plusieurs types de classifications des vannes à boisseau sphérique à brides pour l'eau :

Structurellement, ces grues sont divisées en:

  • Flux direct ;

  • Mélange;

  • points de contrôle ;

  • Coin.

Par débit, ils sont:

  • Standard (70-80%);

  • Passage intégral (90-100 % );

  • Alésage incomplet (40−50%).

Les grues de ce type sont fabriquées à partir de divers matériaux :

  • Laiton;

  • Acier;

  • Bronze;

  • Fonte.

Les robinets à tournant sphérique sont également disponibles avec ou sans filtre à eau intégré.

Lors du choix d'une vanne à brides, accordez une grande attention à la qualité des composants, car cela garantit une longue durée de vie et une fiabilité de fonctionnement. Le prix du robinet à tournant sphérique ne doit pas être trop bas

Lors du choix d'un élément similaire, spécifiez l'environnement de travail et la plage de température autorisée. Dans ce cas, les réparations de plomberie n'apporteront pas de problèmes supplémentaires.

Avantages d'un robinet à boisseau sphérique à brides pour l'eau :

  • Longue durée de vie ;

  • Étanchéité fiable lorsque le débit est bloqué ;

  • Petite résistance hydraulique ;

  • Compacité ;

  • Petite taille;

  • Conception simple ;

  • Monté dans n'importe quelle position;

  • Pas besoin d'entretien ;

  • Facilité d'utilisation;

  • Les grues à caisse repliable peuvent être réparées ;

  • Si nécessaire, bloquer rapidement à la main.

Inconvénients de ces grues :

  • Chere;

  • lourd;

  • Levier long pour commande manuelle.

Lire le matériel connexe :
Fournisseur de plomberie technique : critères pour le bon choix

Avantages et inconvénients

Pour plus de clarté, les avantages et les inconvénients des variétés de robinets d'eau sont résumés dans le tableau.

Nom du mélangeur
Avantages
Défauts
Vanne double, vanne simple
Simple et abordable, fiable, facile à réparer, compatible avec
systèmes d'approvisionnement en eau domestique
Usure rapide du joint de la douille de grue,
avec un boîtier de robinet en céramique, il est souhaitable d'avoir un filtre (empêchant les particules mécaniques de pénétrer dans les trous de la cartouche).
Levier unique
Fiable, durable, réparable Ils sont exigeants sur la qualité du liquide, ils doivent installer un filtre, si le mécanisme à bille tombe en panne, il doit être remplacé car il ne peut pas être réparé.
avec thermostat
Economique, la présence d'un bloqueur de température maximum permet d'éviter les brûlures Coût relativement élevé
Toucher
Économique, peut réduire considérablement la consommation, hygiénique, car le contact direct avec l'appareil n'est pas nécessaire Nécessite une alimentation électrique stationnaire ou le remplacement des piles, moins fiable par rapport aux appareils mécaniques.

As-tu une question? Nous avons publié la réponse à cette question dans le prochain article.

Vous avez décidé de redécorer votre salle de bain ? Informations utiles pour vous comment installer et pour la salle de bain.

Un robinet fuit dans la cuisine ou la salle de bain : découvrez comment réparer vous-même l'appareil.

Objectif

Un robinet d'eau est un petit mécanisme d'arrêt qui remplit des fonctions extrêmement importantes. L'échantillon standard effectue une tâche plutôt triviale, mais en même temps absolument nécessaire pour le fonctionnement du pipeline - il contrôle le mouvement du transporteur à l'intérieur des tuyaux.

Il existe des situations où le pipeline doit être partiellement ou complètement bloqué, couper une ou plusieurs branches de l'alimentation en eau. Il y a de nombreuses raisons à cela, allant de la panne banale des appareils de plomberie à la destruction majeure du système.

Dans tous les cas, une panne menace d'inonder la maison ou l'appartement, il est donc préférable de couper immédiatement l'alimentation en eau afin de se protéger.

Vous pouvez également couper l'eau à l'entrée de la conduite principale, mais vous vous coupez ensuite complètement de l'alimentation en eau pendant la durée de la réparation (qui, pour être réaliste, peut être retardée).

C'est pourquoi tout pipeline de longueur plus ou moins décente est divisé en secteurs ou branches logiquement compréhensibles, isolant chaque segment à l'aide de ces mêmes grues. Cette approche est meilleure et plus sûre que l'assemblage standard, bien qu'un peu plus chère.

Un seul tour de la poignée du robinet coupe complètement l'alimentation en eau dans une zone particulière. Si vous le souhaitez, un robinet d'eau peut être installé non seulement sur des branches individuelles, mais en général aux entrées de toute unité de plomberie.

Vannes à boisseau sphérique: types, classification, dispositif et principe de fonctionnement
Pipeline robinet avec raccord américain

Dans ce cas, une panne, par exemple, dans un mécanisme de pliage d'eau ou à l'entrée d'un chauffe-eau est facilement et simplement éliminée. Il suffit de tourner le robinet et l'appareil est prêt pour une réparation ultérieure.

Lire aussi :  Pluie et drainage

Notez que différents types de robinets d'eau sont utilisés non seulement pour isoler les branches des systèmes d'approvisionnement en eau. Il y a aussi d'autres rendez-vous. Par exemple, la modernisation du système de chauffage, lorsque des robinets sont placés aux entrées des radiateurs ou du système de chauffage par le sol afin de pouvoir retirer ou remplacer rapidement l'appareil à l'avenir.

Une option tout aussi populaire est un té ou un distributeur, qui agit comme une vanne de dérivation, c'est-à-dire qu'il redirige le débit d'eau d'une branche à l'autre.

N'oubliez pas le robinet. La meilleure façon de se faire une idée du fonctionnement d'un robinet est de regarder le lavabo de votre salle de bain.Dans n'importe quelle salle de bain, il y a un robinet ou un robinet, et ce n'est que grâce à lui que vous pourrez profiter confortablement des bienfaits de la civilisation.

Principe général de fonctionnement et conception

Il existe différents types de robinets pour la plomberie, mais ils ont tous des éléments de conception communs. Dans tous les cas, la grue se compose de :

  • corps ou corps général;
  • élément de verrouillage ;
  • des stylos;
  • scellés.

Peu importe que nous envisagions des vannes, un té avec un robinet, un robinet ou toute autre de ses variétés. Dans tous les cas, ils ne se passeront pas des quatre éléments décrits ci-dessus, bien que très probablement, ces éléments seront différents les uns des autres.

Le corps de la grue dépend de la tâche spécifique dans laquelle elle est engagée. Un échantillon d'accouplement conventionnel est, en fait, intégré dans le corps de l'accouplement lui-même. Une vanne d'angle a un corps d'angle, car sa tâche est de former des raccords d'angle, par exemple, aux entrées des radiateurs de chauffage.

Vannes à boisseau sphérique: types, classification, dispositif et principe de fonctionnement
Composants d'une vanne avec un élément de verrouillage en forme de vanne

Le tee a un corps différent. Le té est constitué d'un raccord ramifié, ce qui est évident. Les solutions de pliage à eau peuvent être intégrées ou spéciales. Leurs différences corporelles sont beaucoup plus importantes.

La poignée de la grue est ordinaire et nécessaire au contrôle. Si un robinet à tournant sphérique est envisagé, la poignée ne peut être que dans deux positions : fermée, ouverte. Dans les vannes à vanne, au lieu d'une poignée, une vanne est montée et le mécanisme est contrôlé par sa rotation en spirale.

Quant aux joints, aucun mécanisme de travail en plomberie ne peut s'en passer. Des joints en caoutchouc sont utilisés comme joints. Dans les robinets, les transitions entre l'élément de verrouillage et le corps sont étanches.

Types et classification des vannes d'eau

Selon la conception du corps d'arrêt, les vannes pour les systèmes de plomberie sont divisées en:

coin;

Vannes à boisseau sphérique: types, classification, dispositif et principe de fonctionnement

parallèle;

Vannes à boisseau sphérique: types, classification, dispositif et principe de fonctionnement

portail;

Vannes à boisseau sphérique: types, classification, dispositif et principe de fonctionnement

tuyau.

Vannes à boisseau sphérique: types, classification, dispositif et principe de fonctionnement

Les robinets-vannes à coin sont équipés d'une porte en forme de cône qui, en position «fermée», s'insère étroitement dans l'espace entre les selles. La cale peut être de différents types :

  • rigide, ayant la forme d'une plaque solide rétrécie vers le bas. Il descend en douceur dans la partie inférieure de l'appareil et bloque les trous traversants des selles dans la direction perpendiculaire, interrompant ainsi le mouvement du support de travail. Une cale rigide scelle solidement l'alésage, mais est plus sujette à la rouille et plus difficile à installer sur les selles. Par conséquent, dans de tels dispositifs, il existe un risque de coincement et des difficultés apparaissent pour soulever la cale lors de changements brusques de température ;
  • double-disque - composé de deux disques, qui sont fixés ensemble de manière mobile à un angle l'un par rapport à l'autre. Lorsque la vanne est actionnée pour se fermer, les deux éléments tournent l'un par rapport à l'autre et obturent les trous de passage dans les selles, en appuyant fermement contre leurs surfaces d'étanchéité. Lorsqu'ils sont ouverts, ils s'éloignent des selles, libérant le passage pour la substance de travail. Cette conception de l'élément de verrouillage assure un bon niveau d'étanchéité, réduit les risques de coincement et augmente la durée de vie de l'ensemble du dispositif ;
  • élastique, dont deux disques sont reliés entre eux par une partie en caoutchouc élastique. Il est capable de se plier sous l'influence de la pression de l'eau, offrant ainsi une pression plus serrée contre les matériaux d'étanchéité des selles. Les robinets-vannes à coin caoutchouté nécessitent moins d'efforts pour fonctionner, ont des surfaces de passage lisses qui réduisent le frottement et l'usure des éléments du corps d'arrêt.

Les vannes parallèles comprennent des dispositifs dans lesquels les surfaces d'étanchéité du corps d'arrêt ou de régulation sont situées dans des plans parallèles les uns aux autres.

Pour les cheminées de four, des vannes à vanne sont utilisées, dont la conception comprend un cadre et une plaque métallique avec une poignée. Lorsque la vanne est ouverte, la plaque sort du cadre, lorsqu'elle est fermée, elle revient à sa position d'origine.

Matériaux pour la fabrication de robinets à tournant sphérique

Il existe des robinets à tournant sphérique en laiton et en acier en vente. Les produits en laiton sont installés sur des tuyaux de petit diamètre. Si une fuite apparaît, il suffit de serrer l'écrou pour presser le presse étoupe Téflon. Ressource de travail - 20 000 ouvertures et fermetures.

Vannes à boisseau sphérique: types, classification, dispositif et principe de fonctionnement

Caractéristiques de performance et avantages des appareils en laiton :

  • fiabilité et durabilité;
  • la grue ne nécessite ni entretien ni lubrification;
  • une étanchéité élevée garantit l'absence de fuites ;
  • peut être monté dans n'importe quelle position;
  • manipuler la sécurité ;
  • température de fonctionnement maximale jusqu'à +150 degrés;
  • pression de service - pas plus de 1,6 MPa.

Les raccords en acier n'ont pas de connexions boulonnées, ils sont donc complètement protégés contre les fuites. Caractéristiques techniques et avantages des produits en acier :

  • l'écoulement du fluide est rapidement bloqué;
  • opération et installation simples ;
  • pas besoin d'effectuer d'entretien et de remplacer des pièces ;
  • résister aux températures élevées du fluide de travail;
  • économie.

Appareil et principe de fonctionnement

Le dispositif de la grue-valve, ainsi que le principe de son fonctionnement, dépendent du type.

Le dispositif et le principe de fonctionnement du robinet à tournant sphérique

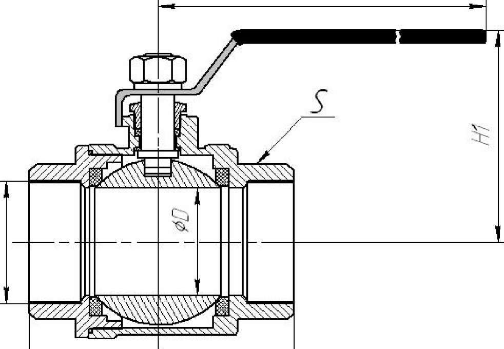
Comment fonctionne une vanne à bille ? Les principaux éléments de l'appareil sont :

  1. corps de vanne (1).Le corps peut être fait de matériaux tels que le laiton, le bronze, l'inox ou l'acier de construction, le silumin. Le corps peut être monobloc, c'est-à-dire fabriqué par soudage, ou repliable. Le corps pliable présente certains avantages - si nécessaire, la valve peut être réparée. Si un robinet à tournant sphérique avec un corps monobloc est installé, en cas de dysfonctionnement, l'appareil doit être remplacé;

Vannes à boisseau sphérique: types, classification, dispositif et principe de fonctionnement

Principaux éléments d'un robinet à tournant sphérique

  1. élément de verrouillage - bille (2). Dans la plupart des cas, la balle est en laiton, car ce matériau est considéré comme plus solide et plus durable. La balle a un trou traversant pour le liquide (gaz);
  2. des bagues d'étanchéité (3) sont installées entre l'élément de verrouillage et le corps, assurant l'étanchéité du dispositif. Les joints peuvent être en téflon, PTFE ou caoutchouc. Les joints en téflon sont considérés comme les plus durables, qui ne sont pratiquement pas affectés par la température et l'environnement chimique.
  3. la vanne peut être raccordée à la canalisation à l'aide d'écrous (raccords), de brides ou de soudures (4).

Dans les canalisations domestiques, une connexion de couplage est le plus souvent utilisée, et dans les canalisations industrielles, une connexion à bride. Les vannes soudées sont rarement utilisées aujourd'hui, car elles nécessitent un équipement spécial et certaines compétences lors de l'installation.

Vannes à boisseau sphérique: types, classification, dispositif et principe de fonctionnement

Vanne à bride

  1. la bille de verrouillage est entraînée par une tige (5) qui est reliée à la poignée de commande (6). Des éléments d'étanchéité sont également installés entre la tige et la poignée ;
  2. la poignée est fixée au corps par un écrou (7).

Le principe de fonctionnement d'un robinet à tournant sphérique est le suivant. Lorsque la poignée fixée sur le corps est tournée, l'élément de verrouillage de l'appareil - la boule - tourne.Si l'orifice de la bille est tourné dans le sens de l'écoulement de la substance qui passe, la vanne s'ouvrira. Si l'orifice est tourné perpendiculairement au débit, la vanne sera en position fermée.

Vannes à boisseau sphérique: types, classification, dispositif et principe de fonctionnement

Le principe de fonctionnement du robinet à tournant sphérique

Le dispositif du robinet à tournant sphérique, ainsi que les points auxquels vous devez faire attention lors de l'achat d'un produit, sont discutés en détail dans la vidéo.

Le dispositif et le principe de fonctionnement de la soupape à soupape

Voyons maintenant comment fonctionne une vanne équipée d'une vanne. L'appareil se compose des éléments suivants :

  1. le corps de vanne (2), réalisé en divers matériaux, est équipé d'un couvercle (3). Un joint (12) est installé entre le corps et le couvercle pour assurer l'étanchéité. En règle générale, le joint est en caoutchouc durable, mais peut être constitué d'autres matériaux.

Vannes à boisseau sphérique: types, classification, dispositif et principe de fonctionnement

Les principaux éléments de commande de la vanne avec un élément de verrouillage de vanne

  1. le corps est équipé d'un siège (1) pour le clapet (6), qui est le mécanisme de verrouillage du dispositif. Pour un blocage complet de l'écoulement et de l'étanchéité, le siège est complété par un joint d'étanchéité (16) ;
  2. un joint (15) est également situé sur la partie inférieure de la valve ;
  3. le manchon (7) et l'axe (11) sont fixés au robinet d'arrêt à l'aide d'un écrou (14) ;
  4. sur le corps de la broche, il y a un filetage (4) qui sert à contrôler le cône de verrouillage ;
  5. la broche est associée à un volant (8) qui entraîne la vanne. Le volant est fixé sur le corps de l'appareil par un écrou (13) ;
  6. pour une connexion hermétique du volant et du corps de soupape, un joint d'huile (10) est installé, fixé avec un écrou séparé (5), complété par une bague d'étanchéité (9).
Lire aussi :  Comment puiser dans une conduite d'eau sous pression

Le dispositif de la vanne détermine le principe de son fonctionnement. Lorsque le volant est tourné, la broche monte ou descend en mouvements de translation, ce qui abaisse ou soulève la vanne.

Vannes à boisseau sphérique: types, classification, dispositif et principe de fonctionnement

Le principe de fonctionnement de la vanne

La soupape à soupape peut être un passage traversant (dans les figures ci-dessus) et une soupape d'équerre. Il est recommandé d'installer une vanne d'angle sur le coude de la canalisation. Le dispositif et le principe de fonctionnement de la vanne d'angle ne diffèrent pratiquement pas du dispositif de passage. La principale différence réside dans la forme du corps et l'emplacement de la selle.

Vannes à boisseau sphérique: types, classification, dispositif et principe de fonctionnement

Dispositif de vanne d'angle de type vanne

Les vannes à boisseau sphérique et à vanne ont une conception différente et diffèrent par leur principe de fonctionnement. Cependant, les deux types de produits peuvent être installés sur des canalisations domestiques à diverses fins.

Caractéristiques d'un robinet de radiateur coudé

En tant qu'élément de verrouillage, la vanne de radiateur d'angle a une bille avec un trou diamétral traversant, dont l'alignement de l'axe avec l'axe du tuyau ouvre la vanne et la rotation perpendiculaire à l'axe la ferme. Par conséquent, un tel dispositif est généralement appelé "robinet à boisseau sphérique d'angle de radiateur".

Vannes à boisseau sphérique: types, classification, dispositif et principe de fonctionnement
Robinets de radiateur droits et coudés

Le robinet à tournant sphérique du radiateur d'angle ne doit être utilisé que comme robinet d'arrêt. Les experts ne recommandent pas d'utiliser des vannes à bille pour réguler le débit d'eau.

En règle générale, le matériau du robinet est du laiton à faible teneur en plomb. Mais si l'eau est fournie au radiateur par des tuyaux en propylène, la vanne de radiateur d'angle est également en polypropylène. Dans ce cas, ses caractéristiques sont sous-estimées, mais pas de beaucoup :

  • la température de l'eau qui coule est de 90-120°C contre 150°C pour un robinet en laiton ;
  • pression de travail - 10-16 atm. contre 16-25 atm. au robinet de laiton.

Un article sur notre site Web "Quel robinet d'angle est le meilleur" contient un aperçu de la popularité des marques de fabricants de ces articles sanitaires

En savoir plus sur les grues Valtec ici :

Mais, par exemple, Valtec produit des vannes d'angle pour radiateurs en PP-R 100 de qualité propylène (le PP-R 80 est généralement utilisé) et la pression de fonctionnement des vannes Valtec atteint 25 atm. comme ceux en laiton.

Quelle est la différence avec une valve ?

Les vannes et les robinets-vannes sont les 2 mécanismes que l'on retrouve le plus souvent sur les canalisations industrielles.

Sans eux, il est impossible d'imaginer le travail d'une éventuelle chaîne d'approvisionnement, quelle que soit sa taille. Le but principal de ce type de dispositif est extrêmement simple - permettre de contrôler le mouvement et un certain état du fluide transporté à l'intérieur du pipeline

Vannes à boisseau sphérique: types, classification, dispositif et principe de fonctionnementVannes à boisseau sphérique: types, classification, dispositif et principe de fonctionnement

Une vanne est un mécanisme de verrouillage pour le réglage. C'est un élément assez gros, avec un corps légèrement épaissi et avec une bague de réglage globale, on l'appelle une valve. Il est nécessaire pour fermer à 100% ou réguler le débit du liquide utilisé à l'intérieur du tuyau.

C'est la principale différence entre une vanne moderne et une vanne conventionnelle. La partie valve, qui est fixe, peut être montée dans plusieurs positions sans aucun problème.

Si vous tournez la valve d'un certain nombre de tours, le débit ne sera bloqué que partiellement. L'élément de constipation réduira artificiellement le diamètre du passage à l'intérieur, ce qui limitera la quantité de milieu transporté. La fermeture complète du mécanisme bloquera tout le système, la vanne fait à peu près la même chose. Mais le principal avantage de la valve est qu'elle peut être utilisée pour sélectionner la position souhaitée pour l'élément de verrouillage à l'intérieur du dispositif lui-même.

Très souvent, dans les conduites à usage industriel, il n'est pas nécessaire de bloquer complètement le flux porteur, mais seulement de le réduire à une valeur spécifique. Cela peut être fait en montant les vannes dans les endroits les plus appropriés pour cela.

Vannes à boisseau sphérique: types, classification, dispositif et principe de fonctionnement

Liste des différences évidentes.

  • La vanne peut facilement régler la force d'écoulement dans n'importe quel système, tandis que la vanne n'est visible que dans deux états : elle peut être ouverte et fermée.
  • La vanne devient rapidement inutilisable. La vanne sert plus grâce à d'excellentes caractéristiques.
  • Dans les soupapes, le flux de porteur sera bloqué par une soupape spéciale qui est pressée contre le siège dans des plans horizontaux parallèles au flux de gaz ou d'eau. Pour cela, une double courbure du flux porteur est réalisée à un angle de 90 degrés. La vanne se bloquera perpendiculairement au flux de porteur.

Pour plus d'informations sur la réparation et le remplacement des vannes à vis, voir la vidéo suivante.

Variétés de grues d'angle

Toutes les vannes d'angle sont divisées en trois types en fonction du mécanisme du dispositif de verrouillage:

Les vannes à bille sont un type de construction permettant d'arrêter ou de démarrer le débit du fluide de travail, mais non capables de le réguler.

  • La manette des gaz est un régulateur de transfert de chaleur manuel.
  • Vanne thermostatique - un dispositif permettant de régler automatiquement la température requise dans les appareils de chauffage et de maintenir le niveau de chauffage souhaité en mode automatique.

Nous vous recommandons de lire : Avantages et application des tuyaux en polychlorure de vinyle non plastifié (UPVC)

Tous les robinets d'angle se distinguent également par le matériau de fabrication :

  • des structures entièrement métalliques, le plus souvent en laiton avec un revêtement chrome-nickel,
  • appareils en polypropylène avec une connexion par douille pour le soudage, qui sont utilisés pour une installation sans raccords supplémentaires, ainsi que des connexions rapides de type américain.

Les produits en laiton sont le plus souvent utilisés dans l'installation de systèmes en acier, tuyaux métal-plastique.

Façons d'augmenter le transfert de chaleur des batteries

La présence / l'absence de la possibilité d'augmenter le transfert de chaleur dépend du calcul de la réserve de puissance du radiateur. Si l'appareil n'est pas en mesure de produire plus d'énergie thermique, aucun raccord ne sera utile.

Vannes à boisseau sphérique: types, classification, dispositif et principe de fonctionnement

Vous pouvez essayer de changer la situation de l'une des manières suivantes :

  1. Tout d'abord, vous devez vérifier si les filtres et les tuyaux sont bouchés. Des blocages se forment à la fois dans les anciens bâtiments et dans les nouveaux bâtiments, car divers déchets de construction pénètrent dans le système. Lorsque le nettoyage ne donne pas de résultats, des mesures drastiques doivent être prises.
  2. Augmentation de la température du liquide de refroidissement. Cela peut être fait en présence d'un apport de chaleur autonome, mais avec un chauffage centralisé est peu probable.
  3. Modifier le type de connexion. Toutes les méthodes de connexion de la batterie ne sont pas aussi efficaces. Par exemple, la connexion inversée entraîne une diminution de puissance d'environ un quart. De plus, le lieu d'installation de l'appareil affecte le transfert de chaleur.
  4. Augmenter le nombre de sections. Si l'emplacement et la méthode de connexion des radiateurs sont choisis correctement et que la pièce est également froide, cela signifie que la puissance thermique des appareils n'est pas suffisante. Ensuite, vous devez augmenter le nombre de sections.

Si le système de chauffage est équipé de batteries thermorégulées, elles nécessitent une certaine réserve de marche et c'est leur principal inconvénient.En conséquence, le coût de l'organisation du chauffage augmente, car chaque section coûte de l'argent.

Vannes à boisseau sphérique: types, classification, dispositif et principe de fonctionnement

Le confort ne peut pas être atteint si la pièce est froide ou trop chaude, donc régler la chaleur des radiateurs est une solution universelle à ce problème.

Des astuces

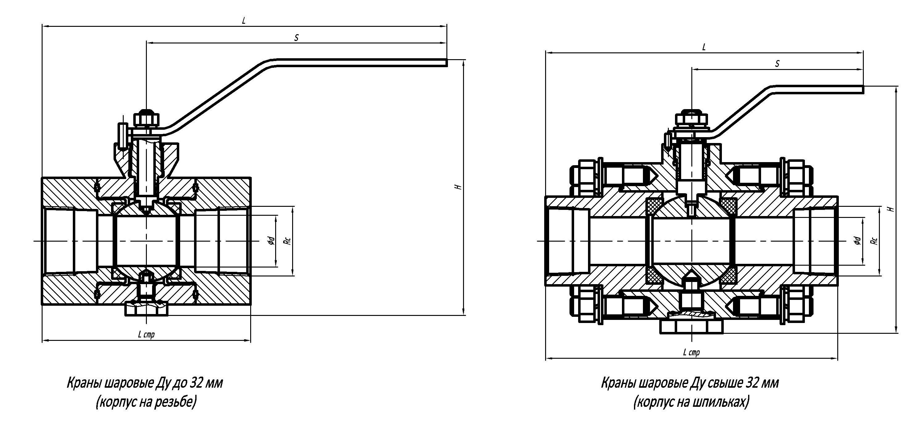
Parfois, vous pouvez entendre le terme "robinet à bille sous la vanne". Cela signifie que les longueurs de construction de la grue elle-même et de la vanne correspondent. Vous devez connaître l'explication afin de choisir le bon produit lors de l'achat. Ainsi, la longueur des vannes KSh F DN 50, 80 et 100 correspond aux longueurs des vannes en acier 30s41nzh ZKL-2, 31s31nzh ZKL-Z, 31s38nzh, 30s41p, ZKS, ZVK et aux longueurs des vannes en fonte fer 30ch6br, 31ch6br, 31ch7bk, 31ch17br, 31ch16brn, zh , 31ch11nzh et ZKVSH, caractérisés par les mêmes diamètres. Habituellement, la longueur est conforme à la norme européenne DIN.

Vannes à boisseau sphérique: types, classification, dispositif et principe de fonctionnementVannes à boisseau sphérique: types, classification, dispositif et principe de fonctionnement

Pendant le fonctionnement, des joints interbrides sont utilisés. De plus, avant l'installation, il est indispensable de vérifier l'alignement axial

Il est important que les boulons soient vissés uniformément sur tout le périmètre. En ce qui concerne le fonctionnement du produit, il est nécessaire de procéder systématiquement à un contrôle technique

Peu importe la grue achetée. Si vous ignorez cet aspect, vous pouvez autoriser les fuites.

Plusieurs facteurs influencent la fréquence des inspections. L'un des plus importants est le milieu de travail lui-même (liquide ou gaz à l'intérieur du pipeline). Cependant, indépendamment de cela, le contrôle est effectué au moins une fois tous les six mois de fonctionnement du robinet à tournant sphérique. De plus, vous devez prendre en compte une nuance importante : la grue ne doit pas être constamment dans une position. Un repositionnement périodique empêchera la formation de dépôts sur la surface et contribuera à augmenter la durée de vie du produit. La fréquence de ces travaux est d'environ 2 à 4 fois par an.

Le dernier facteur qui détermine la qualité de la grue est un achat dans un magasin de confiance, alors qu'il est important de demander au vendeur un certificat confirmant que la marchandise est conforme aux normes GOST déclarées.

Lire aussi :  Éliminer un blocage dans un évier de cuisine

Vannes à boisseau sphérique: types, classification, dispositif et principe de fonctionnementVannes à boisseau sphérique: types, classification, dispositif et principe de fonctionnement

Voir la revue vidéo de la vanne à bride à bille ci-dessous.

Dispositif

Le dispositif d'un simple mélangeur à pression d'eau est le plus souvent le même pour tous les modèles. La composition de base des éléments fonctionnels et son principe de fonctionnement restent les mêmes, malgré d'éventuelles différences externes.

Vannes à boisseau sphérique: types, classification, dispositif et principe de fonctionnement

Ce robinet comprend :

  1. Vis de fixation;
  2. Broche;
  3. poignée de soupape ;
  4. Manchon de presse-étoupe ;
  5. Couvercle;
  6. Tampon;
  7. Presse-étoupe ;
  8. Écrous sur le corps du robinet ;
  9. Nez et siège.

Le volant ou vanne est relié à un axe vertical de sorte que sa partie inférieure de 20 mm de long puisse se déplacer à l'intérieur de l'écrou. À son tour, la partie inférieure de l'écrou est vissée dans le boîtier. La bobine est située à l'extrémité de la broche, constituée d'un disque avec un joint, qui est installé avec un écrou ou un bouton. C'est-à-dire que lorsque nous tournons la poignée du robinet, la tige est vissée, ce qui entraîne l'arrêt de l'eau. Le joint est fermement pressé contre le siège métallique de la soupape et crée un obstacle impénétrable pour le passage du liquide de refroidissement.

Marquage du robinet à tournant sphérique

Chaque fabricant a sa propre gamme de vannes fabriquées, mais tous les produits fabriqués en Russie, ainsi que les appareils importés vendus dans la Fédération de Russie, sont conformes à GOST 52760. Cette norme réglemente le marquage des équipements d'arrêt et de contrôle, qui comprend des vannes à bille .

L'étiquette doit comporter :

  • passage nominal (diamètre nominal), désigné par l'abréviation DN ;
  • indicateur de pression nominale - PN ;
  • la valeur de la pression (de travail) calculée ;
  • une flèche indiquant la direction du mouvement de l'eau;
  • température de fonctionnement maximale ;
  • date de sortie.

Conformément à GOST 4666, les appareils en fonte sont de couleur noire, ceux en acier inoxydable sont bleus (bleu). Les robinets d'eau chaude sont marqués en rouge.

Aujourd'hui, plus de quatre mille tailles de robinets sont produites pour divers besoins; des appareils de petit diamètre sont utilisés dans les systèmes d'approvisionnement en eau des ménages

Avantages et inconvénients des robinets à tournant sphérique

Les robinets à tournant sphérique sont très populaires dans divers secteurs de l'économie. Ils sont considérés comme des dispositifs de verrouillage fiables, font partie du système d'approvisionnement en eau d'un appartement en ville et d'une maison privée.

Outre la fiabilité et la simplicité de conception, les produits de ce type présentent de nombreux autres avantages :

  • grande ressource de travail, longue durée de vie;
  • se cassent rarement, facilement réparables;
  • haut degré d'étanchéité, avec une installation correcte, il n'y a pas de fuites;
  • utilisation pratique, pour bloquer le débit d'eau, il suffit de tourner ou d'appuyer sur le levier;
  • une vaste gamme de tailles et de types;
  • facilité d'installation, vous pouvez l'installer vous-même sans faire appel à un plombier.

Un robinet avec un mécanisme à bille évitera à ses propriétaires le remplacement fréquent et fastidieux des joints, ainsi que les problèmes de fuite d'eau, si courants avec les robinets obsolètes.

Les mélangeurs à billes échouent très rarement, la principale cause d'échec étant l'eau dure, les fabricants recommandent donc d'installer des filtres à eau dans le système d'alimentation en eau

Fabricants

Sur le marché moderne de ces produits, de nombreuses vannes à brides sphériques sont proposées à l'attention des acheteurs. Selon l'évaluation du consommateur, les vannes d'arrêt des entreprises suivantes peuvent être qualifiées de dignes d'attention :

  • Broen ;
  • LD ;
  • DZT;
  • Naval;
  • Danfoss Jeep F.

Ces options de vannes sont capables d'arrêter complètement la substance qui pénètre dans le pipeline. Par exemple, les produits de la marque Naval ont une coque entièrement soudée. Le produit est léger et facile à utiliser. En raison de la haute densité, il n'a pas peur des chutes de pression. Grâce à la poignée amovible, il est possible de changer sa position de 180 degrés.

Le raccordement des autres options peut être bridé, soudé ou fileté. Ces produits sont choisis en raison du fait qu'ils réduisent considérablement les pertes hydrauliques. Les appareils résistent à des températures allant jusqu'à 250 degrés. Leur installation est réalisée en tenant compte des contre-brides avec certains paramètres de diamètres, de fixations et de joints. Les dimensions de raccordement sont soumises à GOST 12815.

Vannes à boisseau sphérique: types, classification, dispositif et principe de fonctionnement

L'utilisation de laiton et d'aciers alliés

Vannes à boisseau sphérique: types, classification, dispositif et principe de fonctionnement

Comme indiqué précédemment, le laiton ou l'acier allié peut être utilisé dans la fabrication du corps. L'utilisation de tels matériaux entraîne les caractéristiques de conception suivantes :

  1. La surface de la grue n'est pas exposée à la corrosion. Même en cas d'exposition prolongée à une humidité élevée, la corrosion ne se forme pas à la surface. C'est pourquoi la durée de vie est augmentée plusieurs fois.
  2. Les matériaux considérés sont légers.
  3. Résistance suffisamment élevée et ductilité suffisante. Veuillez noter que le laiton et l'acier allié ne résistent pas à de fortes contraintes mécaniques.Par conséquent, le mécanisme de verrouillage doit être protégé des chocs et autres impacts mécaniques.

La version en laiton coûte plus cher que les vannes en acier allié, ce qui mérite d'être considéré.

En conclusion, nous notons que les propriétaires de maisons privées devraient insister pour remplacer le mécanisme de verrouillage. Un tel travail est dans l'intérêt du propriétaire de la maison, car en remplaçant le robinet standard, vous pouvez augmenter considérablement la sécurité de la vie. Compte tenu du faible coût du mécanisme lui-même, les principaux coûts ne concernent que les travaux d'installation.

Le dispositif et le principe de fonctionnement du robinet à tournant sphérique

Le corps de travail principal de la vanne est une boule avec un trou traversant. Lorsque la poignée est positionnée le long du tuyau, la vanne est ouverte. S'il est tourné perpendiculairement au tuyau, il se fermera. Le trou de la boule peut être rond, carré, en forme de trapèze ou d'ovale. Dans les vannes de petit diamètre, la vanne est rendue flottante et pour les appareils de grande taille, elle est réalisée sur des supports spéciaux. La haute étanchéité du volet est assurée par un joint élastique. Cela vous permet d'installer ce type de modèles sur des gazoducs.

Le robinet à boisseau sphérique fonctionne dans deux positions extrêmes lorsqu'il est tourné à 90 degrés, lorsqu'il est complètement ouvert ou fermé. Tenter de contrôler le débit entraînera une usure rapide du joint.

Vannes à boisseau sphérique: types, classification, dispositif et principe de fonctionnement

Ils ont des possibilités plus larges pour connecter des tuyaux lors de l'installation de systèmes d'alimentation en eau:

  • visites guidées ;
  • coin;
  • à trois ou plusieurs exutoires afin de rediriger les flux transportés.

Les raccordements avec les tuyauteries sont réalisés par emboîtement, bridés et soudés. Cette dernière option vous permet d'installer en permanence une vanne d'eau dans le système.

Vannes à boisseau sphérique

La conception du produit permet une installation pratique lors de l'installation de systèmes de plomberie et de chauffage. Notre gamme comprend différentes tailles standard de robinets d'angle équipés d'un américain. La variété de produits disponibles vous permet d'acheter une grue d'angle avec un Américain pour terminer rapidement les opérations d'installation prévues. Le corps en laiton des vannes est résistant à l'eau, à la vapeur et à toutes sortes de liquides non agressifs.

Le robinet d'angle américain compact est équipé d'un bouton de réglage amovible en forme de papillon, qui vous permet de monter des vannes d'arrêt dans un espace limité. Tous les produits de notre gamme sont certifiés et testés par le service contrôle qualité. Une grue d'angle américaine de haute qualité est capable de servir sans défaillance pendant plusieurs décennies. L'exécution précise d'un raccord fileté a un effet positif sur la rapidité d'installation et l'étanchéité des systèmes exploités. Le robinet à boisseau sphérique à angle américain résistant à l'usure a une longue durée de vie, basée sur les performances techniques irréprochables des composants. L'ajustement idéal de la boule métallique assure un mouvement facile lors de la fermeture des vannes et une étanchéité garantie du système sous pression. Lors de l'installation de systèmes de chauffage, une vanne d'angle 1/2 avec un tuyau américain offre la possibilité d'un démontage périodique du radiateur pour l'entretien.

L'utilisation de dispositifs d'angle permet d'optimiser la conception des systèmes de canalisations à diverses fins fonctionnelles. Une vanne à boisseau sphérique à angle américain de petite taille est demandée lors de l'installation de systèmes à configuration complexe. Un appareil non standard peut être installé sans difficulté dans une ouverture ou une niche étroite.Le robinet à tournant sphérique angulaire américain fiable est conçu pour une utilisation répétée sans détérioration des caractéristiques primaires. L'utilisation d'éléments filtrants contribue à augmenter la stabilité du système d'exploitation en minimisant les processus de sédimentation. La réduction de la quantité d'impuretés dans le liquide de refroidissement ou l'eau du robinet aide à réduire la charge sur la surface de la bille qui bloque l'écoulement du fluide de travail.

Par rapport aux vannes standard, une vanne à boisseau sphérique à angle américain simplifie l'installation en utilisant un type de connexion plus pratique. Notre gamme de produits comprend des produits qui diffèrent par leur diamètre nominal, leurs dimensions d'installation et leurs caractéristiques fonctionnelles. Il est possible d'acheter une grue d'angle avec un Américain chez nous pour une installation rapide de systèmes de configuration standard et non standard. Les produits en laiton résistent à la corrosion, aux températures extrêmes et à l'humidité élevée. Les vannes d'arrêt durables sont un composant fiable des réseaux d'alimentation en eau et des systèmes de chauffage des bâtiments résidentiels et des installations publiques.

Évaluation
Site sur la plomberie

Nous vous conseillons de lire

Où remplir la poudre dans la machine à laver et combien de poudre verser