- Le principe de fonctionnement du pare-étincelles pour le bain
- Causes du chauffage excessif de la cheminée
- Instructions étape par étape pour la fabrication
- Choix de conception
- Activités préparatoires
- Assemblage du produit
- Systèmes d'évacuation des étincelles intégrés
- Circuits pare-étincelles simples
- Comment peindre le fer
- Comment faire un pare-étincelles sur les cheminées ?
- Nous montons le déflecteur et fixons le pare-étincelles fini
- Fabrication et installation étape par étape d'un pare-étincelles à faire soi-même
- Matériaux et outils nécessaires
- Dessins et schémas
- Calcul de la taille
- Caractéristiques de montage
- Vidéo : Un pare-étincelles de cheminée sauvera votre vie et vos biens
- Qu'est-ce qu'un pare-étincelles ?
- Où est-il utilisé et pourquoi est-il nécessaire ?
- Variétés de pare-étincelles
- Où est-il vendu et combien coûte-t-il ?
- Caractéristiques de l'entretien du pare-étincelles
- Caractéristiques du pare-étincelles
- Étincelles du tuyau de bain: que faire
- La structure et le principe de fonctionnement du pare-étincelles
- Modèles de pare-étincelles
Le principe de fonctionnement du pare-étincelles pour le bain
Pour augmenter le transfert de chaleur d'un poêle de bain, on utilise le plus souvent des cheminées directes, qui offrent une traction accrue. De ce fait, le processus de combustion du carburant se déroule plus rapidement, ce qui réduit le temps de chauffage de la pièce.
Le principal danger de cette conception est l'élimination des étincelles à travers la cheminée jusqu'à la surface du toit.Pour les structures en bois, les toits en matériaux combustibles, cela crée une forte probabilité d'incendie. Par conséquent, un pare-étincelles pour un bain est essentiel, d'autant plus que sa fabrication est assez simple.
Le principe de fonctionnement de cette conception est basé sur le changement de direction du flux de fumée et la création d'obstacles, lors du passage à travers lesquels les étincelles sont éteintes.
Causes du chauffage excessif de la cheminée
Très souvent, il arrive que le tuyau de cheminée chauffe à des températures incroyablement élevées.
Cela comporte un danger, car le risque d'incendie augmente plusieurs fois !
Afin de le minimiser, vous devez tout d'abord isoler tous les éléments combustibles à proximité.
Ensuite, l'isolant est posé autour du tuyau de cheminée.
Cela doit être fait sans faute, car sans une couche d'isolation thermique de haute qualité autour de la cheminée, vous risquez votre vie et votre santé tous les jours.
La raison pour laquelle le tube sandwich est chauffé dans le bain réside également, très probablement, dans la couche d'isolation thermique. Peut-être qu'il s'est usé avec le temps et doit être remplacé par un plus récent. Si une nouvelle structure sandwich surchauffe, un défaut du fabricant n'est pas exclu. Ce produit doit également être démonté et remplacé par une couche d'isolant.
Alors, regardons les principales causes du problème:
- La cheminée est constituée d'un tuyau métallique à simple paroi sans isolant thermique, ce qui est totalement inacceptable. Il est obligatoire de remplacer les sections de cheminée monocouche par des tuyaux sandwich, ou simplement de les compléter par une couche calorifuge;
- Il peut y avoir des erreurs dans la conception du tube sandwich.Il convient de rappeler que cette conception est installée de manière à ce que le condensat formé à l'intérieur ne puisse pas atteindre la surface extérieure de la cheminée.
Instructions étape par étape pour la fabrication
Pour la fabrication d'un pare-étincelles, certaines compétences mécaniques seront nécessaires, ainsi que la capacité de choisir une conception de produit adaptée aux conditions données.

Choix de conception
Lors de l'examen de diverses options pour l'exécution d'un pare-étincelles pour une cheminée, il convient de prêter attention à un produit en acier inoxydable en combinaison avec un déflecteur classique en forme de n. De plus, il ne faut pas exclure la possibilité d'auto-production d'un type spécial de déflecteur équipé d'une jupe pour éteindre les formations d'étincelles.

Activités préparatoires
Après avoir choisi le type de pare-étincelles, vous devez préparer tout le nécessaire pour son autoproduction, y compris l'ensemble d'outils et de matériaux suivant :
- un marteau ordinaire, des pinces, ainsi que de petites pinces et un jeu de tournevis;
- appareils de mesure linéaires;
- des ciseaux pour couper le métal, une meuleuse et une perceuse avec un jeu de forets;
- unité de soudage domestique et un ensemble de montages de rivet.

En tant que matériau d'assemblage du système, il est plus pratique de choisir l'acier inoxydable, qui possède toutes les qualités de protection nécessaires. Le diamètre des barres à partir desquelles les structures en treillis sont montées doit être aussi petit que possible (pas plus de 4 mm). Mais ils ne doivent pas non plus être trop fins, car dans ce cas, ils peuvent rapidement brûler à cause de la chaleur.
Avant de commencer les travaux, vous devez mesurer les dimensions de la cheminée existante, sur la base desquelles des croquis du futur dispositif de protection sont ensuite établis.À ces fins, il est plus pratique d'utiliser des flans en carton utilisés comme une sorte de pochoir.
Sur la base des croquis obtenus, un dessin du futur appareil doit être préparé, dans lequel les dimensions exactes de tous les éléments qui y sont inclus doivent être indiquées.
Assemblage du produit
Afin d'assembler un pare-étincelles de vos propres mains, vous devez suivre certaines règles. Les éléments d'une clôture en treillis pour cheminée peuvent être achetés prêts à l'emploi dans un magasin ou fabriqués indépendamment (des tiges d'un diamètre allant de 1 à 6 mm conviennent à cet effet).

Pour articuler les composants individuels d'un pare-étincelles fait maison, il est plus pratique d'utiliser le soudage manuel, après quoi les coutures résultantes sont soigneusement nettoyées.
La fixation finale de tous les éléments structurels est réalisée à l'aide de rivets préalablement préparés.
Lors de l'utilisation de la possibilité de combiner un pare-étincelles avec un déflecteur, une visière de la taille souhaitée est d'abord découpée dans des flans de tôle d'une certaine épaisseur.
Ensuite, un grand nombre de trous y sont percés, suffisants pour le libre passage du flux de gaz d'échappement. Après cela, la pièce résultante est pliée à l'angle requis et les zones de pliage sont en outre fixées avec des rivets métalliques.
Systèmes d'évacuation des étincelles intégrés
Ce n'est un secret pour personne que le combustible solide utilisé pour chauffer les poêles de sauna peut avoir différentes qualités. Assez souvent, sa combustion entraîne l'apparition de nombreuses étincelles, c'est-à-dire d'imbrûlés incandescents, remontant rapidement avec un courant de gaz chaud. Ces étincelles se déplacent le long de la cheminée et s'envolent à grande vitesse, puis se dispersent dans toutes les directions.
Une fois à l'extérieur, des étincelles peuvent atteindre la structure du toit ou ses différents éléments en bois. Et en présence d'un vent fort, ils peuvent entraîner l'inflammation de feuilles sèches, d'herbe ou d'aiguilles, ce qui entraînera des pertes irréparables. Une action rapide est la clé d'une protection incendie réussie.
Dans cette vidéo, vous apprendrez à fabriquer un pare-étincelles :
Pour éteindre les étincelles, il suffit de placer des pièces spéciales à haute conductivité thermique dans le système de cheminée. Au contact de celles-ci, les particules chaudes perdront leur potentiel thermique, se refroidiront lentement et deviendront inoffensives. À propos, de nombreux poêles de sauna modernes disposent déjà d'unités spéciales avec une fonction d'extinction rapide des étincelles.
Le principe de fonctionnement de tels mécanismes est très simple:
- L'air entre dans le poêle par une porte spéciale et dans la chambre de combustion par la grille.
- Le combustible est brûlé, chauffant l'appareil de chauffage.
- En conséquence, les produits de combustion chauds traversent un "labyrinthe" spécial de cavaliers, où se produit un transfert de chaleur actif. En conséquence, sous l'action des forces centrifuges, des étincelles se dégagent du flux général, se brisent contre les parois des chambres et s'éteignent.
Mais il est important de comprendre qu'à ce moment, le four est déjà chauffé à des températures élevées, il est donc souvent impossible de se débarrasser complètement des étincelles. Souvent, les propriétaires utilisent des conceptions de cheminée incurvées, car dans les sections droites, la probabilité d'étincelles est maximale
Dans ce cas, le principe de fonctionnement reste similaire au précédent - la direction du flux d'étincelles avec les parois du système de cheminée change.
Cet appareil a un schéma de fonctionnement simple.
Circuits pare-étincelles simples
Bien sûr, si vous le souhaitez, vous pouvez toujours vous rendre au marché et acheter un appareil fini, après avoir mesuré les dimensions de la cheminée, puis l'installer - mais un tel pare-étincelles sur le tuyau de bain coûtera un peu plus cher. De plus, la conception du pare-étincelles est assez simple, il sera donc presque plus facile de l'assembler à la maison.
L'un des schémas les plus simples qui peuvent être réalisés est un bouchon dans lequel des trous sont percés. Un aspect très important dans ce cas est le choix judicieux du diamètre du bouchon - sa section transversale doit être légèrement supérieure au diamètre de la cheminée sur laquelle il sera installé. Cette exigence est due au fait que le dispositif assemblé est placé sur le tuyau par le haut. "Comment faire une grille sur un tuyau pour des pierres dans un bain - théorie et pratique."

Faire une telle conception est très simple, mais pas sans problèmes. Le plus important d'entre eux est le calcul du nombre et de la taille des trous qui seront percés dans le bouchon. Si le calcul est incorrect, le tirage de la cheminée diminuera. De plus, une telle prise externe se recouvre de suie avec le temps et une odeur désagréable pénètre dans la pièce.

Une autre option, également souvent utilisée en raison de sa simplicité, est un pare-étincelles constitué d'un treillis métallique monté sur un tuyau avec une pince. Cette conception n'est pas non plus sans inconvénients : d'une part, une masse critique de suie va très vite se déposer sur la grille, et la traction sera considérablement réduite, et d'autre part, l'efficacité d'un tel pare-étincelles en soi n'est pas très élevée.
Comment peindre le fer
Les propriétaires des bains sont constamment confrontés à la rouille.
Bien sûr, il est préférable de fabriquer des réservoirs et d'autres composants de four en acier inoxydable, mais en l'absence d'une telle opportunité, diverses peintures et vernis viendront à la rescousse.
Alors, comment peindre le poêle dans le bain? Il est préférable d'arrêter votre choix sur émail silicone résistant à la chaleur.
Certaines de ses variétés sont capables de résister à des températures atteignant 600-700 degrés.
L'émail organosilicié résistant à la chaleur n'est absolument pas exposé aux effets négatifs de l'humidité et des changements brusques de température.
Par conséquent, si vous souhaitez protéger le four de votre sauna de la corrosion, l'émail silicone résistant à la chaleur deviendra un assistant indispensable en la matière !
Comment faire un pare-étincelles sur les cheminées ?
Fabriquer un pare-étincelles de vos propres mains est très simple, pour cela, vous n'avez pas besoin d'acheter des matériaux ou des outils coûteux, presque tout ce dont vous avez besoin est probablement en stock chez un propriétaire zélé de la maison. Avant le travail, il suffit de déterminer avec précision la conception du futur appareil, de retirer toutes les dimensions de la cheminée, de dessiner un croquis conforme à toutes les dimensions, selon lequel le métal sera coupé et le pare-étincelles lui-même sera assemblé .
Afin de fabriquer de vos propres mains un pare-étincelles pour un tuyau, vous devez préparer les outils et matériaux les plus simples:
Dispositif pare-étincelles.
- des tiges métalliques d'un diamètre allant jusqu'à six millimètres (de préférence un mm pour que les gaz puissent passer librement à travers la grille). Au lieu de barres, vous pouvez utiliser un morceau de treillis métallique;
- une feuille de métal d'une épaisseur d'un millimètre;
- broyeur, ciseaux métalliques;
- crayon simple, règle;
- rivets en acier (l'aluminium ne donnera pas une fixation fiable);
- machine à souder et pinces pour fixer le matériau avant le soudage.
Tous les travaux sont mieux effectués sur une surface horizontale, mesurez d'abord les dimensions de la cheminée. Il est recommandé de décider immédiatement de la conception, de dessiner un croquis avec les dimensions exactes, qui seront nécessaires lors de la découpe du matériau, de l'assemblage de l'appareil lui-même pour l'installation sur la cheminée.
Le processus d'installation de l'équipement pare-étincelles est très simple :
- Tout d'abord, un croquis est dessiné pour le futur appareil.
- Après cela, l'acier jusqu'à 1 mm d'épaisseur est coupé selon le projet (en fonction de la taille de la cheminée elle-même).
- Un treillis métallique à alvéoles de 5 mm est également découpé selon les dimensions de la cheminée installée. Cela peut être fait à l'aide de coupe-fils préparés ou de ciseaux pour le métal.
- Un tuyau d'un diamètre adapté à une cheminée est coupé de manière à obtenir une base pour l'installation d'une grille.
Les travaux supplémentaires sur la fabrication d'un pare-étincelles comprennent:
- Barres qui sont placées parallèlement les unes aux autres sur la grille, laissant une partie pour la fixation au tuyau. Nous les pressons avec un marteau, tous les joints sont soudés avec une machine à souder.
- Le treillis résultant doit être enroulé autour du tuyau, pressé avec des pinces. Vous devez taper sur la grille avec un marteau - de cette façon, la contrainte sera supprimée du métal.
- Après le pliage, tous les bords et joints sont soudés.
Vous pouvez prendre un morceau de treillis prêt à l'emploi, acheté précédemment, qui est attaché au tuyau de base de la même manière.
Nous montons le déflecteur et fixons le pare-étincelles fini
Maintenant, nous fabriquons un déflecteur pour le tuyau. Nous découpons une visière en forme de cercle dans une feuille de métal, la plions (tous les plis sont fixés par le haut avec des rivets), nous obtenons un petit cône d'un diamètre supérieur au diamètre du tuyau principal. Ce sera notre visière.
Le déflecteur est fixé à la grille et à la base du pare-étincelles à l'aide de bandes métalliques soudées ou fixées avec des rivets en acier ordinaire. Le pare-étincelles fini peut être installé sur les cheminées en utilisant différentes options de montage pour cela (en fonction du matériau de la cheminée elle-même). Ceux-ci peuvent être des vis autotaraudeuses, des boulons, il faut prévoir la possibilité de démontage pour.
Les pare-étincelles sont un élément supplémentaire équipé de tuyaux pour protéger les bâtiments des incendies, ils sont placés au sommet des cheminées. Il s'agit d'un maillage spécialement installé et d'un déflecteur qui empêche les étincelles d'atteindre la surface du toit. Tous, en passant par la grille, sont simplement éteints sur ses cellules.
Il est recommandé d'installer un tel appareil pour les bains, les saunas, lors de la couverture de la maison avec des matériaux inflammables. De plus, le pare-étincelles maintient les oiseaux, les corps étrangers, les brindilles et autres débris hors de la cheminée, ce qui réduit considérablement la fréquence des ramonages. L'installation d'un pare-étincelles garantit la plus grande sécurité possible. Vous pouvez fabriquer un tel appareil de vos propres mains, pour cela vous avez besoin des matériaux et des outils les plus simples, l'installation elle-même prend un minimum de temps.
Fabrication et installation étape par étape d'un pare-étincelles à faire soi-même
Considérons une option de fabrication étape par étape pour un pare-étincelles avec un parapluie déflecteur, composé d'un corps, d'une structure en treillis et d'un capuchon déflecteur.
Matériaux et outils nécessaires
Pour l'auto-assemblage d'un tel pare-étincelles, vous aurez besoin des outils suivants:
- instruments de mesure (ruban à mesurer, niveau, etc.);
- tournevis, pinces, pinces et marteau ;
- rivets dans un ensemble ou une machine à souder;
- ciseaux à métaux, meuleuse, perceuse et mèches.
Dessins et schémas
Voici un exemple d'assemblage d'un pare-étincelles simple basé sur un schéma de base commun.
Désignons les principaux composants et en cours de route, nous vous expliquerons comment les fabriquer:
- Tuyau de dérivation cylindrique - un verre qui sera posé sur le tuyau de cheminée. Pour la fabrication, vous avez besoin d'une tôle. Nous en découpons un rectangle d'une longueur égale à la longueur du cercle situé à la base (Fig. 2).
Vous pouvez calculer les dimensions requises à l'aide de la formule : "L = π × D", où L est la longueur, π≈ 3,14 et D est le diamètre de cylindre souhaité. Nous plions soigneusement la bande résultante avec un tuyau, par exemple, dans un cône, combinons les bords, perçons plusieurs trous dessus et les fixons avec des rivets.
- Treillis métallique - un réseau avec des cellules. Il est préférable d'acheter une base en treillis en acier inoxydable prête à l'emploi. Un cylindre basé sur celui-ci est fabriqué de la même manière qu'un verre.
- Capuchon de protection pour parapluie - l'essentiel ici est de modeler correctement le cône. Pour ce faire, nous calculons le rayon de pièce requis à l'aide de la formule: "C \u003d √ (h² + (D / 2)²)", où C est la longueur de la composante latérale du cône, h est la hauteur requise, D est le diamètre. Pliez soigneusement le scan découpé fini avec un cône (Fig. 3)
- Les racks pour connecter les pièces en une seule structure sont fabriqués à partir de la même tôle. (Fig. 4) La longueur des poteaux est déterminée par les dimensions de la structure, en tenant compte de la marge requise par le bas (environ 20 mm pour 1-2 rivets de fixation au verre). Il est préférable de placer ces éléments à un angle par rapport à la verticale - du tuyau aux bords du parapluie.
Passons maintenant au montage. Nous attachons des supports pour 1-2 rivets au tuyau «en verre».Nous insérons un cylindre en treillis dans l'espace entre les supports de racks afin qu'il pénètre un peu dans le tuyau inférieur et repose sur le cône. Maintenant, nous exposons le champignon - nous plions les patins de montage des racks afin qu'ils s'adaptent parfaitement à l'intérieur du cône. Nous forons des trous à travers les racks et le parapluie, après quoi nous fixons enfin toute la structure.
Calcul de la taille
Avant de commencer les travaux, vous devez mesurer les dimensions de la cheminée, conformément auxquelles les croquis de l'appareil seront affichés.
Il est également important de déterminer la taille correcte des cellules - elles ne doivent pas dépasser 5 mm
Caractéristiques de montage
L'installation correcte dépend des dimensions des pièces de l'appareil. Au moindre écart entre les diamètres, il ne fonctionnera pas d'installer un pare-étincelles sur le tuyau. Une machine à souder est utilisée pour connecter des éléments individuels. Les joints obtenus après soudage doivent être soigneusement nettoyés. Pour la fixation finale, vous aurez besoin de rivets ou de supports.
Vidéo : Un pare-étincelles de cheminée sauvera votre vie et vos biens
C'est intéressant : Les principaux camions de pompiers - applications générales et ciblées
Qu'est-ce qu'un pare-étincelles ?
Pare-étincelles - une "superstructure" spéciale avec un parapluie, située sur la cheminée. Il sert à empêcher l'échappement d'étincelles inflammables, de suie et d'autres produits de combustion. Dans sa conception et sa fonction, le pare-étincelles diffère du déflecteur, qui accélère le flux d'air pour augmenter la traction.
Le principe de fonctionnement de l'extincteur est le suivant :
-
La fumée, ainsi que les produits de combustion qu'elle contient (cendres, étincelles, goudron, suie, etc.) remontent la cheminée jusqu'au couvercle du pare-étincelles.
-
Le couvercle modifie la direction de la fumée afin qu'elle passe à travers les écrans latéraux.Pour ce faire, la structure est réalisée sous la forme d'un cône ou d'un dôme afin que la fumée soit dirigée latéralement.
-
Le treillis métallique éteint les étincelles et filtre les cendres chaudes. Pour cette raison, comme tout filtre, le pare-étincelles doit être nettoyé périodiquement.
La grille est en acier inoxydable et est solidement fixée à la cheminée ou à la buse qui s'y trouve. Les ouvertures de maille de la grille ne doivent de préférence pas dépasser 5x5 millimètres.
Le parapluie est également en acier inoxydable et remplit une fonction de protection supplémentaire : il empêche les débris, les précipitations et les oiseaux de pénétrer dans la cheminée. Les ordures sont hautement inflammables et provoquent un incendie : les feuilles mortes, les brindilles, les morceaux de papier qui se sont accidentellement envolés et d'autres objets inflammables ne doivent pas se trouver dans la cheminée. Les oiseaux peuvent rester coincés dans le filet et mourir en perturbant le pare-étincelles. De plus, le parapluie empêche les précipitations de pénétrer dans le tuyau, perturbant son fonctionnement.
Où est-il utilisé et pourquoi est-il nécessaire ?
Les pare-étincelles peuvent être utiles pour le canal de tuyau de n'importe quelle fournaise: pour un bain public, une maison de campagne, un chalet, un garage, un atelier et d'autres bâtiments.
Poêles utilisés pour le chauffage et à d'autres fins (cheminée, poêle à ventre plat, four de boulangerie, etc.) - ont besoin d'un extincteur pour éviter un incendie.
Variétés de pare-étincelles
Il existe plusieurs options pour créer un pare-étincelles:
-
Le treillis pare-étincelles est soudé directement dans la cheminée. Conception peu fiable, s'encrasse très rapidement, mais sa fabrication demande un minimum de temps et d'efforts. Il peut convenir pour une saison, après quoi il devra être changé, ou pour des pièces rarement utilisées (par exemple, des bains).
-
Coude sur le tuyau.Il réduit le tirage, les étincelles ne s'envolent pas aussi rapidement (elles peuvent être mieux éteintes) et un flux de fumée plus restreint fournit une chaleur supplémentaire. Moins - il ne peut être mis en œuvre qu'au stade de la construction de la cheminée.
-
Les pare-étincelles sont fabriqués dans la cheminée et l'extrémité est étroitement soudée. Une telle conception peut être réalisée à partir d'un tuyau coupé et simplement placée au-dessus de la cheminée afin qu'à l'avenir, elle puisse être modifiée sans toucher la cheminée «principale».
-
Le déflecteur de tête est installé avec le pare-étincelles sur la cheminée. Il sert à accélérer la poussée et s'oppose à la création d'une poussée inverse. Si le temps dans la région est généralement calme et que le vent fort est rare, sa présence n'est pas nécessaire.
Selon le principe d'action, vous n'avez à choisir que parmi deux options :
-
Pare-étincelles standard.
-
Pare-étincelles avec déflecteur.
La différence entre eux n'est significative que si la maison est située dans une zone avec des orages fréquents, des vents forts (montagnes, zones côtières, champs) et que le tuyau est droit verticalement. Le déflecteur accélère alors l'air dans le tuyau et projette des étincelles à travers les pare-étincelles à une vitesse plus élevée, empêchant le retour d'air qui peut provoquer un incendie. La fonctionnalité de l'extincteur en souffre quelque peu.
En forêt ou à proximité des villes, il n'y a pas besoin de déflecteur, et seul un pare-étincelles peut être installé (ou ajouter un coude à la cheminée pour ralentir la fumée et économiser du bois, si elle est en construction). La conception pour l'extinction des étincelles doit être placée sur des cheminées droites, surtout si le toit est en matériaux combustibles.
Où est-il vendu et combien coûte-t-il ?
Des produits similaires peuvent être trouvés prêts à l'emploi, dans les magasins qui vendent des poêles et des chaudières de chauffage.Ils peuvent également être proposés par des entreprises qui conçoivent et construisent des cheminées.
Pare-étincelles sur la cheminée
Coût approximatif:
-
une simple "grille" insérée dans la cheminée: de 100 à 200 roubles;
-
pare-étincelles avec parapluie, monté au sommet de la cheminée: de 700 à 900 roubles.
Caractéristiques de l'entretien du pare-étincelles
La complexité de l'entretien d'un extincteur installé sur une cheminée dépend du modèle choisi par le maître d'ouvrage.
La première option est un chapeau en maille métallique. Dans ce cas, il est nécessaire de vérifier périodiquement son état - il peut se boucher avec des produits de combustion, d'autres débris apportés par le vent.
Une telle grille, en particulier lorsque du combustible à haute teneur en résine a été utilisé pour la chambre de combustion, doit être nettoyée de la suie et brûler assez souvent. De plus, si le matériau de fabrication a été choisi moins cher, il faudra bientôt remplacer le pare-étincelles par un nouveau.

Lors du nettoyage d'une structure dans laquelle le treillis est installé comme un amortisseur conçu pour entrer en collision avec des étincelles, la structure devra être démontée. Et c'est un certain inconvénient.
Les promenades fréquentes sur le toit pour nettoyer le treillis peuvent également difficilement être qualifiées d'expérience agréable. Oui, même si de temps en temps vous devez changer le treillis métallique de la cheminée. Par conséquent, il est préférable de sélectionner immédiatement un meilleur matériau pour la fabrication d'un pare-étincelles.
La deuxième option est un déflecteur avec un maillage à l'intérieur. Ici, il sera également nécessaire de nettoyer périodiquement les cellules métalliques de la grille, qui sont obstruées par les produits de combustion. Après tout, plus l'élément maillé de l'appareil recueille de débris sur lui-même, plus le processus d'élimination de la fumée deviendra difficile.Et cela se heurte à de gros problèmes.
La troisième option est un déflecteur avec une jupe. Ici, il est nécessaire de vérifier périodiquement que les feuilles, les papillons et les oiseaux ne ferment pas de petits trous destinés à évacuer l'eau de la pluie et de la neige fondue. Il n'est pas nécessaire de retirer l'appareil de son lieu de travail et de le nettoyer. C'est le modèle le plus facile à entretenir.
La quatrième option consiste en des pare-étincelles en alliages métalliques sensibles à la corrosion. De tels produits deviendront rapidement inutilisables. Ceci doit être pris en compte au stade de la sélection des matériaux.
Pour vous éviter d'avoir à construire un pare-étincelles chaque année, il est préférable de choisir tout de suite de l'inox de 5 mm de bonne qualité. Il en va de même pour le treillis métallique - il doit être résistant à l'usure, de préférence en acier inoxydable.

La grille pour la fabrication du pare-étincelles doit être résistante à la chaleur, à l'usure avec une épaisseur de cloisons jusqu'à 5 mm
La vérification du pare-étincelles est effectuée sans faute lors du nettoyage de la cheminée.
Caractéristiques du pare-étincelles
Le pare-étincelles installé sur la canalisation de la chaufferie présente un certain nombre de caractéristiques propres à ces appareils :
- Tous les pare-étincelles sont conçus pour être installés sur des cheminées raccordées à des systèmes de chauffage à combustible solide ;
- La taille des alvéoles du pare-étincelles ne peut excéder 5 mm ;
- Il est impératif d'installer un pare-étincelles sur le tuyau si le toit est en matériaux combustibles ou inflammables;
- L'installation de pare-étincelles est également obligatoire si la conception de la cheminée ne comporte pas de virages ni de coudes (de tels systèmes se retrouvent dans les saunas, les bains, etc.);
- En plus de protéger contre le feu, les pare-étincelles protègent également la structure des facteurs externes - par exemple, des oiseaux confondant la cheminée avec un nid.
- La maille du pare-étincelles est mieux rendue amovible - elle est activement obstruée, elle doit donc être régulièrement nettoyée de la saleté;
- Un pare-étincelles (si nécessaire) est toujours inclus dans le projet, selon lequel le système de cheminée est équipé. "Quelle devrait être la cheminée d'une chaufferie - types, caractéristiques, normes et avantages des options."

Il est facile d'assembler et d'installer un pare-étincelles sur un tuyau de vos propres mains - il est beaucoup plus difficile de choisir des matériaux qui conviennent parfaitement à cet appareil et vous permettront d'atteindre une efficacité maximale. Un mauvais exemple est l'acier ferritique ou le métal zingué - ces matériaux s'usent très rapidement, il faudra donc penser à réparer la structure très rapidement.
Étincelles du tuyau de bain: que faire
Le pare-étincelles fait son travail tant que la cheminée du sauna fonctionne correctement. La violation de la vitesse de circulation de la fumée conduit au fait que des étincelles commencent à voler sous le capuchon. La première étape consiste à déterminer d'où ils viennent. Les étincelles sont de petites particules de combustible qui n'ont pas eu le temps de brûler dans la fournaise. Avec un tirage normal, ils ont le temps de brûler dans la fournaise et certains d'entre eux couvent à l'intérieur du tuyau sur le chemin de la sortie de la cheminée.
Avec une diminution de la circulation des fumées, le feu dans le four s'éteint. Si la poussée est supérieure à la normale, l'effet inverse se produit. Le carburant s'enflamme rapidement, se désagrège en particules qui n'ont pas toutes le temps de brûler. Un fort courant d'air capte ces particules avec de la fumée et les projette à travers le tuyau dans la rue sous la forme d'un faisceau d'étincelles.
Le problème des étincelles est inhérent à une conduite à écoulement direct, qui est le seul inconvénient d'une telle conception de cheminée. Le feu du four pénètre immédiatement dans le tuyau vertical. Si le canal de cheminée du bain a des genoux, des coudes, des sections horizontales, la circulation de la fumée est affaiblie. Même avec une forte traction, les étincelles frappent les parois du tuyau dans les virages, se dispersent en parties plus petites et ont le temps de s'éteindre avant le départ. Cependant, les cheminées curvilignes se bouchent rapidement avec de la suie. Pour un bain à genoux, un tuyau n'est pas la meilleure option.
Le problème est résolu en réduisant la vitesse de circulation des fumées du tuyau à passage unique. Le tirage est régulé par des registres, registres, porte soufflante. Si des résultats positifs ne peuvent pas être obtenus, le temps de séjour de la fumée avec des étincelles dans le tuyau est augmenté en augmentant la longueur du canal de la cheminée. Une fois la poussée normalisée, les étincelles volantes sont rarement captées par le pare-étincelles.
Attention! Il faut faire attention à la traction. Une diminution de la circulation des fumées en dessous de la norme entraîne une contamination gazeuse du bain par du monoxyde de carbone, qui est mortel pour l'homme
La réduction de la circulation des fumées en dessous de la norme entraîne une contamination gazeuse du bain par du monoxyde de carbone, qui est mortel pour l'homme.
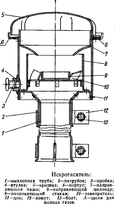
La structure et le principe de fonctionnement du pare-étincelles
Le dispositif pare-étincelles de différents modèles présente des éléments de conception distinctifs. L'apparence est différente. La présence courante d'un boîtier, d'un élément extincteur en treillis ou tôle d'acier, ainsi que d'un couvercle qui retarde la fuite des étincelles.
Tous les modèles de pare-étincelles fonctionnent sur le même principe :
- Après avoir allumé le poêle du sauna, des produits de combustion chauds se forment à l'intérieur du four, constitués de gaz, de fumée, d'air et de petites particules de combustible non brûlé. Le flux d'air de tirage les dirige à travers la cheminée du bain vers la rue.
- Au sommet du tuyau, l'air chaud entre en collision avec la pointe. La fumée s'échappe librement dans l'atmosphère et les particules de combustible en combustion frappent l'élément d'extinction en treillis ou en tôle, le boîtier, le couvercle du déflecteur.
- Une étincelle brûlante qui frappe un élément métallique perd sa capacité calorifique et s'éteint rapidement.
Le pare-étincelles emprisonne le plus souvent les grosses particules de carburant. De petites étincelles se glissent parfois. Si des étincelles jaillissent fortement du tuyau de bain, il est nécessaire de réduire le tirage en fermant les registres. Une autre raison peut être la combustion de la grille pare-étincelles.
Modèles de pare-étincelles
Les modèles de pare-étincelles diffèrent par la conception, la méthode de piégeage et d'extinction des étincelles et les caractéristiques auxiliaires. Classiquement, les éléments sont répartis dans les groupes suivants :
- Les modèles dynamiques déposent des particules brûlantes par gravité. Au contact d'un déflecteur froid et d'une grille en métal très calorifique, l'étincelle perd de l'énergie.
- Les modèles de filtration éteignent les étincelles et purifient les gaz traversant les cloisons du filtre cellulaire. Pour un bain, un tel pare-étincelles est rarement utilisé. Le plus souvent, on le trouve sur le tuyau d'échappement d'une voiture, d'un tracteur, d'une moissonneuse-batteuse.
- Les verrous liquides sont un type spécial de pare-étincelles. Les produits de combustion traversent l'eau, où 100% des étincelles s'éteignent, la suie se dépose. De l'air froid sans odeur de brûlé sort de la cheminée à l'extérieur.
Un modèle dynamique est le plus souvent mis sur le tuyau. Cependant, même une telle tête de bain a des modifications différentes.
La conception la plus simple est considérée comme un modèle sous la forme d'un boîtier. Sa tâche principale est de capturer des étincelles. Il ne faut pas s'attendre à plus du boîtier. Le déflecteur est plus compliqué. Le pare-étincelles est équipé d'un élément supplémentaire pour rediriger les flux d'air.Pour certains modèles, la girouette tourne. En plus d'éteindre les étincelles, le déflecteur améliore le tirage dans le tuyau.
C'est intéressant: sol à faire soi-même dans un poulailler - vous devez le savoir













































