Comment faire un pare-étincelles sur la cheminée de vos propres mains

Valeur pare-étincelles

Souvent, des combustibles solides sont utilisés pour allumer les poêles de sauna. Parfois, il y a une différence dans la qualité du matériau, ce qui entraîne des étincelles.Une étincelle est une particule incandescente qui ne s'est pas éteinte lors de l'allumage. Avec un courant de gaz chauds, il monte dans la cheminée et s'envole. Un tel phénomène peut avoir des conséquences désagréables.

Les étincelles atterrissent très souvent sur le toit ou les éléments en bois du bâtiment. Le vent peut les souffler à plusieurs mètres à la ronde, ce qui entraîne l'apparition d'incendies. Feuillage sec, aiguilles, herbe, foin, structures environnantes, arbres - tout cela peut s'enflammer à partir d'une seule étincelle. Pour éteindre une particule chaude, il est nécessaire d'assurer son contact avec des éléments et des surfaces à haute conductivité thermique. Ainsi, une étincelle chaude perdra son potentiel thermique même pendant son mouvement à travers la cheminée. En d'autres termes, il va simplement s'estomper.

Pour obtenir un affaiblissement prématuré du potentiel thermique d'étincelle, un pare-étincelles est installé au-dessus du tuyau. Cet élément vous permet d'attraper des étincelles lorsqu'elles sortent. Un pare-flammes correctement fabriqué et installé réduit le risque d'incendie dans les bains publics (sauna) et les bâtiments environnants.

L'installation de pare-étincelles présente plusieurs avantages :

  1. Fournit une protection contre les incendies lorsque des matériaux combustibles sont situés à proximité.
  2. Empêche les étincelles d'atteindre le toit, surtout s'il est fait de matériaux inflammables, un grand nombre de feuilles s'y accumulent.
  3. Il ferme la cheminée des précipitations, des feuilles, des oiseaux, qui aiment souvent y construire des nids.
  4. Aide à réduire la résistance, ce qui élimine le tirage inverse et augmente la force de traction de la cheminée.

Fabrication de diverses pièces pour la cheminée

Divers accessoires peuvent être fabriqués par vous-même.

Parapluie

Cet élément doit être en acier galvanisé. Le moyen le plus simple est de le fabriquer sous la forme d'un demi-cylindre - il sera alors facile d'y attacher des racks fabriqués à partir d'un coin.

Si la base du parapluie est ronde, elle s'adaptera parfaitement à la cheminée et ne laissera pas passer l'air à la jonction

Une autre option consiste à fabriquer un parapluie sous la forme d'une pyramide à 4 côtés. C'est aussi un moyen simple - une tôle d'acier carrée est simplement pliée en diagonale, mais lors de la coupe de la pièce, vous devrez prévoir des "ergots" pour fixer les crémaillères.

Vous pouvez installer un parapluie réalisé sous la forme d'un toit de maison sur un tuyau en brique

pare-étincelles

Le pare-étincelles n'est qu'un treillis métallique avec une cellule de 5 mm maximum, qui est installé sur la tête du tuyau. Il peut être fabriqué à partir de fil fin ou d'une plaque d'environ 1 mm d'épaisseur, dans laquelle de nombreux trous sont percés. Le treillis est soudé ou riveté à la coque, qui, à son tour, est fixée au tuyau.

Le pare-étincelles doit être fixé à une cheminée en brique avec des chevilles ou des clous enfoncés dans le joint, à une cheminée en acier - à l'aide d'une pince recouvrant la coque.

hésiter

Un registre pour une cheminée ronde peut être réalisé comme ceci :

  1. Un court morceau de tuyau du diamètre approprié est pris.
  2. Deux trous y sont percés situés l'un en face de l'autre.
  3. Une barre d'acier d'environ 10 mm de diamètre est insérée dans ces trous, dont une extrémité est pliée (ce sera la poignée).
  4. Un disque d'un diamètre légèrement inférieur au diamètre intérieur du tuyau est soudé à la tige à l'intérieur du tuyau.

Pour exclure la possibilité de bloquer complètement la cheminée par négligence, un secteur de ¼ de sa surface peut être découpé dans le disque

Fabrication et installation étape par étape d'un pare-étincelles à faire soi-même

Considérons une option de fabrication étape par étape pour un pare-étincelles avec un parapluie déflecteur, composé d'un corps, d'une structure en treillis et d'un capuchon déflecteur.

Matériaux et outils nécessaires

Pour l'auto-assemblage d'un tel pare-étincelles, vous aurez besoin des outils suivants:

  • instruments de mesure (ruban à mesurer, niveau, etc.);
  • tournevis, pinces, pinces et marteau ;
  • rivets dans un ensemble ou une machine à souder;
  • ciseaux à métaux, meuleuse, perceuse et mèches.

Dessins et schémas

Voici un exemple d'assemblage d'un pare-étincelles simple basé sur un schéma de base commun.

Désignons les principaux composants et en cours de route, nous vous expliquerons comment les fabriquer:

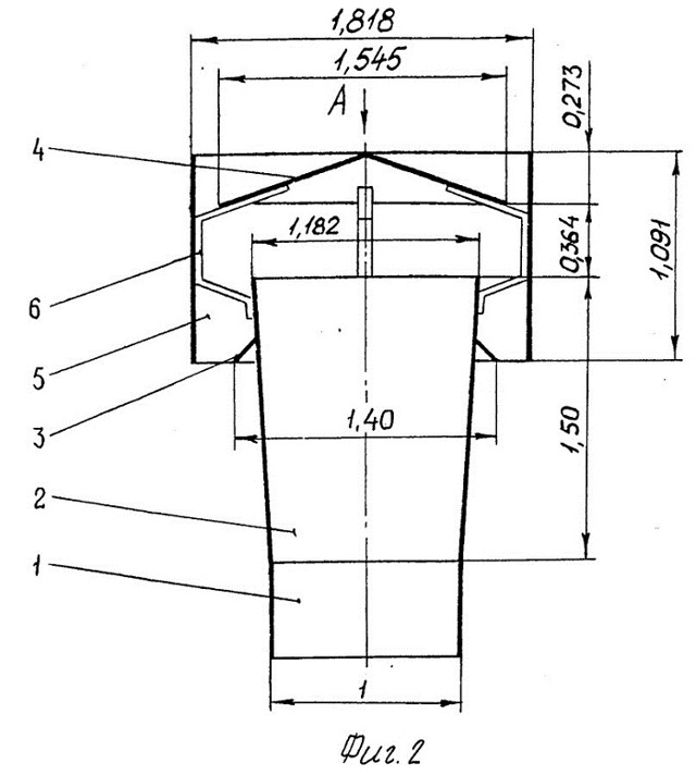
  1. Tuyau de dérivation cylindrique - un verre qui sera posé sur le tuyau de cheminée. Pour la fabrication, vous avez besoin d'une tôle. Nous en découpons un rectangle d'une longueur égale à la longueur du cercle situé à la base (Fig. 2).

Vous pouvez calculer les dimensions requises à l'aide de la formule : "L = π × D", où L est la longueur, π≈ 3,14 et D est le diamètre de cylindre souhaité. Nous plions soigneusement la bande résultante avec un tuyau, par exemple, dans un cône, combinons les bords, perçons plusieurs trous dessus et les fixons avec des rivets.

  1. Treillis métallique - un réseau avec des cellules. Il est préférable d'acheter une base en treillis en acier inoxydable prête à l'emploi. Un cylindre basé sur celui-ci est fabriqué de la même manière qu'un verre.
  2. Capuchon de protection pour parapluie - l'essentiel ici est de modeler correctement le cône. Pour ce faire, nous calculons le rayon de pièce requis à l'aide de la formule: "C \u003d √ (h² + (D / 2)²)", où C est la longueur de la composante latérale du cône, h est la hauteur requise, D est le diamètre. Pliez soigneusement le scan découpé fini avec un cône (Fig. 3)
  3. Les racks pour connecter les pièces en une seule structure sont fabriqués à partir de la même tôle. (Riz.4) La longueur des poteaux est déterminée par les dimensions de la structure, en tenant compte de la marge requise par le bas (environ 20 mm pour 1-2 rivets de fixation au verre). Il est préférable de placer ces éléments à un angle par rapport à la verticale - du tuyau aux bords du parapluie.

Passons maintenant au montage. Nous attachons des supports pour 1-2 rivets au tuyau «en verre». Nous insérons un cylindre en treillis dans l'espace entre les supports de racks afin qu'il pénètre un peu dans le tuyau inférieur et repose sur le cône. Maintenant, nous exposons le champignon - nous plions les patins de montage des racks afin qu'ils s'adaptent parfaitement à l'intérieur du cône. Nous forons des trous à travers les racks et le parapluie, après quoi nous fixons enfin toute la structure.

Calcul de la taille

Avant de commencer les travaux, vous devez mesurer les dimensions de la cheminée, conformément auxquelles les croquis de l'appareil seront affichés.

Il est également important de déterminer la taille correcte des cellules - elles ne doivent pas dépasser 5 mm

Caractéristiques de montage

L'installation correcte dépend des dimensions des pièces de l'appareil. Au moindre écart entre les diamètres, il ne fonctionnera pas d'installer un pare-étincelles sur le tuyau. Une machine à souder est utilisée pour connecter des éléments individuels. Les joints obtenus après soudage doivent être soigneusement nettoyés. Pour la fixation finale, vous aurez besoin de rivets ou de supports.

Vidéo : Un pare-étincelles de cheminée sauvera votre vie et vos biens

C'est intéressant : Les principaux camions de pompiers - applications générales et ciblées

Sortes

Des structures spéciales d'extinction d'étincelles peuvent être fabriquées dans une variété de conceptions, différant à la fois par leurs dimensions, ainsi que sous forme. Les options de conception les plus courantes pour les pare-étincelles sont :

  • une housse de protection réalisée à base d'un maillage fin ;
  • un capuchon de forme spéciale qui remplit à la fois la fonction de pare-étincelles et de déflecteur (dispositif qui modifie le sens d'écoulement).

Comment faire un pare-étincelles sur la cheminée de vos propres mains

En raison du fait que les pare-étincelles empêchent partiellement la libre circulation des produits de combustion, dans leur conception, l'effet de réduction du tirage dans le tuyau doit être minimisé.

Lire aussi :  Comment choisir un robinet de cuisine: conseils pour choisir, meilleures options, évaluation du fabricant

Sur la base de cette exigence, des types de structures connus (un pare-étincelles pour un poêle à ventre plat, par exemple) sont réalisés de manière à ce que l'écrasement des étincelles ne provoque pas de ralentissement du flux de fumée.

A cet effet, leurs tailles sont strictement standardisées ; de plus, les diamètres du déflecteur ou du carter dans ce cas (selon la poussée développée) peuvent varier de 80 à 550 mm. La taille structurelle de l'auvent du tuyau dépend directement des dimensions de ce dernier.

Comment faire un pare-étincelles sur la cheminée de vos propres mains

Un produit acheté qui combine les fonctions d'un pare-étincelles et d'un déflecteur en même temps (deux en un), qui peut également avoir une variété de conceptions, est particulièrement intéressant.

Variétés de déflecteurs de cheminée

Les déflecteurs modernes pour cheminées sont représentés par de nombreux modèles différents, dont les plus populaires sont :

  • TsAGI.
  • Déflecteur Grigorovitch.
  • Wolper.
  • En forme de H.
  • Girouette.
  • Poupée.
  • Tournant.
  • Pare-étincelles.

Comment faire un pare-étincelles sur la cheminée de vos propres mains

TsAGI

Une version universelle des déflecteurs, développée par le Central Aerohydrodynamic Institute. Les éléments structurels de l'appareil sont un tuyau fixé sur la cheminée, un diffuseur, un anneau et un parapluie.

Le principal avantage de TsAGI est l'emplacement pratique du parapluie, lorsque les masses d'air chaud sont évacuées par le conduit de ventilation, ce qui entraîne une augmentation de la traction.TsAGI est utilisé pour protéger les systèmes de ventilation et de cheminée.

Comment faire un pare-étincelles sur la cheminée de vos propres mains

Cette conception coupe efficacement le flux d'air entrant pour éliminer rapidement la fumée de la cheminée. Dans le même temps, le parapluie est situé à l'intérieur du cylindre, il offre donc une protection maximale contre les effets négatifs des précipitations.

Un inconvénient important de la conception est la complexité de la production, il est donc assez difficile d'assembler le déflecteur TsAGI à la maison.

h3 id="deflektor-grigorovicha">Déflecteur Grigorovicha

La version la plus abordable de l'appareil, qui peut être fabriquée indépendamment de matériaux improvisés. La conception se compose d'un cylindre supérieur, d'un cylindre inférieur avec des buses, d'un cône et de supports de montage.

Comment faire un pare-étincelles sur la cheminée de vos propres mains

Comment faire un pare-étincelles sur la cheminée de vos propres mains

Le déflecteur Volpert-Grigorovich est utilisé avec succès pour protéger la hotte et la cheminée. Le principal avantage de l'appareil est la simplicité de conception, et l'inconvénient est l'emplacement élevé du parapluie par rapport au diffuseur, ce qui entraîne un soufflage de fumée sur les côtés.

En général, un tel dispositif n'augmente pas efficacement la traction, mais empêche la pénétration des précipitations dans la conduite.

Comment faire un pare-étincelles sur la cheminée de vos propres mains

Loup rond

Un tel dispositif est presque identique au déflecteur TsAGI, mais avec la seule différence - il y a une visière de protection contre les précipitations et la pollution, située au-dessus du diffuseur.

Comment faire un pare-étincelles sur la cheminée de vos propres mains

Appareil en forme de H

Le déflecteur en forme de H permet l'utilisation de sections de tuyau, il est donc capable de résister à des charges de vent extrêmes. Les principaux éléments structurels sont montés avec la lettre H, à l'exclusion de la pénétration de précipitations et de pollution dans le tuyau en raison du tuyau de dérivation horizontal.

Les éléments verticaux latéraux contribuent à augmenter le tirage interne, ce qui entraîne l'évacuation simultanée de la fumée dans différentes directions.

Comment faire un pare-étincelles sur la cheminée de vos propres mains

Girouette

Une autre version du déflecteur de cheminée, qui est représentée par des visières reliées les unes aux autres, tournant en cercle. Pour assurer un mouvement constant sous l'influence des masses d'air, une girouette spéciale est installée dans la partie supérieure de la structure. De nombreux modèles sont équipés d'une petite flèche qui détermine la direction du vent.

Comment faire un pare-étincelles sur la cheminée de vos propres mains

En coupant les courants d'air, les visières entraînent une augmentation du tirage dans la cheminée. De plus, ils protègent la chaudière ou le poêle d'éventuelles contaminations extérieures.

Un inconvénient important de la conception est la fragilité du roulement qui assure le mouvement des visières.

Déflecteur de disque

Une option simple et abordable pour protéger le système de cheminée, offrant une traction élevée. Les principaux éléments structurels créent une visière spéciale pour protéger la cheminée de la pollution et des précipitations.

En bas, la visière est équipée d'un capuchon dirigé vers le tuyau. Les masses d'air entrant dans le déflecteur créent un canal étroit et raréfié, ce qui permet de doubler la poussée interne.

Comment faire un pare-étincelles sur la cheminée de vos propres mains

Déflecteur rotatif

Un tel appareil peut tourner à cause des masses d'air dans une direction, donc par temps calme, il est absolument immobile. Lorsqu'il y a beaucoup de glace, la structure turbo devient inutile, elle nécessite donc un chauffage ou un nettoyage périodique.

Le déflecteur turbo protège de manière fiable le système de cheminée contre le colmatage et les effets négatifs des précipitations. Si une chaudière à gaz est utilisée comme générateur de chaleur, il serait rationnel d'utiliser une telle cheminée.

Comment faire un pare-étincelles sur la cheminée de vos propres mains

pare-étincelles

Il existe des modèles d'appareils pour l'extinction sûre des étincelles. Ce sont généralement des structures équipées d'un cylindre et d'un parapluie à mailles fines.

Comment faire un pare-étincelles sur la cheminée de vos propres mains

Le pare-étincelles sur la cheminée fonctionne selon le principe suivant : le grillage retient les produits de combustion résiduels contenus dans les fumées

En conséquence, les étincelles tombant sur le déflecteur sont complètement atténuées, ceci est particulièrement important si le système de cheminée est situé à proximité d'objets inflammables ou d'espaces verts.

Le seul inconvénient de la conception est la probabilité d'une diminution de la traction si l'appareil est mal assemblé.

h2 id="naznachenie-iskrogasitelya">Affectation du pare-étincelles

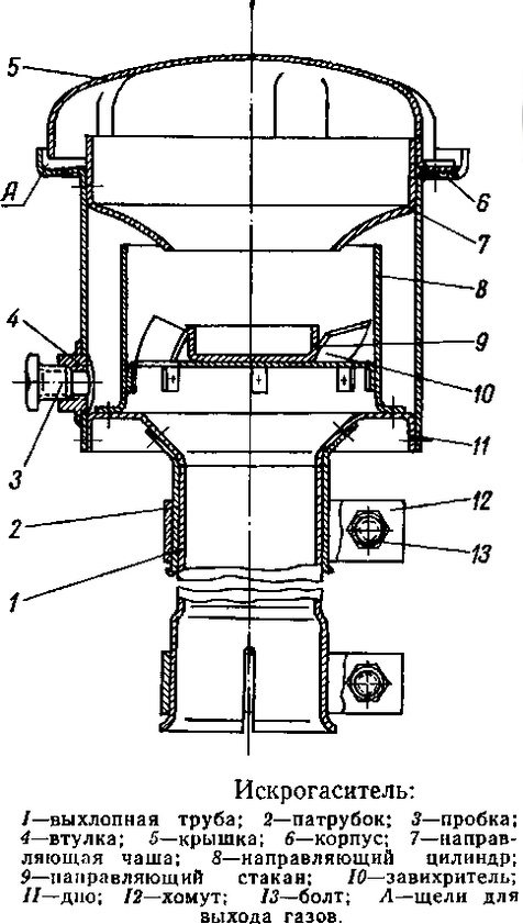
Un pare-étincelles est un dispositif nécessaire pour refroidir les particules qui pénètrent dans la cheminée pendant le processus de combustion. Il est installé sur la tête des tuyaux de cheminée.

Noter! La combustion de combustibles solides produit de la chaleur, de l'eau et du dioxyde de carbone. La chaleur transforme l'eau en vapeur

Les impuretés dans le carburant entraînent sa combustion incomplète, à cause de laquelle d'autres produits de combustion et des particules incandescentes non brûlées se forment. Ces dernières sont des étincelles qui sortent du tuyau sous l'action de la poussée.

Le carburant de haute qualité contient le moins de particules non combustibles. Le carburant de mauvaise qualité est le meilleur. Le danger des étincelles est qu'elles ne refroidissent pas lorsqu'elles se déplacent le long d'un tuyau plat. Les particules chaudes, tombant à l'extérieur, peuvent enflammer des sections du toit, des arbres, de l'herbe, des murs de la maison. Dans ce cas, le risque d'incendie augmente.

Les conceptions des cheminées modernes comprennent plusieurs étapes de refroidissement par étincelle. Pour cela, créez des obstacles, des flux turbulents et des branches horizontales.Leur objectif principal est d'assurer le contact des particules chaudes avec la paroi du tuyau.

Dans ce cas, les étincelles transfèrent leur chaleur à la cheminée et elles-mêmes sont refroidies. Le problème est que le tuyau chauffe rapidement et perd sa capacité à refroidir les solides. De plus, l'écoulement turbulent à l'intérieur du tuyau réduit le tirage de la cheminée.

Un obstacle supplémentaire à la voie des étincelles vers l'extérieur est un pare-étincelles. Il ne réduit pas le tirage dans la cheminée, mais refroidit les particules qui remontent. Le pare-étincelles piège mécaniquement les étincelles et les refroidit. Cela réduit le risque qu'ils se propagent à l'extérieur de la cheminée et provoquent un incendie.

Objectif fonctionnel

Comment faire un pare-étincelles sur la cheminée de vos propres mains

À première vue, il peut sembler qu'un auvent monté sur une cheminée n'est rien de plus qu'une décoration pour la maison. Mais en fait, la verrière remplit de nombreuses fonctions utiles. Principalement en déviant le flux, il contribue à augmenter le tirage d'air dans la conduite. De plus, la visière remplit des fonctions de protection, empêchant la pénétration de précipitations. En plus des propriétés déjà mentionnées dans le paragraphe, il en existe d'autres :

  1. Protection contre les débris. Le vent peut apporter des feuillages, des plumes, qui obstruent la cheminée, à cause de quoi il y a une menace de fumée dans la pièce.
  2. Augmenter l'efficacité d'une cheminée ou d'un poêle. Augmente la puissance de la hotte d'environ 20%, le déflecteur permet d'entretenir le feu et de ne pas le laisser s'éteindre. À son tour, pendant les temps d'arrêt du poêle dans le sauna, une ventilation naturelle apparaît. Il aide à se débarrasser de l'odeur d'humidité et à vider rapidement la pièce.
  3. Renforcement du tuyau. Si la cheminée est en brique résistante au feu, un capuchon dessus aidera à prévenir la destruction prématurée de la structure.

En plus de ce qui précède, ce pare-étincelles sur le tuyau de cheminée empêche les tourbillons et les turbulences dans la cheminée. Cela signifie que les résidents de la maison n'entendront pas de bruits incompréhensibles qui apparaissent en raison des vibrations des tuyaux.

Tout cela indique l'importance significative du produit et son choix, la fabrication doit être abordée avec tout le sérieux.

L'un des éléments importants du déflecteur est un goutte à goutte. Il assure un drainage de haute qualité de l'eau du tuyau de cheminée. Si ce détail est négligé, le givrage et la destruction de la maçonnerie sont possibles.

Et faites également attention au matériau à partir duquel l'élément est fabriqué. Il doit facilement tolérer l'humidité, être résistant aux températures élevées, résister à la glace en hiver

Les pare-étincelles les plus simples

En pratique, plusieurs structures simples sont utilisées :

  • Lors de l'utilisation d'une cheminée en métal, il est nécessaire de fermer son extrémité supérieure avec un bouchon en acier. Après cela, il est nécessaire de percer une série de trous en damier autour de la circonférence du tuyau d'un diamètre d'environ 3 à 5 mm. Lorsque la fumée traverse ces trous, la plupart des étincelles s'éteignent. La simplicité de la conception présente un inconvénient: le tirage du four est considérablement réduit. De plus, les trous percés se bouchent rapidement avec de la suie ou du goudron.
  • Dans certains cas, un déflecteur standard installé en tête de canalisation peut remplacer le pare-étincelles par une cheminée. Ce dispositif empêche l'inversion de poussée par vent fort et éteint une quantité importante d'étincelles. Lorsque vous choisissez cette option, gardez à l'esprit que le déflecteur n'est pas conçu pour éteindre les étincelles, sa fiabilité est donc limitée.
Lire aussi :  Fosses septiques "Triton": principe de fonctionnement, gamme de modèles + avantages et inconvénients

Installer ou non un bouchon

D'un point de vue technique, un capuchon est un dispositif métallique spécial qui protège la sortie de la cheminée des effets négatifs des facteurs atmosphériques. Cela ne doit en aucun cas affecter les paramètres de conception du tirage, ne pas fausser les conditions initiales de circulation des flux d'air, etc. La présence d'autres dispositifs plus complexes sur la cheminée doit être prévue au stade de la conception du chauffage.

Chapeau de cheminée

Comme vous l'avez remarqué, toutes les cheminées n'ont pas de bouchons, car les propriétaires de l'immeuble ont leurs propres croyances, elles sont souvent contradictoires, mais tout le monde a droit à la vie. Avant de prendre une décision finale, vous devez vous familiariser avec le point de vue des opposants et des partisans de telles structures.

Table. Avantages et inconvénients de l'installation de hottes

Fonctions exercées Brève description des spécifications réelles
Ferme la sortie de la cheminée du vent soufflant Sur le toit des bâtiments, la direction du vent change en fonction de la taille, de l'emplacement et de l'angle des pentes. Pour éviter l'apparition d'une poussée inverse, des calculs techniques spéciaux de chauffage sont effectués, qui régulent la hauteur de la cheminée en fonction de son emplacement et de sa distance par rapport à la crête. Le vent en terrain plat ne souffle jamais vers le bas, seuls les tourbillons du toit peuvent lui donner une telle direction. Une autre raison du tirage inversé est l'absence totale de flux d'air naturel dans la pièce ou une ventilation forcée trop puissante. Une hotte, si elle est correctement dimensionnée et typée, brise le flux d'air et assure un tirage adéquat dans la cheminée.
Protège la cheminée de la pluie et de la neige, prévient la pollution mécanique et la nidification des oiseaux Il y a un problème ici - seul le filet protège des oiseaux, la visière doit être protégée sur tout le périmètre. Des condensats gelés peuvent apparaître sur le réseau et réduire considérablement la traction. Il est inutile de nettoyer, l'eau sous certaines conditions climatiques gèlera à nouveau. Il faut parfois monter sur le toit en hiver, retirer la grille et ainsi rétablir la traction. Ce n'est pas souhaitable, faire des travaux sur le toit en hiver est très dangereux.
Augmente la durée de vie du chapeau de cheminée Déclaration tout à fait correcte. Mais pour cela, vous n'avez pas besoin d'un produit décoratif complexe, mais d'un seul de ses éléments - un capuchon.
Améliore l'apparence du bâtiment Une belle casquette au design original a vraiment un effet positif sur l'apparence. Il existe des projets exclusifs qui permettent de souligner le prestige de l'immeuble et la solidité financière de leurs propriétaires.

Comme vous pouvez le voir dans la liste, le nombre de conséquences positives et négatives de l'installation du capuchon est à peu près égal, d'où la conclusion - prenez votre propre décision. Mais rappelez-vous une exigence universelle de la réglementation : toutes les buses et tous les appareils ne doivent pas interférer avec la libre sortie de la fumée et ne pas aggraver les performances calculées.

Sortes chapeaux de cheminée

Pourquoi avez-vous besoin d'un capuchon sur le tuyau de cheminée

Tout d'abord, la cheminée est installée afin d'augmenter la traction grâce à la divergence des flux d'air. Il existe plusieurs fonctions de l'appareil:

  • Protège l'appareil de la pénétration de l'eau et de la neige. Avec de fortes pluies, une énorme quantité de précipitations peut s'accumuler dans la structure, qui, au contact des gaz de combustion, forme des composés acides. Le capuchon de la cheminée, à son tour, protège l'embouchure du tuyau de la pénétration d'humidité indésirable;
  • Empêche les objets indésirables d'entrer dans la structure ;
  • Améliore la motricité. A cet effet, des déflecteurs de différentes variantes sont pensés.

Bouchon sur le tuyau de cheminée - matériaux de fabrication

Pour une fonctionnalité sans problème de l'appareil, il est nécessaire d'aborder de manière responsable la sélection du matériau pour la production directe. L'un des matériaux les plus populaires est le cuivre car il est durable et a un aspect esthétique. Si le capuchon du tuyau de cheminée est constitué d'un autre matériau de construction, tous les éléments de montage doivent être en laiton.

La girouette sur la cheminée, en acier inoxydable ou galvanisée, est spectaculaire. Le plus populaire est l'appareil en acier inoxydable avec gaine en polymère. La durée de vie d'un tel appareil atteint 20 ans. Le revêtement en polymère permet de choisir une casquette assortie au toit.

De belles girouettes forgées deviendront une véritable décoration du toit

Variété de chapeaux de cheminée

Le type de girouette est basé sur la structure du tuyau et la forme extérieure.

Types de cheminées :

  • Généralement accepté. Ce type de girouette ressemble à une cabane au-dessus du tuyau. Ce type de conception peut avoir une variété de configurations ;
  • Luminaires européens pour cheminées. Une caractéristique clé de la structure est un capuchon de forme arrondie. La tâche principale du produit est d'empêcher la formation de condensat et de ventiler la pièce;
  • Un appareil avec un dôme à plusieurs pas. L'avantage de la conception est la présence de deux pentes. Ce type de produit contribue à l'économie maximale du tuyau contre les précipitations;

Cheminée avec hotte à plusieurs pans

Girouette pour cheminée en brique

  • Avec couvercle ouvrant.Cette structure vous permet d'effectuer rapidement toutes les manipulations nécessaires concernant l'entretien du tuyau. L'objectif principal est la ventilation globale;
  • Avec déflecteur. Cette conception peut en outre être équipée d'un couvercle pivotant. Fournit un impact direct sur la puissance de traction.

Article associé:

Comment choisir et acheter un chapeau de cheminée, compte tenu de sa structure ?

Lors du choix d'un produit, il est nécessaire de prendre en compte la structure directe de la cheminée. L'option idéale est un dispositif à trois couches à partir de panneaux sandwich modulaires. Avec un tel appareil, vous ne pouvez pas vous soucier de protéger la cheminée des précipitations. Depuis, toute l'humidité qui pénètre à l'intérieur de la structure est collectée dans la collection.

En ce qui concerne les appareils à gaz, dans ce cas, la buse est la plus préférable. La meilleure option pour un système à combustible solide est un déflecteur de girouette.

Il n'y a pas de contre-indications pour les tuyaux en briques en conjonction avec un système à combustible solide et vous pouvez donner la préférence à n'importe quel bouchon que vous aimez.

Schéma d'installation du système de cheminée

Faire une visière de vos propres mains

Pour fabriquer correctement un chapeau de cheminée à faire soi-même, vous devez utiliser les dessins d'échantillons plus simples.

Les outils et matériaux suivants sont nécessaires pour le travail :

  • Acier galvanisé, cuivre ou acier inoxydable ;
  • ciseaux pour le métal;
  • Pince, maillet, étau.

Bouchons pivotants en acier galvanisé

Algorithme d'exécution des travaux :

  • La fabrication de la visière doit commencer par des mesures de la cheminée.
  • Formation du schéma sur papier. Il convient de garder à l'esprit que l'appareil doit être porté librement sur le tuyau. Par conséquent, un espace d'environ 2-3 mm est ajouté aux dimensions existantes du tuyau.

Schéma du capuchon sur la cheminée

  • Le dessin fini doit être transféré sur le matériau de construction et découpé;
  • Les côtés de la pièce le long de la ligne pointillée "a" sont pliés à un angle de 90 degrés. Ensuite, une procédure similaire doit être effectuée avec des lignes droites marquées de la lettre "d". Aux points de fixation, il faut faire 3 trous traversants (pas de 15-20 cm) et fixer la structure avec des rivets ;

Dessin d'un compte-gouttes de tablier avec des marques

Options de conception de tablier

Création d'un pare-étincelles maison

Il n'est pas toujours possible de trouver un produit de la forme et du design souhaités. Dans de tels cas, vous pouvez résoudre le problème en fabriquant vous-même un pare-étincelles.

Pour créer un pare-étincelles de vos propres mains, vous n'avez besoin que d'un minimum de connaissances et de compétences.

La règle la plus importante est que la taille d'une cellule de grille carrée ne doit pas dépasser 5x5 millimètres. Faire moins de 2x2 millimètres n'est pas non plus recommandé: les produits de combustion et la suie du four s'accumuleront, ce qui obstruera rapidement le maillage, et la fumée le traversera plus mal.

Lire aussi :  Comment éliminer les tuyaux bouchés à la maison : les meilleurs outils et méthodes de nettoyage

Outils pour le travail

Pour fabriquer un extincteur maison, vous aurez besoin du matériel et des outils suivants :

  • broyeur ou ciseaux pour le métal;

  • machine à souder (pas toujours nécessaire);

  • tôles et 3 bandes de 10-15 mm de large (acier inoxydable, fer galvanisé);

  • treillis métallique (l'épaisseur des tiges ne dépasse pas 6 mm, les mailles sont de 5x5 mm);

  • crayon, règle, marteau, pinces ;

  • comme gabarit, vous aurez besoin d'une cheminée du même diamètre que la cheminée.

Création pas à pas d'un pare-étincelles en maille avec un parapluie

La première et la plus importante tâche dans la création de tout design est un croquis.Cela vous permet de ne pas garder à l'esprit les dimensions et de l'utiliser comme une aide visuelle. Par conséquent, avant de commencer le travail, vous devez décider exactement à quoi ressemblera le produit.

Points supplémentaires :

  1. Enveloppez le tuyau de cheminée avec un treillis métallique avec un chevauchement d'environ 10-15 mm, puis coupez un morceau du diamètre souhaité.

  2. Enveloppez le tuyau utilisé pour le modèle avec le maillage résultant.

  3. Au lieu de chevauchement, il est nécessaire de fixer une bande métallique de 10 à 15 mm de large, dépassant en haut au-delà des bords de la grille de 3 à 5 mm.

  4. La bande est soudée au treillis (soit on utilise une riveteuse, soit elle est boulonnée).

  5. Renforcez 2 bandes supplémentaires à égale distance du chevauchement du treillis - ces bandes avec rebords deviendront les supports du parapluie. Vous devriez obtenir un cylindre de treillis avec trois bandes métalliques saillantes.

  6. Un cercle est dessiné sur une feuille de métal, environ 100 mm plus grand que le diamètre du tuyau. Il doit être coupé avec des ciseaux, une meuleuse ou un autre outil.

  7. Ensuite, vous devez couper le coin: pour cela, le rayon du cercle est pris et un angle de 15 à 25 degrés est marqué à partir du centre et découpé dans la feuille.

  8. Le cercle résultant avec un coin coupé doit être roulé dans un cône avec un chevauchement de 10-15 mm. Peut être fixé par soudage ou rivetage. Alternativement, vous pouvez couper 4 triangles équilatéraux dans une feuille et les souder en pyramide.

  9. Fixez les deux éléments obtenus : le cylindre grillagé et le cône du couvercle. Il ne doit pas y avoir d'espace libre entre le toit et le treillis à travers lequel des étincelles peuvent s'échapper. Il est préférable de fixer avec une machine à souder. Le résultat est un extincteur fini.

La structure est installée sur la cheminée de deux manières. Le premier est avec une pince vendue dans les quincailleries.

La deuxième option consiste à fabriquer votre propre pince à partir d'une bande de métal. Il vaut mieux ne pas le souder: vous pouvez faire des trous dans le tuyau et installer le pare-étincelles sur les boulons.

Création étape par étape d'un pare-étincelles plus simple à partir d'une feuille de métal

Il existe un moyen plus simple de créer un pare-étincelles fait maison. Dans ce cas, seule une fine feuille d'acier inoxydable est nécessaire pour le travail. La largeur de la feuille doit être supérieure de 10 à 15 cm au diamètre de la cheminée (pour le chevauchement). Longueur - environ 20-30 cm.

Comment faire un pare-étincelles sur la cheminée de vos propres mains

Feuille pare-étincelles

Séparément, vous aurez besoin d'un autre morceau de métal - pour le capuchon d'extrémité.

Le processus de création ressemble à ceci :

  1. Nous plions une feuille de métal et l'enroulons autour du tuyau, avec un chevauchement de 10-15 cm.

  2. Nous fixons la feuille pliée (nous obtiendrons un tuyau) par chevauchement - à l'aide de boulons ou de soudure.

  3. Nous fermons l'une des extrémités du tuyau résultant avec un deuxième morceau de métal et le soudons.

  4. Nous coupons des fentes dans le tuyau ou faisons des trous de petit diamètre (5-10 mm). Vous pouvez le faire avec une perceuse.

  5. Nous installons la structure résultante sur la cheminée et la fixons (avec des boulons ou des soudures).

En termes de fabrication, c'est une option simple et rapide, mais en fonctionnement, c'est loin d'être le meilleur. L'inconvénient est qu'un artisan inexpérimenté ne sera probablement pas en mesure de calculer avec précision le nombre et le diamètre des trous. En conséquence, le tirage de la cheminée peut être aggravé.

De plus, un tel pare-étincelles deviendra rapidement sale et devra être retiré plus souvent pour le nettoyage. Par conséquent, cette conception peut convenir comme remplacement temporaire ou pour les bâtiments dans lesquels le four est rarement utilisé.

Comment faire un pare-étincelles sur les cheminées ?

Fabriquer un pare-étincelles de vos propres mains est très simple, pour cela, vous n'avez pas besoin d'acheter des matériaux ou des outils coûteux, presque tout ce dont vous avez besoin est probablement en stock chez un propriétaire zélé de la maison. Avant le travail, il suffit de déterminer avec précision la conception du futur appareil, de retirer toutes les dimensions de la cheminée, de dessiner un croquis conforme à toutes les dimensions, selon lequel le métal sera coupé et le pare-étincelles lui-même sera assemblé .

Afin de fabriquer de vos propres mains un pare-étincelles pour un tuyau, vous devez préparer les outils et matériaux les plus simples:

Dispositif pare-étincelles.

  • des tiges métalliques d'un diamètre allant jusqu'à six millimètres (de préférence un mm pour que les gaz puissent passer librement à travers la grille). Au lieu de barres, vous pouvez utiliser un morceau de treillis métallique;
  • une feuille de métal d'une épaisseur d'un millimètre;
  • broyeur, ciseaux métalliques;
  • crayon simple, règle;
  • rivets en acier (l'aluminium ne donnera pas une fixation fiable);
  • machine à souder et pinces pour fixer le matériau avant le soudage.

Tous les travaux sont mieux effectués sur une surface horizontale, mesurez d'abord les dimensions de la cheminée. Il est recommandé de décider immédiatement de la conception, de dessiner un croquis avec les dimensions exactes, qui seront nécessaires lors de la découpe du matériau, de l'assemblage de l'appareil lui-même pour l'installation sur la cheminée.

Le processus d'installation de l'équipement pare-étincelles est très simple :

  1. Tout d'abord, un croquis est dessiné pour le futur appareil.
  2. Après cela, l'acier jusqu'à 1 mm d'épaisseur est coupé selon le projet (en fonction de la taille de la cheminée elle-même).
  3. Un treillis métallique à alvéoles de 5 mm est également découpé selon les dimensions de la cheminée installée. Cela peut être fait à l'aide de coupe-fils préparés ou de ciseaux pour le métal.
  4. Un tuyau d'un diamètre adapté à une cheminée est coupé de manière à obtenir une base pour l'installation d'une grille.

Les travaux supplémentaires sur la fabrication d'un pare-étincelles comprennent:

  1. Barres qui sont placées parallèlement les unes aux autres sur la grille, laissant une partie pour la fixation au tuyau. Nous les pressons avec un marteau, tous les joints sont soudés avec une machine à souder.
  2. Le treillis résultant doit être enroulé autour du tuyau, pressé avec des pinces. Vous devez taper sur la grille avec un marteau - de cette façon, la contrainte sera supprimée du métal.
  3. Après le pliage, tous les bords et joints sont soudés.

Vous pouvez prendre un morceau de treillis prêt à l'emploi, acheté précédemment, qui est attaché au tuyau de base de la même manière.

Nous montons le déflecteur et fixons le pare-étincelles fini

Maintenant, nous fabriquons un déflecteur pour le tuyau. Nous découpons une visière en forme de cercle dans une feuille de métal, la plions (tous les plis sont fixés par le haut avec des rivets), nous obtenons un petit cône d'un diamètre supérieur au diamètre du tuyau principal. Ce sera notre visière.

Le déflecteur est fixé à la grille et à la base du pare-étincelles à l'aide de bandes métalliques soudées ou fixées avec des rivets en acier ordinaire. Le pare-étincelles fini peut être installé sur les cheminées en utilisant différentes options de montage pour cela (en fonction du matériau de la cheminée elle-même). Ceux-ci peuvent être des vis autotaraudeuses, des boulons, il faut prévoir la possibilité de démontage pour.

Les pare-étincelles sont un élément supplémentaire équipé de tuyaux pour protéger les bâtiments des incendies, ils sont placés au sommet des cheminées. Il s'agit d'un maillage spécialement installé et d'un déflecteur qui empêche les étincelles d'atteindre la surface du toit. Tous, en passant par la grille, sont simplement éteints sur ses cellules.

Il est recommandé d'installer un tel appareil pour les bains, les saunas, lors de la couverture de la maison avec des matériaux inflammables. De plus, le pare-étincelles maintient les oiseaux, les corps étrangers, les brindilles et autres débris hors de la cheminée, ce qui réduit considérablement la fréquence des ramonages. L'installation d'un pare-étincelles garantit la plus grande sécurité possible. Vous pouvez fabriquer un tel appareil de vos propres mains, pour cela vous avez besoin des matériaux et des outils les plus simples, l'installation elle-même prend un minimum de temps.

Évaluation
Site sur la plomberie

Nous vous conseillons de lire

Où remplir la poudre dans la machine à laver et combien de poudre verser