- 2 Comment choisir une pompe à main ?
- 2.1 Quelles sont les étapes de fabrication et de raccordement d'une pompe à main ?
- Options possibles pour les pompes à main à faire soi-même
- Mini pompe de transfert d'eau
- Comment fabriquer sa propre pompe ?
- Étape 1 : Élaboration du dossier
- Étape 2 : Construire les couvercles
- Étape 3 : Pièces supplémentaires sur le corps
- Étape 4 : Assemblage du piston
- Étape 5 : Installation des vannes
- Étape 6 : Montage du tuyau d'admission
- Étape 7 : Montage de la poignée, de la tige et du support
- Pompe à main bricolage
- Vidange par la poignée
- Assemblage de drain latéral
- Piston hydraulique en spirale
- Comment fabriquer soi-même une mini pompe
- 1 Caractéristiques opérationnelles des pompes à main
- 1.1 Avantages et inconvénients
- 1.2 Classification des pompes à main
2 Comment choisir une pompe à main ?
Le choix d'une pompe manuelle de transfert de fluide dépendra d'un certain nombre de facteurs :
Bien en profondeur.
Le critère le plus important lors de l'achat d'un équipement ou de sa fabrication soi-même. Pour soulever l'eau d'une faible profondeur (jusqu'à 10 m), vous pouvez utiliser des mécanismes simples avec un système de piston. Si vous devez pomper du liquide d'un puits abyssin d'une profondeur de 10 à 30 m, vous devrez choisir un appareil avec un système de tige.
Diamètre du puits.
Les experts recommandent de forer un puits d'un diamètre supérieur à 4 pouces - alors toute pompe avec un levier à main fonctionnera pour fournir de l'eau à partir de la profondeur.
Méthode de montage.
Lors de la sélection d'un appareil, vous devez réfléchir à l'avance s'il est nécessaire de le déplacer davantage vers un autre objet. Un tel besoin survient souvent lorsque du liquide est prélevé de la rivière pour les besoins domestiques et d'un puits pour boire.
période d'utilisation.

L'élément principal d'une pompe à main est un piston dans un tuyau
En vente, il existe des modèles conçus pour une utilisation toute l'année, ainsi que des options peu coûteuses avec un boîtier en plastique pour une utilisation en été.
En considérant chaque détail à l'avance, vous pouvez être sûr que la pompe à main pour le pompage de l'eau répondra aux attentes de l'utilisateur.
2.1 Quelles sont les étapes de fabrication et de raccordement d'une pompe à main ?
Assembler une pompe à main de vos propres mains à partir de moyens improvisés est une tâche réalisable pour tout homme. L'essentiel est de suivre strictement les instructions indiquées:
Nous fabriquons le corps.
Pour le corps d'une pompe artisanale, vous aurez besoin d'un cylindre en métal - il peut s'agir d'un morceau d'un vieux tuyau ou d'un manchon inutile d'un moteur diesel. La longueur du segment doit être d'environ 60 à 80 cm et le diamètre doit être supérieur à 8 cm.
Pour assurer le fonctionnement de haute qualité des futurs équipements, il est nécessaire d'usiner la surface intérieure du tuyau sur la machine. En débarrassant le métal des aspérités, vous allégerez l'effort qui sera nécessaire pour pomper l'eau.
Découpez le couvercle.
Pour sa fabrication, vous pouvez utiliser du métal ou du plastique. Dans le couvercle, assurez-vous de faire un trou pour la tige. Lorsque la conception est prête, le piston est placé à l'intérieur. Après cela, le fond est fermé avec exactement le même couvercle avec une valve. Un tuyau d'alimentation en eau est soudé sur le côté.
Pose de pistons.
Le piston peut être en bois, en plastique ou en métal, la règle principale est qu'il doit être scellé avec un anneau en caoutchouc.Lors de l'installation de cet élément structurel, il est nécessaire de laisser un espace minimum entre les parois du boîtier, afin que l'eau ne s'infiltre pas.
Raccordement du tuyau d'admission au puits.

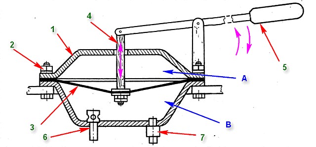
Éléments pour créer une pompe à main avec vos propres mains
Le tuyau d'arrivée d'eau qui alimente l'intérieur de l'appareil doit être solide et durable. Pour assurer ces caractéristiques, choisissez des tuyaux renforcés, des éléments en plastique rigide ou des tuyaux en acier.
Pose de vannes.
Les clapets anti-retour sont des trous spéciaux créés dans le corps du piston et le couvercle inférieur du cylindre métallique. Ils déterminent les performances de l'ensemble du système. Les vannes empêchent le fluide de retourner dans le tuyau d'admission.
Pour les créer, vous pouvez utiliser du caoutchouc épais, qui est fixé sur le trou avec des rivets.
Travail décoratif.
Une pompe à main faite maison doit avoir une poignée confortable. Sa forme peut être quelconque, l'essentiel est de fixer solidement l'élément à la tige. De plus, la pompe elle-même doit être fixée sur le site préparé à l'aide d'une bride.
Après avoir réalisé l'ensemble des travaux des travaux ci-dessus, vous assurerez un approvisionnement en eau ininterrompu sur votre propre site.
Options possibles pour les pompes à main à faire soi-même
Il existe de nombreuses options pour remonter l'eau à la surface et, par conséquent, les conceptions nécessaires sont différentes dans chaque cas. Toutes les pompes à main pour le pompage de l'eau, fabriquées de manière artisanale, ne diffèrent que par la complexité de l'assemblage de la structure. Pour les créer, un socle de connaissances techniques particulièrement riche n'est pas requis, il suffit de faire des efforts et de l'envie. L'aspect financier de la question est tout simplement négligeable, et parfois il suffira d'avoir tous les matériaux pratiques qui sont en abondance dans le pays.Examinons plus en détail comment fabriquer une pompe à eau à faire soi-même pour les besoins domestiques.
Mini pompe de transfert d'eau
Pour pomper n'importe quel liquide, les appareils qui ne nécessitent pas d'assemblage long sont particulièrement populaires. C'est une telle mini pompe à eau qui peut être rapidement construite à partir de contenants de limonade en plastique. Sa commodité réside également dans le fait qu'il n'y a pas besoin d'électricité. Vous pouvez l'utiliser en permanence, sans mettre aucune restriction sur les ressources en eau.
C'est la conception la plus simple de toute la liste énorme. Vous pouvez fabriquer vous-même une pompe artisanale pour faire déborder l'eau en quelques minutes. Les matériaux de départ appropriés sont: un tube ou un tuyau en caoutchouc, des cols de bouteilles en plastique avec des bouchons. Un tel appareil est extrêmement nécessaire sur toute parcelle personnelle où un arrosage fréquent et intensif est nécessaire.
L'essence du fonctionnement d'une telle pompe est de pomper du liquide d'un récipient à un autre.
Tout d'abord, vous devez créer une valve en forme de goutte. Le couvercle est pris et un cercle de plus petit diamètre est découpé dans la doublure intérieure, avec un petit segment sur le côté. Au lieu d'un joint Vous pouvez utiliser du ruban isolant ordinaire. Maintenant, nous forons un trou d'un diamètre allant jusqu'à 8 mm dans le bouchon de la bouteille. La valve finie est insérée dans le couvercle et le col coupé y est vissé. Nous plaçons n'importe quel tube fin dans le trou de la valve et posons dessus un morceau d'une autre bouteille, en forme d'entonnoir. D'autre part, un tuyau d'évacuation est mis en place.
Maintenant, tout est prêt à partir ! La partie d'admission est immergée dans un récipient d'eau et après un mouvement brusque de la main de haut en bas, le liquide commence à monter à travers le tuyau. Il n'est pas nécessaire de faire quoi que ce soit d'autre, puisque le processus de gravité est activé.
Une pompe à faire soi-même pour un aquarium fonctionne sur un principe similaire. Avec son aide, vous pouvez grandement faciliter le pompage de l'eau sale d'un grand réservoir.
Presque toutes les pompes remplissent la même fonction - pomper de l'eau du point a au point b. Étant donné que tout le monde n'est pas en mesure d'acheter une pompe coûteuse pour alimenter son ménage en ressources en eau, il devient pertinent et essentiel de fabriquer une pompe de ses propres mains.
Le pompage de l'eau du puits ne sera pas si fastidieux si vous utilisez des unités similaires pour cela. En plaçant un tuyau d'arrivée d'eau dans n'importe quel réservoir à proximité, un puits ou une fosse, vous pouvez irriguer librement toute la saison. Cet appareil polyvalent est utile pour éliminer l'excès d'eau du sous-sol, pour vidanger les fosses et bien plus encore.
Comment fabriquer sa propre pompe ?
Chaque homme qui connaît au moins un peu l'outil a la possibilité d'économiser de l'argent et de ne pas acheter une version commerciale de la pompe, et dans n'importe quel ménage, il existe des composants pour l'appareil le plus simple. Au début, les dessins peuvent causer des difficultés, il sera plus facile de les réaliser si nous déterminons dans quel ordre nous allons assembler une unité faite maison.
Étape 1 : Élaboration du dossier
Pour la base, vous aurez besoin d'un morceau de tuyau métallique dont le diamètre doit être d'au moins 8 cm et la longueur - 60–80 cm.Dans ce cas, l'épaisseur des parois du cylindre peut être quelconque. La condition principale est la douceur de la surface intérieure et l'absence de corrosion sur celle-ci. Il est préférable de faire le traitement sur la machine. La présence de la moindre irrégularité affectera le fonctionnement du piston et son usure.
Étape 2 : Construire les couvercles
Le cylindre doit être fermé des deux côtés. Pour ce faire, il est nécessaire de découper deux «morceaux ronds» en plastique ou en métal pouvant couvrir étroitement le diamètre du tuyau. Étant donné que vous ferez fonctionner une pompe artisanale en hiver, il est préférable d'utiliser du métal afin d'éviter de casser le couvercle lors du givrage. La présence d'au moins un couvercle fileté (supérieur) peut être considérée comme une solution absolument idéale. Cela facilitera grandement le fonctionnement de la pompe en cas d'éventuelles pannes. Des trous doivent être faits au milieu des couvercles. En haut - pour la tige, en bas - pour la soupape à disque.
Étape 3 : Pièces supplémentaires sur le corps
À une distance d'environ 20 cm du bord supérieur du cylindre, un «bec» de vidange doit être réalisé. Il est généralement fabriqué à partir d'un petit morceau de tuyau, dont le diamètre et la longueur peuvent être choisis indépendamment à votre discrétion. Il serait également utile de fixer au bas de la bride, grâce à laquelle il est possible de fixer la structure assemblée à la surface.
Étape 4 : Assemblage du piston
Le matériau pour la fabrication de cette pièce peut être quelconque. Bois, plastique, métal - tout dépend de la façon dont le maître lui-même voit les conditions de son fonctionnement. N'oubliez pas l'hiver, ainsi que les propriétés de certains matériaux à se dilater et à gonfler lorsqu'ils sont mouillés. Ne manquez pas non plus la nécessité de faire un trou pour la valve du piston. La condition suivante est que le diamètre du piston doit être tel que les bords touchent les parois internes du boîtier aussi étroitement que possible. Quoi qu'il en soit, il est nécessaire de munir en plus cette pièce d'un ou deux anneaux en caoutchouc qui excluent cet espace.
Étape 5 : Installation des vannes
La production de ces pièces est possible à la fois en caoutchouc, en silicone, en métal et en plastique.Tout dépend de l'imagination du créateur. L'essentiel est le respect du principe du mouvement "dans une direction". Ainsi, une vanne fixée au bas de la pompe doit laisser entrer librement l'eau puisée dans un puits ou un puits et en même temps fermer de manière fiable l'entrée et résister à la pression d'un piston descendant. Et vice versa : la soupape à piston doit fonctionner parfaitement, laissant pénétrer le fluide dans le haut de la pompe lorsque le piston est abaissé et fermer de manière fiable le trou lorsqu'il tend vers la position supérieure. Un petit indice : les appareils ressemblant à un rivetage font un excellent travail avec des fonctions similaires.
Étape 6 : Montage du tuyau d'admission
Cette partie de la pompe doit être soudée à un trou percé dans le fond de l'appareil et équipé d'un clapet d'admission. Vous pouvez procéder un peu différemment : découpez un trou dans le bas de l'appareil correspondant au diamètre du tuyau et munissez-le d'un pas de vis. Ensuite, assemblez la vanne qui bloque la sortie de la canalisation directement dessus. Il ne reste plus qu'à faire un filetage à l'extérieur du tuyau et simplement visser le boîtier de la pompe dessus. Une condition préalable pour cette partie de l'unité est la capacité de supporter des changements de température importants, la résistance à la corrosion. Le meilleur matériau pour les tuyaux est le plastique dur ou l'acier.
Étape 7 : Montage de la poignée, de la tige et du support
Nous avons donc presque assemblé une pompe à eau de nos propres mains. Vous avez besoin d'une poignée confortable, elle est fixée sur un support rigidement fixé à l'extérieur du boîtier. L'essentiel est que le bras de levier soit tel qu'il soit possible de soulever le piston sans trop d'effort. L'endroit que vous devez prendre avec votre main peut être muni d'un tampon en caoutchouc ou en silicone.La tige doit être solidement fixée au piston à l'intérieur et à son extrémité extérieure - avec une charnière au bout d'un long manche. Maintenant, il sera facile et pratique de faire fonctionner votre pompe maison.
Pompe à main bricolage
Le système de pompage manuel décrit ci-dessous peut être pris comme base pour créer un poste de relevage d'eau fixe dans un puits ou un puits.
Nous avons besoin:
- Tuyau d'égout en PVC 50 mm avec plusieurs sorties, bouchon, manchettes-joints - 1m.
- Clapet anti-retour 1/2″ en quantité de 2 pièces, tuyau d'égout PPR 24 mm,
- Aussi du caoutchouc, des boulons et des écrous avec des rondelles de 6 à 8 mm, plusieurs pinces, des pinces de montage et d'autres pièces de plomberie.
Il existe plusieurs façons d'assembler une telle pompe.
Vidange par la poignée
Ce modèle est le plus simple de ceux qui peuvent être assemblés à la maison : la tige est constituée d'un tuyau en PPR, l'eau qu'il contient monte et se déverse par le haut. Le manchon est fabriqué à partir d'un tuyau d'un diamètre de 50 mm et d'une longueur de 650 mm. La pompe s'avère être la plus simple des pompes domestiques - l'eau monte le long de la tige de piston, qui est constituée d'un tuyau PPR et se déverse par le haut.

Evacuation de l'eau par la poignée
Alors:
- Nous fabriquons un manchon à partir d'un tuyau d'un diamètre de 50 mm et d'une longueur de 650 mm. La valve doit être un pétale annulaire: percez 10 trous d'un diamètre de 6 mm, découpez un rabat rond en caoutchouc en 3-4 pièces d'un diamètre de 50 mm.
- Nous fixons le rabat au centre du bouchon à l'aide de boulons ou de rivets (une vis autotaraudeuse ne fonctionnera pas). Ainsi, nous obtenons une valve à pétales. Vous ne pouvez pas fabriquer la valve vous-même, mais la découper dans le capuchon d'extrémité d'usine. Dans ce cas, le coût de la pompe augmentera de 30 %.
- Nous installons un bouchon dans le manchon, en utilisant du mastic à travers les éléments chauffants, tout en le fixant avec des vis autotaraudeuses à travers la paroi de la base du manchon.
- L'élément suivant de la pompe est le piston. Un clapet anti-retour est installé dans le tuyau PPR.
- Pour la fabrication de la tête de piston, vous pouvez utiliser le nez usé du mastic 340 ml. Le tuyau est préchauffé et placé dans le manchon. Ainsi, la tête acquerra la forme et la taille souhaitées.
- Ensuite, il est coupé et installé en série sur le clapet anti-retour à l'aide d'un raccord avec un filetage extérieur, ou un écrou-raccord est utilisé.
- Nous insérons le piston dans la base de la pompe et fabriquons un bouchon supérieur, qui n'est pas nécessairement étanche à l'air, mais la tige doit être maintenue plane.
- Nous installons la raclette sur l'extrémité libre du tuyau, posons un tuyau dessus. Une pompe de cette conception est très fiable, mais un peu gênante - le point de vidange d'eau est en mouvement constant et est situé à proximité de l'opérateur. Ce type de pompe peut être légèrement modifié.
Assemblage de drain latéral
Tout se fait comme suit :
Nous incluons un angle en T de 35 degrés dans le manchon. Nous faisons de grands trous dans le tuyau de tige, sans violer la rigidité, en option, vous pouvez utiliser une tige de tige.
- Le principal avantage et avantage des pompes décrites est le faible prix de la structure. Une vanne d'usine coûte environ 4 $, un tuyau environ un dollar par mètre. Et toutes les autres pièces au total sortiront pour 2-3 dollars.
- Obtenez une pompe qui coûte moins de 10 $. La réparation de telles pompes coûtera également un centime en remplaçant quelques "autres" pièces bon marché.
Piston hydraulique en spirale
La pompe à eau manuelle à faire soi-même dans cette conception est un peu plus difficile à fabriquer. Mais il a plus de performances.Ce type de piston est le plus souvent utilisé lors du pompage de l'eau des réservoirs sur une courte distance.
Alors:
- L'appareil est basé sur un carrousel à pales, ressemblant à une roue de moulin à eau. Le débit de la rivière ne fait qu'entraîner la roue. Et la pompe dans ce cas est une spirale à partir d'un tuyau flexible de 50 à 75 mm, qui est fixée à la roue avec des pinces.
- Un seau d'un diamètre de 150 mm est fixé à la partie d'admission. L'eau entrera dans le pipeline par l'assemblage principal (réducteur de tuyau). Vous pouvez le prendre à la fois de la pompe d'usine et de la pompe d'égout.
- La boîte de vitesses doit être solidement fixée à la base, qui est immobile, et située le long de l'axe de la roue.
La montée maximale de l'eau est égale à la longueur du tuyau depuis la clôture, qui est dans l'eau pendant le fonctionnement. Cette distance est obtenue à partir du point où la pompe est immergée dans l'eau jusqu'au point où elle en sort. C'est cette distance que parcourt l'auget d'aspiration de la pompe. - Le système de fonctionnement d'une telle pompe est simple: lorsqu'elle est immergée dans l'eau, un système fermé avec des sections d'air se forme dans la canalisation, l'eau s'écoule à travers la canalisation jusqu'au centre de la spirale. Le seul inconvénient d'une telle pompe à eau est que nous sommes un réservoir en tant qu'activateur, donc son utilisation ne convient pas à tout le monde.
Cette pompe servira d'excellent agent d'arrosage en saison. Son prix dépend du matériau utilisé.
Comment fabriquer soi-même une mini pompe
Parfois, les artisans veulent fabriquer eux-mêmes une mini pompe à eau. Un de ces dispositifs peut être proposé ci-dessous. Pour le travail, vous aurez besoin de:
- Le moteur est électrique.
- Stylo à bille.
- Super colle, meilleur séchage rapide et imperméable.
- D'un bouchon déodorant.
- Un petit engrenage, de la taille d'une casquette.
- Quatre pièces en plastique 10 x 10 mm.
Instructions de travail:
- Toutes les dents sont meulées au niveau de l'engrenage, qui est ensuite ajusté à la taille du capuchon.
- Les pièces en plastique sont collées avec de la colle à 90 degrés l'une en face de l'autre.
- Pour former le boîtier de la pompe, les parois du capuchon sont coupées, leur laissant 1,5 centimètres de haut.
- Des trous sont percés sur le dessus du corps pour la fixation de l'axe du moteur et sur la droite pour la fixation du corps de poignée.
- Le stylo à bille est démonté, ne laissant que le corps, et collé dans le capuchon au trou latéral.
- Le moteur est collé à l'ouverture supérieure du boîtier.
- Une turbine est fixée à l'axe du moteur.
- Un panneau en plastique est découpé, dont le diamètre est le même que le capuchon.
- Un trou est percé dans le panneau de prise d'eau et celui-ci est collé hermétiquement au corps.
Quelles mini-pompes vous pouvez fabriquer vous-même, comment elles fonctionnent peuvent être clairement vues dans la vidéo de cet article.
L'idée est née de fabriquer moi-même une mini fontaine. La conception de la fontaine elle-même est une autre histoire, et cet article expliquera comment fabriquer une pompe pour faire circuler l'eau de vos propres mains. Ce sujet n'est pas nouveau et a déjà été décrit plus d'une fois sur Internet. Je montre juste ma mise en œuvre de cette conception. Si quelqu'un est trop paresseux pour le faire, de telles pompes sont vendues sur Aliexpress dans la région de 400 roubles (prix de février 2016).
Alors, commençons. Un flacon compte-gouttes nasal a été utilisé comme corps. Peu importe, j'écrirai les dimensions de certaines pièces. Ainsi, le diamètre intérieur de la bulle est de 26,6 mm, la profondeur est de 20 mm. Un trou légèrement plus grand que le diamètre de l'arbre du moteur y est percé par l'arrière et un trou pour la sortie d'eau (4 mm de diamètre) est percé sur le côté. Tout d'abord, un tube y est attaché avec de la superglue, puis avec de la colle chaude, à travers laquelle l'eau montera ensuite au sommet de la fontaine. Son diamètre est de 5 mm.
Nous avons également besoin d'une couverture avant. J'ai percé un trou de 7 mm au centre. Tout le corps est prêt.
Un trou pour l'arbre est percé dans la base. Le diamètre de la base, vous savez, doit être inférieur au diamètre du corps. J'ai environ 25 mm. En fait, il n'est pas du tout nécessaire et n'est utilisé que pour la force. Les lames elles-mêmes sont visibles sur la photo. Fabriqué à partir de la même boîte et coupé au diamètre de la base. J'ai tout collé avec de la superglue.
Le moteur entraînera la turbine. Il a été retiré, très probablement, d'une sorte de jouet. Je ne connais pas ses paramètres, donc je n'ai pas augmenté la tension de plus de 5 V. L'essentiel est que le moteur soit "plus intelligent".
J'en ai essayé un autre avec une vitesse de 2500 tr/min, il a donc élevé la colonne d'eau très bas. Ensuite, vous devez tout ramasser et bien sceller.
Et maintenant les tests. Lorsqu'il est alimenté en 3 V, la consommation de courant est de 0,3 A en mode charge (c'est-à-dire immergé dans l'eau), à 5 V - 0,5 A. La hauteur de la colonne d'eau à 3 V est de 45 cm (arrondi à l'inférieur). Dans ce mode, il l'a laissé dans l'eau pendant une heure.
L'essai s'est bien passé. Combien de temps cela durera est une bonne question à laquelle seul le temps peut répondre. Lorsqu'elle est alimentée en 5 volts, l'eau monte à une hauteur de 80 cm, tout cela peut être vu sur la vidéo.
Le chalet d'été et la présence d'un puits dessus font le bonheur de tout amoureux de la nature. Surtout si l'électricité est fournie au village et qu'il est possible de pomper l'eau pour l'irrigation d'un puits à l'aide d'une unité puissante.
Mais que faire en cas de panne d'électricité ou de coupure temporaire ?! Bien sûr, vous pouvez transporter de l'eau jusqu'aux lits uniquement avec des seaux, mais c'est fatigant et long.Surtout si les terres du jardin ont une grande surface.
Nous portons à votre attention une solution au dilemme - assembler une pompe à eau de vos propres mains. Et croyez-moi, une telle machine à eau fonctionnera, bien qu'un peu plus lentement qu'une pompe électrique, mais tout de même de manière assez productive. Considérez plusieurs options pour les pompes assemblées à la main.
Vaut-il la peine de penser que la production de votre propre pompe à la maison n'est pas rentable et ne mènera à rien. Nous sommes prêts à vous prouver le contraire en vous référant à plusieurs avantages d'un tel travail :
- Premièrement, le résident d'été aura toujours un appareil à portée de main pour fournir de l'eau du puits au sommet, même si l'électricité est coupée.
- Un point important est l'économie du budget familial. Ainsi, les tarifs de l'électricité augmentent à pas de géant et une pompe puissante en état de marche génère beaucoup de kW. De tels cycles de la pompe, même dans le but d'arroser les lits en un mois, peuvent se traduire par une somme coquette pour la famille moyenne.
1 Caractéristiques opérationnelles des pompes à main
Manuel de l'eau bien pomper - Il s'agit d'un dispositif spécial pour pomper du liquide à la surface sous pression. L'équipement de ce type est entraîné par des efforts humains en appuyant sur un mécanisme à levier spécial.
Le fonctionnement des installations manuelles nécessite l'utilisation de la force physique, il est donc rationnel de les utiliser dans des zones à faible besoin en eau.
Bien sûr, la vitesse de travail et le volume de liquide soulevé par la pompe sont incomparables avec les systèmes automatiques, mais l'absence d'une source d'électricité ininterrompue oblige les estivants à introduire de plus en plus ce format particulier d'appareils.
1.1 Avantages et inconvénients
La méthode manuelle d'extraction de l'eau d'un puits présente un certain nombre d'avantages et d'inconvénients.Les points positifs incluent :
- La simplicité de l'équipement a été la raison de son installation rapide.
- L'installation du système est possible dans presque toutes les conditions.
- Économiser les ressources - la pompe est entraînée par l'effort humain, sans nécessiter de connexion électrique.
- L'appareil se compose de composants et de pièces unifiés qui, si nécessaire, peuvent être remplacés - cette fonctionnalité vous permet de maximiser la durée de vie de l'installation.
- Une pompe à main est beaucoup moins chère que ses homologues.
- Vous économisez de l'argent sur la mise en service de l'équipement, car le processus est si simple qu'il ne nécessite pas l'intervention d'un spécialiste.

Pompe à main pour puits en coffret métallique
Les inconvénients de l'utilisation d'une pompe à main proviennent des caractéristiques de sa conception :
- La nécessité d'appliquer une force physique - le pompage de l'eau ne se produit qu'en appuyant sur le mécanisme à levier.
- Faible performance - la pompe affiche des résultats modestes en termes de débit de fluide par rapport aux systèmes automatiques.
Malgré quelques points négatifs, les pompes à main pour puits sont très demandées, car c'est parfois le seul moyen d'assurer l'approvisionnement en eau.
1.2 Classification des pompes à main
Les pompes pour pomper l'eau d'un puits abyssin ou autre remplissent la même fonction, mais leur conception et leur principe de fonctionnement sont quelque peu différents les uns des autres. Selon les critères spécifiés, les équipements à mécanisme manuel sont classés en deux catégories :
- pompes à pistons;
- pompes à tige.
Les pompes à piston manuelles sont utilisées dans les cas où l'eau de la zone est située à une faible profondeur - jusqu'à 10 m.
Il ne sera pas difficile de construire un appareil aussi simple de vos propres mains et de le monter dans votre chalet d'été.

Pompe à main pour un puits sur le site
La pompe manuelle à tige de puits profond est un mécanisme plus complexe conçu pour pomper l'eau d'un puits abyssin ou de toute autre profondeur de 10 à 30 m. Sa conception se compose d'un cylindre, d'un piston et d'une très longue tige qui, sous l'action d'un levier, met en marche tout le système. La pompe à tige est située directement dans le puits, tandis que sa tige est immergée dans la couche d'eau à une profondeur d'environ 1 m.
Pour déterminer quel type de produit convient à votre environnement, vous devrez étudier les bases critères de sélection des équipements.








































