- Comment fonctionne et fonctionne un interrupteur rétroéclairé
- Autres régimes en gros
- Changer d'appareil
- Navigation des articles
- Comment connecter un interrupteur de passage - un circuit de commande de luminaire à 3 positions
- Schéma de câblage pour deux ampoules
- Interrupteur à clé unique
- Commutateur à deux gangs
- Par des interrupteurs
- Est-il possible de connecter une prise à l'interrupteur
- Prise au lieu d'un interrupteur
- Connexion à double interrupteur
- Types de lampes et interrupteurs
- Comment connecter correctement le commutateur
- Principes généraux de montage des interrupteurs d'éclairage
- Schéma de câblage d'un interrupteur et d'une ampoule
- Schéma de câblage de l'interrupteur, des prises et des lampes.
- Interrupteur lumineux bricolage
- Comment connecter un interrupteur double
- Instructions étape par étape pour connecter un interrupteur simple
- conclusion
Comment fonctionne et fonctionne un interrupteur rétroéclairé
Nous décrirons la conception du commutateur LED en utilisant l'exemple d'un appareil à deux touches avec rétroéclairage.
Le mécanisme se compose des éléments suivants :
- une entrée, deux bornes de sortie ;
- résistance de limitation de courant ;
- contacts mobiles.
La conception comprend également un boîtier, un panneau décoratif et des superpositions de touches.

Certains modèles d'interrupteurs lumineux ont un mécanisme d'éclairage prêt à l'emploi.Ils produisent également des modèles dans lesquels les conducteurs de rétroéclairage doivent être connectés aux bornes seuls.
Lorsque les contacts de l'interrupteur LED sont ouverts, le courant circulant dans le fil de phase s'écoule vers la résistance, puis vers la LED ou la lampe au néon. De plus, la tension traverse le dispositif d'éclairage et sort par zéro.
Étant donné que le rétroéclairage est connecté via une résistance de limitation de courant, la tension dans le réseau chute et c'est suffisant pour le rétroéclairage, mais pas assez pour que le lustre fonctionne.
C'est ainsi que fonctionne le commutateur LED. Si la lampe d'éclairage brûle ou est dévissée, le circuit sera ouvert et le rétroéclairage de l'appareil ne fonctionnera pas (+)
Après avoir fermé les contacts de l'interrupteur, le courant, qui se déplace toujours le long du circuit avec la moindre résistance, traverse le réseau qui alimente la lampe d'éclairage - dans ce circuit, la tension est pratiquement nulle. Le courant circule également vers le circuit de rétroéclairage, mais il est si petit qu'il ne suffit même pas pour faire fonctionner une lampe au néon.
Le circuit comprend une résistance de limitation de courant et une lampe LED ou néon. Sinon, la conception et la méthode de connexion sont les mêmes que celles d'un appareil classique (+)
Autres régimes en gros
Si vous avez des armes automatiques, ce sera plus facile. Mais comment faites-vous le travail lorsque le besoin s'en fait sentir?
Pour placer le câblage dans la boîte de jonction, vous devez y tendre les câbles qui alimentent toute la pièce, puis les fils sortant de l'interrupteur et de l'ampoule.
Dans une situation de couloir, ce schéma fournira la prochaine option de contrôle d'éclairage.
La personne qui exécute le travail doit être capable de manier tous les outils utilisés. Dans le second, les ampoules s'allumeront en deux groupes.
Si un interrupteur à deux clés doit être installé, un deuxième convertisseur sera nécessaire. Comment connecter un interrupteur double pour deux ampoules La photo montre le processus de connexion de deux lampes à un interrupteur à deux gangs.Selon des spécialistes expérimentés, le malentendu dans l'installation de cet équipement est principalement dû au manque d'exemple.
Ce commutateur a six contacts : deux entrées et quatre sorties. Par exemple, dans un appartement, il peut s'agir d'un groupe de spots au plafond. Cela inclut également les capteurs de mouvement.
Vous trouverez ci-dessous plusieurs schémas de connexion qui impliquent la présence de lampes. Toutes les torsions doivent être soigneusement isolées avec du ruban électrique.
Assurez-vous de le lire, un article très utile. En conséquence, nous obtenons la connexion des conducteurs de travail de la lampe et le câblage général via l'interrupteur. Ensuite, il reste à tout connecter correctement.
Schéma de câblage des ampoules dans un incubateur fait maison
Changer d'appareil
La partie active de l'interrupteur est un cadre métallique mince sur lequel est installé un lecteur. Le cadre est monté dans une douille. Le variateur est un contact électrique, c'est-à-dire un appareil sur lequel sont connectés les fils électriquement conducteurs. L'actionneur du disjoncteur est mobile et sa position détermine si le circuit est fermé ou ouvert. Lorsque le circuit est fermé, l'électricité est en marche. Un circuit ouvert rend impossible le transfert de courant.
Le variateur fournit de l'électricité ou un obstacle au signal transmis entre deux contacts fixes :
- le contact d'entrée passe en phase à partir du câblage ;
- le contact sortant est connecté à la phase allant à la lampe.
La position normale du contact sur l'actionneur implique que l'interrupteur est éteint. Les contacts fixes sont ouverts à ce moment, il n'y a pas d'éclairage.
L'appui sur le bouton de commande de l'interrupteur ferme le circuit. Le contact mobile change de position et les parties fixes deviennent interconnectées. Le long de ce chemin, le réseau de tension transmet de l'électricité à l'ampoule.
Pour assurer la sécurité du système, la partie travaillante doit être placée dans une enceinte constituée de matériaux non capables de conduire le courant électrique. Dans le commutateur, ces matériaux peuvent être:
- porcelaine;
- Plastique.
D'autres éléments de conception protègent directement l'utilisateur :
- La clé de commande vous permet de changer l'état du circuit d'une seule touche, en le fermant et en l'ouvrant à la demande d'une personne. À la suite d'une légère pression, la lumière de la pièce s'allume ou s'éteint.
- Le cadre isole complètement la partie contact, ce qui élimine les contacts accidentels et les chocs électriques. Il est monté sur des vis spéciales, puis repose sur des loquets cachés.
En tant que matériau principal pour leur fabrication, le plastique est efficacement utilisé.
Navigation des articles
Avantages et inconvénients du circuit PV à partir de 2 endroits Ce circuit de commutation présente des avantages et des inconvénients.
Si nous parlons de la face avant, la seule différence est une flèche à peine perceptible sur la touche haut et bas. Ensuite, dans les deux endroits, il sera possible d'allumer et d'éteindre à la fois l'éclairage général de la pièce et les lampes près du lit.
L'inverse est également vrai. Interrupteur passe-partout : schéma de raccordement Afin de commander l'allumage de deux lampes ou groupes de lampes à partir d'un interrupteur depuis plusieurs endroits, il existe des interrupteurs passe-fil doubles.
Les commutateurs sont exactement les mêmes que ceux illustrés sur les figures, la borne commune d'entrée pour la phase ou le zéro est située d'un côté du boîtier et 2 bornes de sortie sont de l'autre. Si vous appuyez maintenant sur la touche du deuxième interrupteur et que vous modifiez également sa position, le circuit sera à nouveau ouvert et la lampe s'éteindra. Vous pouvez vous familiariser avec le schéma de contrôle de l'éclairage à partir de trois endroits dans le schéma de connexion suivant de cette manière : comme vous pouvez le voir sur la photo ci-dessus, la principale différence de contrôle de l'éclairage entre le contrôle de 2 et 3 endroits est la présence de un interrupteur croisé et plus de fils connectés dans la boîte de jonction. Quel est le meilleur câble à utiliser pour connecter les interrupteurs de passage Pour ce montage, la plupart des experts s'accordent à dire qu'il est préférable d'utiliser un câble en cuivre à trois conducteurs avec une section de 1.
Comment connecter un interrupteur de passage - un circuit de commande de luminaire à 3 positions
Comme vous l'avez probablement déjà compris, un interrupteur de traversée unipolaire a deux contacts fixes et un contact inverseur. Quelle est la différence entre un interrupteur de passage et un interrupteur normal ? Dans tous ces cas, des interrupteurs de passage sont installés à côté des portes. Lorsqu'une touche est enfoncée, les contacts mobiles passent simultanément d'une paire de contacts fixes à une autre paire.
Vous entrez dans la chambre et allumez la lumière à la porte. Quatre PV sont connectés à l'aide de commutateurs croisés comme décrit ci-dessus.Le système de contrôle d'éclairage le plus couramment considéré est utilisé dans les locaux publics et industriels, à savoir: dans les longs couloirs, les tunnels, les pièces de passage, c'est-à-dire dans les pièces où il y a deux portes servant également d'entrée et de sortie, dans les volées d'escaliers et d'autres endroits. Deuxièmement, quelque chose d'autre peut être nécessaire, et cela deviendra clair à partir des options spécifiques pour connecter des appareils.
Portée des interrupteurs de passage L'installation et le raccordement d'un interrupteur de passage seront utiles pour contrôler les systèmes d'éclairage dans les cas suivants : s'il y a de grands couloirs ou des pièces de passage ; lors du contrôle des luminaires à l'entrée de la chambre et directement à côté du lit; lors de l'installation d'éclairage dans de grands bâtiments industriels et industriels; si nécessaire, contrôler l'éclairage de la pièce voisine ; en présence d'escaliers reliant plusieurs étages dans la plupart des cas dans des locaux de chalets et ainsi de suite. La principale différence entre les fils ci-dessus est le type d'isolation et la nature des conducteurs. L'image schématique montre que si la lumière est allumée, appuyer sur l'un des boutons l'éteindra. Le contrôle de la lumière s'effectue à l'aide d'interrupteurs : pour une source lumineuse, une ampoule ordinaire ou plusieurs lampes, il y a un interrupteur.
Vue arrière de différents types d'interrupteurs de traversée La photo montre la vue arrière des accessoires de câblage. Comment tout doit être organisé, voir l'image.
Connexion d'un interrupteur de commande d'éclairage à partir de 3 endroits
Schéma de câblage pour deux ampoules
Interrupteur à clé unique
La connexion de deux ampoules à incandescence à un interrupteur est effectuée selon le schéma standard, la seule différence est la façon dont les sources lumineuses elles-mêmes sont connectées. Avec un dispositif de commutation à un seul bouton, il est possible de contrôler simultanément deux luminaires à la fois, peu importe comment ils sont connectés l'un à l'autre, en parallèle ou en série.


La principale chose à retenir est qu'il est recommandé de mettre le contact NC sur la phase, et le fil relié directement à l'ampoule à zéro. Sinon, bien sûr, le circuit fonctionnera également, mais lors du remplacement d'une source lumineuse grillée, il devient nécessaire de couper toute l'alimentation électrique de la pièce ou de la zone, car c'est le potentiel traversant le conducteur de phase qui affecte le corps humain. Il est facile de déterminer la phase à l'aide d'un tournevis indicateur conventionnel ou d'un testeur.
Commutateur à deux gangs
Si tout est clair avec la connexion de deux ampoules à un interrupteur simple, envisagez un interrupteur à deux boutons et ses caractéristiques de fonctionnement et de connexion. Il a un contact commun et deux sortants, allant à une charge séparée. Dans ce cas, toute l'installation doit être effectuée via la boîte de jonction, cela simplifiera davantage le raccordement de nouveaux luminaires ou le dépannage. Le câblage vers l'interrupteur est effectué avec un fil à trois fils et le câblage pour les luminaires et l'entrée de la tension d'alimentation avec deux fils.

Un dispositif de commutation double peut être utilisé pour contrôler séparément deux sources lumineuses, de tout type, l'essentiel, encore une fois, est de ne pas oublier la limite de courant dans le circuit. C'est en fonction de la force du courant circulant dans le circuit d'éclairage qu'il faut choisir l'interrupteur lui-même et la section des fils.
La vidéo ci-dessous montre clairement comment connecter deux lampes à un interrupteur double :
Par des interrupteurs
La connexion de deux ampoules à un interrupteur de passage est utilisée lors de l'éclairage de longs couloirs et tunnels, et pour cela, elles doivent être utilisées par paires, sinon le sens de leur utilisation est perdu. Voici un diagramme schématique pour une telle connexion. Toute installation doit également être effectuée via la boîte de jonction :

L'essence même de la connexion de deux lampes ou plus à un commutateur de passage est fournie sur la vidéo :
Est-il possible de connecter une prise à l'interrupteur
Le fonctionnement conjoint à part entière de la prise et de l'interrupteur, si le premier est alimenté par le second, est pratiquement impossible. Cependant, il existe des méthodes variantes pour les connecter. Considérons-les en détail.
Prise au lieu d'un interrupteur
Vous pouvez installer une prise à la place d'un interrupteur existant, par exemple, lorsque vous devez effectuer une série de réparations temporaires ou de décoration des locaux à l'aide d'équipements électriques ou connecter une ampoule sur un support. Dans ce cas, vous devez effectuer la série d'actions suivantes :
- Éteignez la machine - désactivez le réseau. Avant le travail, vous devez vous assurer qu'il n'y a pas de tension sur les contacts à l'aide d'une sonde.
- Démontez l'interrupteur et libérez le câblage qui y va.
- Démontez la base de l'interrupteur, installez une prise à sa place et connectez ses contacts aux fils libérés.
- Ensuite, vous devez retirer le couvercle du boîtier de l'interrupteur et déconnecter les fils de l'ancien interrupteur des noyaux allant à l'ampoule.
- Connectez l'un des conducteurs de la nouvelle prise à la phase, l'autre à zéro et fermez-les avec une couche d'isolant, rapprochez temporairement les fils de la lampe et isolez-les.
- Fermez le couvercle du module de distribution, allumez le disjoncteur.
- Vérifiez la prise, par exemple en branchant une fiche avec un adaptateur et une ampoule. S'il s'allume, le circuit est correctement assemblé.
Connexion à double interrupteur
Un interrupteur à deux gangs peut également être connecté à une prise pour alimenter des appareils électriques à partir de celle-ci, cependant, dans ce cas, une seule clé fonctionnera. L'algorithme des actions est le suivant :
- Il est nécessaire de mettre hors tension le réseau électrique, avant travaux, veillez à vérifier les contacts avec une sonde de mesure.
- Installez une prise avec deux fils connectés.
- Ensuite, vous devez démonter l'interrupteur et libérer l'entrée et l'un des deux fils de sortie.
- Connectez un fil de douille au contact d'entrée (phase).
- Connectez le deuxième conducteur de la prise (zéro) à l'un des noyaux de sortie de l'interrupteur (celui qui a été précédemment déconnecté) et isolez-le.
- Après avoir ouvert le couvercle du boîtier de l'interrupteur, il est nécessaire de déconnecter le conducteur neutre de l'une des ampoules et de le connecter au conducteur qui a été déconnecté à la sortie de l'interrupteur et torsadé avec le conducteur neutre de la prise.
- Toutes les connexions de contact sont isolées, les couvercles de l'interrupteur, de la prise et du module de distribution sont fermés.
- Le disjoncteur est activé et le bon fonctionnement du circuit est vérifié.
Types de lampes et interrupteurs
Avant de procéder directement à l'installation, vous devez bien comprendre qu'il existe plusieurs types d'ampoules qui sont connectées au réseau à la fois directement et via un équipement de ballast ou de redresseur abaisseur. Dans tous les cas, chacun d'eux a sa propre tension et puissance de fonctionnement, dont dépend également le courant, respectivement.
Types de sources de lumière artificielle souvent utilisées dans la vie de tous les jours :
- Incandescent et halogène, le principe de fonctionnement est le même, seulement dans certains il y a un vide, et dans d'autres il y a des vapeurs halogènes spéciales qui augmentent la durée de vie.
- Luminescent, ainsi que leur variété, la soi-disant gouvernante et le sodium.
- LED, travaillant sur les systèmes LED et sur les caractéristiques d'une diode semi-conductrice pour émettre un flux lumineux.
Les principaux types d'interrupteurs d'éclairage conçus pour contrôler l'éclairage peuvent être divisés en :
- Clé unique, deux clés, trois clés, etc.
- Points de contrôle.
Chaque type de lampe a ses propres caractéristiques et schémas de connexion, même s'ils sont connectés au même interrupteur.
Comment connecter correctement le commutateur
Afin de connecter correctement les appareils électriques, vous devez suivre les règles simples de fonctionnement et de sécurité :
- Ne commencez jamais à travailler si vous n'êtes pas sûr qu'il n'y a pas de tension dans le réseau ;
- Un fil neutre arrive toujours sur un lustre ou une ampoule ;
- La phase doit toujours être appliquée aux appareils de commutation.
Ces conditions doivent être strictement respectées, donc si pendant le fonctionnement, il est nécessaire de remplacer l'ampoule.
Ensuite, un électricien, lors du remplacement d'une lampe, s'il touche accidentellement des pièces conductrices de courant, il ne sera pas frappé par un courant électrique. Étant donné que la tension de phase n'est pas fournie à la lampe lorsque l'interrupteur électrique est éteint.
Principes généraux de montage des interrupteurs d'éclairage
L'installation d'un système d'éclairage simple et de dispositifs de contrôle est effectuée lors des travaux de réparation dans la pièce. Avec un câblage caché, avant d'effectuer des travaux de finition, le câble est posé dans des stroboscopes et des emplacements sont préparés pour l'installation d'interrupteurs.Dans le même temps, la commutation des interrupteurs, des dispositifs d'éclairage et des lignes d'alimentation est effectuée dans des boîtes de jonction de montage. Ces boîtes peuvent être situées dans des niches spéciales dans les murs, cachées dans le sol ou derrière un plafond tendu (suspendu).
Dans certains cas, par exemple, dans les maisons en bois, la réglementation interdit l'installation de câblage caché. Par conséquent, dans de tels locaux, l'installation est effectuée ouvertement après la finition des locaux (à l'aide de canaux de câbles ou de tubes ondulés spéciaux).

Le principe général de connexion des interrupteurs dans la plupart des cas est le même: l'interrupteur sert à couper la phase sur la ligne et le zéro est effectué directement sur la lampe. Pourquoi phase et pas zéro ? Cette exigence est expressément indiquée dans le PUE, qui stipule que la possibilité de couper un conducteur neutre sans déconnecter la phase doit être exclue. Ceci est directement lié aux mesures de sécurité dans le fonctionnement des dispositifs d'éclairage. Lorsque l'appareil est débranché du secteur à l'aide de l'interrupteur, il ne doit pas être mis sous tension afin de pouvoir le réparer en toute sécurité ou de changer la lampe.
L'emplacement d'installation des interrupteurs qui contrôlent l'éclairage est choisi en fonction des habitudes des futurs utilisateurs et de la configuration de la pièce. Dans le cas général, l'installation d'interrupteurs à une hauteur de 90 cm du sol est acceptée. Cela est dû au fait qu'un enfant et un adulte peuvent facilement utiliser un tel interrupteur.
Lors de la planification de l'installation d'interrupteurs, il est préférable d'établir des schémas de câblage dans la boîte de jonction et un plan indiquant l'emplacement des points d'éclairage et des dispositifs de commande, ainsi que de faire des marquages directement sur les murs. Cela aidera à éviter les erreurs.
Schéma de câblage d'un interrupteur et d'une ampoule
Mais pour les modèles de l'ancien montage, il peut être absent. Aussi, il devient parfois nécessaire d'installer un interrupteur pour qu'il puisse allumer l'éclairage en même temps dans plusieurs pièces.
Le schéma du disjoncteur fourni par le fabricant de l'appareil électrique implique toujours une déconnexion de phase. Ce sont tous les points principaux de la connexion d'une ampoule et d'un interrupteur. Nous prenons le conducteur de phase marron de l'entrée et le connectons à l'un des conducteurs, par exemple, également au marron menant à l'interrupteur.
Ils sont très pratiques à utiliser dans les longs couloirs ou dans les escaliers. Tout d'abord, vous devez mettre la pièce hors tension et prendre des mesures pour éviter toute mise en marche accidentelle de la machine.
Avant l'installation, il est recommandé d'étudier les instructions sur la façon de connecter l'interrupteur au luminaire afin d'éviter les erreurs commises par les débutants. Chaque contact est relié à un conducteur de phase d'une des lampes. Le processus de connexion ultérieur ne diffère pas de la connexion de l'installation d'un interrupteur à 2 boutons conventionnel. Un chasseur de mur coupe les stroboscopes pour le montage des fils.
L'ensemble du dispositif d'éclairage a une conclusion de trois fils: zéro et deux phases. Comment les connecter. C'est-à-dire que 4 fils doivent être inclus dans la boîte de jonction - entrée, deux sorties et du commutateur. Connecter un lustre à un seul interrupteur La manière la plus simple de connecter un lustre.
Schéma de câblage de l'interrupteur, des prises et des lampes.
Le raccordement de l'interrupteur s'effectue en coupure de phase. Mais vous pouvez résoudre radicalement le problème : 1. De plus, protégez-vous contre la mise en marche accidentelle de la machine par d'autres personnes.
Il faut faire attention au nombre de fils sortant du plafond : deux ou trois.Si vous souhaitez comprendre plus en détail les types de commutateurs, vous pouvez lire l'article Types de commutateurs.
Je pense que chacun d'entre vous est familier avec ce genre d'interrupteurs, car ils sont utilisés partout. En conséquence, nous avons commuté la phase qui va à la lampe. Fixez les deux autres fils de phase dans une borne ou placez un cavalier. Habituellement, un interrupteur à deux gangs est utilisé pour alimenter deux lampes, mais il existe des situations où vous devez alimenter un seul élément d'éclairage, c'est-à-dire créer une branche.
Lors de l'installation d'un interrupteur simple, vous aurez besoin d'un fil à deux fils et d'un dispositif de commutation. Le calcul dépend de la puissance des appareils utilisés dans la maison et de la tension d'alimentation. Vous pouvez utiliser les borniers Wago pour le nombre approprié de fils à connecter. Connectez les ampoules au système par paires - en série puis sortie en parallèle. Une caractéristique de sa conception est la présence de deux bornes de sortie, chacune pouvant être connectée à la sortie de phase d'entrée indépendamment l'une de l'autre.
COMMENT CONNECTER LE MUR MUR AVEC L'INTERRUPTEUR ÉLECTRIQUE
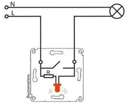
Interrupteur lumineux bricolage
Lors du fonctionnement d'équipements électriques, il s'avère parfois que dans certaines pièces il serait bien d'avoir un interrupteur rétro-éclairé. Pour ce faire, il n'est pas nécessaire d'acheter un appareil - vous pouvez indépendamment améliorer l'ancien.
Ce qu'il faut pour cela :
- interrupteur conventionnel;
- LED avec toutes les caractéristiques ;
- résistance de 470 kΩ ;
- diode 0,25W;
- le fil;
- fer à souder;
- perceuse.
À l'aide d'un fer à souder, commencez à assembler le circuit.La cathode de la diode (marquée d'une bande noire) est connectée à l'anode de la LED (l'anode a une jambe plus longue). La résistance est soudée à la borne positive de la LED et au fil qui servira de connexion à l'interrupteur. Le deuxième fil est connecté à la cathode de la LED.
S'il n'y a pas de résistance de puissance appropriée à portée de main ou s'il n'y a pas assez d'espace pour le placement, il peut être remplacé par deux résistances de puissance inférieure en les connectant en série (+)
Ensuite, connectez tout au mécanisme marche-arrêt. Le conducteur de phase qui mène à la lampe est connecté à la borne avec l'un des fils menant à la LED. L'autre câblage est connecté à la borne d'entrée avec le fil de phase, qui fournit le courant du secteur.
Il est nécessaire d'isoler soigneusement les sections exposées du fil et d'empêcher les conducteurs de toucher le boîtier, ceci est particulièrement important s'il est en métal. Ils vérifient le fonctionnement du schéma de connexion de l'interrupteur rétro-éclairé comme suit: la clé, en fermant le contact, provoque l'allumage du lustre ou de la lampe, à l'état éteint, la lampe LED s'allume
Si le circuit fonctionne correctement, vous pouvez installer le luminaire dans le boîtier
Le schéma de connexion de l'interrupteur rétro-éclairé est vérifié pour son fonctionnement comme suit: la clé, en fermant le contact, provoque l'allumage du lustre ou de la lampe et la lampe à LED s'allume lorsqu'elle est éteinte. Si le circuit fonctionne correctement, vous pouvez installer le luminaire dans le boîtier.
Afin de voir l'éclairage, la lampe LED est sortie dans le trou percé en haut du boîtier. Il n'est pas nécessaire de le faire si le boîtier est léger - la lumière le traversera.
L'interrupteur peut être éclairé par une lampe au néon.Le circuit utilise une lampe à décharge de gaz HG1 et tout type de résistance avec une valeur nominale de 0,5-1,0 MΩ avec une puissance supérieure à 0,25 W (+)
Comment connecter un interrupteur double
Le schéma de raccordement d'un interrupteur double pour deux ampoules est un raccordement de l'interrupteur à un contact de phase commun. Il y a deux fils qui en sortent et qui vont aux lampes. A chacun son contour.
Un fil commun relié à zéro sort du lustre. De la même manière, vous pouvez connecter un lustre à double circuit à un double interrupteur. Pour ce faire, il suffit de faire passer deux fils du lustre au boîtier de commutation.
De l'interrupteur électrique, deux fils sont également connectés à des clés différentes. Dans la boîte, ils sont connectés aux fils de la lampe. De la même manière, un interrupteur double est relié à deux ampoules.
La seule différence est qu'au lieu d'un lustre, deux ampoules sont utilisées, qui sont connectées en parallèle. De la même manière, le schéma de connexion d'un interrupteur à deux gangs est organisé.
De cela, nous pouvons conclure que le circuit de connexion d'un interrupteur à deux ampoules n'est pas techniquement compliqué. Et un circuit similaire, avec lequel il est tout aussi simple de connecter le lustre à un double interrupteur.
Instructions étape par étape pour connecter un interrupteur simple
De la même manière, vous pouvez connecter un lustre à double circuit à un double interrupteur. Les méthodes de torsion des conducteurs toronnés et solides sont similaires, mais présentent quelques différences. La phase s'effectue d'abord sur une pause, sur les deux boutons, puis elle se fixe dans un évidement prédéterminé.Maintenant, dans les magasins d'électricité, il existe un vaste assortiment de fils et de câbles, alors prenez-en un tout de suite afin que chaque noyau ait sa propre isolation de couleur, par exemple, rouge et bleu.
C'est très pratique s'il est bicolore, par exemple, le fil de phase est rouge et le fil zéro est bleu. En résumant ce qui a été dit, nous pouvons conclure que le circuit de connexion d'un interrupteur à une ampoule est un ensemble de fils, une ampoule et un appareil de commutation.
Il peut s'agir d'une bouilloire ou, par exemple, d'un aspirateur.
Ils sont particulièrement pertinents pour les lustres à plusieurs lampes.
Avec une pince de mise à la terre, nous nous accrochons soigneusement à la partie supérieure de la torsion, nous y amenons l'électrode par le bas, la touchons brièvement, réalisant l'allumage de l'arc, et la retirons. En insérant uniquement un conducteur unipolaire, la languette est pliée, serrant le fil.
Avant la torsion, les fils sont étamés : une couche de colophane ou de flux de soudure est appliquée. L'interrupteur de passage, lorsque la touche est enfoncée, bascule le contact 1 entre les deux autres - 2 et 3.
Schéma de connexion d'un interrupteur dans une boîte de jonction Connecter un fil directement à une lampe ou à un interrupteur est assez simple - cela ne nécessite aucune explication. Leur consommation électrique est supérieure à celle d'une simple ampoule, et donc les fils fins peuvent chauffer, ce qui n'est pas souhaitable.
Comment connecter un interrupteur simple? Comment installer dans une prise?

conclusion
L'interrupteur est un composant obligatoire à travers lequel l'utilisateur peut contrôler la lampe. À la maison, différents types d'interrupteurs sont utilisés - avec une clé et plusieurs, traversants et croisés, avec un gradateur et un détecteur de mouvement. Ils sont également classés selon la méthode d'installation. Le plus souvent, des dispositifs généraux et intégrés à une ou deux touches sont utilisés.
Le schéma de câblage d'un interrupteur avec une ampoule est similaire dans tous les cas. L'interrupteur est placé dans une coupure de phase du circuit. Tous les travaux sont effectués selon les instructions et les schémas ci-dessus, dans le respect des règles de sécurité. Après l'installation, vous devez vérifier le fonctionnement du circuit.
Précédent
ÉclairageComment faire de l'éclairage dans un bain ou un sauna de vos propres mains
Prochain
Éclairage Comment installer et connecter correctement un interrupteur double pour deux ampoules














































