- Étape 7 : Ajout
- Historique des inventions
- Aspirateurs avec filtre cyclone
- Caractéristiques de conception
- Principe d'opération
- Marques populaires d'aspirateurs cyclones
- Conseils d'utilisation
- Comment choisir un aspirateur avec filtre cyclone
- Cyclone fait maison à partir d'un aspirateur domestique
- Fabriquer un filtre cyclone
- Création d'un anneau de retenue et d'un insert bouclé
- Installation de la bague de retenue
- Installation du tuyau latéral
- Réglage de l'entrée supérieure
- Pose d'insert bouclé
- Assemblage du filtre cyclone
- Recommandations
- Fabrication de bricolage
- Quelles solutions sont optimales pour la ventilation d'un atelier de menuiserie
- Escargot à faire soi-même pour un souffleur de copeaux
- Fabriquer un cyclone à partir d'un tonneau
- Production par étapes du Cyclone
- Sans cône
- avec cône
- Cyclone simple
Étape 7 : Ajout
Déplacer un cyclone et un aspirateur dans l'atelier n'est pas une tâche très facile, donc je pense qu'un chariot roulant peut être pratique et utile.
La construction du chariot est très simple et ne peut être construite qu'avec du contreplaqué. Il n'y a pas de dimensions ici, car vous devrez ajuster les dimensions pour s'adapter à votre bac à poussière.
Je dirai seulement que la base est constituée de deux feuilles de contreplaqué, dont le sommet comporte un trou dans lequel se trouve un seau.
Vous pouvez également ajouter du velcro pour fixer l'aspirateur et faire deux poignées en bois sur le seau en plastique pour qu'il ne tombe pas lors de la vidange du seau du bas.
Historique des inventions
Jusqu'à récemment, tous les aspirateurs incluaient un sac poubelle. Cependant, à la fin des années 1970, l'ingénieur britannique D. Dyson a proposé au monde un design complètement différent. L'ingénieur n'était pas satisfait de la rapidité avec laquelle les sacs d'aspirateur se bouchaient et leur puissance d'aspiration diminuait. Ne trouvant pas d'option appropriée parmi les nettoyeurs existants à cette époque, il a développé sa propre copie de la technique.
C'était un nouveau type d'aspirateur - cyclone. Dyson a pris le principe des purificateurs d'air comme base de son invention. En eux, le flux se tord à l'intérieur en spirale, augmentant la vitesse dans la zone de rétrécissement du collecteur. En 15 ans de travail, l'ingénieur a créé 5127 prototypes d'un aspirateur moderne. Ce n'est qu'en 1986 que la société japonaise Apex Inc. a entrepris la production d'un des modèles Dyson. Il a reçu le nom de G-Force.
En 1993, l'ingénieur ouvre son centre de recherche, où il continue d'améliorer sa technologie. Ici, il a réussi à créer un appareil capable de collecter même la poussière fine. L'aspirateur Dyson, dont le prix est encore à un niveau assez élevé aujourd'hui, est l'une des meilleures options pour un tel équipement.
Presque toutes les entreprises modernes de ce secteur utilisent cette technologie. Mais chacun d'eux a ses propres solutions d'ingénierie uniques, ses améliorations.
Aspirateurs avec filtre cyclone
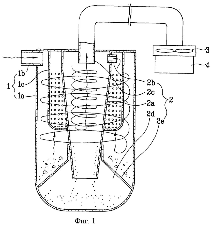
La différence entre le filtre cyclone et les autres est le système d'aspiration et la méthode de traitement des débris. En apparence, il s'agit d'un cylindre ordinaire avec un filtre, mais la procédure d'aspiration et de tourbillonnement du flux passe par plusieurs étapes.
Caractéristiques de conception
Sous l'action de la force centrifuge, les débris sont séparés de l'air, ce qui empêche leur pénétration dans la pièce avec l'échappement. Le ballon où se déroule le processus de tourbillonnement est généralement en plastique transparent, de sorte que vous pouvez voir non seulement le colmatage, mais également le fonctionnement du cyclone.
Principe d'opération
L'air contenant des débris est aspiré dans l'ouverture latérale du filtre par un aspirateur, créant ainsi une centrifugeuse. Avec un tourbillon en spirale, les débris sont séparés du flux principal et s'appuient contre les parois du conteneur. Les microparticules de poussière tourbillonnent plus longtemps et peuvent même rester dans le flux. Pour le filtrer, un autre filtre est déjà installé sous forme de caoutchouc mousse ou de tissu. Le nettoyage à plusieurs niveaux nécessite une puissance élevée, donc lors de l'achat d'un aspirateur, considérez ce paramètre en premier lieu.
Marques populaires d'aspirateurs cyclones
Les marques d'aspirateurs les plus populaires avec différents types de conceptions :
- Dyson. La marque produit principalement des aspirateurs sans fil verticaux. La principale différence avec les analogues réside dans la purification de l'air universelle et approfondie, qui ne laisse pratiquement pas passer les microparticules de poussière.
- Samsung. La célèbre marque est populaire parmi les fans d'aspirateurs horizontaux. L'entreprise développe régulièrement des technologies uniques qui améliorent la qualité et la commodité du nettoyage domestique. Parmi ces derniers, on distingue la fonction Anti-Tangle, qui augmente considérablement le régime moteur. En conséquence, la vitesse de tourbillon change également et ne permet pas aux débris longs de s'enrouler autour du filtre.
- Xiaomi. La marque chinoise est célèbre pour ses aspirateurs robots, qui sont complets avec une grande variété de fonctions. Malgré sa petite conception, l'aspirateur a une puissance élevée.Cependant, un petit bac à poussière se bouche assez rapidement.
Conseils d'utilisation
L'entretien du filtre cyclone est assez simple - déconnectez la structure de l'aspirateur et ouvrez-la. Videz les débris et remettez le filtre en place. Contrairement à la fonction aqua, le récipient n'a pas besoin d'être rincé à l'eau, cependant, si nécessaire, il peut être essuyé avec une éponge humide et du savon ou un détergent. La condition principale est de sécher le filtre avant de le nettoyer, car les résidus de poussière peuvent s'accumuler en une seule masse et bloquer le libre passage de l'air, ce qui peut endommager l'appareil.
Comment choisir un aspirateur avec filtre cyclone
Sur le marché, vous pouvez trouver une grande variété de marques avec une énorme liste de fonctions, mais toutes ne seront pas demandées pendant le fonctionnement. Choisissez un aspirateur uniquement parmi les marques qui ont déjà fait leurs preuves, car les appareils bon marché avec de grandes fonctionnalités peuvent ne pas correspondre à la réalité et échouer rapidement.
Vous devez également décider du type d'aspirateur. Si le nettoyage doit être effectué dans une ou plusieurs pièces avec peu d'accumulation de débris, achetez une conception verticale avec un cordon d'alimentation ou une batterie. Le filtre cyclone qu'ils contiennent fonctionne assez efficacement, alors qu'il est facile à retirer et à nettoyer.
Pour les grandes pièces et les entreprises de nettoyage, il est recommandé de choisir parmi les aspirateurs horizontaux, car ils ont plus de puissance et un dépoussiéreur capacitif. La centrifugeuse dans ce cas fonctionne plus rapidement, ce qui vous permet de nettoyer efficacement la surface de la poussière.
Cyclone fait maison à partir d'un aspirateur domestique
La première méthode est présentée sur Internet et sur YouTube depuis un certain temps. Vous pouvez facilement trouver de nombreuses vidéos avec des cyclones maison similaires.
Cependant, ils suscitent des interrogations et un scepticisme tout à fait légitimes chez les constructeurs professionnels. Par conséquent, vous devez immédiatement faire une réservation sur le fait qu'ils conviennent principalement au nettoyage des copeaux de bois.
Mais il vaut mieux ne pas travailler avec de la poussière de ciment avec de tels appareils. En dessous, la deuxième option est plus « emprisonnée ».
Le "truc" principal qui vous permettra d'aspirer calmement des kilogrammes d'ordures, de bois, de limaille de métal et en même temps de ne pas vous soucier du changement fréquent des sacs filtrants, est un "séparateur" fait maison.
Il devra alors être construit à partir de plusieurs composants. Pour l'ensemble du montage, vous aurez besoin de :
aspirateur conventionnel
seau en plastique épais avec couvercle
Un seau de mastic Shitrok est le meilleur ici. Il est plus difficile de l'aplatir avec un aspirateur.
tuyau d'égout en plastique d-40mm
sortie d'égout en polypropylène à 90 degrés d'un diamètre de 40 mm
couronne 40mm ou couteau papeterie
Tout d'abord, percez ou coupez soigneusement un trou traversant pour le tube au centre du couvercle du seau.
Marquez le deuxième trou plus près des bords du couvercle, là où se trouve le raidisseur.
Si vous n'avez pas de couronne spéciale, percez d'abord le cercle prévu avec un poinçon et coupez-le soigneusement avec un couteau de bureau.
Les bords seront inégaux, mais ils peuvent être traités avec une lime ronde.
Deux sorties d'égout sont insérées dans ces trous. Pour qu'ils tiennent bien et qu'il n'y ait pas de fuite d'air supplémentaire, il est préférable de les coller.
Pour ce faire, poncez d'abord les bords du tube avec du papier de verre ou une lime pour créer une surface rugueuse.
Faites la même opération avec le couvercle.
Après cela, insérez le tube à l'intérieur du couvercle et appliquez une couche épaisse de colle avec un pistolet thermique.
Ne sois pas désolé pour Clay. Cela aidera à créer une bonne étanchéité à ces endroits et à fermer hermétiquement toutes les fissures.
Il existe vraiment une autre option dans laquelle vous pouvez vous passer du tout de colle et de tuyaux de ventilateur. Pour ce faire, achetez des adaptateurs en caoutchouc auprès de Leroy Merlin.
Ils existent en différents diamètres. Choisissez en fonction de la taille de votre tuyau.
Par exemple, un tube d'un tuyau de 35 mm est fermement inséré dans un raccord 40/32. Mais dans un tuyau de 40 mm, il traînera. Nous devrons liquider quelque chose et une ferme collective.
Sur le tube qui se trouve sur le bord du couvercle, placez une sortie d'égout à 90 degrés.
Sur ce point, on peut dire que la conception du séparateur est presque prête. Installez le couvercle avec des robinets sur le seau.
Le tuyau d'admission d'air de l'aspirateur est inséré dans le trou central.
Et la pièce avec laquelle vous ramasserez toutes les ordures et la poussière est collée dans le joint d'angle.
Il est souhaitable que des joints toriques soient présents dans les tubes en fonction de la taille des tuyaux ondulés de l'aspirateur.
Ceci termine l'ensemble de l'assemblage. Vous pouvez brancher l'aspirateur sur le réseau et l'utiliser.

Le principe de fonctionnement est ici le suivant. La poussière grossière aspirée dans le récipient tombe au fond du récipient. En même temps, il ne tombe pas dans la zone où l'air est pompé directement.
Trois facteurs aident dans cette affaire:
la gravité
friction
force centrifuge

En règle générale, un tel cyclone sur les conceptions d'usine a la forme d'un cône, mais les spécimens cylindriques font également souvent du bon travail dans cette tâche.
Certes, plus le seau est haut, meilleure sera l'installation. Ici, beaucoup dépend de l'association correcte de la conception du conteneur et de la puissance de l'aspirateur.Voici une plaque de cyclones chinois sur la sélection correcte du diamètre des tuyaux et de la puissance des unités.
Dans les seaux cylindriques, le flux d'air tangentiel n'entre pas par une paroi latérale incurvée, mais par un couvercle plat. Il est beaucoup plus facile d'assembler un tel appareil.
Aussi, si vous avez plusieurs seaux, vous pouvez les utiliser un par un. Il suffit de retirer le couvercle de l'un et de le mettre sur l'autre. Et c'est encore plus facile à faire que dans les cyclones volumineux.
De plus, à la toute fin des travaux, il suffit de retirer immédiatement les contenants remplis. C'est un grand gain de temps.
Si vous avez un aspirateur puissant, au lieu d'un seau de peinture en émulsion plastique, il est préférable d'utiliser un réservoir métallique de même forme. Sinon, le seau s'effondrera et l'aplatira.
Le régulateur de puissance vient à la rescousse dans ce cas. S'il est bien sûr présent dans votre modèle.
Fabriquer un filtre cyclone
La création d'un souffleur de copeaux fait maison comprend un certain nombre d'étapes :
- Création d'un anneau de retenue et d'un insert bouclé
- Installation de la bague de retenue
- Installation du tuyau latéral
- Réglage de l'entrée supérieure
- Pose d'insert bouclé
- Assemblage du filtre cyclone
Création d'un anneau de retenue et d'un insert bouclé
Il est nécessaire de couper le côté du petit seau, qui sert à fixer le couvercle. En conséquence, vous devriez obtenir un tel cylindre (enfin, un peu sur un cône).

Nous faisons des marques - nous mettons un petit seau sur du contreplaqué et traçons une ligne le long du bord - nous obtenons un cercle.

Ensuite, nous déterminons le centre de ce cercle (voir le cours de géométrie de l'école) et traçons un autre cercle dont le rayon est supérieur de 30 mm à celui existant. Ensuite, nous marquons l'anneau et l'insert bouclé, comme indiqué sur la figure.

Le balisage est mieux fait avec précision ou, au pire, "à l'œil".

Nous découpons les pièces résultantes avec une scie sauteuse électrique.

En conséquence, deux flans doivent être obtenus - un anneau de fixation et un insert bouclé.

Installation de la bague de retenue
Nous fixons l'anneau sur le bord du petit seau afin d'obtenir un rebord. La fixation se fait avec des vis autotaraudeuses. Il est conseillé de pré-percer les trous afin de ne pas fendre le contreplaqué.

Nous marquons le toit d'un grand seau. Pour le marquage, vous devez placer le seau lui-même sur le couvercle d'un grand seau et encercler son contour. Le marquage est mieux fait avec un stylo-feutre, car la trace est clairement visible.

Et couper au couteau.

Nous installons le couvercle découpé sur le côté du petit seau et le fixons avec des vis autotaraudeuses.

Il est important de noter que toutes les connexions doivent être serrées, respectivement, avant d'installer le couvercle, le point de connexion doit être enduit de mastic. Vous devez également enduire la jonction de l'anneau en bois et du petit seau

Installation du tuyau latéral
Le tuyau latéral est fabriqué à partir d'une sortie d'égout de 30 degrés (ou 45 degrés). Pour l'installer, vous devez percer un trou dans le haut du petit seau avec une couronne.
Notez que le bas du petit seau est maintenant le haut.

Une fois le trou percé, vous devez lui donner une forme de larme avec un couteau pour un ajustement plus serré du tuyau.

Nous posons le tuyau sur le mastic et le fixons avec une vis autotaraudeuse.

Réglage de l'entrée supérieure
Pour faire l'entrée supérieure, vous devez percer un trou dans la partie supérieure du coupe-copeaux (petit seau), c'est-à-dire au centre de l'ancien fond.

Pour une fixation solide du tuyau d'admission, il est nécessaire d'utiliser un élément de résistance supplémentaire sous la forme d'une ébauche carrée en contreplaqué de 20 mm d'épaisseur avec un trou central pour un tuyau de 50 mm.

Cette pièce est fixée par le bas avec quatre vis autotaraudeuses. Avant l'installation, pour l'étanchéité, le joint doit être enduit de mastic.

Nous installons le tuyau supérieur sans fixation supplémentaire - juste sur le mastic.

Pose d'insert bouclé
L'insert en forme est un composant très important d'un souffleur de copeaux fait maison, il doit être fixé à l'intérieur du filtre cyclone, comme indiqué sur la photo.

La fixation est réalisée à l'aide de vis autotaraudeuses à travers la paroi extérieure du cyclone.

Assemblage du filtre cyclone
L'assemblage est extrêmement simple - il vous suffit de placer le dessin résultant sur un grand seau. La hauteur finale du produit est de 520 mm.

Ensuite, vous devez connecter correctement les conduits d'air :
- Buse supérieure - à un aspirateur domestique
- Coude coudé entrant par le côté en biais - vers le tuyau.

L'aspirateur cyclone fait maison (souffleur de copeaux) est prêt.
Recommandations
Avant de créer le Cyclone, vous devez prendre en compte quelques conseils importants pour que le résultat soit un produit fiable et performant :
- Pour optimiser le fonctionnement de l'aspirateur, deux flexibles doivent être connectés en même temps : pour le soufflage et l'aspiration.
- L'étanchéité du récipient doit être vérifiée régulièrement. Si un seau avec des microfissures est utilisé, le filtre devra être entièrement refait, car la poussière s'échappera par tous les endroits défectueux.
- Il est souhaitable de compléter l'appareil avec un réservoir d'eau.
- Il est préférable d'utiliser un récipient en métal sous le conteneur à déchets, car il est plus résistant qu'un récipient en plastique.
Fabrication de bricolage
Avant de commencer à travailler, vous devez vous rappeler qu'il ne sera pas difficile de construire un appareil aussi simple. Par conséquent, après avoir maîtrisé les principes, vous pouvez immédiatement apporter vos propres améliorations magistrales au mécanisme.
Lorsque vous fabriquez un cyclone de vos propres mains à partir de matériaux improvisés, vous avez besoin de:
Capacité de 10 à 25 litres (réservoir, bidon plastique, seau, baril, etc.)
Il est important de prendre une base qui n'a pas de nervures internes, sinon le flux d'air sera interrompu en raison d'interférences. Certains experts découpent un cadre en bois pour le conteneur et le combinent avec du plexiglas, cependant, cela prend du temps pour le travail du bois.
Coude en polypropylène avec inclinaison de 30 et 90 degrés
Un coude à 30 degrés créera un flux vortex (centrifugeuse).
Le tuyau mesure environ 1,5 m de long, en fonction du volume du conteneur.
Tuyau annelé de 2 mètres de long. Il peut immédiatement être divisé en deux tuyaux identiques, l'un est conçu pour collecter la poussière, l'autre est directement fixé à l'aspirateur lui-même.
Filtre à huile ou toute alternative (bouchon en caoutchouc avec de nombreux petits trous ou matériau respirant en tissu).
Pour fabriquer un aspirateur de vos propres mains, vous avez besoin de:
- Dans le couvercle du récipient, il est nécessaire de faire un trou pour un coude en polypropylène à 90 degrés et dans le côté du récipient lui-même le même trou pour un coude à 30 degrés.
- Un filtre est placé à l'intérieur du conteneur, déjà relié à un coude en polypropylène.
- Toutes les ouvertures doivent être scellées hermétiquement avec du mastic.
Quelles solutions sont optimales pour la ventilation d'un atelier de menuiserie
- Pour les installations de production, il est recommandé d'installer un système de ventilation par aspiration sous la forme d'une combinaison de parapluies locaux et d'une ventilation par aspiration générale.
- La puissance, le volume, la vitesse de déplacement des masses d'air et d'autres paramètres des ventilateurs d'extraction sont calculés en fonction des caractéristiques techniques de l'équipement principal.
- Les ventilateurs d'extraction pour abris (parapluies) doivent être choisis avec une puissance suffisante pour organiser une décharge suffisante pour assurer un mouvement d'air suffisant à travers le réseau de conduits et empêcher les particules et les déchets du processus de travail du bois de se déposer.
- L'aspiration locale doit être reliée à un système de ventilation par aspiration commun.
- La poussière et les déchets de bois du sol sont éliminés avec des aspiration spéciales de type sol et sous-sol.
- Une caractéristique de la ventilation générale de ces locaux est le système de nettoyage. L'air est nettoyé de la poussière à l'aide de chambres de décantation et de filtres spéciaux.
- Il est préférable de fournir de l'air aux bâtiments dispersés, de l'air refroidi, en hiver, est fourni à la zone supérieure et en été, il peut être fourni par les fenêtres.
- Les ventilateurs de plafond aideront à climatiser la pièce - ils fonctionnent bien dans les grandes et moyennes pièces, et la direction du flux d'air sera un avantage, ce qui empêchera le mouvement de la sciure de bois de l'arbre à travers le bâtiment.
- Lors de la conception d'un système de conduits d'air, un système de trappes hermétiquement scellées doit être prévu. Cette fonction est nécessaire pour l'entretien des équipements de ventilation.

Escargot à faire soi-même pour un souffleur de copeaux

La puissance d'un aspirateur domestique pour certains types de traitement des ébauches en bois est insuffisante.Pour nettoyer de grands volumes d'air, ils fabriquent de leurs propres mains un souffleur de copeaux de type escargot. Le corps de l'appareil ressemble à une coquille d'escargot dans sa forme.
Les artisans fabriquent le corps de l'escargot à partir de deux types de matériaux - le métal et le bois. La création d'un boîtier métallique nécessitera l'utilisation d'une machine à souder et la capacité de manipuler cet équipement. Il existe un autre moyen - fabriquer un escargot à partir de contreplaqué de construction.
Pour travailler avec du contreplaqué dans un atelier à domicile, vous devez disposer d'une scie sauteuse, d'une perceuse et d'autres outils de menuiserie. La partie la plus importante du ventilateur d'extraction est la roue d'admission d'air. Il est fabriqué à partir de matériaux légers tels que le bois, le plastique, etc. La roue est assemblée de manière à ce que les pales soient pliées ou tournées par le bord intérieur par rapport à la ligne de rayon de roue de 450.
La sortie est connectée au filtre cyclone à l'aide d'adaptateurs et de tuyaux. L'axe de la roue d'admission d'air est relié directement à l'arbre du moteur ou un entraînement par courroie est installé, ce qui est préférable à l'amarrage coaxial. Premièrement, la poulie sur l'axe de roue est plus facile à isoler de l'ouverture latérale de la volute, ce qui augmente les performances du dispositif. Deuxièmement, la suppression du moteur électrique contribue à son nécessaire refroidissement.
Fabriquer un cyclone à partir d'un tonneau
S'il y a un aspirateur moderne à la maison, il ne fonctionnera pas pour le connecter à un seau selon le principe de l'Oural en raison des caractéristiques de conception et d'une forme différente. Le cyclone d'une telle unité est réalisé sous la forme d'un filtre relié séparément par des tuyaux. Il est plus pratique de fabriquer une poubelle à partir d'un baril en plastique avec un couvercle fileté.Le principe de fabrication est similaire, mais en plus vous aurez besoin d'un nouveau filtre à huile de la voiture. Les tuyaux lisses sont remplacés par des coudes en PVC avec un angle de 45o et 90o.
Le montage du cyclone s'effectue dans l'ordre suivant :
Sur le couvercle du fût, un trou pour un coude à 90° est découpé au centre. Trois bandes sont découpées dans de la tôle d'acier galvanisée. Les flans d'un côté sont reliés par une épingle à cheveux. Les pétales sont pliés en pyramide dont les extrémités libres sont boulonnées au couvercle autour du trou.
Le genou est inséré dans le trou, scellé avec un pistolet chaud ou de la colle. Un filtre à huile moteur est placé sur le support pyramidal, en le serrant avec un écrou avec une large rondelle.
Pour le protéger de la poussière, le filtre est enveloppé d'un bas en nylon. Une déchiqueteuse galvanisée est faite autour d'elle, la protégeant des impacts de gros débris.
Un trou est découpé dans la paroi latérale du canon. Un coude à 45° est inséré avec un virage vers le bas. À l'intérieur du canon, le tuyau est fixé à la paroi latérale avec une pince. Le joint est soigneusement scellé.
Tous les éléments du cyclone sont prêts. Le couvercle avec le filtre est vissé sur le fût. Le tuyau de branchement supérieur est relié à un tuyau à un aspirateur, et une ondulation est reliée à la sortie latérale pour aspirer les débris.
Production par étapes du Cyclone
Considérez différentes options pour fabriquer un cyclone pour un aspirateur de vos propres mains à partir de tuyaux d'égout et comment fabriquer un tel appareil selon des instructions étape par étape avec des dessins et des exemples de photos.
Sans cône
Pour la construction d'un seau et de tuyaux d'égout, vous aurez besoin de:
- filtre à l'huile;
- seau en plastique;
- coudes PVC égout à 45° et 90°.
- tuyau d'une section de 40 mm et d'une longueur de 1 m;
- tuyau ondulé de 2 m de long et de 40 mm de diamètre.
Le processus de conception est :
- Nous découpons un trou au centre du couvercle du seau afin qu'un tuyau en plastique coudé à 90 ° y pénètre, auquel l'aspirateur sera connecté.
- Sceller les espaces avec du mastic.
- Nous découpons un autre trou sur le côté du seau et insérons un coude à 45 °.
- Nous utilisons l'ondulation comme élément de liaison avec un genou.
- Nous joignons la sortie du filtre avec le genou dans le couvercle du seau.
avec cône
Pour fabriquer un tel appareil, vous devez préparer:
- cône de signalisation;
- bâtons ronds en bois;
- grande capacité;
- coudes en plastique de diamètre 50 mm à 45° et 90° ;
- un morceau de tuyau en PVC de 50 mm;
- Tuyau ondulé;
- contreplaqué épais;
- fixation.
Nous fabriquons le filtre de cette manière:
- Dans du contreplaqué, nous découpons une plate-forme pour un cône sous la forme d'un carré de 40 * 40 cm et d'un cercle égal au diamètre intérieur du cône.
- Nous fixons les deux parties ensemble avec des vis autotaraudeuses ou de la colle et perçons un trou au centre pour un tuyau en PVC de 50 mm.
- Nous fabriquons une plate-forme de 40x40 cm en contreplaqué et faisons un trou au centre, dont le diamètre doit correspondre au diamètre du sommet du cône.
- Nous fixons quatre bâtons ronds à la plate-forme du point 3 et insérons fermement le cône.
- Sur le côté, près de la base du cône, nous faisons un trou d'un diamètre de 50 mm et y insérons un tuyau, en enduisant le joint de mastic.
- Nous appliquons la plate-forme de la clause 2 aux poteaux verticaux et fixons la pièce aux vis. À l'aide de supports en bois, nous fixons le tuyau qui pénètre dans la partie inférieure du cône, après quoi nous insérons un autre tuyau et un coude dans le trou au centre.
- Nous installons le cône sur le dessus de la poubelle, connectons le tuyau de l'aspirateur et le tuyau d'aspiration des déchets et vérifions les performances de l'appareil.
Cyclone simple
Si vous avez besoin d'un aspirateur pour nettoyer le lieu de travail après avoir travaillé avec un routeur CNC ou un équipement similaire, vous pouvez assembler un cyclone simple et compact à partir de tuyaux d'égout en PVC et de bouteilles en plastique.
Pour le montage il vous faudra :
- 2 tuyaux ondulés à l'aspirateur ;
- Tuyaux en PVC d'un diamètre de 40 et 100 mm;
- tôle de 0,2 à 0,5 mm d'épaisseur;
- 2 bouteilles en plastique de 2,5 litres et une de 5 litres ;
- ciseaux en métal;
- perceuse électrique avec perceuses;
- riveteuse;
- pistolet à colle chaude.
Nous fabriquons le filtre de cette manière:
- À partir d'un tuyau d'une section de 100 mm, nous coupons un morceau égal de 50 cm de long, qui servira de corps à l'appareil.
- Nous coupons deux morceaux de tuyau de 40 mm de long 40 et 15 cm, après quoi nous dessinons 3 cercles avec le diamètre intérieur du corps sur une feuille de métal. Au centre de ces cercles, nous dessinons plus de cercles avec un diamètre d'un tuyau plus petit.
- Nous découpons les pièces métalliques avec des ciseaux, puis les coupons au milieu et découpons les cercles intérieurs. Ensuite, à l'aide de rivets, nous connectons tous les éléments ensemble sous la forme d'une spirale, que nous posons sur un tuyau de 40 mm, répartissons uniformément les tours et les fixons avec de la colle chaude.
- Nous plaçons la spirale dans un gros tuyau et laissons une petite saillie vers l'extérieur.
- Dans la partie supérieure du corps, nous faisons un trou pour le tuyau d'aspiration, nettoyons les bavures pour un ajustement parfait.
- Nous plaçons le tuyau dans le trou en scellant la jonction avec de la colle chaude.
- Dans une bouteille de 5 litres, coupez la partie supérieure, dont nous retirons le goulot. Le trou résultant est ajusté à un tuyau de 40 mm, après quoi nous posons la pièce sur le corps et la collons avec de la colle chaude.
- Nous avons coupé la majeure partie du récipient de 2,5 l et l'avons mis sur le fond du boîtier avec un collage obligatoire.
- Nous fabriquons un élément de connexion à partir de deux bouchons, en perçant le milieu.Nous renforçons la bouteille qui sera utilisée pour les ordures avec des électrodes de soudage. Pour ce faire, collez-les autour de la bouteille avec du ruban adhésif. Nous vissons le conteneur en place et connectons les tuyaux d'aspiration et de sortie.
Des tubes ondulés trop fins ne doivent pas être utilisés, car pendant le fonctionnement, ils émettront un fort sifflement.
Vous pouvez en savoir plus sur la fabrication d'un cyclone maison à partir de la vidéo.













































