- Matériel requis
- 2 Comment fonctionnent les poêles à combustion longue ?
- Poêle à ventre à faire soi-même - variétés
- produits de qualité
- Fours de travail de la classe moyenne
- Quelle brique choisir pour la maçonnerie ?
- Ce dont vous avez besoin pour travailler : outils et matériaux
- Comment augmenter l'efficacité du four?
- Comment augmenter la puissance calorifique du four
- Poêle à ventre rectangulaire à partir d'un tuyau profilé
- 1 Description, dispositif et principe de fonctionnement
- Les points importants
- Vote : quel est le meilleur poêle-poêle moderne ?
- CHIEN DE FER DE BRUNNER
- Fixation du tuyau
- Étanchéité des coutures
- Portée de la bourgeoisie
- Avantages et inconvénients d'un poêle à ventre plat
- Modernisation structurelle
Matériel requis
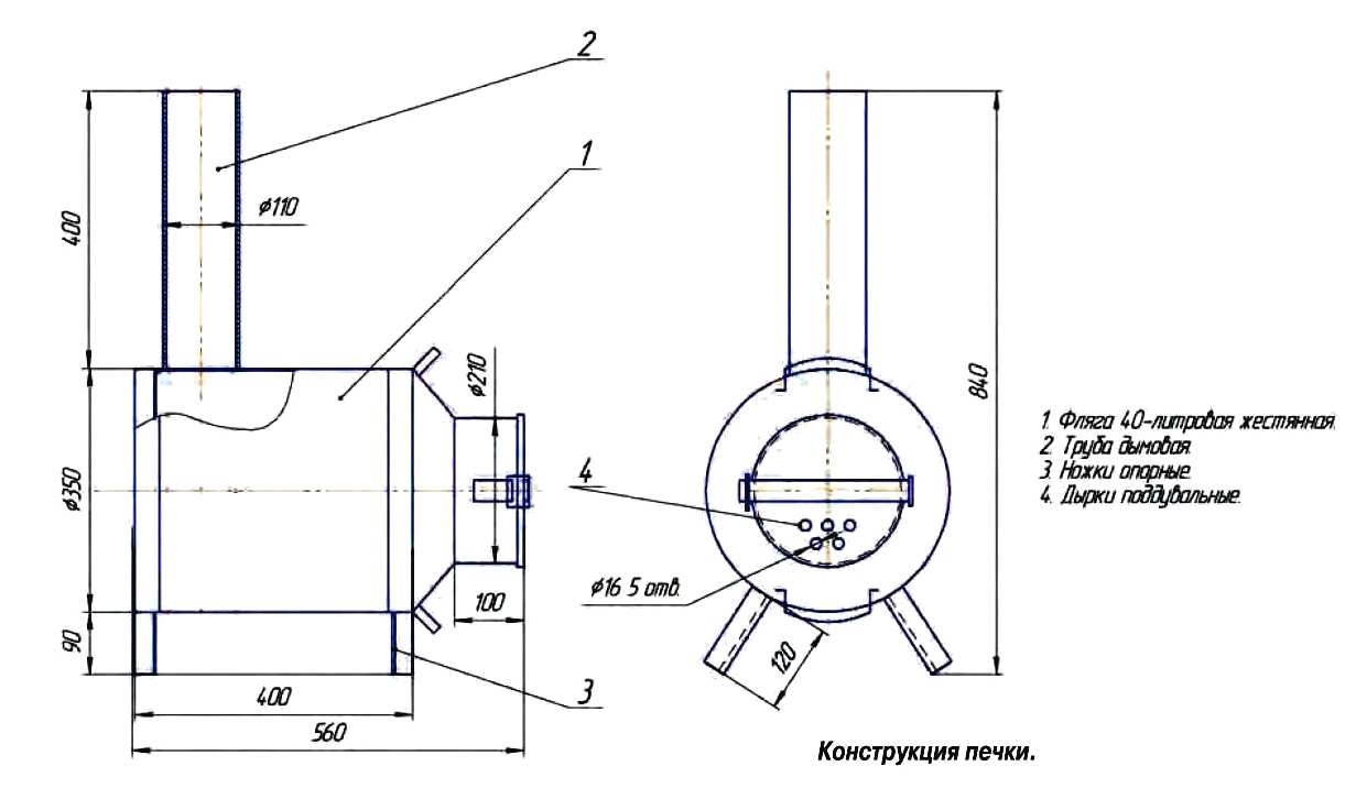
Tout d'abord, selon le modèle choisi, vous aurez besoin de bouteilles de gaz vides, une ou deux.
En plus d'eux, vous aurez besoin de:
- Une tôle d'acier de 3 mm, pour disposer un cavalier entre le cendrier du foyer, ainsi qu'une plaque de cuisson.
- Pour rendre le poêle plus solide, vous avez besoin d'une porte en fonte finie avec un motif en fonte.
- Si l'apparence du produit n'est pas fondamentale, un morceau de métal convient à la porte. Il peut être découpé dans une tôle d'acier ou dans le cylindre lui-même.
- Tuyau de cheminée. Son diamètre doit être de 9-10 cm.
- Pour la grille et les pieds, vous aurez besoin d'un coin en acier ou d'une barre d'armature d (diamètre) 1,2-1,5 cm.
- La grille en fonte prête à l'emploi peut être achetée dans un magasin spécialisé. En outre, son rôle peut être joué par le fond (des trous y sont percés) d'un cylindre couché horizontalement.
Celui-là, que le second modèle peut être réalisé à partir d'un gros ballon, ou d'un petit. En conséquence, le résultat sera un grand ou petit poêle à ventre à partir d'un cylindre. Tout dépend du type et de la taille de la pièce à laquelle il est destiné.
2 Comment fonctionnent les poêles à combustion longue ?
conceptions poêles à combustion longue beaucoup évolué, mais fonctionnent tous sur le même principe. La chaleur n'est pas obtenue dans le processus de combustion ouverte, mais à la suite de la pyrolyse. Sous l'influence d'une température élevée, le carburant couve, des gaz combustibles sont libérés. Ils s'enflamment et brûlent, dégageant beaucoup de chaleur. Le processus de combustion lente se produit en régulant l'apport d'oxygène. Lorsque le carburant s'enflamme, l'alimentation en air est bloquée au minimum.

Le gaz d'un tel poêle n'entre pas dans la pièce, grâce à des portes et des amortisseurs hermétiques
Il est impossible d'utiliser un poêle russe ordinaire dans cette version, une telle tentative aura, selon toute vraisemblance, des conséquences désastreuses. Des gaz peuvent pénétrer dans la pièce, ce qui menace d'empoisonner les gens. Les poêles à combustion longue sont équipés de portes scellées, de registres et de dispositifs de réglage qui empêchent le gaz de pénétrer dans la pièce. Les appareils de chauffage de ce type méritent l'attention pour de nombreuses raisons :
peut travailler sur un onglet sans supervision pendant 10 à 20 heures ;
poids léger, peut être installé sans fondation;
tout type de carburant convient, brûle complètement, efficacité jusqu'à 90%;
peut être utilisé occasionnellement, ce qui est important pour donner;
pas d'odeurs et de fumée étrangères ;
la possibilité de vous assembler à partir de matériaux peu coûteux.
Les avantages incontestables incluent également le faible coût, car peu de matériel est nécessaire. Si vous le faites vous-même, en utilisant un baril en métal, une bouteille de gaz, cela reviendra encore moins cher.
Poêle à ventre à faire soi-même - variétés
Les poêles Potbelly, fabriqués à la main, peuvent être divisés en 3 types:
- Des conceptions bien pensées qui incarnent des idées de chauffage utiles.
- Produits réalisables, mais pas complètement développés.
- Appareils faits maison créés à partir de matériaux improvisés de mauvaise qualité.
produits de qualité
Modèle PETIT GODIN
Ces types de bourgeoisie de bricolage comprennent:
- Four en brique pour un bain. La brique n'était pas à l'origine utilisée comme matériau pour ce type de poêle. Cependant, avec une approche raisonnable, il est possible de faire une conception avec une efficacité de 40%.
- Poêle à ventre au travail. Il s'agit d'une version efficace et assez économique du poêle, qui convient au chauffage d'un garage ou d'une autre buanderie. Le trou de remplissage doit être situé dans le coin le plus éloigné du réservoir. Pour faire le plein d'huile usée, un entonnoir avec un bec incurvé est construit. Dans le même temps, les règles de sécurité incendie doivent être respectées.
Fours de travail de la classe moyenne
Parmi les femmes bourgeoises les plus courantes de cette catégorie, il convient de souligner:
- Construction en tonneau. C'est l'option la plus pratique, qui est fabriquée à partir d'un fût conventionnel de 200 litres d'un diamètre de 600 mm. Dans un tel cercle, il faut monter un hexagone de 314 mm de côté. L'efficacité d'un tel poêle à ventre ne dépasse pas 15%.
- Un réchaud ballon. Pour cette option, une bouteille de gaz domestique convient, qui est posée sur le côté.La cheminée est située dans la partie la plus éloignée du four.
Le canon est pris comme base
Tant dans le premier que dans le deuxième modèle de poêle à ventre, l'arc du four se révèle courbe, sphérique ou cylindrique.
Le réchaud à ventre plat fait maison le plus facile à mettre en œuvre est le gaz. Un brûleur au propane est inséré dans le four et la conception est prête. Les fours utilisant un tel combustible doivent avoir une surface d'échange de chaleur développée, car le gaz est un combustible énergétique, et les produits de combustion s'évaporent facilement et rapidement à travers le tuyau.
Quelle brique choisir pour la maçonnerie ?
Chaque section du four utilise sa propre brique. La température la plus élevée dans le four. Le matériau doit résister à une telle charge. Seules les briques en argile réfractaire conviennent ici.
Tous les conduits de fumée et la zone du four sont également soumis à un test de température, mais pas aussi élevé. Ici, nous utiliserons des briques en céramique réfractaire. Il est moins cher que l'argile réfractaire et est capable de supporter la charge.
Comme base, nous utiliserons une brique résistante au gel qui peut résister à une forte pression. Le poids de toute la structure sera réparti sur celle-ci.
Recommandation générale - utilisez une brique :
- corsé;
- qualitatif;
- avec une bonne dissipation thermique et une bonne capacité thermique.
La brique doit avoir des tailles différentes. Avant d'acheter, vous devez clarifier en vertu de quelle commande est calculée. Vous trouverez ci-dessous une instruction étape par étape pour la pose d'un poêle à ventre à partir de Briques de bricolage. Là, vous pouvez utiliser une brique d'une taille de 250x120x65. Aussi, c'est lui qui est pris en compte dans la commande en photo n°2 (ci-dessous, dans la rubrique "Pose du four").
Si vous le souhaitez, vous pouvez utiliser différents types de briques décoratives pour le revêtement. Cela donnera au poêle un aspect plus esthétique.
Dans notre cas, nous avons besoin de 60 briques céramiques réfractaires et 35 briques en argile réfractaire (en tenant compte des pertes éventuelles).

Ce dont vous avez besoin pour travailler : outils et matériaux
Ce modèle de poêle « longue durée » peut être réalisé en quelques heures seulement. Pour cela, il suffit d'un grand désir et d'une organisation correcte du flux de travail. Vous devrez également bien comprendre la conception de l'unité et préparer à l'avance tout ce dont vous avez besoin.
Parmi les outils dont vous aurez besoin :
- machine à souder - un petit onduleur léger avec la possibilité d'ajuster l'intensité du courant jusqu'à 200 A est le mieux adapté à ces fins;
- meuleuse d'angle (familièrement une meuleuse ou "meuleuse");
- disques de coupe et de meulage conçus pour le travail des métaux;
- perceuse ou perceuse électrique;
- jeu d'exercices;
- marteau avec un percuteur de taille moyenne;
- chalumeau;
- ciseau;
- marteau de forgeron ;
- ruban à mesurer et règle en métal;
- noyau (dispositif conçu pour appliquer des marques pour faciliter le forage);
- pointe à tracer pour le marquage sur des surfaces métalliques.
En ce qui concerne les matériaux, il n'est pas nécessaire de suivre la liste à la lettre. La beauté des structures faites maison réside précisément dans le fait que n'importe quel fer à repasser que l'on peut trouver dans la cour arrière ou dans les coins du garage (atelier) fera l'affaire.

Pour la fabrication du corps du four, tout conteneur global convient, par exemple un fût métallique inutile
Donc, la liste des matériaux nécessaires:
- des tuyaux en acier d'un diamètre de 80 à 250 mm, qui seront nécessaires à la fabrication d'une colonne montante d'alimentation en air et d'une cheminée;
- un récipient métallique approprié d'un diamètre de 300 à 600 mm avec une épaisseur de paroi d'au moins 2,5 mm (vous pouvez utiliser une bouteille de gaz qui a fait son temps, un fût de carburant ou une longueur de tuyau d'au moins 120 cm);
- une tôle d'une épaisseur d'au moins 4-5 mm, à partir de laquelle le piston de distribution d'air sera fabriqué;
- charnières métalliques solides qui seront nécessaires pour fixer les portes du four et des cendres;
- cordon d'amiante (il est nécessaire pour sceller la fenêtre de chargement et les autres ouvertures opérationnelles);
- coins avec une étagère à partir de 50 mm, canaux et tubes profilés - pour la fabrication de pales de distribution d'air, de pieds de support et d'autres éléments structurels;
- une crêpe ronde en métal d'une épaisseur d'au moins 5 mm et d'un diamètre de 120 à 150 mm (vous pouvez prendre n'importe quel engrenage ou pignon approprié d'un équipement automobile);
Comment augmenter l'efficacité du four?

Diamètre de cheminée
Lors de l'utilisation de poêles à ventre plat, l'essentiel est de s'assurer qu'une plus petite quantité de gaz de combustion sort par cette cheminée par rapport au volume produit par la fournaise. Si ce problème est résolu avec succès, les gaz resteront dans le tuyau et traverseront l'espace du four un certain nombre de fois. Cela conduira à la circulation de l'air, qui est une condition préalable à la combustion du carburant. Par conséquent, en sortant par la cheminée, ces gaz auront déjà une température plus basse.
Ce problème peut être résolu en déterminant le diamètre de cheminée optimal. Cela peut être considéré comme une taille qui correspond à trois fois le volume du four du four en mètres cubes. Cependant, dans le cas d'une circulation de gaz dans une boîte métallique, celui-ci perdra rapidement sa température.
Afin d'éviter un refroidissement rapide des gaz et d'assurer leur combustion complète, il est nécessaire de modifier le processus de combustion du carburant pour qu'il se déroule en mode pyrolyse. Vous pouvez le créer à l'aide d'une température élevée. De plus, même si vous essayez d'utiliser des meubles secs comme combustible, vous ne pourrez pas obtenir l'effet souhaité.
Vous pouvez essayer d'ajouter régulièrement du charbon, mais avec l'aide de telles matières premières, il est impossible de créer des conditions optimales pour le processus de pyrolyse. Ceci n'est possible qu'à condition que le four fonctionne en mode couvant et passe naturellement d'un mode de fonctionnement à l'autre.
Nous arrivons maintenant au point important suivant.
Écran de protection à trois faces en acier

Production de chaleur
En gardant à l'esprit que l'approvisionnement en bois de chauffage et en charbon est constamment insuffisant, il est important de s'assurer que les toutes premières portions de chaleur sont dans la pièce et ne vont pas dans la cheminée. Parmi les méthodes de transfert de chaleur actuellement connues, en termes d'efficacité, il n'y a pas d'équivalent à la convection.
En pratique, il est mis en œuvre en ce sens qu'après avoir chauffé l'air près du poêle, faites en sorte qu'il se répande dans toute la pièce. Ce problème peut être résolu en utilisant l'écran
Parmi les méthodes de transfert de chaleur actuellement connues en termes d'efficacité, il n'y a pas d'équivalent à la convection. En pratique, il est mis en œuvre en ce sens qu'après avoir chauffé l'air près du poêle, faites en sorte qu'il se répande dans toute la pièce. Ce problème peut être résolu en utilisant l'écran.
Bien que la température de chauffage de la couche inférieure du poêle à ventre ne soit pas si élevée, la chaleur en descend toujours. De ce fait, il existe un risque d'incendie dans la pièce.Pour cette raison, il est nécessaire d'utiliser une tôle comme base sur laquelle le poêle à ventre sera placé, en prévoyant un retrait de 30 à 40 cm du poêle. De plus, en dessous, il est nécessaire de placer une feuille supplémentaire, qui peut être en amiante ou en basalte.
Il convient de noter que le poêle à ventre n'est pas en mesure de maintenir à 100% le mode pyrolyse. Cela est dû au fait qu'après être entrés dans la cheminée, les gaz en sortent sans avoir le temps de céder leur chaleur. Ceci peut être réalisé si la bonne approche est adoptée. pose de conduit de cheminée, en choisissant la conception la plus optimale pour cela.
Ce problème est résolu comme suit: une partie verticale doit être prévue dans la conception de la cheminée, atteignant une hauteur d'au moins 1 mètre. Il devrait également prévoir une couche d'isolation thermique, qui peut être utilisée comme laine de basalte.

nom spécial - sanglier
Depuis son apparition et la vulgarisation du poêle ventru, des modifications ont été apportées à leur conception. En conséquence, ce sont aujourd'hui des fours à combustion longue, caractérisés par une facilité d'utilisation et un haut niveau d'efficacité. La version moderne de ces fours ne prévoit plus de grilles, tandis qu'un starter à air est apparu au niveau du ventilateur, dont le but principal est de réguler la puissance calorifique et le mode de combustion. Pour assurer une combustion à long terme, l'air pénètre dans le carburant par le haut.
Parmi les différentes options de poêles bourgeois, les poêles en fonte présentent l'intensité énergétique la plus élevée. De tels appareils pourraient fonctionner même sans écran. C'est cette caractéristique qui a été prise en compte lorsqu'il a été décidé de les utiliser pour chauffer les casernes de l'armée.Dans notre pays, ils sont depuis longtemps engagés dans la fabrication de bourgeois de l'armée, et il n'y a rien à redire sur la qualité de leur travail. Ces installations diffèrent par de nombreux paramètres, y compris les dimensions.
Comment augmenter la puissance calorifique du four
Alors, comment augmenter l'efficacité d'un tel poêle ? Il existe plusieurs façons simples. La plus élémentaire consiste à poser un écran en brique autour du poêle. Les briques ne peuvent même pas être attachées avec de l'argile, il suffit de les mettre les unes sur les autres. Vous pouvez plier un tel écran près des parois latérales, ou vous pouvez - à la fois sur les parois latérales et arrière. La brique chauffera pendant la combustion du feu et, lorsqu'elle deviendra petite ou s'éteindra, elle dégagera de la chaleur. Vous n'avez pas besoin de faire le plein souvent. L'une des caractéristiques du poêle à ventre plat est qu'il est léger et mobile. Avec un tel écran, il ne perdra pas sa mobilité, car les briques peuvent être démontées à tout moment, réorganiser le four et plier l'écran dans un nouvel endroit.
Il existe un autre moyen avec un écran, qui augmente également le transfert de chaleur. Dans ce cas, l'écran tôle fixé à une certaine distance du côté et/ou de la paroi arrière du poêle. Les feuilles peuvent être fixées avec de longs boulons. Dans ce cas, l'effet de convection s'ajoute.
Il existe un autre moyen simple d'augmenter le transfert de chaleur. Cette fois, la cheminée du poêle ventru est en cours de modernisation. Généralement, ces poêles ont une cheminée droite. Il est sorti par le toit de la pièce dans laquelle le four est installé. Si vous ajoutez plusieurs coudes au tuyau, le transfert de chaleur augmentera, mais pas beaucoup. Dans ce cas, le tuyau ressemblera à la lettre S.
Si vous voulez qu'il fasse beaucoup plus chaud, vous devez en prendre 2 réservoirs de machine à laver ancien échantillon. Les réservoirs sont soudés ensemble et une cheminée les traverse.Ainsi, au-dessus du poêle à ventre, qui est chauffé au bois de chauffage, il y a aussi un poêle de même taille, chauffé par des fumées chaudes. Le transfert de chaleur est presque doublé.
Une autre méthode consiste à souder des nervures supplémentaires sur le poêle et la cheminée, par exemple à partir de carrés de métal. Dans ce cas, la cheminée doit être en métal épais. De telles nervures augmentent considérablement la surface de la surface chauffée. L'augmentation de la surface entraîne un réchauffement plus rapide de l'air ambiant. La pièce se réchauffe. De plus, le métal épais retient la chaleur même lorsque le feu dans le four ne brûle plus.
Mais encore, cela ne fonctionnera pas pour augmenter infiniment l'efficacité de cet appareil de chauffage. Et si vous voulez avoir un poêle à part entière dans la pièce, vous devrez le plier en brique selon toutes les règles, afin que le poêle conserve la chaleur pendant longtemps, par exemple toute la nuit. Par exemple, il n'est pas nécessaire d'augmenter l'efficacité du poêle russe, il conserve la chaleur très longtemps. Certes, pour le plier correctement, vous devrez faire appel à un spécialiste du poêle.
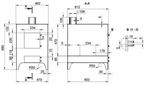
Poêle à ventre rectangulaire à partir d'un tuyau profilé
Cette version d'un poêle à ventre fabriqué à la main selon le dessin est la plus efficace. Le poêle à ventre de cette option, comme le modèle précédent, est de forme rectangulaire, mais ses parois sont constituées d'un tube profilé soudé de section rectangulaire. L'air passera entre les tuyaux et chauffera davantage, augmentant ainsi l'efficacité de la fournaise.
Mettons-nous au travail:
- Nous coupons le tube profilé en morceaux de quarante centimètres de long. Il faut donc beaucoup de pièces pour les souder et obtenir la longueur choisie du bas et du haut. Nous mettons les morceaux de tuyau les uns à côté des autres.D'une part, on passe avec une couture continue, et d'autre part, on ne fait que des punaises à trois endroits.
- De la même manière, nous réalisons le deuxième mur et le mur du fond. À la fin des travaux de fabrication de murs à partir d'un tuyau profilé, nous assemblons la forme d'un poêle à ventre. Dans ce cas, des coutures continues doivent être placées au milieu de l'appareil.
- Sur la partie supérieure, à l'aide d'un tuyau pour la cheminée, nous marquons son emplacement. Découpez le cercle. Nous soudons un coin aux parties inférieure et supérieure de la face avant. Un peu au-dessus du coin inférieur, nous soudons un morceau de tuyau profilé de la même section que les murs.
- Nous mesurons la partie avant, selon les dimensions obtenues, nous la découpons en tôle. À l'endroit où le tuyau est soudé, coupez la pièce en deux parties. Nous mettons la partie supérieure à sa place, fixons deux boucles.
- La pièce inférieure de faible épaisseur, laisser en place. Environ au milieu du bas, nous fixons un morceau du coin, comme indiqué sur l'image. Nous soudons une petite poignée à la même pièce. Nous fixons également la poignée sur la porte de la chambre de combustion.
- Nous forons un trou traversant dans le tuyau avec un diamètre adapté à n'importe quel filetage. Nous préparons un cercle qui s'adaptera au diamètre du tuyau et le souderons au milieu du tuyau au filetage.
- Nous mesurons la longueur du four. Nous coupons un tuyau rectangulaire de taille, soudons un renfort sur la surface d'au moins 14 mm. Nous soudons de petites jambes et les installons au milieu. Nous attachons un tuyau à la partie supérieure du trou découpé et l'échaudons en cercle avec une couture continue. Si nécessaire, le four peut être peint avec un émail résistant à la chaleur.
Le poêle Potbelly est prêt à l'emploi. Comme l'ont montré nos tests, à une température de moins un degré, un garage de 24 mètres carrés se réchauffe à 19 degrés en une demi-heure.
1 Description, dispositif et principe de fonctionnement
Dans les poêles à ventre ordinaires, que tout le monde connaît depuis longtemps, le bois de chauffage brûle rapidement et il en faut beaucoup pour chauffer la pièce. Faire à partir d'un poêle à ventre poêle à combustion longue, il était nécessaire de l'équiper d'un dispositif supplémentaire pour la combustion à long terme du carburant. Les artisans ont trouvé un moyen de sortir de cette situation et diverses options pour de telles unités sont apparues: Slobozhanka, pyrolyse, bubafonya et autres. Ils sont très économiques, vous pouvez chauffer du bois de chauffage, de la sciure de bois, des copeaux de bois et d'autres déchets combustibles du bois de chauffage. Ils peuvent brûler, ou plutôt couver, pendant une journée entière, et leur efficacité dépasse 90 %. Ils n'ont pas besoin d'une surveillance constante.

Il est pratique d'installer ces poêles dans les serres, les garages, les chalets et les petites maisons en bois. L'inconvénient sera en eux une organisation spéciale de la cheminée, dans laquelle plusieurs branches ne peuvent pas être réalisées. Dès que le bois de chauffage brûle, le poêle à ventre se refroidit, mais pendant la combustion, il chauffe beaucoup. Vous pouvez faire un poêle à ventre à partir de n'importe quoi, et sa conception est assez simple. Vous pouvez le découper en métal, puis il se révèle être une forme rectangulaire.
Vous pouvez fabriquer un poêle à ventre long à partir d'un baril en acier ordinaire ou d'une bouteille de gaz usagée. Le principe de fonctionnement est le même partout - la décroissance. Une caractéristique de ces appareils de chauffage sont deux chambres, qui sont divisées en deux parties: pour le carburant et pour la combustion ultérieure du charbon et des gaz. Un piston est prévu dans le dispositif de four, qui :
- fournit de l'air au four;
- exerce une forte pression uniforme sur le bois de chauffage, il couve et tombe uniformément.

Au fur et à mesure que le bois de chauffage brûle, la chambre elle-même diminue également, sur laquelle un amortisseur appuie par le haut, ce qui régule la circulation de l'air.
Les points importants

Aucun élément de four ne doit être installé à proximité de la source de chaleur principale !
Lors de la réalisation d'équipements de chauffage tels qu'un four à cylindre ou à bubafon, vous devez faire attention à certains points importants:
- Certaines sections du tuyau de cheminée sont montées strictement dans le sens opposé à celui dans lequel les flux de gaz se déplaceront.
- Avant de fabriquer un four, il est nécessaire de déterminer le lieu de son installation, afin que l'espace environnant puisse sans faute supporter un régime de température suffisamment élevé.
- La cheminée doit être conçue de manière à ce que même après une longue période, il soit possible de la démonter à des fins de nettoyage.
- Avant de démarrer un bubafon ou un réchaud à combustion longue à partir d'un cylindre, l'appareil doit d'abord être testé. Ce processus est souhaitable pour effectuer dans différents modes. Ceci est nécessaire pour connaître la température et le fonctionnement optimaux de l'équipement.
Vote : quel est le meilleur poêle-poêle moderne ?
| Une photo | Nom | Évaluation | Prix | |
|---|---|---|---|---|
| Les meilleurs modèles d'usine de poêles de fabrication russe | ||||
| #1 | Poêle à ventre rond POV-57 | 99 / 1005 - voix | Apprendre encore plus | |
| #2 | Termofor Feu-batterie 5B | 98 / 100 | Apprendre encore plus | |
| #3 | META Gnome 2 | 97 / 100 | Apprendre encore plus | |
| #4 | Four Poêle Potbelly Teplostal | 96 / 1003 - voix | Apprendre encore plus | |
| Poêles à ventre populaires de marques mondiales | ||||
| #1 | Keddy | 99 / 100 | Apprendre encore plus | |
| #2 | Guca Lave | 98 / 100 | Apprendre encore plus | |
| #3 | Moulages du Vermont | 97 / 1001 - voix | Apprendre encore plus | |
| #4 | JOTUL | 96 / 1001 - voix | Apprendre encore plus | |
| #5 | CHIEN DE FER DE BRUNNER | 95 / 100 | Apprendre encore plus |
Que choisiriez-vous parmi les poêles bourgeois modernes ou conseilleriez-vous d'acheter ?
CHIEN DE FER DE BRUNNER
Enregistrez les résultats du vote pour ne pas les oublier !
Vous devez voter pour voir les résultats
Une fois le poêle à ventre plat installé et prêt à fonctionner, il est nécessaire d'installer une cheminée qui peut fonctionner correctement, conserver la chaleur dans la pièce et en même temps empêcher les déchets de combustion de pénétrer dans l'air de la pièce où le poêle est installé. Pour ce faire, vous devez calculer correctement le diamètre du tuyau, sa longueur et réfléchir à la façon dont il apportera de la fumée à l'air frais.
sortie de position tuyaux au-dessus du toit respecter certaines règles :
- La cheminée est située à une distance maximale de 1500 millimètres du faîte du toit, ce qui signifie que la sortie du tuyau doit être située à une hauteur de 50 centimètres au-dessus du sommet du faîte,
- Avec une distance à la visière de 150 à 300 centimètres, la sortie du pipeline peut être placée au même niveau que celle-ci,
- Si la cheminée est située près du bord du toit, sa sortie doit être légèrement inférieure à la crête ou au même niveau que celle-ci,
La deuxième option pour la sortie du tuyau est à travers le mur et non à travers le toit. Dans ce cas, l'extrémité de la cheminée doit être située juste en dessous du sommet du faîte du toit.
Les travaux d'installation à faire soi-même doivent commencer par le choix d'un endroit où les éléments extérieurs et intérieurs du four doivent être connectés. Un grenier est parfait à cet effet ou comble. Le premier élément de la future cheminée est installé sur le poêle à ventre lui-même, sur lequel les deuxième, troisième et ainsi de suite sont placés ensuite (en fonction du nombre de sections que la cheminée comprendra).
Il est nécessaire de prolonger le conduit de fumée jusqu'à ce qu'il atteigne l'endroit préalablement déterminé à la jonction des deux éléments.
Dans le plafond, vous devez faire un trou dont le diamètre sera supérieur de 5 à 10 cm au diamètre du tuyau: cela sera nécessaire pour recouvrir le tuyau au point où il traverse les sols avec de la chaleur -matériau isolant. S'il y a des matériaux isolants ou d'autres objets facilement inflammables dans les fissures entre les plafonds ou à proximité du tuyau, ils doivent être retirés : lorsque le tuyau se réchauffe à cause de la fumée et que sa température augmente, le risque d'incendie du matériau calorifuge augmenter avec elle.
Un verre de passage est inséré dans le trou découpé dans le plafond, à travers lequel le tuyau de cheminée doit être passé. Ensuite, vous devez ancrer le tuyau provenant de l'intérieur de la pièce avec l'extérieur de la cheminée. La cheminée doit se terminer au-dessus du niveau du toit, environ 10 cm au-dessus. L'endroit où sera découpé le trou pour la sortie du tuyau est équipé selon le même principe que la sortie du tuyau à l'intérieur du bâtiment :
- le trou doit être plus grand que le tuyau de cheminée lui-même;
- une couche de matériau calorifuge doit être placée entre les matériaux de toiture et le tuyau.
Fixation du tuyau
Le tuyau d'évacuation des fumées est passé à travers un trou dans le toit et fixé avec une feuille d'étain ou d'un autre métal. Comme alternative à l'étain, vous pouvez également utiliser un autre fixateur non combustible - des briques, qui sont installées dans l'espace entre la cheminée et le toit. Cependant, pour que les briques maintiennent fermement le tuyau, un support doit être construit pour elles de l'intérieur. Toutes les fissures à cet endroit sont recouvertes d'argile ordinaire.
Étanchéité des coutures
Une fois toute la structure assemblée, vous devez prendre le mastic et, sans l'épargner, lubrifier tous les joints et coutures pour empêcher la fumée de pénétrer dans le salon par la cheminée
Le mastic à ces fins doit être sélectionné avec une attention particulière - un seul qui n'a pas peur des températures élevées convient
Malheureusement, certains produits d'étanchéité "fondent" simplement sur un tuyau chaud, tandis que d'autres sèchent facilement. D'une manière ou d'une autre, mais le mastic, qui est instable aux températures élevées, perdra ses propriétés et ne pourra pas protéger la pièce de la fumée.
Portée de la bourgeoisie
Ces poêles simples sont très demandés. Pour leur travail, ils utilisent du bois de chauffage, du charbon, du coke, des déchets de bois et de nombreux autres types de combustibles, agréables par leur simplicité et leur stabilité de travail. Un tel poêle peut être placé dans le garage - il prendra un minimum d'espace, mais procurera à la pièce une chaleur agréable. S'il y a une grande quantité de bois de chauffage ou un accès à une source bon marché de combustible solide, n'hésitez pas à construire un poêle à ventre pour une longue combustion.

Le bois est le type de combustible le plus simple, le moins cher et le plus largement disponible. pour poêles. Cependant, sa consommation laisse beaucoup à désirer.
Un mini poêle à ventre peut être utilisé pour chauffer une grange ou une buanderie domestique qui n'a pas de chauffage. D'accord, faire quelque chose en hiver ici n'est pas si confortable - vos dents claquent et vos muscles ont des crampes. Et avec le poêle, les choses se passent immédiatement bien - il suffit d'avoir le temps de jeter du bois de chauffage pour ne pas geler.
Les poêles à ventre long sont utiles non seulement pour le garage, mais également pour tous les autres locaux, y compris les locaux résidentiels - il peut s'agir de bâtiments temporaires, de chalets, de poulaillers, d'installations d'élevage et bien plus encore. En général, la portée de leur application est énorme. Ils sont les plus demandés dans les villes et villages où il n'y a pas de gaz, mais vous devez en quelque sorte chauffer des bâtiments résidentiels et non résidentiels.
Avantages et inconvénients d'un poêle à ventre plat
L'utilisation généralisée des poêles à ventre a été reçue pour un certain nombre d'avantages principaux. Parmi eux, il y a des côtés positifs et négatifs, chacun choisit le type pour lui-même et est capable de fabriquer le four par lui-même. Principaux aspects positifs :
- La conception universelle vous permet d'utiliser toutes les options pour allumer le poêle. Le type de combustible n'a pas vraiment d'importance, il peut s'agir de n'importe quelle matière première solide combustible. Avec quelques modifications, l'huile moteur usagée est utilisée pour le chauffage.
- Structure simple, structure d'installation légère. La fabrication à faire soi-même ne nécessite pas de coûts financiers, il existe suffisamment de connaissances dans les domaines de la soudure et de la serrurerie.
- Un grand nombre de variétés vous permet de fabriquer, d'installer en fonction de la zone de chauffage, des locaux et des autres besoins de l'appareil.
- Aucune fondation ou grande structure n'est nécessaire.
Presque tous les équipements, en particulier ceux qui peuvent être fabriqués à la main, présentent plusieurs inconvénients.
Le poêle à ventre ne fait pas exception, avant de choisir cet appareil de chauffage, vous devez faire attention aux faits irréversibles :
Une grande attention est portée à la sécurité incendie. Une cheminée étanche doit conduire le combustible usé vers la rue, les portes sont solidement fixées pour empêcher les charbons ou autres éléments combustibles de tomber.
Il est possible de se brûler au contact d'un poêle à ventre pendant le processus de combustion.
La longue durée de travail d'un poêle à ventre à faire soi-même ne vous laissera pas de repos lors de la récolte du bois de chauffage
L'augmentation de la consommation de combustible permet au poêle de n'être utilisé que pendant le temps requis.
Certaines variétés ne peuvent pas être utilisées à l'intérieur, il existe des types pour le chauffage ou le chauffage uniquement
Il est important de créer un appareil universel qui vous aidera à tout moment.
Modernisation structurelle
Pour augmenter l'efficacité du poêle à ventre, vous pouvez utiliser de la tôle, qui ferme la structure en trois parties. Le métal protège le boîtier. Cependant, ce n'est pas tout - il y a un courant d'air à l'intérieur, la convection se produit. À cet égard, l'efficacité du four augmente.

Une autre étape de la modernisation est la disposition d'un certain coude sur la cheminée. Le problème est que la chaleur est éliminée à travers elle. En prolongeant la longueur de la cheminée avec une section horizontale, elle peut être utilisée pour le chauffage de surface. L'inconvénient de cette approche est le dépôt d'une énorme quantité de suie.

Une autre invention est un poêle à ventre, équipé sur l'eau. Cela permettra d'augmenter l'efficacité du chauffage et de minimiser la consommation de carburant. Un tel poêle à ventre fonctionne avec de l'eau.

Dans ce mode de réalisation, un convertisseur est utilisé qui divise la vapeur. Du fait de son fonctionnement, une flamme se forme dans la chambre. Il ne sera pas possible de réaliser une telle modernisation par elle-même, mais à l'avenir, c'est tout à fait possible.













































