- Caractéristiques des hottes encastrables
- Que rechercher lors du choix d'une hotte inclinée pour la cuisine
- Taille de capot
- Performance
- Type de filtre installé
- Apparence et couleurs
- Schéma d'une hotte de cuisine
- Vidéo - installation d'une hotte de cuisine
- Installation du conduit de ventilation
- Taille du conduit
- Fixation de l'ondulation à la hotte et à la ventilation
- Fixation du conduit au mur
- Comment et où amener le conduit d'air
- Comment installer une hotte de cuisine de vos propres mains
- Connexion électrique
- Comment et à quelle hauteur installer le boîtier de la hotte
- Revue comparative des modèles
Caractéristiques des hottes encastrables
La hotte encastrable est installée dans une armoire murale spécialement désignée à cet effet. Il doit d'abord être préparé en enlevant la partie inférieure pour installer le panneau de travail (réception) et en faisant un trou dans la partie supérieure de l'armoire pour le conduit d'air. Les hottes encastrables n'ont pas besoin de boîtier décoratif, et certains modèles n'en ont pas du tout, représentant un assemblage d'unités fonctionnelles reliées entre elles.
L'avantage de cette conception est l'installation cachée, l'absence de fils visibles, d'éléments structurels.La présence de la hotte n'est révélée que par le panneau de commande et le panneau de réception au bas de l'armoire, ce qui vous permet de maintenir l'intégrité et l'harmonie de l'apparence de l'ensemble de cuisine. Il n'est pas déchiré en deux parties, comme cela doit être fait lors du montage des structures en dôme, il ne dépasse pas vers l'avant, ce qui est très gênant et crée un risque de se cogner la tête sur les parties saillantes. De plus, le volume intérieur du meuble avec hotte n'est jamais entièrement occupé et peut être utilisé pour ranger d'éventuels accessoires.
Espace libre dans l'armoire pour hotte intégrée
La largeur de la base de travail de la hotte doit correspondre à la taille de la table de cuisson. Il existe différentes options de vente :
- Avec une largeur de 50 cm Optimal pour les petites cuisines, mais nécessite une plaque de cuisson assortie.
- Avec une largeur de 60 cm L'option la plus courante, correspondant aux dimensions de la plupart des cuisinières électriques.
- Avec une largeur de 90 cm, cette conception est moins courante et est utilisée dans les grandes cuisines pour évacuer l'air d'échappement des grandes surfaces de cuisson.
Le choix de la hotte encastrable est déterminé par les critères suivants :
- Taille de plaque.
- Caractéristiques techniques de l'appareil.
- Type et caractéristiques de conception de la hotte.
En mode veille, la hotte encastrable est à l'état assemblé, le panneau avant de l'armoire est fermé. En position de travail, il s'ouvre, le panneau avance, offrant une zone donnée pour capter le flux d'air.
Extracteur intégré en position de travail
Il existe des modèles qui peuvent fonctionner non seulement en mode d'évacuation de l'air d'échappement (débit), mais également en tant qu'unités de recirculation. Ils purifient l'air en le faisant passer à travers des filtres et en le renvoyant dans la cuisine.Cela vous permet d'améliorer le mode global d'échange d'air, réduit le besoin d'air frais dans la pièce.
En plus des fonctionnalités de base, lors du choix d'une hotte, vous devez faire attention aux fonctionnalités supplémentaires :
- Volume de travail. C'est un paramètre important, car l'appareil est situé à l'intérieur d'une armoire, qui est capable de fonctionner comme un résonateur et d'amplifier le bourdonnement du ventilateur.
- La présence de l'illumination. Un ajout pratique et utile qui vous permet d'économiser sur l'éclairage principal de la cuisine.
Il ne faut pas oublier le coût de la hotte, qui devient souvent le principal facteur déterminant le choix de l'utilisateur.
Que rechercher lors du choix d'une hotte inclinée pour la cuisine
Taille de capot
Excellente solution pour une petite cuisine
La largeur de l'équipement varie de 350 à 1200 mm. Dans les petites cuisines, de petits poêles sont installés en conséquence. C'est pourquoi la hotte en aura besoin d'une petite. En règle générale, la largeur de la plaque est d'environ 50 cm, puis la hotte doit être achetée avec une largeur de 50 cm.Pour les grandes pièces dans lesquelles des plaques de même taille sont installées, des appareils plus «solides» peuvent être installés.
Performance
A savoir, avec la quantité d'air traversant la hotte pendant 1 heure de fonctionnement. Pour déterminer la performance, la formule est utilisée : le volume de la cuisine * 12 + 15 %. Un tel calcul augmentera non seulement l'efficacité de l'équipement, mais réduira également sa charge. Par exemple, pour une pièce de cuisine de 17 m2, une hotte aspirante d'une capacité de 1500 m3/h est idéale. Pour les petites cuisines, des hottes d'une capacité allant jusqu'à 1000 m3 / h peuvent également être utilisées.
Type de filtre installé
Les équipements modernes peuvent être équipés d'un filtre à charbon jetable, qui est soumis à un remplacement périodique. De plus, dans les hottes inclinées, des filtres à graisse réutilisables peuvent être installés, dont l'entretien consiste en un lavage périodique avec un détergent
Apparence et couleurs
Vous pouvez choisir la hotte non seulement en apparence, mais aussi pour des fonctions supplémentaires : présence d'une minuterie, arrêt automatique.
Schéma d'une hotte de cuisine
Afin de mieux comprendre ce que vous allez faire, vous devez d'abord connaître le circuit de l'appareil et le principe de son fonctionnement, sinon rien ne peut se faire normalement. Cela est également nécessaire pour pouvoir démonter puis remonter la hotte vous-même en cas de panne ou de nettoyage, ce qu'il est souhaitable de faire au moins tous les six mois pour éviter un éventuel incendie.
Un rôle important dans le capot est joué par son ou ses moteurs, car dans certains modèles plus puissants, ils sont installés en deux. C'est une sorte de "cœur" de l'ensemble de l'appareil, la puissance de l'appareil de commande en dépend. Le plus souvent, ces moteurs ont une puissance de 50 à 200 watts, leur vitesse est de 1500 à 2000 par minute. Les performances de l'appareil en dépendent, mais n'oubliez pas que plus il y a de puissance, plus la hotte consommera d'électricité, assurez-vous d'en tenir compte
De plus, les hottes plus puissantes auront un niveau de bruit élevé, il convient également d'y prêter attention.
Un rôle important dans la consommation d'énergie de la hotte et de sa structure est joué par les lampes qui y sont installées et destinées à éclairer le poêle ou la table de cuisson. Le plus souvent, des lampes LED ou halogènes sont installées. Si vous souhaitez économiser sur la consommation d'énergie à l'avenir, vous devez privilégier les lampes à LED, car les lampes halogènes consomment pratiquement la même quantité d'énergie que les lampes à incandescence conventionnelles.
Pour connecter l'appareil au réseau, un cordon ordinaire est utilisé, le plus souvent sa longueur est d'un mètre et demi à deux mètres, si cela ne vous suffit pas, vous devrez alors utiliser une rallonge. Si vous souhaitez cacher le cordon et la rallonge, réfléchissez-y à l'avance.
Un rôle important dans la structure de la hotte est joué par un filtre anti-graisse, qui se trouve littéralement «à l'entrée» de l'appareil et est visible au-dessus de la table de cuisson. Ce filtre est nécessaire pour piéger les odeurs désagréables, ainsi que pour protéger le moteur et les autres pièces de la saleté et des grosses impuretés. Il s'agit d'une sorte de treillis métallique ou de feuille perforée dense à plusieurs couches, idéalement avec un revêtement anti-corrosion.
Certains modèles pas chers disposent de filtres dits jetables, ils sont en tissu synthétique, il faudra les changer très prochainement. Ils sont peu coûteux, mais ce n'est pas très pratique, il est donc préférable de privilégier la première option. Il est nécessaire de nettoyer périodiquement les filtres, car ils sont recouverts de suie et de graisse, cela peut provoquer des odeurs désagréables et gâcher le fonctionnement de l'appareil.
Certains modèles plus chers ont des filtres à charbon, qui sont généralement installés derrière le moteur de la hotte.De tels filtres aident à purifier davantage l'air, ils contiennent des microgranules de charbon, qui fonctionnent sur le même principe que les filtres pour la purification de l'eau. L'inconvénient de tels filtres est qu'ils doivent être changés fréquemment, ce qui est facile à faire, mais nécessite une certaine habileté. Des filtres sales ou anciens interfèrent avec le fonctionnement normal de la hotte dans la cuisine.
Les hottes ont également plusieurs types de commandes qui diffèrent les unes des autres, vous devez choisir le type qui vous convient, dans l'ensemble, elles n'ont aucune différence fonctionnelle. Voici les principaux types de contrôles :
- Contrôle des boutons. C'est la présence de boutons encastrés conventionnels qui sont familiers à tout le monde. Habituellement les boutons sont situés sur le panneau avant de la hotte, ils sont facilement accessibles. Un tel contrôle se trouve le plus souvent dans les modèles les moins chers de l'appareil, mais en même temps, c'est aussi le plus fiable.
Contrôle du curseur. Également un type de contrôle peu coûteux, que l'on retrouve dans de nombreux modèles économiques. Il fonctionne sur le principe d'un levier mobile, il se déplace dans les divisions, modifiant la puissance de l'appareil et parfois l'éclairage de la table de cuisson
Commande tactile. Ce contrôle est le plus populaire, il se trouve dans la plupart des appareils modernes. Premièrement, il a l'air très élégant, ne nécessite pas de soins particuliers et ne perd pas sa présentation même après une utilisation à long terme. La dalle tactile est le plus souvent située sur la face avant de la hotte, elle fonctionne au moindre effleurement. Dans les modèles plus chers, vous pouvez même définir un programme spécifique pour l'appareil.Par exemple, avec une forte apparition d'une forte odeur, le moteur commence à fonctionner dans un mode amélioré, visant à éliminer rapidement une odeur désagréable, lorsqu'une personne s'approche, un voyant lumineux est activé qui illumine la surface.
Vidéo - installation d'une hotte de cuisine
Certains des modèles les plus «intelligents» fonctionnent également sans intervention humaine, ils s'allument et s'éteignent automatiquement lorsqu'une odeur est détectée ou que le poêle est allumé / éteint.
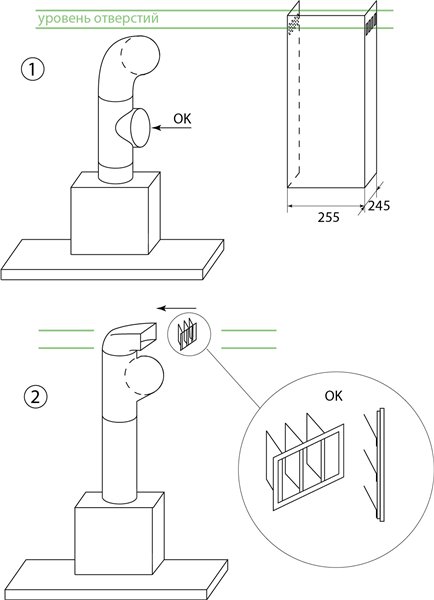
Installation du conduit de ventilation
Le fonctionnement de la hotte s'effectue en se connectant au conduit de ventilation. Toute la pollution de la cuisine est rejetée dans la mine à la maison ou jetée dans la rue. En tant que conduit d'air, vous pouvez utiliser un tuyau en plastique ou une ondulation. Cette dernière méthode n'est pas populaire car elle fait beaucoup de bruit pendant le fonctionnement.
Les conduits d'air sont ronds et rectangulaires. Pour chacun, ils utilisent leur propre type de fixation, un adaptateur en forme, une méthode cachée dans le mur. Lors de l'installation, toutes les exigences indiquées dans le passeport de l'équipement doivent être prises en compte. Pour le conduit de ventilation, des conduits d'air de même diamètre sont utilisés, les virages et le rétrécissement doivent être minimisés.

Taille du conduit
Le fonctionnement efficace de la hotte dépend de la taille du conduit. Lors de l'achat d'un produit, vous devez calculer son diamètre. Un tuyau en n'importe quel matériau doit s'adapter exactement à la fois à l'ouverture de la gaine de ventilation et à la hotte. Une valeur mal calculée réduira considérablement l'efficacité de l'équipement, augmentera la charge sur les articulations et augmentera le bruit.
Vous pouvez calculer correctement la taille de l'ondulation du tuyau en mesurant le diamètre du tuyau sur la hotte et l'ouverture du conduit de ventilation lui-même. Si le conduit d'air est plus petit, il doit être élargi et assuré une étanchéité complète en fixant un adaptateur d'un diamètre approprié.
Selon la grille dimensionnelle standard pour les conduits d'air ronds, des produits d'un diamètre de 8 à 30 cm sont disponibles à la vente.Les produits rectangulaires pour hottes encastrées en forme de T doivent être complétés par des adaptateurs. Les tailles les plus populaires sont 5 x 10 cm, 8 x 15 cm.

Fixation de l'ondulation à la hotte et à la ventilation
Avant de commencer les travaux, il est nécessaire de nettoyer la ventilation de la maison ou de l'appartement. Ensuite, vous devez vérifier l'intégrité du conduit. Nous inspectons le tuyau en plastique pour détecter la présence de copeaux, divers défauts. L'ondulation doit être étirée sur toute sa longueur, inspecter les éléments constitutifs. Ensuite, il est nécessaire de traiter le col de la hotte avec un scellant et de poser un tuyau dessus. Vous pouvez le fixer avec une pince spéciale ou un fil ordinaire.
Pendant que la structure sèche, vous pouvez commencer à préparer l'évent. Nous fixons un treillis spécial avec un rebord avec des vis autotaraudeuses au mur, posons une ondulation ou un tuyau en plastique avec un joint et le fixons avec une pince. Lors de l'installation, assurez-vous de laisser l'ouverture du treillis ouverte pour une circulation d'air naturelle. Vous pouvez vérifier le fonctionnement de la hotte en amenant un morceau de papier à la surface de l'appareil allumé à pleine puissance. La rétention des feuilles est le signe d'une installation de qualité et d'une bonne aspiration.

Fixation du conduit au mur
Des tuyaux en plastique légers et courts peuvent simplement être collés au mur, une surface de meuble en bois avec du silicone ordinaire.Cette méthode de fixation ne convient pas aux murs carrelés ou recouverts de papier peint. De plus, des difficultés surgiront avec un long conduit d'air de plus de 100 cm.Dans ce cas, des pinces serrées avec des chevilles sont utilisées pour la fixation.
Les tuyaux métalliques pour la hotte sont fixés au mur avec des boucles de support. La solution est unique pour toutes les tailles et ne dépend pas de l'éloignement du site d'installation. Grâce à cette méthode de montage, le bourdonnement et les vibrations peuvent être réduits. De plus, l'utilisation de boucles de support vous permet de comprimer en plus les joints de certaines sections.

Comment et où amener le conduit d'air
S'il y a des problèmes lors de l'installation de la hotte, il est impossible de s'écraser dans le canal de circulation naturel, alors la seule option est de sortir le conduit à l'extérieur de la pièce à travers le mur. Cette solution sera également la meilleure pour une maison privée. Si possible, la hotte doit être placée du côté opposé de la fenêtre.
Pour amener le tuyau dans la rue, il sera nécessaire de poser un canal de longueur minimale. Il est préférable d'utiliser une ondulation de section ronde, à faire avec un seul tour. Il est possible d'exclure les fuites, le gel du canal si un clapet anti-retour est installé. Il doit également être isolé avec un isolant résistant à l'humidité. Un parapluie de protection est installé sur le tuyau depuis l'extérieur du mur, ce qui l'empêche de se mouiller.
Le conduit d'air doit être placé dans une boîte spéciale avant d'être envoyé au mur. Il doit s'agir d'une cloison sèche en plastique solide qui peut supporter son propre poids et le poids du tuyau de la hotte. Toutes les parties de la boîte sont hermétiquement adjacentes les unes aux autres. Avant de masquer définitivement le conduit, il convient de vérifier s'il y a des fuites.

Comment installer une hotte de cuisine de vos propres mains
Le montage de la hotte sur le poêle n'est en fait pas difficile si vous avez des compétences minimales en plomberie et en réparation. Il faut commencer par la partie électrique.
Connexion électrique
Une prise ordinaire convient pour la connexion. Mais s'il n'y a pas de prises de courant à proximité du site d'installation, vous devez procéder comme suit.
Il est nécessaire d'amener un câble électrique au marquage de la hotte, en le cachant simultanément dans le mur. Vous devez le faire dans l'ordre suivant :
- Tout d'abord, trouvez la boîte de jonction la plus proche. De là au site d'installation prévu de la hotte, faites un canal en chassant avec un perforateur et une spatule spéciale.
- Poser le nouveau câble dans la cavité.
- Couper l'alimentation.
- En faisant délicatement levier avec un tournevis, retirez le couvercle rond de la boîte de jonction. A l'intérieur de cette cavité se trouve un câblage. Déterminez la "phase" avec un tournevis testeur, à côté sera "zéro". C'est à ces conclusions que vous connectez un nouveau câble, par exemple, à l'aide d'un bornier.
- Installez une sortie aérienne pour la hotte et insérez les extrémités dénudées du câble dans ses contacts, fixez-les.
- Assemblez la douille. Vous pouvez maintenant allumer l'alimentation.
La mise à la terre pour la ventilation n'est généralement pas utilisée.
Comment et à quelle hauteur installer le boîtier de la hotte
Habituellement, un dispositif de ventilation forcée est placé au-dessus du poêle directement sur le mur. Le plus souvent, deux points d'appui suffisent. En règle générale, le manuel d'installation et d'utilisation est joint à la hotte achetée.
La hauteur optimale au-dessus de la cuisinière à gaz est d'environ 80 cm (au-dessus de la cuisinière électrique, 70 cm suffisent).Il faut retirer cette valeur de la plaque et tracer une ligne horizontale avec un crayon. Ce sera la surface inférieure de la hotte. À partir de là, vous pouvez marquer les trous pour accrocher.
Il suffit de mesurer la distance entre la paroi inférieure de l'appareil et les marques de fixation sur un plan vertical avec un ruban à mesurer. Les mêmes valeurs doivent déjà être notées sur le mur.
Ensuite, percez des trous, enfoncez des chevilles en plastique, vissez des vis et accrochez-y le boîtier de l'appareil.
Le processus de fixation d'un tel produit est simple. Le boîtier est vissé avec des vis autotaraudeuses à la paroi supérieure de l'armoire murale à quatre endroits. Lorsque la porte se refermera, il restera invisible.
Mais ces appareils ont un écran plat avec des filtres en bas. Elle a juste besoin d'être visible. Le plus souvent, il possède une partie rétractable et un rétro-éclairage.
Le marquage pour la fixation de la carrosserie est effectué selon le gabarit, qui doit être inclus dans le jeu de documents de cette hotte. Vérifiez-le lors de l'achat.
Revue comparative des modèles
Dans l'ensemble, toutes les modifications de hottes peuvent être divisées en trois grandes catégories :
- écoulement;
- recirculation ;
- combiné.
Le premier type est conçu pour transporter les produits de combustion vers le conduit de ventilation du bâtiment par un conduit d'air. Par conséquent, en plus de fixer le corps de la hotte au-dessus de la cuisinière à gaz, il sera nécessaire d'installer des canaux pour que l'air sorte par l'évent.

Pour que les canaux en plastique ou en carton ondulé ne gâchent pas le design intérieur, ils sont cachés derrière des structures suspendues, de faux murs ou placés dans les armoires supérieures de la cuisine - mezzanines.
Les modèles à recirculation ne sont pas équipés de conduits d'air, ils prennent donc moins de place et s'installent beaucoup plus rapidement. Ils nettoient les masses d'air en les faisant passer à travers des filtres à graisse et à charbon. En effet, ils entraînent l'air en cercle, le libérant des vapeurs, graisses et particules nocives, mais pas rafraîchissant.

Les modèles à recirculation présentent certains avantages : ils sont compacts et faciles à installer. En utilisant les instructions du fabricant, même un débutant sans expérience dans un tel travail peut installer et connecter une telle hotte
Cependant, un énorme segment du marché était occupé par des modèles universels pouvant fonctionner dans les deux modes : flux et recirculation. Le nettoyage à travers les filtres peut être effectué temporairement pendant la réparation des conduites de sortie.
Et s'il n'est pas possible d'installer des canaux de sortie d'air, la filtration est le seul moyen possible d'améliorer le microclimat dans la cuisine.
Selon la méthode d'installation, l'équipement de cuisine d'échappement est divisé en autonome et intégré. Le premier est monté séparément, sur un mur ou un plafond, et le second est intégré dans des armoires de cuisine ou d'autres structures suspendues.

Si vous avez choisi un modèle encastrable, lors de la commande d'un ensemble de cuisine, les artistes doivent fournir les dimensions de l'appareil technique pour un montage précis de l'élément de mobilier
De par sa conception et, par conséquent, l'apparence de la hotte est divisée en plusieurs types, tandis que différents fabricants peuvent avoir des noms différents. Les plus populaires sont les curseurs dits intégrés, dont une partie est constituée de modèles mobiles, bombés et inclinés.
En raison de la popularité de l'intérieur de la cuisine «en îlot», les modèles de plafond pour les zones de travail installées au centre de la cuisine sont également devenus populaires.
L'installation de la hotte se fait en fonction de la conception et des fonctions du modèle. Pour comprendre les caractéristiques d'installation, vous pouvez demander au consultant des instructions d'installation avant d'acheter.
Certaines nuances empêchent peut-être l'installation de ce produit particulier dans votre cuisine. Supposons que la structure du plafond ne puisse pas supporter le poids de l'équipement ou que les armoires n'aient pas d'ouvertures de conduit.












































