Fumoirs fumés à chaud : principe de fonctionnement, classement des meilleurs modèles + conseils pour choisir

12 meilleurs fumoirs fumés à chaud et à froid

Types et caractéristiques des appareils à fumer à domicile

La cuisson de viandes fumées maison n'est pas difficile si vous disposez d'un appareil spécial à cet effet. Aujourd'hui, le marché propose une large gamme d'appareils pour tous les goûts et tous les budgets. Les appareils économiques se distinguent par un ensemble minimal de fonctions et une conception simple. Les appareils plus coûteux conviennent aux petites entreprises, car ils disposent de nombreuses fonctionnalités supplémentaires et de plusieurs modes de cuisson.

Quelle est la différence entre le fumage à froid et le fumage à chaud

Pendant le fumage à chaud, les produits sont traités avec de la fumée chaude et le processus lui-même prend de 40 minutes à 2 heures. Les viandes maigres et les poissons conviennent à cette méthode de cuisson, car toute la graisse est fondue à haute température. Les plats fumés à chaud ne peuvent pas être conservés plus de 2 jours. Vous pouvez lire sur les meilleurs fumoirs fumés à chaud dans un article séparé.

Le processus de préparation des produits par fumage à froid est plus long - de 10 heures à plusieurs jours. Le traitement est effectué avec de la fumée à une température de 15 à 25 degrés (pour le poisson, les indicateurs atteignent 40). Les produits finis peuvent être stockés longtemps.

Types de fumoirs

Il existe plusieurs classifications de ce type d'appareil. Par type de combustible, les appareils sont :

  • charbon;
  • gaz;
  • électrique.

Les fumeurs de charbon réalisent un fumage de la plus haute qualité, car le bois naturel est utilisé comme combustible. Les appareils à gaz sont extrêmement rares, car la chaleur provient des pierres volcaniques chauffées qu'ils contiennent. Les appareils électriques sont les plus courants et les plus polyvalents.

En outre, les fumoirs peuvent être conditionnellement divisés en ménages et professionnels. Ces derniers sont utilisés en production pour préparer des produits en grandes quantités.

Les petits appareils sont appelés mini-fumeurs. Ils sont bien adaptés pour les pique-niques car ils peuvent être facilement déplacés et sont de petite taille. Les modèles fixes sont plus grands et sont principalement utilisés à l'intérieur.

Fumoirs fumés à chaud : principe de fonctionnement, classement des meilleurs modèles + conseils pour choisir

L'acier inoxydable ou résistant à la chaleur et la fonte sont utilisés comme matériaux pour les fumoirs. Les deux derniers sont moins utilisés car ils présentent des inconvénients : l'acier résistant à la chaleur perd rapidement ses qualités, et la fonte a beaucoup de poids.

Options additionelles

Cuisiner avec une plus grande efficacité permettra la fonctionnalité avancée de l'appareil. Les accessoires supplémentaires du fumoir incluent :

  1. Un joint hydraulique qui rend le couvercle de l'appareil plus hermétique et crée une nouvelle nervure de renforcement, ce qui rend l'appareil plus solide. Un autre avantage de cette option est l'étanchéité du couvercle : en présence d'un joint hydraulique, l'odeur de fumée ne se propage pas dans toute la pièce. Cela vous permet d'utiliser l'appareil non seulement dans la rue, mais aussi à la maison.
  2. Le thermostat contribue à la distribution uniforme de la chaleur dans toute la chambre de fumage. Il cuit les plats plus uniformément.
  3. Une fonction de nettoyage automatique qui simplifie le processus d'entretien du produit.

Sources de fumée

Le goût des produits fumés dépend directement du type de bois à partir duquel les copeaux à fumer sont fabriqués, ainsi que de son prétraitement approprié. Les conifères ne conviennent catégoriquement pas à ces fins, car ils émettent une grande quantité de résine lors de la combustion. De plus, le bouleau ne doit pas être utilisé en raison de la présence de goudron.

Fumoirs fumés à chaud : principe de fonctionnement, classement des meilleurs modèles + conseils pour choisir
Une solution de qualité pour un fumoir à partir de deux bouteilles de gaz

Comme meilleure option, les connaisseurs appellent l'aulne et le genévrier. Un excellent résultat de fumage est également fourni par les copeaux de bois d'arbres fruitiers. Alternativement, vous pouvez utiliser du hêtre, du chêne ou des vignes. Le type de bois affecte non seulement le goût du produit, mais également sa couleur.

Lors de la récolte de matières premières à brûler dans un fumoir, il n'est pas nécessaire de placer toutes les plantations sur le site sous la hache. Même un petit jardin, avec sa taille printanière régulière, peut fournir suffisamment de copeaux de bois. Cependant, l'élagage des nœuds et des brindilles n'est pas la seule procédure au stade de l'approvisionnement en matériel.Il est nécessaire de tout examiner attentivement et d'exclure le bois affecté par les maladies, en particulier la moisissure.

Le matériau trié est broyé en fractions d'environ 2 sur 2 centimètres, après quoi il est trempé dans l'eau. La durée de trempage dépend de la densité du bois et peut être de 4 à 6 heures. Le bois trempé est séché sans lumière directe du soleil et avec une bonne ventilation. Ensuite, il est stocké et utilisé au besoin.

Fumoirs fumés à chaud : principe de fonctionnement, classement des meilleurs modèles + conseils pour choisir
Fumoir combiné avec grill

Lors du fumage à chaud, les copeaux de bois déposés dans le fumoir sont humidifiés à l'aide d'un pistolet pulvérisateur. Cela évite les sous-produits de combustion indésirables, principalement la suie, pendant le processus. En poids, la consommation de copeaux de bois est assez faible, seulement environ 60 grammes seront nécessaires pour 3 kilogrammes de produits. La sciure de bois peut être utilisée comme substitut. La façon dont ils sont utilisés est similaire et ils nécessitent moins de temps de trempage.

Les meilleurs fumoirs professionnels fumés à chaud

Cuisiner à la maison en fumant est une idée géniale qui permet de diversifier beaucoup plus facilement les plats sur la table. Cependant, il s'agit d'une procédure assez compliquée, qui implique certaines nuances. Le bon fumoir fumé à chaud doit être sélectionné. Vous devez vous concentrer non seulement sur les critères d'adaptation, mais aussi sur vos propres besoins et le nombre de personnes.

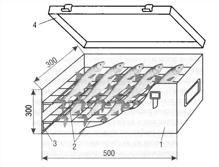
Aulne fumé Profi 500*300*300

Appareil rectangulaire suffisamment spacieux en acier inoxydable et vous permet de cuisiner des aliments pour une grande entreprise. C'est l'un des modèles de qualité les plus connus, qui sont le plus souvent préférés.Il s'agit d'une boîte avec un couvercle spécial, des poignées de transport, un plateau et des grilles qui sont réglées à une hauteur variable. Pour un transport rapide du matériel, il est recommandé d'utiliser le sac inclus dans le kit. De plus, le fumoir n'a pas de pieds et est placé exclusivement par installation directe sur un feu ouvert, un barbecue ou un poêle. Grâce au piège à eau intégré, la température de la fumée est réduite et régulée en temps opportun. L'épaisseur de la paroi du four est de 2 mm, le poids est de 20 kg, les dimensions : 50x30x30 cm Ne convient pas aux produits fumés à froid.

Fumoirs fumés à chaud : principe de fonctionnement, classement des meilleurs modèles + conseils pour choisir

Avantages

  • capacité;
  • Épaisseur du mur et du fond - 2 mm;
  • Contrôle de la température des fumées ;
  • Mallette de transport;
  • Entretien facile, pas de suie.

Défauts

  • Prix ​​élevé;
  • Gros poids.

Convient à ceux qui partent pour un petit pique-nique ou une réunion de famille. Vous pouvez facilement fumer une bonne portion de viande, de poisson, un ensemble de légumes et de saucisses pour une grande entreprise.

Boum fumé Grillux

Produit par une entreprise nationale et a un coût assez faible, ce qui est considéré comme un avantage significatif. Il s'agit d'une petite boîte en acier inoxydable sans pieds (il est donc préférable de la placer sur des étagères), avec des grilles, un bac d'égouttage pour éliminer les graisses et un piège à eau intégré pour réguler la température de la fumée. Le charbon ou le bois doivent être utilisés comme combustible, la sciure de bois comme source de fumée. Convient uniquement pour le fumage à chaud. Il existe 2 niveaux spéciaux pour les grilles. Une bonne capacité, un chargement unique vous permet de fournir des produits finis à 6-7 personnes. Une boîte avec un couvercle amovible est à privilégier si un barbecue est nécessaire.

Fumoirs fumés à chaud : principe de fonctionnement, classement des meilleurs modèles + conseils pour choisir

Avantages

  • Coût acceptable ;
  • Solidité, compacité;
  • Rinçage facile ;
  • Fonctionnement à long terme ;
  • Joint d'eau pour la régulation ;
  • Utilisé comme barbecue.

Défauts

  • Le sac de transport doit être acheté séparément ;
  • Les poignées manquent.

Alvin ÉCUS

Fumoir vertical de taille compacte avec un bon chargement. La forme cylindrique permet un placement pratique des produits pour le traitement. Poids léger - 3 kg, il est donc pratique à transporter et à installer n'importe où. La résistance des parois et du fond est assurée par de l'acier avec un revêtement en poudre spécial. Ce n'est pas seulement un fumoir à gaz fumé à chaud, c'est un appareil universel avec un élément chauffant amovible de 220 W. Il est facile à connecter à une prise de courant, vous pouvez le mettre sur des charbons, un poêle, utiliser des copeaux de bois et un feu ouvert. Un réservoir de bonne capacité de 20 litres, le kit comprend trois grilles pour la friture à plusieurs niveaux et une poêle pour récupérer les graisses. Les pieds du fumoir sont amovibles, il y a un support pour l'élément chauffant. Malheureusement, le thermomètre et la cheminée manquent. Le revêtement anticorrosion du boîtier assurera la durabilité et la durabilité du fumoir.

Lire aussi :  Le modeste appartement de Nikolai Drozdov: où vit le favori du public

Fumoirs fumés à chaud : principe de fonctionnement, classement des meilleurs modèles + conseils pour choisir

Avantages

  • Dimensions compactes ;
  • Pieds amovibles ;
  • Puissance réglable ;
  • Comprend 3 grilles, plateau ;
  • Polyvalence.

Défauts

  • Il est difficile de nettoyer le fond de graisse ;
  • Le revêtement en poudre brûle sur un feu ouvert.

Grâce aux pieds en métal, l'appareil est facile à installer à l'extérieur, bonne stabilité même sur sol meuble. Et une poignée de transport supplémentaire facilite le transport du fumoir même lorsqu'il est chaud.

Un peu de théorie

Tout le monde sait que fumer, c'est froid et chaud. On pense que les aliments cuits à froid ont un arôme plus délicat et un goût raffiné, même si pour être honnête, ce n'est pas pour tout le monde.

Les technologies diffèrent en ce qu'avec une méthode de cuisson à froid, le produit est cuit pendant au moins 12 à 15 heures et le fumage à chaud dure au maximum 2,5 à 3 heures, et c'est dans le cas de la cuisson de la viande ou des graisses dures. Le poisson et les graisses molles peuvent être fumés en général en 30 à 40 minutes.

De plus, la température de fumage à froid ne doit pas dépasser 50ºС. Alors que l'instruction pour le fumage à chaud prescrit de maintenir la température dans la chambre de travail dans la plage de 70 à 120ºС.

En ce qui concerne la conception du fumoir lui-même, avec la méthode à chaud, la chambre de travail est située directement au-dessus de la chambre de combustion, ce qui vous permet en fait de maintenir la température élevée.

Bien sûr, il existe des générateurs de fumée installés à proximité et reliés à la chambre de travail par un tuyau, mais dans tous les cas, la distance ne dépasse pas un demi-mètre. Je parlerai de l'un de ces modèles dans cet article.

Dans la méthode à froid, de la chambre de fumage au foyer avec un générateur de fumée, un tuyau ou un canal est posé, de 2 - 3 à 10 - 12 m de long, selon le type de structure. En conséquence, la fumée atteint le produit déjà refroidi.

Fumoirs fumés à chaud : principe de fonctionnement, classement des meilleurs modèles + conseils pour choisir

Schème fumeurs à froid et pour le fumage à chaud.

En général, tous les fumoirs fumés à chaud peuvent être équipés de deux manières :

  • Une option plus courante et, soit dit en passant, plus économique est la conception, lorsque nous avons une chambre de combustion installée en dessous, dans laquelle un feu brûle. Une tôle est montée au-dessus de ce foyer, sur laquelle la sciure et les copeaux de bois couvent. La fumée qui s'élève de ces sciures pénètre dans la chambre de travail et le produit est fumé ;
  • Dans la deuxième version de la conception, il n'y a pas de tôle, la fumée monte dans la chambre de travail directement à partir des charbons fumants du four. Un tel dispositif se trouve le plus souvent dans les barbecues.Ce n'est pas si grave, juste trop de carburant est gaspillé et vous devez vous assurer que les charbons couvent et ne brûlent pas.

Comment utiliser un fumoir à poisson

Fumer du poisson est différent de fumer d'autres aliments.

La cuisine commence par le choix du poisson :

  • Tout d'abord, il doit être frais. L'arôme de fumée masquera la mauvaise odeur, mais manger de tels aliments est dangereux pour la santé.
  • Tous les poissons d'un onglet doivent être du même type et de la même taille. Cela est nécessaire pour que toutes les carcasses soient prêtes en même temps.
  • Il est conseillé de fumer des variétés de poissons gras.

Avant de pondre dans le fumoir, le poisson doit être préparé.

  • Les carcasses pesant jusqu'à 400 g et les brèmes et les carpes jusqu'à 700 g ne peuvent pas être éviscérées. Il suffit de les laver et de les saler.
  • Pendant le traitement à chaud, les poissons jusqu'à 3 kg doivent être débarrassés des branchies et des entrailles. Pour le fumage à froid, il est permis de ne pas éviscérer.
  • Les carcasses pesant plus de 3 kg sont divisées le long de la colonne vertébrale en deux moitiés identiques. Les plus gros spécimens sont coupés en morceaux.
  • Pour le traitement à froid, les carcasses préparées doivent d'abord être salées dans une solution saline. Après le salage, ils doivent être séchés.

Le fumage à froid s'effectue en 2-3 jours à une température de 20-30°C. Les produits prêts à l'emploi sont conservés au réfrigérateur pendant plusieurs semaines, mais ils seront plus savoureux dans les premiers jours après la préparation.

La durée du fumage à chaud est déterminée par la température et la taille des morceaux. La durée moyenne est de 30 à 40 minutes. Le processus doit être démarré à une température de 80-90°C pour sécher les viandes fumées pendant 10 minutes, puis la température monte à 120°C. Avec ce chauffage, l'eau qui est tombée sur le couvercle va bouillir sans siffler.

Après le traitement, vous devez attendre que l'appareil soit complètement refroidi et seulement ensuite ouvrir le couvercle.

Fumoirs fumés à chaud : principe de fonctionnement, classement des meilleurs modèles + conseils pour choisir
Poisson fumé dans un fumoir

Critères pour choisir AGK

  • Grande profondeur. Elle seule créera un espace décent entre le combustible et la grille avec de la nourriture.
  • La présence de fentes ou de trous de ventilation. Avec leur aide, la température souhaitée est réglée.
  • Couvercle hermétique.
  • Volume adapté.
  • Si l'appareil est petit, il devrait avoir une palette.

De plus, des modules complémentaires sont souvent attachés à l'unité, par exemple :

  • Écluse d'eau. Grâce à lui, le couvercle se ferme le plus hermétiquement possible. Il s'avère que le renforcement se présente sous la forme d'un autre raidisseur. Ainsi, le corps devient plus fort.
  • Thermostat. Permet une répartition uniforme de la chaleur du carburant à l'intérieur du réservoir de travail. L'utilisateur peut constamment contrôler le tabagisme.
  • Option de nettoyage automatique. Cela rend le travail avec l'appareil beaucoup plus confortable et hygiénique.

Les meilleurs fumoirs fumés à froid

Les fumoirs fonctionnant à froid utilisent de la fumée réfrigérée. Sa température dépasse rarement 40 degrés

Il faut faire attention à la puissance du compresseur, à l'épaisseur et au matériau du fumoir, au volume du fumoir, à la possibilité d'un entretien autonome de la génération de fumée

Le dispositif de tels fumoirs est plus compliqué, car souvent leur travail dure toute la journée. Appareils industriels composés d'un générateur de fumée avec compresseur, d'un tuyau ondulé (permet de refroidir la fumée chauffée), d'une chambre de fumage.

Merkel Optima

9.8

Évaluation basée sur les avis des clients (2019-2020)

Fumoirs fumés à chaud : principe de fonctionnement, classement des meilleurs modèles + conseils pour choisir

Commodité
9.5

Qualité
10

Prix
10

Fiabilité
9.5

Commentaires
10

Merkel Optima est livré avec un réservoir de carburant - copeaux de bois, briquettes.Les substances cancérigènes, la suie et les cendres libérées lors du processus sont filtrées et déposées dans un réservoir spécial. Matériau du boîtier - acier inoxydable, épaisseur de paroi 2 mm.

La conception du fumoir est pliable. Les cendres peuvent être retirées à l'aide d'un bac de récupération amovible. Le couvercle est en bois, à l'exclusion des brûlures et autres problèmes.

Les acheteurs notent que Merkel Optima a une conception de refroidisseur en forme de plaque réussie, une efficacité accrue (jusqu'à 12%) par rapport aux autres modèles.

AVANTAGES:

  • temps de génération de fumée autonome - jusqu'à 8 heures;
  • système de nettoyage de barrière;
  • garantie fumoir - 10 ans;
  • automatiques de contrôle de température;
  • le générateur de fumée ne s'éteint pas au hasard.

MOINS :

la nécessité d'une évacuation manuelle fréquente du condensat.

UZBI Dym Dymytch 01B

9.3

Évaluation basée sur les avis des clients (2019-2020)

Fumoirs fumés à chaud : principe de fonctionnement, classement des meilleurs modèles + conseils pour choisir

Commodité
9

Qualité
10

Prix
9

Fiabilité
9.5

Commentaires
9

La lettre "B" dans le nom du modèle indique un grand récipient à fumée - 50 litres. Le matériau du boîtier est de l'acier laminé à froid recouvert d'émail martelé, qui protège de manière fiable contre la corrosion. Une particularité est que l'acheteur peut fabriquer un autre récipient pour fumer et y connecter l'appareil.

Le fabricant donne une garantie pour le fumoir - 12 mois. L'appareil ne doit être utilisé que dans un endroit sec et bien aéré.

Les acheteurs notent qu'il peut parfois être difficile de mettre le feu aux copeaux de bois.

AVANTAGES:

  • grand fumoir;
  • la possibilité de se connecter à une autre caméra ;
  • facilité de montage;
  • pompe à air haute puissance;
  • long tuyau de raccordement.

MOINS :

le boîtier en plastique dans lequel se trouve le compresseur.

UZBI Dym Dymytch 02

9.1

Évaluation basée sur les avis des clients (2019-2020)

Fumoirs fumés à chaud : principe de fonctionnement, classement des meilleurs modèles + conseils pour choisir

Commodité
9

Qualité
9.5

Prix
9

Fiabilité
9

Commentaires
9

Modèle de fumoir UZBI Dym Dymych 02 - une version plus avancée de la précédente. Il a une conception : un générateur de fumée relié par un tuyau à une chambre de fumage (50 litres). Le générateur n'a pas de ventilateur, mais il y a un compresseur qui crée une excellente traction.

Le poids total de tous les appareils est d'environ 7 kg. Le fumage se produit à une température ne dépassant pas 35 degrés, ce qui vous permet de tuer toutes les bactéries et micro-organismes pathogènes présents dans les aliments cuits.

AVANTAGES:

  • compresseur haute puissance;
  • petites dimensions et poids;
  • puissance du compresseur réglable ;
  • la possibilité d'utiliser une autre caméra dans le fumoir ;
  • parois revêtues de polymère pour une cuisson en toute sécurité.

MOINS :

  • pas de support ;
  • matériau à paroi mince.

Choisir un fumoir pour fumer à la maison

Vous pouvez choisir le fumoir parfait pour vous-même si vous savez ce qu'il faut rechercher. En fait, ce n'est pas difficile si vous avez déjà décidé si vous préférez cuisiner de la viande fumée chaude ou froide.

Alors, quelles sont les principales nuances lors du choix d'un fumoir?

Lire aussi :  Mise à la terre d'une baignoire dans un appartement : pourquoi et comment bien mettre à la terre une baignoire

Tout d'abord, décidez à quelles fins vous utiliserez le fumeur - pour un usage domestique, c'est-à-dire pour préparer des plats pour votre table et pour traiter des amis, ou à des fins professionnelles, c'est-à-dire pour préparer des plats pour un restaurant ou pour la vente. En fonction de votre décision, achetez un fumeur domestique ou professionnel.

Grand fumoir professionnel

Encore une fois, dans les deux cas, la taille du fumoir peut différer. Le choix dépendra de la quantité de viande cuite dont vous avez besoin pour cuisiner. C'est-à-dire, par exemple, s'il n'y a que 2 ou 3 personnes dans la famille, il est logique d'acheter un fumoir domestique de taille modeste.Et pour une grande famille hospitalière, il vaut mieux prendre un design plus grand - il sera problématique de cuisiner un grand nombre de produits dans un petit fumoir.

Pensez à l'endroit où vous utiliserez le plus souvent le fumoir. Si vous êtes à la maison, la meilleure option serait un fumoir électrique. Pour cuisiner à l'extérieur, il est préférable de prendre une option au charbon. Soit dit en passant, tenez compte du poids si vous emportez souvent le fumoir avec vous - plus il est léger, plus il est facile à transporter.

Il est important de faire attention à la composition du fumoir. Il est donc préférable d'en acheter un en acier inoxydable. Dans le même temps, assurez-vous de regarder l'épaisseur du métal: plus il est épais, mieux c'est, le fumoir durera plus longtemps

La conception à paroi mince brûlera et se déformera rapidement

Dans le même temps, assurez-vous de regarder l'épaisseur du métal: plus il est épais, mieux c'est, le fumoir durera plus longtemps. Une structure à paroi mince brûlera et se déformera rapidement.

Et enfin, des conseils généraux sur les produits pour fumeurs.

  • Disposez la viande de façon à ce qu'il y ait un espace libre entre les morceaux.
  • Assurez-vous que le carburant est à une certaine distance des produits.
  • Choisissez l'option avec une étanchéité élevée.
  • Voyez si le fumeur a un plateau pour recueillir la graisse.
  • Assurez-vous de préparer les produits à l'avance - par exemple, salez-les.
  • Gardez une trace du temps pendant lequel les produits sont à l'intérieur du fumoir. Et n'oubliez pas de contrôler la température.

Conseils & Astuces

  • Lors de la construction d'un fumoir fumé à froid, il convient de rappeler que plus la tranchée est courte et large, plus la fumée entrera rapidement dans la chambre alimentaire.Il est nécessaire de calculer la longueur optimale pour que la fumée ait le temps de se refroidir, sinon la cheminée ne remplira tout simplement pas sa fonction principale.
  • Lorsque vous allongez le tuyau, assurez-vous de l'incliner de 10 à 15 degrés. Cela est nécessaire pour que la fumée ne stagne pas longtemps sur la paroi supérieure du tuyau et ne refroidisse pas à l'avance.
  • Pour éviter les problèmes décrits ci-dessus, vous devez immédiatement décider des produits qui seront fumés le plus souvent. Fumer des produits protéinés (viande, poisson) demande plus de temps que des produits végétaux.

Fumoirs fumés à chaud : principe de fonctionnement, classement des meilleurs modèles + conseils pour choisir

Il est important de prendre au sérieux le processus de préparation des produits à fumer. La viande ou le poisson doit être râpé avec du gros sel et laissé au réfrigérateur pendant plusieurs jours

Le sel tue les bactéries en éliminant l'humidité des aliments. Pour éliminer l'excès de sel, faites tremper le produit pendant quelques heures dans de l'eau propre. Ensuite, il doit être séché dans un endroit sec, après quoi il est déjà possible de commencer à fumer.
La fumée peut affecter le goût du produit tout autant que le sel ou le poivre. Pour une bonne fumée, vous avez besoin de sciure de bois provenant d'arbres fruitiers. En principe, de nombreuses sciures de bois conviennent au fumage, à l'exception des conifères: les aliments en retirent un arrière-goût amer.

Fumoirs fumés à chaud : principe de fonctionnement, classement des meilleurs modèles + conseils pour choisir

  • Les produits préparés par fumage à chaud sont conservés environ 10 heures. S'il est nécessaire de prolonger cette période, un emballage sous vide ou une congélation peuvent être utilisés. Mais il est évident qu'après décongélation, le goût du produit ne sera pas du tout aussi agréable.
  • Lors de l'équipement d'un fumoir, vous pouvez ajouter une palette supplémentaire à la structure, sur laquelle vous pouvez stocker du bois de chauffage pour l'allumage. Cela est particulièrement vrai pour les bâtiments fixes monumentaux.
  • Les dimensions du mini-fumeur peuvent être absolument n'importe quoi.La principale chose à considérer est un écart de quelques centimètres entre les murs du fumoir et les produits.

Fumoirs fumés à chaud : principe de fonctionnement, classement des meilleurs modèles + conseils pour choisir

Si l'humidité est élevée lors de la cuisson à l'extérieur, vous pouvez augmenter l'intensité du feu afin que la cuisson ne s'éternise pas pendant de longues heures.
Il est important de ne pas en faire trop avec l'épaisseur de paroi du fumoir. Ainsi, par exemple, un baril avec des parois supérieures à 3 mm ne fonctionnera pas, car dans ce cas, le processus de chauffage prendra très longtemps et le résultat risque d'être décevant.
Un réfrigérateur endommagé convient comme base pour un fumoir, même s'il y a des fissures

Il faut faire une petite réparation : les reboucher avec des plaques de fer.

Fumoirs fumés à chaud : principe de fonctionnement, classement des meilleurs modèles + conseils pour choisir

  • Dans le cas où la fumée est trop noire, de l'herbe fraîche peut être ajoutée au carburant.
  • Certains résidents d'été humidifient spécialement le carburant pour réduire la quantité de suie sur les aliments. Mais les professionnels conseillent de n'utiliser que des copeaux de bois bien séchés et d'envelopper les produits avec de la gaze et un bandage avant de fumer.
  • Lorsque vous fumez du poisson, vous devez respecter la règle des proportions du produit et de la sciure utilisée. Pour 3 kg de poisson (soit environ 40 litres de chambre de fumage) il suffit d'une poignée de sciure. Ce sera tout à fait suffisant, car la fumée ne remplit pas la chambre immédiatement, mais dans les 20 à 25 minutes. Pendant ce temps, le poisson a le temps de s'imprégner d'un arôme unique, qui est déterminé par le type de bois pour la sciure de bois.

Fumoirs fumés à chaud : principe de fonctionnement, classement des meilleurs modèles + conseils pour choisir

  • Si vous en faites trop avec la quantité de sciure de bois, cela peut ne pas avoir le meilleur effet sur le goût des produits et même nuire à la santé humaine.
  • Les fumoirs faits maison brûlent souvent complètement au fond. Pour éviter cela, vous devez prendre soin dès le début du métal de haute qualité pour l'équipement inférieur.
  • S'il n'y a pas assez d'espace dans le chalet pour équiper le tuyau de cheminée de la longueur requise, il peut être courbé ou un refroidisseur de fumée placé sur le tuyau. Ce rôle est parfaitement assuré par un tube en laiton qui doit être enroulé autour de la cheminée. L'eau froide dans ce tube refroidira correctement la fumée.

Fumoirs fumés à chaud : principe de fonctionnement, classement des meilleurs modèles + conseils pour choisir

  • Certains recourent à des astuces telles que la toile de jute humide tendue sur la chambre de combustion. Elle pourra laisser passer la fumée, tout en retenant simultanément les cendres, les fumées et autres polluants.
  • Si vous n'avez pas de thermomètre, vous pouvez vérifier la température de fumage avec de l'eau en saupoudrant le couvercle du fumoir dessus. Si l'évaporation se produit sans sifflement, la température est acceptable. Si l'eau siffle lorsqu'elle touche le boîtier, la température doit être réduite.

Fumoirs fumés à chaud : principe de fonctionnement, classement des meilleurs modèles + conseils pour choisir

Quelques mots sur le tabagisme

Quelle que soit la conception de votre fumoir, le point le plus important est peut-être le choix du bois pour les copeaux. Ainsi, la préférence devrait être donnée aux arbres fruitiers - cerise, pomme, abricot et autres.

Les conifères et le bouleau sont strictement interdits d'utilisation, avec eux le produit se révélera avec un arrière-goût amer. Et la meilleure option est le genévrier.

Fumoirs fumés à chaud : principe de fonctionnement, classement des meilleurs modèles + conseils pour choisir

Assortiment de chips à fumer.

Et enfin, quelques petites recettes pour fumer différents produits.

La viande fumée et le saindoux peuvent être traités différemment, mais le poisson, en particulier le maquereau fumé à chaud, est apprécié par la majeure partie de la population de notre grande puissance.

Il n'est pas difficile de le préparer:

  • Choisissez un bon maquereau dense, de préférence gros. Naturellement, s'il est congelé, décongelez-le, frottez-le avec du sel et des épices, car il y a maintenant suffisamment d'épices à ces fins;
  • Laissez ensuite le poisson dans un endroit frais pendant une journée pour le faire tremper, après quoi vous pourrez l'envoyer au fumoir, le processus de fumage dure 20 à 30 minutes.

Fumoirs fumés à chaud : principe de fonctionnement, classement des meilleurs modèles + conseils pour choisir

Maquereau fumé pour vous-même.

Pour fumer un poulet, il faut d'abord bien le laver, l'essuyer légèrement avec des serviettes et le farcir d'ail. Il suffit de couper la carcasse à différents endroits et de coller des gousses d'ail dans ces coupes.

Ensuite, mélangez le sel avec les épices et frottez le poulet à l'intérieur et à l'extérieur avec ce mélange. Le poulet doit être mariné dans un endroit frais pendant une journée, mais il est préférable de le faire mariner dans du papier d'aluminium. Après une journée, retirez le papier d'aluminium, attachez les pattes et les ailes ensemble et envoyez la carcasse au fumoir. Le poulet est fumé à chaud pendant pas plus d'une heure.

Fumoirs fumés à chaud : principe de fonctionnement, classement des meilleurs modèles + conseils pour choisir

Fumer du poulet.

La préparation du saindoux et de la viande répète exactement la préparation du poulet. Seule la graisse est souhaitable pour farcir à l'ail, et la viande est déjà un amateur. Naturellement, vous achetez un mélange d'épices pour un produit spécifique. Et n'essayez pas de prendre des sacs d'épices importés trop chers, par expérience ils contiennent un conservateur, ce que personnellement je n'aime pas.

Fumoirs fumés à chaud : principe de fonctionnement, classement des meilleurs modèles + conseils pour choisir

Gamme complète de produits dans notre propre fumoir.

Dispositif de fumoir électrique

L'équipement comprend les éléments structurels suivants :

  • Cadre;
  • maille-suspension;
  • unité de génération de fumée ;
  • refroidisseur de fumée.
Lire aussi :  Réparation d'humidificateur d'air : pannes typiques et moyens efficaces de les réparer

Le module principal de l'équipement est un générateur haute tension. C'est de cette unité que dépendent l'efficacité du système et le niveau de transformation des viandes fumées qui en résultent.

Une suspension amovible est installée dans la chambre constituée d'une base diélectrique. La surface intérieure des murs est équipée d'une grille de guidage.L'unité de génération de fumée avec un système de refroidissement est située dans le secteur inférieur de la chambre de fumage. Dans certains modèles, l'unité de génération de fumée est construite dans un bâtiment séparé.

Caractéristiques de la centrale à fumée :

  • lors du traitement des produits à base de viande dans un fumoir électrostatique fumé à froid, la possibilité de dégradation et de destruction des protéines et des graisses animales est exclue;
  • la procédure ressemble fortement au séchage avec une vitesse de traitement relativement élevée;
  • la présence d'électrostatique provoque une saturation des produits en fumée en mode intensif.

Lors du fonctionnement d'un fumoir électrostatique fumé à chaud, une élimination extrêmement rapide des particules de vapeur et des acides de la fumée avec une masse d'air à haute température se produit. En conséquence, le produit traité perd intensément de l'humidité et, en fait, les pièces sont frites à l'air chaud avec de la fumée.

Avantages de l'utilisation d'un fumoir :

  • facilité d'utilisation et d'entretien. Il suffit de remplir l'équipement de copeaux de bois, de charger de la viande, du poisson, de la volaille ou du bacon sur la suspension et de démarrer le processus de traitement des produits avec de la fumée. Une fois la séance de fumage terminée, la chambre est déchargée et les surfaces sont nettoyées avec un chiffon humide ;
  • design léger et ergonomie. Le modèle compact de l'installation peut être facilement fixé au balcon ou utilisé dans les espaces ouverts de la cuisine ;
  • la possibilité de cuisiner de délicieuses viandes fumées de vos propres mains, en tenant compte des préférences alimentaires du ménage.

Fumoirs fumés à chaud : principe de fonctionnement, classement des meilleurs modèles + conseils pour choisirLe fumoir électrostatique est facile à utiliser et à entretenir

L'utilisation d'une installation de traitement de fumée électrostatique vous permet de diversifier votre alimentation avec des délices délicieux et sains.

Segment budgétaire (jusqu'à 5000 roubles)

Grillux Fumé

Fumoirs fumés à chaud : principe de fonctionnement, classement des meilleurs modèles + conseils pour choisir

La structure du plancher dans un boîtier en acier d'une épaisseur de paroi de 1,5 mm, fume des produits sur des copeaux de bois. Produit de forme rectangulaire, équipé d'un joint hydraulique, d'un bac récupérateur de graisse, d'un couvercle et d'une grille. Malgré ses dimensions compactes (53,6 cm - longueur, 28,8 cm - largeur, 31,6 cm - hauteur), le fumoir pèse 12 kg.

Grillux Fumé
Avantages :

  • Pratique à laver;
  • Fiable;
  • Cuit rapidement et savoureux;
  • Coût abordable.

Défauts:

Lourd.

Le prix moyen est de 3920 roubles.

Amet 1c926

Fumoirs fumés à chaud : principe de fonctionnement, classement des meilleurs modèles + conseils pour choisir

L'unité de plancher en bois déchiqueté est en acier de 0,6 mm d'épaisseur. Il est équipé d'une lèchefrite, d'une grille et d'un couvercle. Dimensions hors tout du fumoir (cm) : 34,4 - longueur, 15 - largeur et diamètre, 21,4 - hauteur. Poids de construction - 1 kg 600 g.

"Amet 1s926" est une option idéale pour les débutants à la maison et pour donner.

Amet 1c926
Avantages :

  • Compact;
  • Lumière;
  • À l'aise;
  • Peu coûteux;
  • Spacieux.

Défauts:

Non identifié.

Prix ​​moyen - 2560 roubles.

PALISADE 69527

Fumoirs fumés à chaud : principe de fonctionnement, classement des meilleurs modèles + conseils pour choisir

L'un des fumoirs de type plancher les plus économiques pour les chalets d'été et à la maison, qui fonctionne aux copeaux de bois. Matériau du boîtier - acier de 0,8 mm d'épaisseur. La marchandise est complétée par la palette de collecte des graisses, un treillis et une couverture. En forme, c'est un rectangle de 50 cm de long et 27 cm de large, la profondeur du bol est de 17,5 cm, le design a 4 longues pattes et ne pèse que 4 kg 100 g.

PALISADE 69527
Avantages :

  • budget;
  • Aménagé de manière primitive (facile à utiliser);
  • Productif.

Défauts:

Non identifié.

Le prix moyen est de 780 roubles.

Grintex Dymok

Fumoirs fumés à chaud : principe de fonctionnement, classement des meilleurs modèles + conseils pour choisir

Fumoir peu coûteux d'un fabricant national. Sa conception est aussi simple que possible et est une boîte en métal avec un élément chauffant. Convient pour fumer du poisson, des ailes de poulet, du saindoux.Pour le faire fonctionner conformément aux instructions, il ne faut pas plus de 40 minutes. pour une approche.

fumoir pour fumage à chaud Grintex Dymok
Avantages :

  • Peu coûteux;
  • Pas besoin de jouer avec du bois de chauffage ;
  • Il y a une protection de l'élément chauffant contre les graisses.

Défauts:

Le chauffage n'est pas contrôlé.

Prix ​​moyen : 2400 roubles.

Alvin Eku

Fumoirs fumés à chaud : principe de fonctionnement, classement des meilleurs modèles + conseils pour choisir

Un autre modèle d'une société russe. Il peut être conseillé aux débutants en fumage. Le fumoir peut être connecté au secteur ou allumer un feu ouvert. Avec son aide, il est pratique de fumer du poisson, de la viande, du poulet, des saucisses, du saindoux.

fumoir pour fumer à chaud Elvin Eku
Avantages :

  • Polyvalence;
  • Une option budgétaire ;
  • Un livret de recettes est inclus.

Défauts:

Il n'est pas pratique de laver les grilles.

Prix ​​moyen : 3776 roubles.

Alvin Ecu-Combi

Fumoirs fumés à chaud : principe de fonctionnement, classement des meilleurs modèles + conseils pour choisir

Modèle universel : grâce à l'élément chauffant amovible, vous pouvez retirer l'élément chauffant et mettre le fumoir sur un feu ouvert. Pour le fonctionnement sur secteur, un bouton de démarrage, un réglage de la puissance de l'appareil et un indicateur lumineux sont fournis. Peut être utilisé pour fumer divers types de poisson, poulet, viande, saindoux. Le boîtier est protégé de l'échauffement par un revêtement résistant à la chaleur. Les pièces en acier inoxydable vont au lave-vaisselle.

fumoir pour fumer à chaud Alvin Eku-Kombi
Avantages :

  • Rapport qualité-prix" ;
  • Fil long ;
  • Grille à trois étages ;
  • Polyvalence;
  • Compacité ;
  • Poids 7 kg ;
  • Volume 20 l ;
  • Livre de recettes inclus.

Défauts:

S'il est souvent utilisé sur un feu ouvert, la peinture se détériore.

Prix ​​moyen : 4189 roubles.

Caractéristiques et types

Toute la gamme de produits peut être conditionnellement divisée en deux variétés principales, vous permettant de cuisiner des plats fumés chauds et froids.Chaque type a ses propres avantages et inconvénients, ainsi que des différences dans la méthode de préparation.

Fumoir fumé à froid

La transformation des aliments «à froid» est effectuée à des températures de + 18-25 degrés, cependant, l'humidité est éliminée par étapes. Toute la préparation prendra jusqu'à 3 jours. Le principe de fonctionnement de tels appareils suppose que la fumée, en cours de cuisson, a déjà une température plus basse. L'assemblage de ces appareils comprend :

  • caméra;
  • générateur de fumée ou foyer ;
  • cheminée.

Des copeaux de bois de différentes espèces d'arbres sont immergés dans la chambre de combustion afin de donner aux aliments une odeur et un goût uniques. Lors de la combustion, un tirage naturel se forme dans le luminaire, grâce auquel la fumée traversera le foyer de la cheminée et se refroidira quelque peu. Puis il suivra dans le fumoir. Les principaux préparatifs auront lieu directement dans ce département.

Fumoir fumé à chaud

Le fonctionnement d'un fumoir domestique implique le traitement des produits par la fumée à des températures de + 35-150 degrés. Elle prend beaucoup moins de temps, contrairement à la technique précédente (plusieurs heures ou jours). Dans une telle situation, l'humidité ne s'évaporera pas, ce qui laissera le produit assez gras et juteux.

La méthode considérée présente des différences significatives. Toutes les préparations se déroulent dans 1 compartiment fermé. En bas, des frites brûlent, en haut - une suspension avec de la nourriture. Fondamentalement, le fonctionnement est similaire à un poêle ordinaire. Le kit comprendra :

  • capacité;
  • treillis;
  • cheminée.

Les fumoirs fumés à chaud sont divisés en 2 grandes classifications selon les dimensions, le type d'installation, ils sont portables et fixes.Lorsqu'il y a peu d'expérience dans la sélection d'appareils pour fumeurs, il est préférable d'utiliser la liste des appareils domestiques les plus fiables et les plus productifs qui sont devenus populaires auprès des utilisateurs.

Le principe de fonctionnement de l'appareil

Le fonctionnement de l'appareil n'est pas difficile, le fond est rempli de bois de chauffage ou de sciure d'arbres à feuilles caduques, car les espèces de conifères donneront de l'amertume aux produits. Une grille de cuisson est placée au-dessus du matériau en bois, le récipient est fermé avec un couvercle et le fumage commence. Il y a une valve dans le couvercle, grâce à laquelle la densité de fumée et l'humidité sont régulées. À l'aide de cet élément, la sécheresse du produit est régulée, s'il est complètement fermé, la préparation sera juteuse, sinon le plat aura un goût sec. Le poulet cuit jusqu'à deux heures et le poisson environ une heure. Si les produits seront cuits sur le site et qu'il n'est pas prévu de déplacer l'appareil, vous pouvez choisir un grand fumoir, tandis que la fumée sortira librement.

Si vous envisagez de fumer des produits non seulement sur le site, mais également à la maison, vous pouvez acheter un mini-fumeur, son poids peut atteindre 20 kilogrammes, le corps est en acier et l'intérieur est recouvert d'un revêtement en aluminium. Pour cuire rapidement le produit à la maison, il est préférable de choisir un appareil fumé à chaud. De telles préparations ont un goût inhabituel et une belle apparence. Les produits portables sont très pratiques à emporter dans la nature ou en randonnée, ils n'ont pas beaucoup de poids

Lors du choix d'un fumeur, il est important de considérer que la cuisson à chaud est rapide et que le fumage à froid peut prendre beaucoup de temps, mais la durée de conservation des produits est également longue par rapport aux plats de la première méthode.Tenez également compte de la présence de composants et du matériau à partir duquel le produit est fabriqué.

Avec le bon choix, vous pouvez cuisiner des aliments parfumés à la maison.

Évaluation
Site sur la plomberie

Nous vous conseillons de lire

Où remplir la poudre dans la machine à laver et combien de poudre verser