- Où installer les bouches d'aération ?
- Concevoir
- Pose de robinet
- Fabricants de vannes d'équilibrage
- La nécessité d'utiliser la grue Mayevsky dans les systèmes de chauffage
- Gamme de modèles et fabricants de grues Mayevsky: prix
- Sélection du site et procédure d'installation
- Critères de choix
- Variétés de grues Mayevsky
- Quels paramètres doivent être pris en compte lors du choix
- Caractéristiques de fonctionnement et d'installation
- Variétés et mécanisme d'action
- Robinet manuel
- Auto
- Avec dispositif de sécurité
- Conduite et installation de grue
- Caractéristiques d'inclusion dans le système de chauffage
Où installer les bouches d'aération ?
Lors de l'installation d'un système de chauffage, l'installation de bouches d'aération est une procédure obligatoire ; pour déterminer la bonne quantité, vous devez savoir où placer ces appareils. Il est recommandé de placer les bouches d'aération aux endroits suivants :
Les points les plus élevés du système. Si, lors de l'installation, la canalisation monte en contournant tout obstacle, puis descend vers les échangeurs de chaleur, un purgeur d'air automatique pour le système de chauffage doit être installé par le haut. Cela empêchera l'accumulation d'air car l'air léger monte toujours et s'accumule dans la tuyauterie au dernier étage.

Riz. 9 Types de bouches d'aération automatiques
- Radiateurs de chauffage.Les échangeurs de chaleur de radiateur ont une forme complexe, qui comprend un grand nombre de sections - cela crée des cavités pratiques pour l'accumulation d'air. Par conséquent, les vannes de sortie Mayevsky sont toujours utilisées dans les radiateurs; dans un circuit de chauffage individuel, elles sont installées sur chaque radiateur, quel que soit le schéma de raccordement (monotube, bitube, inférieur, latéral, diagonal). Les modèles manuels de radiateurs de soupapes d'échappement, contrairement aux modèles automatiques, sont de petite taille, moins chers, s'intègrent esthétiquement dans le circuit du radiateur, ils sont donc installés sur des batteries dans la grande majorité des cas par le fabricant et, si nécessaire, par les propriétaires de Maisons.
- Sèche-serviettes. Les sèche-serviettes produits par l'industrie d'une forme complexe «échelle» populaire dans la vie quotidienne sont toujours équipés d'un évent avec un tuyau droit situé dans sa partie supérieure. Il est plus pratique que le sèche-serviettes soit équipé d'un purgeur d'air automatique pour les raisons suivantes : la vis du modèle manuel située en haut est peu pratique à serrer, l'eau peut manquer périodiquement dans les immeubles résidentiels et le réglage manuel devient gênant, de plus, le canal qui dépasse du côté gâche l'aspect esthétique de l'appareil de chauffage.
- Branches et contournements en U. Toute section de la canalisation avec une boucle ascendante recueille de l'air, si une vanne d'arrêt est utilisée pour fermer la boucle, elle est installée au point le plus élevé à l'aide d'un modèle avec une vanne automatique Mayevsky intégrée (naturellement, l'évent en haut peut également être installé séparément de la vanne).
- Système de tuyauterie de la chaudière.Il est également recommandé d'équiper la tuyauterie de la chaudière d'une vanne pour assurer le fonctionnement sûr de l'équipement de chauffage en cas d'air dans la conduite.
- Canons à eau. Pas si souvent dans les systèmes de chauffage domestique, des flèches hydrauliques sont utilisées, auxquelles des pompes de circulation, des radiateurs et des collecteurs de chauffage par le sol sont connectés - si l'appareil est situé verticalement, un purgeur d'air automatique est vissé dans sa partie supérieure.
- Collectionneurs. Lors de l'installation d'un chauffage au sol à plusieurs circuits, des collecteurs à peignes sont utilisés, auxquels une canalisation de divers circuits est connectée. Les capteurs sont situés au-dessus du niveau des planchers d'eau et sont toujours équipés de purgeurs d'air automatiques qui sont installés dans leur logement par le fabricant ; le système comprend deux dispositifs pour les conduites d'alimentation et de retour.
Riz. 10 Purgeurs d'air manuels et automatiques dans le système de chauffage - schéma de disposition
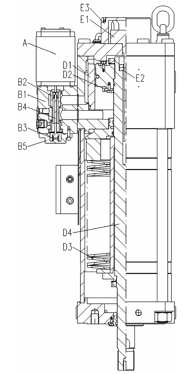
Concevoir

Entraînement de vanne de régulation HP
Le servomoteur se compose des parties fonctionnelles suivantes :
Aimant de commande Voith VRM (A)
Avec réglage intégré de la position et de la force magnétique
Vanne hydraulique de commande, composée des composants suivants :
Corps de vanne (B1)
Piston de commande (B2)
Ressort de commande (B3)
Tige (B4)
Couvercle (B5)
Unité d'entraînement composée des composants suivants :
Cylindre de puissance (D1)
Amortisseur (D2)
Ressort de compression (D3)
Tige de piston(D4)
Détermination électronique de la position, composée des composants suivants :
Capteur de position (E1)
Aimant du capteur (E2)
Couverture (E3)
(Visité 1 217 fois, 1 visites aujourd'hui)
Pose de robinet
Documents du Service fédéral de surveillance écologique, technologique et nucléaire.Documents sur les activités de sécurité, de surveillance et d'autorisation dans le domaine de la surveillance des structures de levage. La collection comprend les règles pour la construction et l'exploitation en toute sécurité des grues de levage, approuvées par le décret du Gosgortekhnadzor de Russie No. Running Wheels. Corps de préhension de charge Tambours et poulies. Instruments et dispositifs de sécurité. Appareils de controle.
Installation d'une valve de commande de frein de remorque URAL - une liste de pièces et un coude M16x d'un cylindre à air (JSC AZ URAL).
Manipulateur de grue, je me charge, je conduis ; Main "Teschina" - commande, location. Instructions générales pour la production de travaux par des manipulateurs de grues KAMAZ. Partie 1. Les grues-manipulateurs ne peuvent être autorisées à déplacer que les charges dont la masse ne dépasse pas leur capacité de charge, compte tenu de la position des stabilisateurs. Lors de l'utilisation d'un manipulateur de grue, les exigences énoncées dans son passeport et son manuel d'utilisation ne doivent pas être enfreintes.
Fabricants de vannes d'équilibrage
Les modèles de fabricants étrangers et nationaux sont largement représentés sur le marché de la construction, certaines entreprises sont les principaux fournisseurs d'équipements économes en énergie.
Danfoss est une société danoise fondée à Nordborg en 1933 et est l'un des principaux fabricants et fournisseurs mondiaux de systèmes d'économie d'énergie. L'entreprise produit des équipements frigorifiques, de l'électronique de puissance, des pompes à chaleur, des automatismes thermiques et industriels, des systèmes de chauffage par câbles (planchers chauds). La gamme de produits est représentée par des vannes d'arrêt, d'équilibrage automatique et manuelle des séries ASV et MSV, modèles combinés AB-QM, AB-PM.
Broen est une société danoise fondée en 1948 par l'ingénieur suédois Paul Broen et entrée sur le marché russe en 1996.L'usine de la société opère dans le district de Kolomensky depuis 2010. L'entreprise est engagée dans la production d'une large gamme de raccords de canalisation, qui comprennent: des vannes à bille, des vannes d'arrêt, des vannes de contrôle et d'équilibrage (Broen Ballorex), des vannes de sécurité, des filtres en fonte. La gamme de raccords pour l'équilibrage est représentée par la série Broen : Venturi Fodrv, DRV, Dynamic, Venturi DRV.

Riz. 13 Raccords d'équilibrage de Danfoss et Broen
Giacomini est un fournisseur italien de raccords de tuyauterie. L'entreprise a été fondée en 1951, a un chiffre d'affaires de 170 millions d'euros par an, 3 usines en Italie et 18 succursales dans le monde, employant environ 1000 employés. L'entreprise produit des vannes de régulation et d'arrêt pour radiateurs, thermostats, collecteurs de chauffage et d'alimentation en eau, tuyaux et raccords pour équipements de comptage d'énergie, panneaux solaires. Les vannes d'équilibrage sont représentées par les modifications R206 A, R206 B.
ADL est un fabricant russe d'équipements d'ingénierie pour le secteur résidentiel et communal et diverses industries. L'entreprise a été fondée en 1994 et, depuis 2002, elle possède sa première usine dans le village de Raduzhny, district de Kolomna, région de Moscou.
L'entreprise produit une large gamme d'équipements de plomberie : vannes de régulation, groupes de pompage, robinets-vannes, vannes et robinets à tournant sphérique, pompes de circulation et de condensation de vapeur, points de chauffage, séparateurs. La gamme d'appareils à vanne d'équilibrage s'appelle Granbalance et se compose de modèles de la série DN.

Fig.14 Vanne d'équilibrage automatique Giacomini et ADL
La vanne d'équilibrage du système de chauffage est le dispositif le plus important pour maintenir une température constante dans les colonnes montantes ou les radiateurs de chauffage.Leur utilisation dans la vie de tous les jours n'est pas entièrement justifiée. Le coût d'un appareil d'un fabricant bien connu atteint 100 USD, les appareils domestiques ne sont pas non plus bon marché. Il est plus rationnel d'utiliser des appareils pour maintenir la température dans les colonnes montantes des immeubles d'habitation avec un grand nombre de radiateurs.
Tout système de chauffage doit être correctement configuré. L'objectif principal de ce paramètre est d'assurer les mêmes performances dans toutes les parties du réseau. Par exemple, s'il s'agit du système de chauffage d'un bâtiment à plusieurs étages, la chaleur doit être à la fois aux étages supérieur et inférieur. Ces indicateurs doivent non seulement être équivalents, mais également proches des indicateurs normatifs. L'un des moyens les plus efficaces de réglage consiste à utiliser une vanne d'équilibrage dont l'installation doit idéalement être pensée au stade de la création d'un projet de système de chauffage.

La nécessité d'utiliser la grue Mayevsky dans les systèmes de chauffage
Après avoir installé le système de chauffage et rempli le circuit de liquide de refroidissement (eau, antigel, huiles techniques), il reste toujours de l'air dans les radiateurs. Il forme les soi-disant bouchons d'air et arrête la circulation du fluide de travail. Cela entraîne une perte d'efficacité du système de chauffage, puisque la chaudière fonctionne à une température donnée, et les radiateurs sont "froids". Dans cette situation, on ne peut pas se passer de l'utilisation de la grue Mayevsky.
Après la fin de la saison de chauffage, un dégazage se produit dans le fluide caloporteur.Une certaine quantité d'air dissous dans le liquide de refroidissement, lorsque la température baisse et est au repos, est libérée du liquide et s'accumule, formant les mêmes "poches d'air". Par conséquent, avant de démarrer le chauffage, il est nécessaire d'ajouter du liquide de refroidissement au système et, si possible, d'utiliser la grue Mayevsky.

Clé en métal pour valve Mayevsky
Un autre facteur négatif dans la formation d'accumulations de gaz dans le système de chauffage est le processus de formation d'hydrogène lors des réactions d'hydrolyse de l'eau et des parois internes des canalisations métalliques et des radiateurs. Cela est particulièrement vrai pour les radiateurs en aluminium sans traitement de protection anti-corrosion. Avec l'utilisation de la grue Mayevsky dans le système, ce problème est complètement résolu.
Gamme de modèles et fabricants de grues Mayevsky: prix
Actuellement, un grand nombre de modèles de grues Mayevsky, nationales et importées, utilisant divers matériaux et composants, sont présentés sur le marché des produits sanitaires. Lors de l'achat de l'un ou l'autre type, il est également possible et nécessaire d'acheter une clé en métal pour la grue Mayevsky. En vente, il y a des clés et en exécution plastique.
Le tableau fournit des informations sur les types et les prix des grues Mayevsky:
| nom du produit | Marque déposée | Matériel | prix, frotter. |
| Grue Mayevsky Du 10, 15, 20 mm | SARL "Promart", Kazan | acier chromé | 21-51 |
| Grue Mayevsky Ru 16 mm et DN 10, 15, 20 mm | MetPromInteks LLC, Moscou | acier chromé | 63,8 |
| La clé de la grue Mayevsky 5 mm, Meibes SX 11202 | COMFORT.RU LLC, Moscou | silumine | 18 |
| Clé pour bouchons de radiateur et grue Mayevsky | MantekhBryansk LLC, Bryansk | plastique polymère | 118 |
| Manuel grue Mayevsky, DN 15 mm | OK Resan LLC, Perm | acier chromé | 152 |
| Grue Mayevsky Demin Dokum Classik Art, DN 15-20 mm | LLC "Laboratoire de la chaleur", Rostov-sur-le-Don | laiton | 138 |
| Purgeur d'air automatique du radiateur | PP "Termoklimat", Iaroslavl | acier inoxydable | 259 |
| Grue Mayevsky (automatique) | "GROUPE TECHNO", Kirov | acier inoxydable | 230 |
| Vanne à boisseau sphérique avec vanne Mayevsky Du 15 mm (1/2?) | TECOM LLC, Krasnoïarsk | laiton chromé | 243 |
| Té avec grue Mayevsky | Sibérie GOST LLC, Omsk | acier chromé | 596 |
| Vanne à trois voies avec vanne Mayevsky (G1/2 - G1/2) | AQUA-KIP LLC, Moscou | acier chromé | 245 |
| La grue de Mayevsky avec le filtre Du de 15 mm | Promarmatura LLC, Barnaoul | laiton chromé | 474 |
| Grue Mayevsky automatique RR 374 passage intégral, pour radiateurs en fonte | OOO "SantekhKlass", Moscou | acier chromé | 700 |
Sélection du site et procédure d'installation
Pour installer une bouche d'aération Mayevsky, il suffit de visser un modèle adapté dans le bouchon du radiateur côté alimentation. Étant donné que les tailles de filetage sur l'appareil sont standard, vous devez sélectionner un appareil avec le filetage approprié. Si un bouchon sans filetage est installé sur le radiateur, il doit être remplacé.
Sur un bouchon en fonte, il n'est pas difficile de faire soi-même le trou nécessaire. Un trou doit être percé de l'intérieur, puis fileté de l'extérieur. Vous aurez besoin d'une perceuse électrique, d'une perceuse de 9 mm, ainsi que d'un taraud avec une clé 10x1.
Le robinet a un filetage à droite et le bouchon a un filetage à gauche. Lors de l'installation, maintenez le bouchon avec une clé à molette afin que son filetage ne se desserre pas. Il ne faut pas oublier que lors du vissage de la soupape de purge d'air, le bouchon est desserré. Lorsque le robinet est dévissé (par exemple, pour le remplacement), le bouchon est vissé plus fort.

Lors de l'installation de la grue Mayevsky, utilisez une clé à molette ou à gaz pour serrer l'appareil ou maintenez la prise dans laquelle la grue est montée
Lors du montage de l'appareil, le filetage doit être renforcé avec un joint spécial. Un tel joint peut être en caoutchouc ou en silicone, mais il n'est pas recommandé d'utiliser des joints en paronite avec une grue Mayevsky. Certains préfèrent utiliser en plus un enroulement de lin ou du ruban adhésif pour renforcer le fil, mais ce n'est pas nécessaire. Astuce - lors de l'installation, vous devez orienter légèrement la prise vers le bas. Il sera donc plus pratique de récupérer l'eau qui s'écoulera du radiateur une fois la purge terminée.
Pour installer les grues Mayevsky, le point le plus élevé du système est choisi, car l'air monte. Dans ce cas, bien sûr, il est nécessaire de prendre en compte les caractéristiques du système de chauffage d'une maison ou d'un appartement particulier.
Avec un schéma de chauffage vertical, des bouches d'aération doivent être installées sur tous les radiateurs de l'étage supérieur, qui ont une alimentation inférieure avec une conduite de retour. De plus, tous les appareils doivent être équipés de grues Mayevsky, dont l'alimentation (ou une partie) de la colonne montante est située sous l'axe supérieur de la connexion, car dans ce cas, l'évacuation de l'air du système sera naturellement difficile.

Le schéma montre le principe d'installation de la grue Mayevsky avec un système de chauffage vertical et horizontal. Un robinet est nécessaire dans les endroits où l'air s'accumule
Avec un système de chauffage horizontal, des purgeurs d'air sont installés sur tous les appareils de chauffage : batteries, collecteurs, etc. Le système de chauffage par le sol n'a pas toujours besoin d'être ventilé, mais très souvent, une telle vanne doit encore être installée.
L'installation d'une bouche d'aération sur un sèche-serviettes mérite une attention particulière. Sur les modèles avec connexion inférieure, un trou spécial est même prévu à cet effet. Mais les porte-serviettes chauffants avec connexion latérale devront être légèrement modifiés. Un té métallique avec un filetage de diamètre approprié est monté sur la conduite d'alimentation. Dans ce cas, la sortie de la vanne de sortie d'air doit être tournée à l'opposé du mur.

Il est recommandé de toujours installer un robinet Mayevsky sur un sèche-serviettes. Selon le modèle, un ou deux robinets doivent être installés
Pour comprendre si vous devez installer une bouche d'aération à un endroit particulier, il vous suffit d'imaginer le mouvement de l'air dans le système. S'il est clair que l'air peut se déplacer librement plus loin dans le système, une vanne n'est pas nécessaire. Si l'air ne peut pas quitter le système naturellement, un dispositif spécial sera nécessaire.
(0 vote, moyenne : 0 sur 5)
Critères de choix
Pour choisir indépendamment une grue Mayevsky pour radiateurs en fonte ou batteries en d'autres matériaux, vous devez considérer:
- type de bouche d'aération;
- dimensions de l'équipement.
Variétés de grues Mayevsky
Pour purger l'air du système de chauffage, utilisez :
purgeur d'air avec commande manuelle.
Cet appareil est facile à utiliser et peu coûteux. Dans la plupart des cas, il est monté en présence d'un système de chauffage central. Pour faire tourner la vis, un tournevis de taille adaptée, une clé spéciale pour la grue Mayevsky ou une poignée peuvent être utilisés.
L'équipement conçu avec une clé ou un tournevis protège de manière fiable l'appareil contre une ouverture non autorisée, par exemple par un enfant
Lors de l'installation de robinets avec poignée, des précautions supplémentaires doivent être prises ;
Grues à commande manuelle
Grue automatique Mayevsky.
Contrairement aux équipements à commande manuelle, le robinet est plus sûr pour les enfants et les animaux domestiques, car il fonctionne automatiquement.
L'équipement est équipé d'un flotteur spécial qui réagit à la présence d'air dans le système de chauffage. Avec l'excès d'air, le flotteur monte et ouvre le trou de vidange pour le retirer. Lorsque l'air est libéré, le flotteur s'abaisse et la soupape se ferme.
Le robinet automatique est installé sur des systèmes de chauffage individuels, dans lesquels vous pouvez surveiller la qualité du liquide de refroidissement. La présence de contaminants dans le système peut entraîner l'inopérabilité de l'appareil ;
Le principe de fonctionnement des équipements à commande automatique
Toutes les grues automatiques sont en outre équipées de la possibilité d'une commande manuelle pour assurer le fonctionnement de l'équipement dans les situations d'urgence.
robinet avec soupape de sécurité.
L'appareil est également destiné aux systèmes individuels, car la pénétration de petites particules entraîne le colmatage de l'équipement et son inopérabilité.
Comment fonctionne une vanne de robinet ? Contrairement à l'équipement standard, l'appareil permet non seulement d'éliminer l'air du radiateur de chauffage, mais également de contrôler le niveau de pression interne, ce qui minimise la possibilité de choc hydraulique, ce qui est particulièrement important pour les canalisations en plastique et métal-plastique
Grue Mayevsky avec soupape de sécurité
Quels paramètres doivent être pris en compte lors du choix
Pour sélectionner un robinet pour un sèche-serviettes ou un radiateur de chauffage, les paramètres techniques suivants doivent être pris en compte :
- diamètre de l'équipement. Pour un fonctionnement optimal de l'appareil, il est nécessaire que le diamètre des vannes d'arrêt et de régulation corresponde parfaitement au diamètre de la sortie du radiateur (sèche-serviettes) ;
- pas et type de filetage. Les fabricants proposent des robinets avec filetage à droite ou à gauche dans des tailles de 1/2 pouce, 3/4 pouce ou 1 pouce;
- classe d'étanchéité. Pour les radiateurs des systèmes de chauffage central, il est plus judicieux d'utiliser des appareils de la classe d'étanchéité la plus élevée (A). Les appareils de classe inférieure peuvent être installés dans une maison privée (avec une faible pression du système) et/ou sur un sèche-serviettes.
Tous les paramètres techniques de l'appareil sont indiqués dans la documentation jointe.
Paramètres techniques de la grue Mayevsky
Caractéristiques de fonctionnement et d'installation
Après avoir installé la grue Mayevsky pour une longue durée de vie, il est nécessaire de l'utiliser correctement. Si la batterie a cessé de se réchauffer uniformément, pour éliminer l'air, il est nécessaire de procéder dans l'ordre suivant:
- libérer de l'espace autour de la batterie pour éviter que les objets de valeur ne soient endommagés par l'eau pendant le processus d'aération ;
- préparez un bassin pour l'eau et un tournevis;
- installez un tournevis dans un filetage spécial situé sur le robinet et faites-le tourner lentement dans le sens antihoraire;
- dès qu'un sifflement d'air qui s'échappe se fait entendre, la rotation doit être arrêtée. Après cela, vous devez attendre que tout l'air en excès soit sorti. Le son peut être assez fort, mais c'est tout à fait normal ;
- dès que l'eau s'écoule du robinet avec l'air, vous devez attendre un peu jusqu'à ce qu'elle coule en un jet uniforme.Après cela, le robinet peut être fermé en le tournant doucement dans le sens opposé, dans le sens des aiguilles d'une montre ;
- il peut arriver que l'air du tuyau sorte assez longtemps avec l'eau, alors que vous devez remplacer le bassin et attendre que l'air s'échappe complètement.
Si l'élimination de l'air à l'aide de la grue Mayevsky a été effectuée exactement selon les instructions et que la batterie reste toujours froide, le radiateur est probablement bouché. Dans ce cas, l'aide d'un plombier ou un remplacement complet de la batterie sera nécessaire.
Nuances de fonctionnement :
- La grue Mayevsky est installée directement sur le dispositif de chauffage.
- Habituellement, un tournevis suffit pour entretenir l'appareil. Dans certains cas, si le robinet est situé dans une niche ou dans un endroit inaccessible, une petite clé spéciale peut être nécessaire.
- Lors de l'utilisation d'un purgeur d'air, il est strictement interdit de placer des flammes nues ou de fumer à proximité, car la moindre étincelle peut enflammer des gaz combustibles, parfois libérés avec l'air.
- Il n'est pas recommandé de maintenir constamment le robinet Mayevsky en position «ouverte», car cela pourrait endommager le radiateur.
Si le robinet n'a pas été utilisé pendant un certain temps, les filetages peuvent être affectés par la rouille. La rotation de la vis sera difficile. Dans ce cas, avant d'ouvrir le robinet, lubrifiez le filetage avec du kérosène et attendez quelques minutes.
Variétés et mécanisme d'action
Avec une telle portée, il serait surprenant qu'il existe un modèle de grue pour tous les cas. Le principe de fonctionnement reste le même, mais certaines nuances changent. En fonction de divers facteurs, il est judicieux d'installer l'un ou l'autre modèle de grue.
Robinet manuel
La grue manuelle est commandée par une vis carrée. L'inspecteur ouvre le robinet pendant 1 à 1,5 tour et l'air est expulsé par le flux d'eau. Jusqu'à ce que l'eau commence à couler du robinet, l'appareil reste ouvert. La grue manuelle est la version la plus simple et la moins chère de la grue Mayevsky. Il est logique de le placer sur des radiateurs domestiques situés dans des endroits facilement accessibles.
Clé pour la grue de Mayevsky
Auto
La grue automatique est livrée avec un flotteur en plastique. Lorsque le robinet est rempli d'eau, le flotteur ferme la sortie du robinet. Dès que l'air s'accumule dans la partie supérieure de la vanne, le flotteur descend avec le niveau d'eau, l'air est évacué dans l'atmosphère. Ces appareils sont plus chers que les robinets manuels, mais assez abordables.
Alors pourquoi ne pas installer de telles vannes partout, en négligeant les contreparties manuelles ? Le fait est que le principal soufre de l'utilisation des grues Mayevsky: les immeubles d'habitation. Et la part du lion des immeubles d'appartements est chauffée à l'aide de systèmes de chauffage centralisés. Les canalisations des centrales de chauffage deviennent rapidement inutilisables, envahies par la rouille et remplies de débris. En raison des courants vagabonds, des fuites se produisent régulièrement, lorsque les fuites sont éliminées, l'étanchéité du système est violée, tout cela ajoute beaucoup de déchets divers aux systèmes.
La plupart des contaminants sont filtrés à l'entrée du bâtiment, où une crépine est fournie, mais les plus petites particules, y compris la rouille, pénètrent toujours dans le système de chauffage interne. En conséquence, le trou du robinet Mayevsky est régulièrement bouché. On ne sait pas ce qui est plus facile avec une aération constante des systèmes de chauffage : purger l'air manuellement ou nettoyer régulièrement la vanne.
De plus, la vanne automatique est susceptible de tomber en panne en raison de surpressions dans le système. Et pour les systèmes centralisés, les petits chocs hydrauliques sont depuis longtemps devenus une réalité familière.
En général, il est rentable et pratique d'installer des robinets automatiques, tout d'abord, dans les maisons avec un système de connexion indépendant. Avec cette option, le système de chauffage et l'installation de chauffage sont reliés au moyen d'un échangeur de chaleur et ne sont pas reliés hydrauliquement. C'est-à-dire qu'il est possible de fournir de l'eau préparée aux batteries avec une quantité vraiment minimale de particules polluantes. De plus, la pression hydraulique dans un tel système est constante, car elle ne dépend pas de nombreuses maisons voisines.
Un robinet automatique peut également être installé chez un particulier, mais là encore se pose le problème de la préparation de l'eau. Nettoyer l'eau à un niveau suffisant coûte trop cher. Même dans le cadre d'immeubles à appartements, l'installation de systèmes de connexion indépendants augmente considérablement le coût du coût de construction final, et donc chaque appartement individuel. Quant aux ménages privés, l'installation de tels systèmes uniquement dans le but d'automatiser les rejets d'air semble totalement injustifiée.
Grue Mayevsky automatique
Avec dispositif de sécurité
Les vannes avec dispositif de sécurité sont conçues spécifiquement pour les immeubles d'habitation avec chauffage central. Ce sont toutes les mêmes grues manuelles Mayevsky, qui disposent cependant d'un système de protection contre l'augmentation de la pression dans le réseau. Comme déjà mentionné, pour le chauffage urbain, les coups de bélier dans le réseau sont considérés comme la norme. Mais une surpression peut entraîner une panne du radiateur. Un simple radiateur en aluminium peut tout simplement se casser à la suite d'un coup de bélier.Par conséquent, lors de l'installation, une grue Mayevsky avec un dispositif de sécurité est fournie.
Si la pression dans le système dépasse 15 atmosphères, la vanne s'ouvre automatiquement, purgeant l'eau. Bien sûr, cela peut être dû à certains inconvénients : peu de gens aiment voir une petite flaque d'eau sous le radiateur. Mais il y aura peu d'eau et les avantages de l'appareil sont assez importants.
Conduite et installation de grue
Une grue de type manuel Mayevsky est installée dans la partie supérieure du radiateur, du côté opposé à l'endroit où le liquide de refroidissement est fourni. L'installation de la vanne ne nécessite pas de compétences particulières : il suffit de visser l'appareil dans le raccord. L'essentiel est la correspondance des fils de connexion. L'étanchéité de la connexion est assurée par l'utilisation d'un joint d'étanchéité spécial. S'il n'est pas inclus dans le kit de livraison de l'appareil, il est tout à fait possible de se débrouiller avec du remorquage et de la pâte de plomberie.
Étant donné que, lors de l'utilisation de l'appareil aux fins prévues, une petite quantité de liquide s'écoulera de l'ouverture de sortie lors de la libération d'air, il serait conseillé d'orienter la valve avec la sortie vers le bas.
L'utilisation d'une grue Mayevsky de conception spéciale vous permet de diriger le jet air-liquide dans n'importe quelle direction en cercle. Si vous utilisez l'appareil le plus simple, l'utilisation de câble avec pâte vous permettra de l'installer dans la bonne position, tout en maintenant l'étanchéité requise de la connexion.

Installation d'une grue Mayevsky sur un radiateur de chauffage
L'installation d'un robinet Mayevsky dans un système de chauffage horizontal à deux tuyaux est obligatoire pour tous les appareils de chauffage, y compris les collecteurs et les porte-serviettes chauffants.Les systèmes de plancher chauffant à l'eau, en raison de leur emplacement, ne nécessitent pas de bouche d'aération, bien qu'il existe des exceptions pour le raccordement non standard du chauffage par le sol.
Dans les porte-serviettes chauffants, dont la conception prévoit une alimentation inférieure en liquide de refroidissement, un trou fileté est prévu pour connecter un robinet Mayevsky.
Les appareils avec connexion latérale n'ont pas une telle opportunité, par conséquent, dans ce cas, un té régulier monté sur la canalisation d'alimentation avant d'entrer dans le sèche-serviettes aidera à sortir de la situation. Un évent est relié à la sortie latérale du té, l'orientant avec la sortie du mur.
La grue Mayevsky est installée sur le radiateur en remplaçant le bouchon de chauffage par la vanne elle-même.
Les radiateurs modernes ont un trou fileté spécial dans le bouchon, ce qui facilite encore l'installation de la bouche d'aération. Si vous envisagez d'installer un robinet sur une batterie en fonte, vous pouvez couper le filetage de son bouchon directement sur place. Pour ce faire, vous avez besoin d'une perceuse avec un foret de 9 mm et d'un taraud pour couper des filetages métriques M10x1. Il est nécessaire de percer un trou au centre du futorka et de couper le fil de connexion. Ce processus est simple et ne nécessite pas de qualifications particulières. Par conséquent, en quelques heures, toutes les batteries en fonte de l'appartement peuvent être équipées de grues Mayevsky.
Si votre système de chauffage est monté à partir de tuyaux en acier soudés dans des registres, alors soit un té installé après le dispositif de verrouillage à l'entrée du tuyau dans le registre, soit un bossage soudé dans la partie supérieure du registre avec le filetage souhaité aidera à installer le prise d'air.

Pour retirer le bouchon d'air, il suffit de tourner légèrement la vis dans le sens inverse des aiguilles d'une montre
Le plus souvent, la nécessité de purger l'air se produit à certains endroits du système de chauffage, de sorte que les robinets Mayevsky peuvent être installés non pas sur tous les appareils de chauffage, mais uniquement sur les zones à problèmes.
Malheureusement, malgré la conception simple et la grande fiabilité de la vanne, il devient souvent nécessaire de nettoyer la vanne pendant le fonctionnement. Cela n'est pas dû au fonctionnement de l'appareil, mais à la faible qualité du liquide de refroidissement, qui affecte le plus souvent les réseaux de chauffage urbain. Dans ce cas, la vis conique doit être dévissée et l'appareil nettoyé avec un fil d'acier fin, une épingle ou une aiguille.
Si les radiateurs de chauffage de votre système de chauffage ne sont pas encore équipés de robinets Mayevsky, assurez-vous de les installer. Vous n'engagerez pas de coûts matériels importants, mais vous augmenterez considérablement la convivialité et l'efficacité du système de chauffage.
Caractéristiques d'inclusion dans le système de chauffage
Il existe des particularités dans l'installation des purgeurs d'air lorsqu'ils sont vissés dans le corps des bouchons de radiateur existants. Les bouchons de radiateur sont généralement vissés sur le filetage à gauche. Le robinet se tord vers la droite, et donc le plombier doit fixer le bouchon avec une clé et en même temps tourner la bouche d'aération avec la seconde. Mais ce sont des bagatelles techniques, qu'il ne fait pas de mal de connaître pour les citadins inexpérimentés.
Circuits pour le placement vertical des radiateurs de chauffage à l'aide de grues Mayevsky. Comme on peut le voir sur le schéma, en fonction du type de raccordement, une installation spécifique de bouches d'aération est déterminée
Le schéma d'installation des dispositifs de sortie d'air présente également certaines caractéristiques.Ainsi, si le système de radiateurs est construit selon la disposition verticale des appareils, les purgeurs d'air sont généralement placés sur les radiateurs du plus haut niveau.
Mais dans le schéma de connexion parallèle, même avec une structure verticale, les robinets de Mayevsky sont placés dans les appareils de chauffage des niveaux inférieur et supérieur. En général, dans la pratique de la plomberie, l'installation dans chaque cas individuel est effectuée en tenant compte de l'éventuelle accumulation d'air dans le système.
Une autre version du schéma, qui est largement utilisée dans la vie quotidienne. Dans cette version, les bouches d'aération sont montées sur chaque radiateur individuel du système de chauffage.
Si l'installation du système de chauffage est effectuée selon un schéma horizontal, ici, en règle générale, chaque appareil de chauffage est équipé de bouches d'aération. Dans l'ensemble, il est souhaitable d'équiper de robinets qui éliminent l'air presque tous les équipements du système de chauffage. En réalité, l'équipement est soumis à :
- toutes les batteries de chauffage du système ;
- compensateurs, by-pass et dispositifs similaires ;
- registraires et bobines;
- canalisations du niveau supérieur du système de chauffage.
Certaines solutions de circuit prévoient même le placement de la grue Mayevsky sur des porte-serviettes chauffants. Soit dit en passant, il existe des modèles de porte-serviettes chauffants en vente, dont les conceptions ont un point d'entrée du robinet Mayevsky.
Avant de décider de l'achat d'appareils d'évacuation d'air, il est recommandé d'étudier attentivement la disposition des appareils.
Les clés spéciales de petite taille sont pratiques à utiliser dans des conditions exiguës, où d'autres objets étroitement espacés interfèrent avec l'utilisation d'un tournevis
En fonction du degré de liberté d'accès à l'équipement, des grues Mayevsky d'une modification appropriée doivent être installées.
Là où il est difficile de travailler avec un tournevis, les modèles clés en main sont mieux adaptés, et là où il est difficile de travailler avec des clés, il est raisonnable de placer des appareils automatiques. Une analyse minutieuse contribuera à rendre la maintenance de l'appareil plus efficace et à économiser sur les achats.
Les purgeurs d'air automatiques sont traditionnellement montés sur les canalisations, aux points d'accumulation potentielle de masses d'air. Sur les radiateurs, de tels dispositifs, en règle générale, ne sont pas utilisés.
Les appareils manuels ont la conception la plus simplifiée, par exemple, par rapport aux bouches d'aération automatiques. Mais, comme le montre la pratique, la simplicité est la clé de la fiabilité.
Si des radiateurs en fonte sont utilisés dans le système de chauffage, les robinets manuels sont plus fiables pour un tel système que les robinets automatiques. Pendant ce temps, le degré de fiabilité de la conception dépend en grande partie de la qualité du métal (laiton) à partir duquel la bouche d'aération est fabriquée.
Grue de Mayevsky montée sur un bouchon en kapron. Conception spécialement préparée pour l'installation dans un système construit sur des tuyaux en polypropylène
Vous pouvez également mentionner l'expérience de l'introduction de robinets Mayevsky dans des circuits de chauffage construits sur des tuyaux en plastique. Ce matériau maintient de manière assez fiable une pression et une température stables, mais est faible contre les coups de bélier.
L'installation d'une grue Mayevsky associée à une soupape de sécurité augmente la fiabilité du système dans de tels cas. En général, pour les schémas où la stabilité de la pression est en cause, il est recommandé d'utiliser des vannes comme stabilisateurs.
La vidéo montre le principe de fonctionnement de la grue Mayevsky et donne des recommandations pour son installation:
De conception simple et faciles à entretenir, les bouches d'aération font également partie intégrante de tout système de chauffage. L'exclusion délibérée d'appareils du système risque de se transformer en conséquences graves, jusqu'au dégivrage des batteries et des tuyaux en hiver. Il est impossible d'ignorer les grues Mayevsky, il suffit de les sélectionner pour un système spécifique.



































