- Comment puis-je démarrer une lampe DRL sans accélérateur ?
- Achat d'un modèle spécial DRL 250
- Utiliser un condensateur
- Utilisation d'une lampe à incandescence
- Caractéristiques techniques du DRL et de ses analogues
- Lampes sodium basse pression
- Types de lampes à décharge de gaz.
- Lampes à décharge de gaz à basse pression.
- Lampes à décharge de gaz à haute pression.
- Exigences relatives à l'élimination des appareils au mercure
- Principe de fonctionnement
- Types de lampes DRL
- Durée de vie
- Spécificités d'application : avantages et inconvénients des lampes
Comment puis-je démarrer une lampe DRL sans accélérateur ?
Pour faire fonctionner une lampe à arc sans appareil supplémentaire, vous pouvez aller dans plusieurs directions :
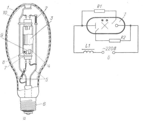
- Utilisez une source lumineuse de conception spéciale (lampe de type DRV). Une caractéristique des lampes qui peuvent fonctionner sans starter est la présence d'un filament de tungstène supplémentaire, qui agit comme un démarreur. Les paramètres de la spirale sont choisis en fonction des caractéristiques du brûleur.
- Démarrage d'une lampe DRL standard à l'aide d'une impulsion de tension fournie par un condensateur.
- Allumage de la lampe DRL en connectant une lampe à incandescence ou une autre charge en série.
L'allumage de la lampe en connectant la chaudière en série est présenté dans une vidéo filmée pour la chaîne "Petit à petit".
Achat d'un modèle spécial DRL 250
Les lampes à commutation directe sont disponibles dans les gammes de produits d'un certain nombre de sociétés :
- TDM Électrique (série DRV);
- Lisma, Iskra (série DRV);
- Philips (série ML);
- Osram (série HWL).
Les caractéristiques de certaines lampes à feu direct sont indiquées dans le tableau.
| Paramètre | VRD 160 | DRV 750 |
| Puissance, W | 160 | 750 |
| Flux, lm | 8000 | 37500 |
| socle | E27 | E40 |
| Ressource, heures | 5000 | 5000 |
| Température de couleur, K | 4000 | 4000 |
| Longueur, mm | 127 | 358 |
| Diamètre, mm | 77 | 152 |
Le principe de fonctionnement de la lampe DRV :
- Au stade initial d'allumage de la lampe, la spirale fournit une tension sur les cathodes inférieure à 20 V.
- Lorsque l'arc s'enflamme, la tension commence à monter, qui atteint 70 V. En parallèle, la tension sur la spirale diminue, provoquant une diminution de la lueur. Pendant le fonctionnement, la spirale est un ballast actif, ce qui réduit l'efficacité du brûleur principal. Il y a donc une diminution du flux lumineux à consommation électrique égale.
Avantages des lampes DRV :
- la capacité de travailler dans des réseaux à courant alternatif 50 Hz avec une tension de 220-230 V sans dispositifs supplémentaires pour démarrer et supporter la combustion par décharge;
- la possibilité d'utiliser à la place des lampes à incandescence;
- peu de temps pour atteindre le mode pleine puissance (dans les 3 à 7 minutes).
Les lampes présentent plusieurs inconvénients :
- efficacité lumineuse réduite (par rapport aux lampes DRL conventionnelles);
- ressource réduite à 4000 heures, déterminée par la durée de vie du filament de tungstène.
En raison de lacunes, les lampes DRV sont utilisées dans les lampes domestiques ou dans les anciennes installations industrielles conçues pour le montage de lampes à incandescence puissantes. Dans ce cas, les appareils vous permettent d'améliorer l'éclairage tout en réduisant la consommation d'énergie.
Utiliser un condensateur
Lors de l'utilisation de lampes de type DRI, le démarrage s'effectue via l'IZU - un dispositif spécial qui donne une impulsion d'allumage. Il se compose d'une diode D connectée en série et d'une résistance R, ainsi que d'un condensateur C.Lorsqu'une tension est appliquée au condensateur, une charge se forme, qui est acheminée à travers le thyristor K vers l'enroulement primaire du transformateur T. Une impulsion de tension accrue se forme sur l'enroulement secondaire, ce qui assure l'allumage de la décharge.
Circuit d'allumage du condensateur
L'utilisation d'éléments vous permet de réduire la consommation d'énergie de 50%. Le schéma de connexion est identique, un condensateur de type sec est installé en parallèle, conçu pour fonctionner dans des circuits avec une tension de 250 V.
La capacité du condensateur dépend du courant de fonctionnement des inductances :
- 35 uF à 3A de courant ;
- 45 microfarads à un courant de 4,4A.
Utilisation d'une lampe à incandescence
Pour l'allumage du DRL, une lampe à incandescence d'une puissance égale à une lampe à décharge peut être connectée. Il est possible d'allumer la lampe en utilisant un ballast de puissance similaire (par exemple, une chaudière ou un fer à repasser). De telles méthodes ne fournissent pas un fonctionnement stable et ne répondent pas aux exigences de sécurité, elles ne sont donc pas recommandées.
L'allumage du DRL 250 à l'aide d'une lampe à incandescence d'une puissance de 500 watts est démontré par l'auteur Andrey Ivanchuk.
Caractéristiques techniques du DRL et de ses analogues
La principale caractéristique technique de la source lumineuse - sa puissance - se reflète dans le marquage des lampes DRL. Le reste des indicateurs qui déterminent les conditions de fonctionnement, vous devez également vous familiariser. Pour ce faire, vous devez étudier les documents d'accompagnement.
Les autres indicateurs incluent les spécifications suivantes :
- flux lumineux - il détermine le besoin d'un certain nombre de sources lumineuses pour créer l'éclairage requis par unité de surface;
- durée de vie - détermine la période de fonctionnement garantie d'un modèle particulier;
- taille standard du socle - définit les paramètres des luminaires avec lesquels il est possible d'utiliser une lampe particulière;
- dimensions - déterminent également la possibilité d'utiliser des lampes avec une lampe particulière.
Les principales caractéristiques techniques des lampes de la série DRL sont indiquées dans le tableau suivant :
| Modèle | Pouvoir électrique, Mar | Flux lumineux, Lm | Durée de vie, heures | Dimensions, millimètre (longueur × diamètre) | Type de socle |
| DRL-50 | 50 | 1900 | 10000 | 130 × 56 | E27 |
| DRL-80 | 80 | 3600 | 12000 | 166 × 71 | E27 |
| DRL-125 | 125 | 6300 | 12000 | 178 × 76 | E27 |
| DRL-250 | 250 | 13000 | 12000 | 228 × 91 | E40 |
| DRL-400 | 400 | 24000 | 15000 | 292 × 122 | E40 |
| DRL-700 | 700 | 40000 | 18000 | 357 × 152 | E40 |
| DRL-1000 | 1000 | 55000 | 10000 | 411 × 157 | E40 |
| DRV-160 | 160 | 2500 | 3000 | 178 × 76 | E27 |
| DRV-250 | 250 | 4600 | 3000 | 228 × 91 | E40 |
| DRV-500 | 500 | 12250 | 3000 | 292 × 122 | E40 |
| DRV-750 | 750 | 22000 | 3000 | 372 × 152 | E40 |
Dispositif d'éclairage public de la série ZhKU12, fonctionnant avec des lampes DRL
Lampes sodium basse pression
Le tube est rempli d'une quantité appropriée de sodium métallique et de gaz inertes - néon et argon. Le tube à décharge est placé dans une enveloppe de protection en verre transparent, qui assure l'isolation thermique du tube à décharge de l'air extérieur et maintient la température optimale à laquelle les pertes de chaleur sont négligeables. Un vide poussé doit être créé dans l'enveloppe de protection, car l'efficacité de la lampe dépend de l'amplitude et du maintien du vide pendant le fonctionnement de la lampe. A l'extrémité du tube extérieur, une plinthe est fixée, généralement une goupille, pour le raccordement au réseau.
Schémas de raccordement pour lampes sodium haute pression.
Premièrement, lorsque la lampe au sodium est allumée, une décharge se produit dans le néon et la lampe commence à briller en rouge. Sous l'effet d'une décharge dans le néon, le tube à décharge s'échauffe et le sodium commence à fondre (le point de fusion du sodium est de 98°C).Une partie du sodium fondu s'évapore et, à mesure que la pression de vapeur de sodium dans le tube à décharge augmente, la lampe commence à jaunir. Le processus d'allumage de la lampe dure 10 à 15 minutes.
Les lampes au sodium sont parmi les plus économiques des sources lumineuses existantes. L'efficacité de la lampe est influencée par un certain nombre de facteurs : la température du tube à décharge, les propriétés d'isolation thermique de l'enveloppe de protection, la pression des gaz de remplissage, etc. Pour obtenir le rendement le plus élevé de la lampe, la température du tube à décharge doit être maintenue dans la plage de 270-280 ° C. Dans ce cas, la pression de vapeur de sodium est de 4 * 10-3 mmHg Art. L'augmentation et la diminution de la température par rapport à l'optimum entraînent une diminution de l'efficacité de la lampe.
Pour maintenir la température du tube à décharge à un niveau optimal, il est nécessaire de mieux isoler le tube à décharge de l'atmosphère environnante. Les tubes de protection amovibles utilisés dans les lampes domestiques ne fournissent pas une isolation thermique suffisante, par conséquent, une lampe de type DNA-140, fabriquée par notre industrie, d'une puissance de 140 W, a un rendement lumineux de 80-85 lm/W. On développe actuellement des lampes au sodium, dans lesquelles le tube de protection est d'une seule pièce avec le tube à décharge.Cette conception de la lampe offre une bonne isolation thermique et, associée à l'amélioration du tube à décharge en le creusant, permet d'augmenter l'efficacité lumineuse des lampes à 110-130 lm / W.
La pression du néon ou de l'argon ne doit pas dépasser 10 mm Hg. Art., car à leur pression plus élevée, la vapeur de sodium peut se déplacer d'un côté du tube. Cela conduit à une diminution de l'efficacité de la lampe. Pour empêcher le mouvement du sodium dans la lampe, des bosses sont prévues sur le tube.
La durée de vie de la lampe est déterminée par la qualité du verre, la pression des gaz de remplissage, la conception et les matériaux des électrodes, etc. Sous l'influence du sodium chaud, en particulier de sa vapeur, le verre est fortement érodé.
Échelle comparative des températures des lampes.
Le sodium est un agent réducteur chimique puissant. Par conséquent, lorsqu'il est combiné à l'acide silicique, qui est la base du verre, il le réduit en silicium et le verre devient noir. De plus, le verre absorbe l'argon. Au final, il ne reste que du néon dans le tube à décharge, et la lampe cesse de s'allumer. La durée de vie moyenne de la lampe est de 2 à 5 000 heures.
La lampe est connectée au réseau à l'aide d'un autotransformateur à haute dissipation, qui fournit la haute tension de circuit ouvert nécessaire à l'allumage de la lampe et à la stabilisation de la décharge.
Le principal inconvénient des lampes au sodium à basse pression est la couleur uniforme du rayonnement, qui ne permet pas
utilisez-les à des fins d'éclairage général dans un environnement de production, en raison de la distorsion importante des couleurs des objets. Application très efficace lampes au sodium pour éclairage, voies de transport, autoroutes et, dans certains cas, éclairage architectural extérieur dans les villes. La branche de production nationale produit des lampes au sodium en quantités limitées.
Types de lampes à décharge de gaz.
Selon la pression, il y a :
- GRL basse pression
- GRL haute pression
Lampes à décharge de gaz à basse pression.
Lampes fluorescentes (LL) - conçues pour l'éclairage. Il s'agit d'un tube recouvert de l'intérieur d'une couche de phosphore. Une impulsion haute tension est appliquée aux électrodes (généralement à partir de six cents volts et plus). Les électrodes sont chauffées, une décharge luminescente se produit entre elles. Sous l'influence de la décharge, le luminophore commence à émettre de la lumière.Ce que nous voyons est la lueur du phosphore, et non la décharge lumineuse elle-même. Ils fonctionnent à basse pression.
En savoir plus sur les lampes fluorescentes - ici
Les lampes fluorescentes compactes (CFL) ne sont fondamentalement pas différentes des LL. La différence réside uniquement dans la taille, la forme du flacon. La carte électronique de démarrage est généralement intégrée à la base elle-même. Tout est orienté vers la miniaturisation.
En savoir plus sur l'appareil CFL - ici
Les lampes de rétroéclairage d'affichage n'ont pas non plus de différences fondamentales. Alimenté par un onduleur.
Lampes à induction. Ce type d'illuminateur n'a pas d'électrodes dans son ampoule. Le ballon est traditionnellement rempli d'un gaz inerte (argon) et de vapeur de mercure, et les parois sont recouvertes d'une couche de phosphore. L'ionisation des gaz se produit sous l'action d'un champ magnétique alternatif à haute fréquence (à partir de 25 kHz). Le générateur lui-même et la bouteille de gaz peuvent constituer un appareil complet, mais il existe également des options de fabrication espacée.
Lampes à décharge de gaz à haute pression.
Il existe également des appareils à haute pression. La pression à l'intérieur du ballon est supérieure à la pression atmosphérique.
Les lampes à mercure à arc (en abrégé DRL) étaient auparavant utilisées pour l'éclairage public extérieur. De nos jours, ils sont de moins en moins utilisés. Ils sont remplacés par des sources lumineuses aux halogénures métalliques et au sodium. La raison en est une faible efficacité.
L'apparition de la lampe DRL
Les lampes à arc à iodure de mercure (HID) contiennent un brûleur sous la forme d'un tube de verre de quartz fondu. Il contient des électrodes. Le brûleur lui-même est rempli d'argon - un gaz inerte contenant des impuretés de mercure et d'iodures de terres rares. Peut contenir du césium. Le brûleur lui-même est placé à l'intérieur d'un flacon en verre résistant à la chaleur. L'air est pompé hors du ballon, pratiquement le brûleur est sous vide. Les plus modernes sont équipés d'un brûleur en céramique - il ne s'assombrit pas.Utilisé pour éclairer de grandes surfaces. Les puissances typiques sont de 250 à 3500 watts.
Les lampes tubulaires à arc au sodium (HSS) ont un rendement lumineux deux fois supérieur à celui des DRL pour la même consommation d'énergie. Cette variété est conçue pour l'éclairage public. Le brûleur contient un gaz inerte - du xénon et des vapeurs de mercure et de sodium. Cette lampe est immédiatement reconnaissable à sa lueur - la lumière a une teinte jaune orangé ou dorée. Ils diffèrent par un temps de transition assez long vers l'état d'arrêt (environ 10 minutes).
Les sources lumineuses tubulaires au xénon à arc sont caractérisées par une lumière blanche brillante, spectralement proche de la lumière du jour. La puissance des lampes peut atteindre 18 kW. Les options modernes sont en verre de quartz. La pression peut atteindre 25 atm. Les électrodes sont en tungstène dopé au thorium. Parfois, le verre saphir est utilisé. Cette solution assure la prédominance de l'ultraviolet dans le spectre.
Le flux lumineux est créé par le plasma à proximité de l'électrode négative. Si le mercure est inclus dans la composition de la vapeur, la lueur se produit près de l'anode et de la cathode. Les flashs sont également de ce type. Un exemple typique est IFC-120. Ils peuvent être identifiés par une troisième électrode supplémentaire. En raison de leur portée, ils sont parfaits pour la photographie.
Les lampes à décharge aux halogénures métalliques (MHL) se caractérisent par leur compacité, leur puissance et leur efficacité. Souvent utilisé dans les luminaires. Structurellement, il s'agit d'un brûleur placé dans une fiole à vide. Le brûleur est en céramique ou en verre de quartz et rempli de vapeur de mercure et d'halogénures métalliques. Ceci est nécessaire pour corriger le spectre.La lumière est émise par le plasma entre les électrodes du brûleur. La puissance peut atteindre 3,5 kW. En fonction des impuretés dans la vapeur de mercure, une couleur différente du flux lumineux est possible. Ils ont un bon rendement lumineux. La durée de vie peut atteindre 12 000 heures. Il a également une bonne reproduction des couleurs. Long va au mode de fonctionnement - environ 10 minutes.
Exigences relatives à l'élimination des appareils au mercure
Il est impossible de jeter sans réfléchir les déchets ou les ampoules défectueuses contenant du mercure. Les appareils dont le flacon est endommagé constituent une menace sérieuse pour la santé humaine et l'environnement en général, et nécessitent donc une élimination spécifique.
La question de savoir comment éliminer les déchets dangereux est pertinente tant pour les propriétaires d'entreprise que pour les résidents ordinaires. Le recyclage des lampes au mercure est effectué par des organisations qui ont reçu la licence appropriée.
L'entreprise conclut un contrat de service avec une telle entreprise. Sur demande, un représentant de l'entreprise de recyclage visite l'installation, récupère et enlève les lampes pour une désinfection et un recyclage ultérieurs. Le coût estimé du service est de 0,5 USD pour un luminaire.
Des points d'accueil ont été organisés pour collecter les ampoules contenant du mercure auprès de la population. Les habitants des petites villes peuvent remettre des déchets dangereux pour les recycler grâce à "l'écomobile"
Si l'émission de lampes contenant du mercure par les entreprises est en quelque sorte contrôlée par les autorités de contrôle, le respect des règles d'élimination par la population relève de la responsabilité personnelle des citoyens.
Malheureusement, en raison d'une faible sensibilisation, tous les utilisateurs de lampes au mercure ne sont pas conscients des conséquences possibles de la pénétration de vapeurs de mercure dans l'environnement.
Tous les types de lampes à économie d'énergie sont décrits en détail dans l'article suivant, qui aborde les principes de fonctionnement, compare les appareils et fournit une évaluation économique simplifiée.
Principe de fonctionnement
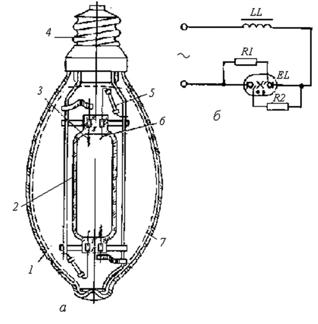
Le brûleur (RT) de la lampe est constitué d'un matériau transparent réfractaire et chimiquement résistant (verre de quartz ou céramique spéciale), et est rempli de portions strictement dosées de gaz inertes. De plus, du mercure métallique est introduit dans le brûleur, qui dans une lampe froide a la forme d'une boule compacte, ou se dépose sous forme d'un revêtement sur les parois du ballon et (ou) des électrodes. Le corps lumineux du RLVD est une colonne de décharge électrique en arc.
Schéma 3. Entrée du transformateur.
Le processus d'allumage d'une lampe équipée d'électrodes d'allumage est le suivant. Lorsqu'une tension d'alimentation est appliquée à la lampe, une décharge luminescente se produit entre les électrodes principales et d'allumage étroitement espacées, ce qui est facilité par une petite distance entre elles, qui est nettement inférieure à la distance entre les électrodes principales, par conséquent, la tension de claquage de cet écart est également plus faible. L'apparition dans la cavité RT d'un nombre suffisamment important de porteurs de charge (électrons libres et ions positifs) contribue à la rupture de l'espace entre les électrodes principales et à l'allumage d'une décharge luminescente entre elles, qui se transforme presque instantanément en une décharge en arc .
La stabilisation des paramètres électriques et lumineux de la lampe se produit 10 à 15 minutes après l'allumage. Pendant ce temps, le courant de la lampe dépasse considérablement le courant nominal et n'est limité que par la résistance du ballast. La durée du mode de démarrage dépend fortement de la température ambiante : plus il fait froid, plus la lampe s'allumera longtemps.
La décharge électrique dans le brûleur d'une lampe à arc au mercure produit un rayonnement bleu ou violet visible, ainsi qu'un rayonnement ultraviolet intense. Ce dernier excite la lueur du luminophore déposé sur la paroi interne de l'ampoule externe de la lampe. La lueur rougeâtre du luminophore, se mélangeant au rayonnement blanc-verdâtre du brûleur, donne une lumière vive proche du blanc.
Schéma d'allumage de la lampe DRL.
Une variation de la tension secteur vers le haut ou vers le bas entraîne une modification correspondante du flux lumineux. Une déviation de la tension d'alimentation de 10 à 15% est autorisée et s'accompagne d'une modification du flux lumineux de la lampe de 25 à 30%. Lorsque la tension d'alimentation tombe en dessous de 80% de la tension nominale, la lampe peut ne pas s'allumer et celle qui brûle peut s'éteindre.
Lors de la combustion, la lampe devient très chaude. Cela nécessite l'utilisation de fils résistants à la chaleur dans les dispositifs d'éclairage à lampes à arc au mercure et impose de sérieuses exigences sur la qualité des contacts des cartouches. Étant donné que la pression dans le brûleur d'une lampe chaude augmente considérablement, sa tension de claquage augmente également. La tension du réseau d'alimentation est insuffisante pour allumer une lampe chaude. Par conséquent, avant le rallumage, la lampe doit refroidir. Cet effet est un inconvénient important des lampes à arc au mercure à haute pression, car même une très courte interruption de l'alimentation les éteint et une longue pause de refroidissement est nécessaire pour le rallumage.
Informations générales : Les lampes DRL ont un rendement lumineux élevé. Ils résistent aux influences atmosphériques, leur inflammation ne dépend pas de la température ambiante.
- Les lampes de type DRL sont disponibles avec une puissance de 80, 125, 250, 400, 700, 1000 W ;
- durée de vie moyenne de 10 000 heures.
Un inconvénient important des lampes DRL est la formation intense d'ozone lors de leur combustion. Si pour les installations bactéricides, ce phénomène s'avère généralement utile, dans d'autres cas, la concentration d'ozone à proximité du dispositif d'éclairage peut dépasser de manière significative la valeur autorisée selon les normes sanitaires. Par conséquent, les pièces où des lampes DRL sont utilisées doivent disposer d'une ventilation adéquate pour éliminer l'excès d'ozone.
O0Dr-enroulement principal de l'inducteur, D0Dr-enroulement d'inducteur supplémentaire, condensateur d'antiparasitage C3, redresseur SV-sélénium, résistance de charge R, lampe DRL à deux électrodes L, déchargeur P.
Allumage : L'allumage des lampes du réseau s'effectue à l'aide de l'appareillage (équipement de contrôle de démarrage). Dans des conditions normales, une self est connectée en série avec la lampe (schéma 2), à très basse température (inférieure à -25 ° C), un autotransformateur est introduit dans le circuit (schéma 3).
Lorsque les lampes DRL sont allumées, un courant de démarrage important est observé (jusqu'à 2,5 Inom). Le processus d'allumage de la lampe dure jusqu'à 7 minutes ou plus, la lampe ne peut être rallumée qu'après avoir refroidi (10-15 minutes).
- données techniques de la lampe DRL 250 Puissance, W - 250;
- courant de la lampe, A - 4,5 ;
- type de base - E40;
- flux lumineux, Lm - 13000;
- rendement lumineux, Lm / W - 52;
- température de couleur, K - 3800;
- temps de combustion, h - 10000;
- indice de rendu des couleurs, Ra - 42.
Types de lampes DRL
Ce type d'illuminateur est classé en fonction de la pression de vapeur à l'intérieur du brûleur :
- Basse pression - RLND, pas plus de 100 Pa.
- Haute pression - RVD, environ 100 kPa.
- Ultra-haute pression - RLSVD, environ 1 MPa.
DRL a plusieurs variétés:
- DRI - Arc Mercure avec additifs rayonnants.La différence réside uniquement dans les matériaux utilisés et le remplissage en gaz.
- DRIZ - DRI avec l'ajout d'une couche miroir.
- DRSH - Arc Boule de Mercure.
- DRT - Arc Mercury tubulaire.
- PRK - Direct Mercure-Quartz.
L'étiquetage occidental est différent du russe. Ce type est marqué QE (si vous suivez ILCOS - marquage international généralement accepté), vous pouvez trouver le fabricant dans la partie suivante :
HSB\HSL - Sylvanie,
HPL-Philips,
HRL - Radium,
MBF-GE,
HQL Osram.
Durée de vie
Une telle source lumineuse, selon les fabricants, est capable de brûler pendant au moins 12 000 heures. Tout dépend d'une caractéristique telle que la puissance - plus la lampe est puissante, plus elle dure longtemps.
Modèles populaires et nombre d'heures de service pour lesquels ils sont conçus :
- DRL 125 - 12000 heures ;
- 250 - 12000 heures ;
- 400 - 15000 heures ;
- 700 - 20000 heures.
Noter! En pratique, il peut y avoir d'autres nombres. Le fait est que les électrodes, comme le luminophore, peuvent échouer plus rapidement.
En règle générale, les ampoules ne sont pas réparées, elles sont plus faciles à remplacer, car un produit usé brille 50% moins bien.
Conçu pour au moins 12 000 heures de fonctionnement
Il existe plusieurs variétés de DRL (décodage - une lampe à mercure à arc), applicables à la fois dans la vie quotidienne et dans les conditions de production. Les produits sont classés par puissance, les modèles les plus populaires étant de 250 et 500 watts. En les utilisant, ils créent encore des systèmes d'éclairage public. Les appareils Mercury sont bons en raison de leur disponibilité et de leur puissance lumineuse. Cependant, des conceptions plus innovantes émergent, plus sûres et avec une meilleure qualité de lueur.
Spécificités d'application : avantages et inconvénients des lampes
Les éclairages de type DRL sont principalement installés sur des poteaux pour éclairer les rues, les allées, les parcs, les territoires adjacents et les bâtiments non résidentiels. Cela est dû aux caractéristiques techniques et opérationnelles des lampes.
Le principal avantage des appareils à arc au mercure est leur puissance élevée, qui fournit un éclairage de haute qualité des zones spacieuses et des objets volumineux.
Il convient de noter que les données du passeport DRL pour le flux lumineux sont pertinentes pour les nouvelles lampes. Après un quart, la luminosité se détériore de 15%, après un an - de 30%
Les avantages supplémentaires incluent :
- Durabilité. La durée de vie moyenne, déclarée par les fabricants, est de 12 000 heures. De plus, plus la lampe est puissante, plus elle durera longtemps.
- Travailler à basse température. C'est un paramètre décisif lors du choix d'un appareil d'éclairage pour la rue. Les lampes à décharge sont résistantes au gel et conservent leurs caractéristiques de performance à des températures inférieures à zéro.
- Bonne luminosité et angle d'éclairage. Le rendement lumineux des appareils DRL, en fonction de leur puissance, varie de 45 à 60 Lm / V. En raison du fonctionnement du brûleur à quartz et du revêtement de phosphore de l'ampoule, une distribution uniforme de la lumière avec un large angle de diffusion est obtenue.
- Compacité. Les lampes sont relativement petites, la longueur du produit pour 125 W est d'environ 18 cm, l'appareil pour 145 W est de 41 cm, le diamètre est de 76 et 167 mm, respectivement.
L'une des caractéristiques de l'utilisation des illuminateurs DRL est la nécessité de se connecter au réseau via un starter. Le rôle de l'intermédiaire est de limiter le courant qui alimente l'ampoule. Si vous connectez un dispositif d'éclairage en contournant l'accélérateur, il s'éteindra en raison du courant électrique important.
Schématiquement, la connexion est représentée par une connexion en série d'une lampe au phosphore au mercure à travers une bobine d'arrêt à l'alimentation.Un ballast est déjà intégré dans de nombreux illuminateurs DRL modernes - ces modèles sont plus chers que les lampes conventionnelles
Un certain nombre d'inconvénients limitent l'utilisation des lampes DRL dans la vie quotidienne.
Inconvénients importants :
- Durée d'allumage. Sortie à pleine illumination - jusqu'à 15 minutes. Le mercure met du temps à se réchauffer, ce qui est très gênant à la maison.
- Sensibilité à la qualité de l'alimentation. Lorsque la tension chute de 20% ou plus par rapport à la valeur nominale, l'allumage de la lampe au mercure ne fonctionnera pas et l'appareil lumineux s'éteindra. Avec une diminution de l'indicateur de 10 à 15%, la luminosité de la lumière se détériore de 25 à 30%.
- Bruit au travail. La lampe DRL émet un bourdonnement, non perceptible dans la rue, mais perceptible à l'intérieur.
- Pulsation. Malgré l'utilisation d'un stabilisateur, les ampoules scintillent - il n'est pas souhaitable d'effectuer un travail à long terme dans un tel éclairage.
- Faible reproduction des couleurs. Le paramètre caractérise la réalité de la perception des couleurs environnantes. L'indice de rendu des couleurs recommandé pour les locaux d'habitation est d'au moins 80, de manière optimale 90-97. Pour les lampes DRL, la valeur de l'indicateur n'atteint pas 50. Sous un tel éclairage, il est impossible de distinguer clairement les nuances et les couleurs.
- Application non sécurisée. Pendant le fonctionnement, de l'ozone est libéré, par conséquent, lors de l'utilisation de la lampe à l'intérieur, l'organisation d'un système de ventilation de haute qualité est nécessaire.
De plus, la présence de mercure dans le flacon lui-même est un danger potentiel. De telles ampoules après utilisation ne peuvent pas simplement être jetées. Afin de ne pas polluer l'environnement, ils sont éliminés correctement.
Une autre limitation de l'utilisation des lampes à décharge dans la vie quotidienne est la nécessité de les installer à une hauteur considérable. Modèles d'une puissance de 125 W - suspension en 4 m, 250 W - 6 m, 400 W et plus puissants - 8 m
Un inconvénient important des illuminateurs DRL est l'impossibilité de se rallumer tant que la lampe n'a pas complètement refroidi. Pendant le fonctionnement de l'appareil, la pression du gaz à l'intérieur du flacon en verre augmente fortement (jusqu'à 100 kPa). Jusqu'à ce que la lampe refroidisse, il est impossible de percer l'éclateur avec la tension de démarrage. La réactivation se produit après environ un quart d'heure.






































