- Avantages et inconvénients du chauffage individuel au gaz
- Exigences générales
- Alimentation en gaz : étapes principales
- Qu'est-ce qu'un échangeur de chaleur
- Matériaux pour échangeurs de chaleur
- Schéma de câblage
- Installation d'une cuisinière à gaz et de convecteurs
- Choisir un convecteur à eau
- Installation de convecteur à eau
- Installation de convecteurs de chauffage, en tenant compte du calcul de la puissance
- Spécificités du travail
- Exigences générales
- Installation de convecteurs électriques
- Dépannage
- Installation de radiateurs dans une niche
Avantages et inconvénients du chauffage individuel au gaz
Veuillez noter que la qualité de l'appareil, ainsi que la durée de son bon fonctionnement, dépendent directement du prix du convecteur à gaz. Est-il possible d'acheter une unité bon marché et de la connecter dans la maison ? Oui, mais gardez à l'esprit qu'un modèle peu coûteux ne vous durera pas plus d'un an. Dans le même temps, il est peu probable qu'un tel convecteur puisse être réparé en cas de panne.
Dans le même temps, il est peu probable qu'un tel convecteur soit réparé en cas de panne.
Considérez les avantages des appareils de chauffage au gaz, basés sur le fait que vous n'avez pas économisé d'argent lors de l'achat et que vous avez acheté une unité de qualité.
Avantages des convecteurs à gaz :
- la pièce chauffe vite
- utilisation économique du carburant,
- l'appareil peut être facilement installé à l'intérieur par vous-même,
- prix démocratique,
- le convecteur à gaz n'a pas besoin d'installer un système de chauffage,
- ne détruit pas l'oxygène dans la pièce,
- le réchauffeur peut être monté sur la bouteille de gaz,
- l'appareil fonctionne en mode autonome,
- si le convecteur fonctionne selon le principe de la circulation naturelle, il ne dépend pas de l'alimentation électrique.
Important : les convecteurs à gaz à chambre de combustion fermée peuvent être installés en toute sécurité dans n'importe quelle pièce, y compris la chambre à coucher. Inconvénients des convecteurs à gaz : Inconvénients des convecteurs à gaz :
Inconvénients des convecteurs à gaz :
- pour installer correctement un convecteur à gaz avec connexion à un système centralisé, il est nécessaire d'obtenir l'autorisation des autorités municipales compétentes,
- le schéma de raccordement du convecteur à gaz nécessite de percer un trou traversant dans le mur extérieur du bâtiment, à l'endroit où il est prévu d'installer l'appareil,
- taille impressionnante,
- si vous envisagez d'utiliser plusieurs convecteurs à gaz pour chauffer un appartement ou une maison, chacun d'entre eux devra être alimenté individuellement en gaz à l'extérieur du bâtiment.
Important: les experts insistent pour choisir des modèles avec ventilateur intégré. Ils sont plus efficaces que les appareils à convection naturelle comparables.
Exigences générales
Dans certains cas, le meilleur moyen de sortir de la situation sera l'installation d'un convecteur à gaz. Ce radiateur est fixé au mur et est alimenté par une bouteille de gaz. La possibilité d'alimentation électrique depuis l'autoroute est également prévue. Si du gaz apparaît dans votre localité dans un proche avenir, achetez des convecteurs à gaz. Les conditions requises pour leur installation sont les suivantes :
- Exposition obligatoire des distances aux objets et murs les plus proches conformément aux instructions d'installation et de fonctionnement ;
- La conduite de gaz est alimentée le long de la rue ;
- Lors de l'installation dans une maison avec des murs en bois, il est nécessaire de prendre en compte l'isolation thermique;
- Ne pas installer le convecteur à une grande distance du sol, car cela réduirait l'efficacité et l'intensité du processus de convection.
Voyons comment un tel convecteur est installé sur le mur.
Alimentation en gaz : étapes principales
L'installation du convecteur à gaz est terminée, vous devez maintenant vous occuper de l'alimentation en gaz. Cette étape est assez complexe et responsable à la fois. Pour fournir du gaz, procédez comme suit :
Schéma de fonctionnement d'un convecteur à gaz.
- Selon les documents réglementaires, le tuyau adapté au convecteur doit longer la rue. Il y a deux options ici: la première - le tuyau a une connexion filetée pré-extraite, la seconde - il n'y a pas une telle connexion. S'il y a un filetage, vous pouvez visser vous-même la vanne de gaz, ce qui coupera l'alimentation en gaz du convecteur. En l'absence de retrait, il doit être fait. Pour ce faire, appelez des soudeurs au gaz professionnels du Gorgaz local ou d'un bureau similaire.
- Après avoir installé le robinet de gaz, il est nécessaire de poser un tuyau métal-plastique sur le convecteur lui-même. À l'aide d'un ruban à mesurer, calculez la longueur du tuyau, en déterminant simultanément la présence de raccords.
- Vous devez acheter un tuyau et des raccords. Le principe de l'achat est que le vendeur doit préciser la présence d'un certificat de conformité de ces canalisations et raccords pour ce type de travaux.
- Posez le tuyau, fixez-le avec des clips tous les m. Pour installer les clips, vous devez percer des trous dans le mur.
- Lors de l'installation des raccords nécessaires, lubrifiez soigneusement le tuyau et le raccord lui-même avec du silicone, ce qui donnera une étanchéité supplémentaire. Le silicone agira également comme un lubrifiant et facilitera l'installation des tuyaux.
À la suite des travaux, vous devriez obtenir un convecteur monté sur le mur avec un tuyau de gaz qui y est connecté.
Reste maintenant la dernière étape de l'installation. Un essai est requis.
Schéma d'installation d'un convecteur à gaz.
Avant de commencer, ouvrez le robinet de gaz et passez sur tous les joints des raccords et raccords filetés avec un pinceau imbibé d'une solution aqueuse de savon ou de shampoing. De cette façon, vous pourrez remarquer les bulles gonflées (le cas échéant), qui indiquent des fuites de gaz. Si cela se produit, fermez immédiatement la vanne d'alimentation en gaz. Après avoir vérifié les joints, démarrez le convecteur. Pour ce faire, maintenez enfoncé le bouton d'alimentation en gaz pendant une minute. Ainsi le gaz aura le temps de passer dans les canalisations et de rentrer dans la chambre de combustion. Appuyez sur l'allumeur piézo, l'étincelle devrait enflammer le gaz. Une flamme bleue s'allumera dans le four.
Réglez le fonctionnement du convecteur en réglant une température confortable. Pendant les premières heures de fonctionnement, vous pouvez ressentir une odeur désagréable d'huile brûlée. Ceci est normal car le convecteur est neuf et la chambre de combustion brûle. Si l'odeur persiste longtemps, il vaut la peine de couper le gaz et de revérifier tous les joints et raccords filetés.
Il est conseillé que tous les travaux d'installation de convecteurs à gaz soient effectués par un professionnel ayant une expérience suffisante dans l'exécution de tels travaux. Cela est également dû au fait que l'auto-installation du convecteur peut annuler la garantie de l'appareil. Le convecteur à gaz doit être repris par Gorgaz. Vous devez avoir une autorisation documentaire pour le raccordement entre vos mains. De plus, toutes les décisions d'installation, ainsi que les conclusions de la commission de mise en service de l'appareil, doivent être documentées et signées de manière appropriée.
Qu'est-ce qu'un échangeur de chaleur
Il s'agit d'un dispositif technique constitué d'un matériau à haute conductivité thermique, dans lequel deux milieux de températures différentes entrent en contact à travers une cloison. C'est à travers la paroi de l'appareil d'un milieu que la température est transférée à un autre.
Il existe deux types d'échangeurs de chaleur :
- Récupérateurs. C'est-à-dire ceux dans lesquels le transfert de température se produit à travers la cloison.
- Régénérateurs. Dans ceux-ci, des milieux de températures différentes sont tour à tour en contact avec une même surface.

Le principe de fonctionnement de l'échangeur de chaleur Il existe plusieurs variétés d'échangeurs de chaleur qui diffèrent les uns des autres par une conception purement constructive. Voici les options couramment utilisées :
- Un serpentin est un tube enroulé autour d'une cheminée à travers laquelle l'eau circule.
- Tuyau dans un tuyau. Il s'agit d'une structure en forme de cylindre montée sur une cheminée. L'eau coule à l'intérieur, qui pénètre dans la structure par le tuyau inférieur et sort par le tuyau installé au sommet de l'échangeur de chaleur. Le chauffage du liquide se produit à travers la paroi de la cheminée.
- Spirale. Ils sont rarement utilisés dans la vie quotidienne, car structurellement, il s'agit d'un récipient dans lequel un tuyau est posé en spirale (le long des parois intérieures), un milieu chaud se déplace à l'intérieur. Malheureusement, la cheminée ne fonctionnera pas sous cette forme.
- Coquille et tube. Ceci n'est pas un appareil ménager. Sa conception est un conteneur dans lequel un grand nombre de tubes sont insérés. Un milieu à haute température se déplace le long d'eux et de l'eau se déplace entre les tubes.
- Lamellaires, ils sont aussi appelés convecteurs. Ce modèle est le même que le précédent. Seulement dans celui-ci, au lieu de tubes, des panneaux creux sont installés, le long desquels se déplace un milieu à haute température. Et entre eux, il y a de l'eau.L'efficacité du transfert d'énergie thermique dépend ici de la direction dans laquelle les milieux se déplacent les uns par rapport aux autres. Idéalement - l'un vers l'autre.

Échangeur de chaleur de type spirale
Il existe une autre classification dans laquelle les échangeurs de chaleur sont divisés en eau et air. Le premier a été écrit ci-dessus. Quant à ces derniers, ils organisent principalement le chauffage d'appoint des locaux. Un représentant éminent de ces unités est les échangeurs de chaleur ondulés.
Pour ce faire, utilisez des tuyaux en acier ondulé (ils sont flexibles), qui s'enroulent. Il s'avère que les gaz de monoxyde de carbone à haute température provenant du four du four cèdent une partie de la chaleur à l'air passant à l'intérieur de l'ondulation. Ce dernier est relié à la rue, généralement il est introduit dans la pièce par un trou situé près du sol. Parfois, un ventilateur de faible puissance est installé pour donner à l'air une faible vitesse. L'extrémité opposée de l'ondulation est installée dans la pièce où vous souhaitez augmenter la température.
Matériaux pour échangeurs de chaleur
Habituellement, la cheminée est assemblée à partir de tuyaux métalliques. Rarement, des cheminées en céramique ou en verre sont installées dans le hammam d'un bain ou d'autres locaux, à l'exception de la maison principale. Trop cher. Par conséquent, nous pouvons affirmer avec certitude que ces structures ont une efficacité thermique élevée. Par conséquent, un échangeur de chaleur peut être monté dessus.

Serpentin de tuyau en cuivre
Le matériau de l'échangeur de chaleur lui-même est sélectionné sur la base de sa capacité à résister à des charges thermiques importantes, car la température du monoxyde de carbone peut atteindre jusqu'à + 500C. De plus, il est nécessaire de prendre en compte l'effet négatif de l'eau sur le métal.Par conséquent, les tubes de serpentin doivent être en alliage de cuivre ou en acier inoxydable.
S'il est décidé de construire un échangeur de chaleur tuyau dans tuyau, il est préférable d'utiliser une structure en acier inoxydable ou galvanisée pour sa fabrication.
Schéma de câblage
Les convecteurs à eau sont des équipements spécialisés, il est donc préférable de confier son installation à des professionnels, notamment lorsqu'il s'agit d'installer des types de sol ou de sous-sol. Indépendamment, il est permis d'effectuer uniquement l'installation de convecteurs à eau muraux. Dans ce cas, il est nécessaire de suivre une séquence stricte d'actions.
- Il est nécessaire de marquer le mur - utilisez le niveau pour déterminer l'emplacement du convecteur lui-même, le lieu de raccordement de l'eau et, si nécessaire, de l'électricité. Ici, vous pouvez soit fixer le radiateur lui-même au mur, soit faire des marquages avec une règle en utilisant les données du passeport du produit.
- Ensuite, le mur est percé selon les marques marquées et vissé dans les trous de cheville.
- Procéder à la fourniture de tuyaux et de câbles d'électricité.
- L'arrière du convecteur est vissé au mur avec les vis fournies avec le kit. Dans le même temps, au début, il est simplement appâté sur les vis, puis la précision de la fixation est mesurée avec un niveau, et seulement lorsqu'ils en sont convaincus, le panneau d'installation est vissé jusqu'au bout.
- Le bloc échangeur de chaleur doit maintenant être fixé au panneau d'installation. Seules les vis et fixations fournies par le fabricant peuvent être utilisées à cet effet.
- Maintenant, le câble électrique est connecté à la boîte à bornes. Dans ce cas, le paramètre de connexion principal est la notice du fabricant et le circuit électronique. Il est nécessaire d'agir strictement en conformité avec elle.
- Installez le ventilateur et, si nécessaire, ajustez sa position à l'aide d'un dispositif spécial - un potentiomètre.
- Vous pouvez maintenant commencer à connecter des raccords supplémentaires. Une vanne thermostatique est installée à l'entrée des tuyaux et un raccord fileté spécial est installé à la sortie. Il est impératif de vérifier l'étanchéité de toute la structure à l'aide d'un compresseur à air.
- Vous devez maintenant connecter les tuyaux au système de chauffage. Cela doit être fait en stricte conformité avec le projet.
- Enfin, vous pouvez procéder à la collecte et à l'installation du convecteur à eau lui-même. Pour ce faire, conformément au schéma, un cadre, une grille et une tête thermostatique sont installés, et les parois du radiateur sont fixées.
- À l'aide de vis de réglage spéciales, ils calibrent l'emplacement de l'appareil sur le mur, en se concentrant sur le niveau.
En principe, l'installation d'un convecteur d'eau intra-sexuel intégré s'effectue à peu près de la même manière. Ce n'est qu'au début que des boîtes encastrées spéciales sont fabriquées dans le sol lors de la fabrication d'une chape rugueuse, dans laquelle le radiateur lui-même sera placé à l'avenir.
Sans aucune compétence, il sera assez difficile d'effectuer vous-même une telle installation d'un convecteur de chauffage à eau pour la première fois. Par conséquent, ici, il est nécessaire soit d'appeler un spécialiste, soit d'être patient et d'agir aussi soigneusement et lentement que possible.


Installation d'une cuisinière à gaz et de convecteurs
Il est interdit d'installer le convecteur à moins de 4 mètres de sources de feu à ciel ouvert, incluant une cuisinière à gaz. Le tuyau adapté au convecteur doit avoir un insert diélectrique, cela évitera un incendie en cas de court-circuit dans le câblage dans une maison en bois.
Un facteur important est la mise à la terre des prises situées près de la cuisinière à gaz et des convecteurs, bien que dans une maison en bois, elles doivent être mises à la terre a priori.
Il existe trois types de tuyaux d'alimentation autorisés pour un réchaud à gaz dans une maison en bois, à savoir :
- Tissu en caoutchouc - son avantage est qu'il ne conduit pas le courant électrique, mais il est plus sensible aux dommages mécaniques que les analogues;
- Manchon métallique - lors de son utilisation, un insert diélectrique est nécessairement inséré de la cuisinière à gaz au réseau principal, sinon il offre les meilleures performances parmi les analogues. De plus, il est recommandé par les dernières normes approuvées. Son seul inconvénient est le prix, ça pique ;
- Caoutchouc avec une tresse métallique - il résiste mieux aux chocs violents et, grâce au noyau en caoutchouc, ne conduit pas le courant.
Lors de l'achat d'un tuyau métallique, il faut faire attention à son revêtement, certains fabricants orientés vers d'autres marchés, avec d'autres normes, utilisent un isolant jaune, qui ne remplit pas ses fonctions principales. Demandez toujours les pièces justificatives lors de l'achat et conservez-les en lieu sûr
Choisir un convecteur à eau
Pour sélectionner un convecteur à eau, il est nécessaire de déterminer l'emplacement d'installation et le type de construction, après quoi vous pouvez procéder au calcul thermique et à la sélection des paramètres
Lors du choix d'un modèle, il est important de prendre en compte les caractéristiques suivantes
La puissance thermique du convecteur est un paramètre indiquant quelle surface l'appareil est capable de chauffer. Pour 1 m2 d'un appartement ou d'une maison avec une hauteur de plafond standard, 100 W de puissance calorifique sont nécessaires.La perte de chaleur par les fenêtres est plus élevée que par les murs, il faut donc ajouter 200 watts supplémentaires à chaque fenêtre.
Exemple de calcul : pour une pièce de 20 m2 avec deux fenêtres, il faut 20 100 + 2 200 \u003d 2400 W, soit 2,4 kW. Il est préférable de répartir équitablement cette valeur sur plusieurs convecteurs en les connectant en parallèle ou en série. Dans ce cas, la température dans la pièce sera plus stable et uniforme.
Ce que vous devez savoir sur les convecteurs de chauffage
Les dimensions globales sont une autre caractéristique importante. La possibilité d'installer le convecteur à l'endroit choisi en dépend.
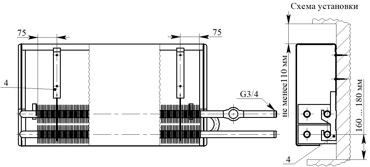
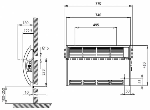
Dans le même temps, il est important de prendre en compte non seulement les dimensions de l'appareil lui-même, mais également les distances nécessaires par rapport au sol, aux murs et aux autres structures (indiquées dans le passeport pour un modèle de convecteur spécifique). Pour les convecteurs muraux, la distance entre le sol doit être d'au moins 80 mm et le rebord de la fenêtre - 100 mm
La protection contre l'humidité est un paramètre important lors du choix des convecteurs pour une installation dans une salle de bain, une piscine, un sauna ou une serre. Les convecteurs peuvent être conçus pour des pièces sèches avec une humidité annuelle moyenne allant jusqu'à 85 % ou pour des pièces humides avec une humidité supérieure à 85 %. Dans le second cas, des matériaux et des revêtements résistants à la corrosion sont utilisés et, dans le cas des convecteurs au sol, des systèmes de drainage sont utilisés.
Le type de circulation (naturelle (marquage KBE) ou forcée (KVP)) est importante pour créer le microclimat nécessaire. Les convecteurs avec ventilateur sont capables de créer un rideau thermique efficace au niveau des portes et des fenêtres, tout en soulevant activement la poussière et en provoquant des courants d'air. Le niveau sonore des convecteurs à circulation forcée est également plus élevé.Le ventilateur des convecteurs fonctionne en 12 V DC, pour lequel vous devez prévoir une alimentation électrique.

Convecteur au sol avec ventilateur tangentiel
La pression de travail - une caractéristique qui doit être clarifiée lors de l'installation de convecteurs à eau, dans les systèmes de chauffage central selon SNiP 2.04.05-91 est comprise entre 8 et 9,5 bars, dans les systèmes autonomes, elle ne dépasse généralement pas 3 bars. La plupart des modèles de convecteurs à eau sont conçus pour une pression de travail de 1 MPa et un test de pression de 1,6-2,0 MPa, soit respectivement 10 et 16-20 bar. Sous cette condition, les convecteurs peuvent être installés en chauffage autonome dans un immeuble sans restriction.
Le volume interne de l'échangeur de chaleur est le paramètre le plus important pour les systèmes de chauffage autonomes lors du calcul du volume du liquide de refroidissement. En moyenne, il est de 0,7 à 2 litres et dépend du nombre de tuyaux et de la longueur de l'appareil.

Schéma de convecteur
La température maximale des convecteurs à eau est généralement de +120 à 130 degrés Celsius, ce qui est bien supérieur à la température autorisée dans les systèmes de chauffage. Dans le même temps, pour des raisons de sécurité d'utilisation, la température maximale du boîtier de l'appareil ne doit pas dépasser +60 degrés selon le passeport.
La masse du convecteur est importante lors du montage de modèles muraux sur des murs et des cloisons en plaques de plâtre ou autre matériau à faible résistance. Compte tenu du liquide de refroidissement, la masse des convecteurs à eau ne dépasse généralement pas 14-24 kg.
Le degré d'automatisation est une caractéristique qui prend en compte la possibilité d'un contrôle précis de la température. La régulation est effectuée au moyen d'un thermostat et d'une vanne, avec leur aide, la quantité de liquide de refroidissement nécessaire pour maintenir un microclimat donné est fournie à l'échangeur de chaleur.

thermostat
Installation de convecteur à eau
Le composant de base de ce convecteur est une batterie de chauffage. L'objectif principal lors de l'utilisation du chauffage de l'eau est qu'il est nécessaire d'effectuer le calcul correct des convecteurs de chauffage afin de créer les conditions les plus confortables et optimales dans la pièce en choisissant la bonne puissance de convecteur de chauffage. Comment calculer la puissance d'un convecteur de chauffage, un spécialiste, des instructions et des formules spéciales vous aideront. Lors de l'installation de la batterie, il est également nécessaire de prendre en compte le fait que les radiateurs sont constitués de divers matériaux.
Lors de l'installation de tels convecteurs, il est nécessaire d'utiliser des composants de connexion en cuivre, et ils ne sont pas bon marché. De tels radiateurs sont principalement utilisés pour faciliter la conception du système de chauffage. Les radiateurs en aluminium et les radiateurs bimétalliques sont beaucoup plus utilisés. Cependant, ces radiateurs nécessitent également l'achat de composants de connexion coûteux.

L'appareil le moins cher est considéré comme un convecteur de chauffage en acier. Une telle batterie peut avoir deux types de connexion :
- Connexion inférieure ;
- Connexion latérale.
L'installation d'un convecteur à eau commence tout d'abord par la fixation du radiateur au mur. Pour ce faire, vous devez percer les trous nécessaires et fixer les crochets avec lesquels la batterie sera maintenue au mur. Après cela, il faudra accrocher les sections du convecteur sur ces crochets. Après cela, à travers les tuyaux, vous pouvez connecter les convecteurs de chauffage au système de chauffage. Pour cela, un schéma de raccordement du convecteur de chauffage est utilisé.
Si vous utilisez des tuyaux en acier, vous devrez faire appel à un spécialiste et, dans le cas de tuyaux en plastique, vous pouvez effectuer vous-même le raccordement à l'aide d'un fer à souder en plastique. Cependant, si vous n'êtes pas sûr, il est préférable d'inviter également un spécialiste.

Installation de convecteurs de chauffage, en tenant compte du calcul de la puissance
Le but principal des convecteurs domestiques est le chauffage d'une habitation. Il existe une division de ce type d'équipement en fonction des caractéristiques de l'installation, ainsi qu'en fonction du liquide de refroidissement utilisé dans la conception.

En parlant de méthodes d'installation, vous pouvez trouver des modèles de sol et de mur, et l'utilisation de l'un ou l'autre liquide de refroidissement divise ces appareils en mécanismes qui fonctionnent avec de l'eau, de l'électricité et du gaz.
Dans le même temps, il est important de se rappeler que les convecteurs de chauffage à gaz ne peuvent être installés que sur des murs en position verticale, tandis que les systèmes d'eau et d'électricité peuvent être installés à la fois sur le mur et sur le sol (lire : « Convecteur domestique : principe de fonctionnement et d'installation »)
Spécificités du travail
Aujourd'hui, différents types d'échangeurs de chaleur sont produits. En général, les caractéristiques de leur travail, ainsi que les caractéristiques de conception, sont similaires. Les propriétés de la structure d'un tel élément:
- Corps complet disponible.
- La présence de tuyaux de sortie et de sortie.
- Mécanisme de freinage des produits de combustion. Son rôle est joué par des vannes avec des découpes installées sur les essieux.
Les volets peuvent être tournés. Une cheminée en zigzag de différentes longueurs se forme. Les vannes peuvent être ajustées pour obtenir le rapport le plus efficace de poussée et de transfert de chaleur. Les normes de sécurité sont respectées.
Dans cette vidéo, vous apprendrez à fabriquer un échangeur de chaleur :
Exigences générales
Dans certains cas, le meilleur moyen de sortir de la situation sera l'installation d'un convecteur à gaz. Ce radiateur est fixé au mur et est alimenté par une bouteille de gaz. La possibilité d'alimentation électrique depuis l'autoroute est également prévue. Si du gaz apparaît dans votre localité dans un proche avenir, achetez des convecteurs à gaz. Les conditions requises pour leur installation sont les suivantes :
- Exposition obligatoire des distances aux objets et murs les plus proches conformément aux instructions d'installation et de fonctionnement ;
- La conduite de gaz est alimentée le long de la rue ;
- Lors de l'installation dans une maison avec des murs en bois, il est nécessaire de prendre en compte l'isolation thermique;
- Ne pas installer le convecteur à une grande distance du sol, car cela réduirait l'efficacité et l'intensité du processus de convection.
Voyons comment un tel convecteur est installé sur le mur.
Installation de convecteurs électriques
Une autre option pour un tel équipement est les convecteurs électriques.
Ces modèles peuvent être installés et connectés à la main, mais il est très important de calculer correctement la puissance de ce type de convecteur
La procédure d'installation de cet appareil doit être la suivante :
- l'appareil doit être libéré de son emballage ;
- il faut alors retirer le film protecteur du convecteur;
- Ensuite, vous devez décider où le mécanisme sera installé.
Lors du calcul de la puissance d'un convecteur de chauffage fonctionnant à l'électricité, ainsi que de son raccordement, il est extrêmement important de suivre un grand nombre de recommandations, qui vous permettront néanmoins d'installer l'équipement de manière qualitative. En voici quelques-uns :
En voici quelques-uns :
- la distance minimale entre le sol et le convecteur est de 20 à 25 cm ;
- l'appareil doit être situé à au moins 25 cm des objets proches, au-dessus et devant - au moins 24 à 55 cm;
- disposer le convecteur du mur à une distance de 25 cm et du plafond, il doit être situé à au moins 35 cm;
- Il est strictement déconseillé de monter l'appareil derrière des rideaux et des portes, ainsi que sous des ouvertures destinées à la ventilation.

Directement, le processus d'installation d'un convecteur électrique est le suivant:
- après avoir dévissé les boulons de fixation, il est nécessaire d'étendre le support;
- à l'aide d'une perceuse, vous devez faire des trous pré-marqués pour la fixation du mécanisme;
- ensuite, vous devez fixer le support;
- ensuite, vous devez insérer le convecteur électrique dans le loquet avec sa partie inférieure;
- les vergetures doivent être placées sur l'équipement;
- dans les extensions montées, il est nécessaire de placer la partie supérieure de l'appareil;
- après cela, toutes les pinces doivent être solidement fixées et les boulons de fixation doivent être vissés;
- le régulateur de fonctionnement du convecteur doit être réglé en mode arrêt et l'appareil doit être alimenté ;
- une fois que la LED de l'appareil s'allume, l'équipement peut être mis en service.
Dans le cas où le convecteur électrique utilisé est au sol, alors son raccordement est le suivant :
- l'unité doit être retournée et les pattes de fixation équipées de roulettes fixées dessus. Les boulons ordinaires peuvent servir de fixations ;
- après cela, le convecteur peut être allumé et le mode de fonctionnement souhaité peut y être réglé.

Il est important de rappeler que la consommation électrique d'un convecteur est un facteur à prendre en compte lors du choix et de l'installation d'un équipement.
Dépannage

Comme vous pouvez le voir, il n'y a rien de compliqué dans la conception d'un convecteur à gaz. En raison de sa simplicité, cet équipement sert longtemps et avec une haute qualité. Mais il arrive parfois que dans son travail il y ait des interruptions incompréhensibles. Si vous remarquez que la flamme brûle de manière inégale ou ne s'allume pas du tout, le problème est souvent une buse bouchée.
En termes simples, le trou par lequel le gaz s'échappe est obstrué par de la suie ou d'autres contaminants. Dans ce cas, vous pouvez très bien faire le ménage vous-même. Tout ce dont vous avez besoin pour cela est une aiguille fine. Utilisez-le pour nettoyer soigneusement le trou.
Très important : avant de commencer les travaux, assurez-vous de couper l'alimentation en carburant bleu de l'équipement. Pour cela, une vanne spéciale est prévue sur le tuyau d'alimentation.
Il est absolument impossible de travailler avec l'appareil lorsque du gaz y pénètre !
Il est absolument impossible de travailler avec l'appareil lorsque du gaz y pénètre !
Si, après le nettoyage, le problème n'a pas disparu, l'option la plus raisonnable pour une action ultérieure serait d'appeler un assistant d'une organisation spécialisée. N'oubliez pas que les équipements à gaz présentent un risque d'incendie élevé. Tous les travaux plus ou moins sérieux avec celui-ci ne doivent être effectués que par des maîtres possédant la licence appropriée.
Si vous décidez réparer indépendamment le convecteur à gaz, mais faites quelque chose de mal, cela entraîne non seulement des amendes ultérieures du service de gaz, mais également la possibilité d'un incendie. Vous ne devriez pas assumer une telle responsabilité, assurez-vous d'inviter des spécialistes pour résoudre les problèmes graves. Bonne chance et chaleureuse maison!
Installation de radiateurs dans une niche
Nous envisageons le convecteur le plus simple encastré dans le sol. Il s'agit d'un convecteur à circulation naturelle.La niche pour le convecteur intégré au sol est déjà prête, nous procédons à l'installation de l'échangeur de chaleur.
Le liquide de refroidissement circule dans un système de chauffage à deux tubes. Avec un tuyau, il est fourni, avec le second tuyau, il est retiré du radiateur. Un thermostat avec un robinet Mayevsky est placé à l'entrée et une vanne d'arrêt est placée à la sortie. Tout est le même que lors de l'installation de radiateurs au mur, uniquement dans un plan horizontal.

L'échangeur de chaleur à quatre tubes est connecté comme sur la photo, avec un serpent.

Le système est testé avec une pression de 25 bars. La pression de travail ne dépasse pas 15 bar. Pour le liquide de refroidissement, vous pouvez utiliser de l'antigel ou d'autres liquides de refroidissement artificiels "non gelés".
Ce sujet a 15 réponses, 6 participants et a été mis à jour pour la dernière fois par Alex_bdr le 30 août 17 à 04:27.
Messieurs, une question urgente : il y a un immeuble résidentiel de 2 étages. Jusqu'à présent, seul le premier étage a été chauffé. Chaudière électrique + radiateurs aluminium. Il est urgent de démarrer le chauffage au 2ème étage. La puissance de la chaudière électrique est suffisante. Mais au deuxième étage, les fenêtres sont au sol - et pour les convecteurs encastrés dans le sol, le prix est absolument insuffisant. Je suis intéressé par la possibilité de placer des convecteurs en acier ordinaires de l'ère soviétique sans écran décoratif dans la niche préparée, couvrant tout le mur avec des fenêtres. Il est gênant qu'ils soient conçus pour le chauffage principal à haute température. En même temps, dans des chambres de 18 m². il y avait un convecteur de 1,5 m. Je prévois 18 m². installer un convecteur de 3 m le long du mur. Y aura-t-il un transfert de chaleur suffisant au deuxième étage par rapport au premier étage lors de l'utilisation d'une chaudière, ou une chaudière séparée est-elle nécessaire ? Les convecteurs sont prévus comme sur la photo

Rodionovo
Je suis au téléphone, donc je n'ai pas envie d'écrire beaucoup sur les avantages et les inconvénients et les fonctionnalités de cette solution, je vais juste partager une idée qui, à mon avis, a plus de vie... On prend un Tuyau carré. Un rectangle est préférable. Le plus gros le meilleur. Nous l'étouffons des deux côtés, faisons des attaches et le montons au sol. Voici un vol de fantaisie, selon l'esthétique et le schéma de CO. Il peut être coulé dans le sol, avec une large surface au ras du sol. Mais alors tout est soudé et avec des coussinets thermiques. Le résultat est un dispositif de chauffage inertiel. S'il s'agit d'un terminal avec un seul tuyau, alors en général, il est possible de s'encastrer directement dans l'autoroute. Karoch, plus de nuances .... Oups ... ce régime est uniquement pour les Français. Le reste est classique...
Si vous avez des fenêtres panoramiques, vous devez dans tous les cas installer des convecteurs au sol. Les critiques indiquent que pour créer un rideau thermique puissant, vous devez utiliser des radiateurs à convection forcée. Ils sont disponibles en différentes longueurs, vous devez ramasser un peu moins que l'ouverture de la fenêtre.






































