Installer soi-même un convecteur à gaz

Installation de convecteurs à gaz à faire soi-même

Installation

Lorsque le type d'appareil de chauffage est déterminé, les préparatifs pour l'installation peuvent commencer.

Il est nécessaire de s'approvisionner en outils, matériaux nécessaires:

  • percer avec un ensemble de forets de différents diamètres;
  • outil de coupe de tuyaux ;
  • clés, clés à molette;
  • perforateur;
  • un jeu de tournevis avec différentes sections;
  • vis autotaraudeuses, chevilles;
  • silicone sanitaire haute température;
  • robinet de gaz.

Montage

il est nécessaire de déterminer l'emplacement du trou où pénètre le tuyau;

L'étape d'installation est la plus difficile, elle peut prendre beaucoup de temps.

  • il est nécessaire de percer des trous pour le montage de l'appareil de chauffage en martelant les chevilles;
  • après, le tuyau d'échappement est connecté. Le joint entre l'appareil de chauffage et le tuyau doit être soigneusement traité avec du silicone résistant aux températures élevées;
  • installation d'appareils de chauffage au mur. Il faut inviter un compagnon, le convecteur est lourd, il est difficile de l'installer soi-même.

Raccordement gaz

La scène est la plus dangereuse. S'il n'y a aucune expérience dans la connexion de caloporteurs au gaz, il est préférable de faire appel à un spécialiste. Séquençage :

s'il y a un filetage sur le tuyau de gaz, la sortie du convecteur doit être vissée. S'il n'y a pas de filetage sur le robinet, cela doit être fait par soudure sur le tuyau;
ensuite, la canalisation de la source de gaz est reliée à l'appareil avec un raccord

Il faut agir extrêmement prudemment, prudemment;
le tuyau qui est connecté est fixé avec des clips. Le pas entre les fixations doit être de 1 mètre. Le tuyau est fixé à l'extérieur du bâtiment;
les joints, les raccords sont traités avec du silicone résistant à la chaleur;

Le tuyau est fixé à l'extérieur du bâtiment;
les joints, les raccords sont traités avec du silicone résistant à la chaleur;

Bilan de santé

Lorsque les procédures d'installation sont terminées, ne vous précipitez pas pour chauffer la pièce. Il faut commencer, vérifier le bon fonctionnement. Il est préférable de démarrer l'équipement pour la première fois avec un spécialiste qui évaluera le fonctionnement de l'appareil en connaissant le cas. Le processus de vérification est le suivant :

  1. vous devez ouvrir le robinet de gaz, vérifier les fuites. Peut être réalisé avec un appareil, une solution savonneuse appliquée sur les joints ;
  2. appuyez sur le bouton de démarrage pendant environ une minute. Il faut que le gaz entre dans la chambre de combustion ;
  3. lorsque le brûleur est allumé, il faut vérifier le fonctionnement du réglage de l'appareil.

Si tout fonctionne bien à toutes les étapes du premier démarrage, vous pouvez essayer de chauffer la pièce.

Installation d'un convecteur à gaz

Il est très facile d'installer soi-même un convecteur type gaz

Mais avant de passer au processus d'installation, il est important de choisir le bon modèle d'appareil. En vente, il existe à la fois des options nationales peu coûteuses et des options étrangères, dont le coût est plus élevé. La chose la plus importante est que le produit soit de haute qualité et fiable.

La chose la plus importante est que le produit soit de haute qualité et fiable.

Convecteur Air alpin

Parmi les appareils importés, on peut nommer le convecteur à gaz à air Alpine d'un fabricant turc. Il s'agit d'une série d'appareils de haute qualité avec un échangeur de chaleur en fonte. L'apparence de l'unité est assez attrayante. La puissance de chauffage varie de 2,5 à 9 kW. Il existe des produits équipés d'un ventilateur.

Convecteur Akog

Installer soi-même un convecteur à gaz

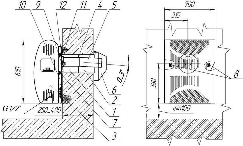
Lors de l'achat d'un équipement à gaz, il est nécessaire de déterminer l'emplacement de son emplacement. Il doit correspondre à la taille de l'appareil. Il est permis de placer des convecteurs uniquement sous la fenêtre. Pour l'installation, il est nécessaire de préparer les outils suivants: une perceuse électrique, un coupe-tube, de la mousse de montage, du silicone, une clé, un tuyau métal-plastique, un jeu de tournevis, une vanne à gaz, des chevilles en plastique et des vis autotaraudeuses .

Installer soi-même un convecteur à gazLorsque l'endroit est choisi, marquez la sortie du tuyau coaxial. À l'aide d'un perforateur, un trou avec une couronne ronde est découpé. Il faut qu'il y ait une légère pente vers la rue. Cela évitera les problèmes par temps de pluie.

Les dimensions du décalage de tuyau sont faites en tenant compte des caractéristiques du modèle.L'appareil est fixé au mur avec quatre chevilles. Les goujons peuvent également fonctionner. Tout dépend du poids. Un espace est formé entre le tuyau et le mur. Il doit être rempli de mousse de montage spéciale. Le gaz est fourni soit par un tuyau de gaz flexible, soit par une canalisation rigide

Il est important de vérifier l'étanchéité de la connexion. Le ventilateur et l'automatisation sont alimentés par le secteur, qui doit être connecté individuellement. Mais vous pouvez également vous connecter

Mais vous pouvez vous connecter et.

Malgré le fait que les revues de gaz de tous les utilisateurs convergent vers les convecteurs de chauffage sur un tel avantage de ces unités que la facilité d'installation, il est conseillé de confier l'installation à des spécialistes titulaires d'une licence pour effectuer de tels travaux. Cela est particulièrement vrai pour le raccordement au gazoduc. Après tout, la sécurité et la durabilité du fonctionnement de l'équipement dépendent en grande partie de la qualité de l'installation.

Notre société d'ingénierie et d'installation Seti Service résout les problèmes des Moscovites, ainsi que des habitants de la région, qui sont associés au chauffage, à l'approvisionnement en eau et à l'assainissement. Nous sommes prêts à vous offrir de nombreuses options pour résoudre vos problèmes d'ingénierie avec les communications. Par exemple, installation de convecteurs aidera à chauffer rapidement votre maison et à maintenir le niveau de température requis.

L'un des avantages de cet équipement est l'absence de bruit pendant le fonctionnement. De telles caractéristiques peuvent également se vanter, ce qui est demandé par nos clients. Mais il convient également de mentionner que installation de convecteurs de chauffagesera pratique de toute façon. Après tout, il est absolument facile de contrôler le fonctionnement de ces unités - elles ont un contrôle simple et compréhensible.

Les convecteurs de dernière génération sont produits selon les conceptions les plus modernes.Par conséquent, cet équipement peut être décrit comme économe en énergie. Les fabricants russes proposent des unités les mieux adaptées à nos conditions. Soit dit en passant, le convecteur peut être utilisé comme appareil de chauffage principal et auxiliaire. Seuls ceux de haute qualité rivalisent avec les convecteurs.

Les secrets de la popularité du convecteur à gaz

Les convecteurs, qui fonctionnent au gaz, équipent les installations résidentielles, industrielles et tertiaires. Ils sont particulièrement demandés dans les maisons privées, les petits ateliers, les cafés qui ne sont pas connectés à des systèmes de chauffage centralisés.

Ce sont souvent des convecteurs à gaz qui sont utilisés pour chauffer les gros véhicules : camping-cars, camions, bus. Ils sont plus pratiques à utiliser que les poêles à combustible solide et les chauffages au diesel, plus économiques que les appareils électriques.

des convecteurs, dans lesquels l'air est chauffé par un brûleur à gaz, sont installés dans des appartements urbains non raccordés à une alimentation centralisée en gaz ou situés au premier étage d'immeubles de grande hauteur insuffisamment isolés.Presque tous les modèles de convecteurs à gaz peuvent fonctionner à la fois sur le combustible principal fourni par les organismes d'approvisionnement en gaz et sur le combustible en bouteille Le raccordement du convecteur à gaz, dans la chambre dont le gaz pour le processus de combustion doit être fourni, est réalisé avec un tuyau au cylindre ou au tuyau du public réseau de distribution de gaz.maisons de campagne. Pour organisation du chauffage au gaz pas besoin de poser des canalisations, d'installer une chaudière, d'installer un arrêt et vannes de régulation à l'aide de gaz Les convecteurs peuvent améliorer rapidement et à peu de frais les conditions aux entrées des immeubles résidentiels à plusieurs étages, des centres commerciaux, des complexes sportifs, des bâtiments publics, des établissements commerciaux.Les convecteurs à gaz sont la meilleure solution pour aménager des installations éloignées des zones à infrastructure développée. Ils chaufferont parfaitement les points de service automobile, les magasins de pneus et autres ateliers situés sur l'autoroute.Les convecteurs à gaz sont activement utilisés dans le chauffage de divers véhicules, ainsi que des tentes et des camping-cars.Convecteur à gaz à l'intérieur de l'appartement.Connexion de l'appareil à une alimentation en gaz centralisée dans une maison de campagneAmélioration des conditions à l'entréeChauffage des ateliers de réparation automobile et des stations-serviceConvecteur de cheminée dans un véhicule à moteur

Le fonctionnement des appareils de type convectif est basé sur le mouvement naturel de l'air chauffé traversant une chambre de combustion située à l'intérieur avec un échangeur de chaleur. L'échangeur de chaleur chauffe le brûleur à gaz, dans lequel le gaz est fourni par une buse à travers un tuyau ou un tuyau.

Lire aussi :  Réparation à faire soi-même des geysers "Vector Lux": pannes courantes + conseils pour les réparer

Installer soi-même un convecteur à gaz

Installer soi-même un convecteur à gaz

Un garage de 30 m² est chauffé par un convecteur sans gaine en cinq minutes environ. Le gaz ne consomme pas plus de 500 roubles pendant le mois d'hiver. En automne et au printemps, cela fonctionne moins souvent, ce qui signifie que les coûts sont encore réduits.

Variante #3. Mise à niveau avec un ventilateur de conduit

L'essence de la modification consiste à installer un conduit d'air avec un ventilateur d'extraction sur la grille avant.La chaleur générée par le convecteur est dirigée vers la zone de travail du propriétaire. Il n'y a pas d'astuces spéciales, mais il y a une réduction significative des coûts de chauffage.

Les caractéristiques de l'appareil et le fonctionnement du convecteur à gaz modernisé sont présentés dans la vidéo:

Les produits de combustion sont évacués à l'extérieur de l'objet comme d'habitude - par un tuyau coaxial, à travers lequel de l'air frais est fourni au brûleur pour maintenir la flamme. Ce produit fait maison est beaucoup plus sécuritaire que le modèle précédent, mais il faudra tout de même aérer périodiquement la pièce traitée. Après tout, sans aucun doute, elle "conduira" des nuages ​​​​de poussière.

Comment installer un convecteur à gaz

Après avoir choisi et acheté un appareil de chauffage, vous pouvez procéder à la préparation de l'installation. Assurez-vous d'avoir les outils et le matériel suivants :

Installer soi-même un convecteur à gaz

Outils nécessaires pour installer un convecteur à gaz.

  • perceuse et un ensemble de perceuses ;
  • Coupe-tuyau;
  • un jeu de clés et une clé à molette ;
  • omoplate;
  • perforateur;
  • tournevis;
  • silicone sanitaire et haute température;
  • chevilles et vis;
  • robinet de gaz.

Lorsque tout est prêt, vous devez choisir l'emplacement du convecteur. Pour la bonne sélection, utilisez GOST. Ce dernier nécessite l'installation obligatoire d'un radiateur sous la fenêtre. Ne soyez pas trop paresseux dans le processus pour essayer l'appareil à l'endroit sélectionné, et faites également des marquages ​​après cela. L'étape suivante consiste à préparer les locaux. La pièce doit être couverte, car une grande quantité de poussière apparaîtra pendant le fonctionnement.

Montage

Installer soi-même un convecteur à gaz

Exigences techniques pour l'installation d'un convecteur à gaz.

L'installation s'effectue selon le plan suivant :

  1. Déterminez l'ouverture pour l'entrée du tuyau de gaz. N'oubliez pas de laisser une distance pour résumer ce tuyau et ce raccord.
  2. Selon le diamètre du tuyau d'échappement, vous devez percer un trou traversant dans le mur à l'aide d'un perforateur. C'est l'étape la plus difficile, car le trou est grand, donc le travail prendra du temps (selon le mur et le perforateur), et beaucoup de poussière apparaîtra également.
  3. L'étape suivante consiste à percer des trous pour le montage de l'appareil de chauffage lui-même et à y enfoncer des chevilles.
  4. Maintenant, nous connectons un tuyau d'échappement au convecteur et faisons un joint avec du silicone (capable de résister à des températures élevées).
  5. Le radiateur lui-même est fixé avec des vis sur le mur. C'est là qu'une aide extérieure s'avère utile, car le poids de l'appareil est considérable.

Raccordement gaz

Prenez cette étape très au sérieux. Si vous doutez de vos compétences, mieux vaut confier la connexion à des spécialistes.

Montez selon le schéma suivant :

Installer soi-même un convecteur à gaz

Conformément à GOST, le tuyau doit être réalisé depuis la rue.

  1. S'il y a une branche spéciale avec un filetage sur le tuyau de gaz, cela facilitera la vie. Il vous suffit de visser le robinet de gaz sur le tuyau. Mais s'il n'y a pas de retrait, alors cela doit être fait.
  2. Ensuite, amenez le tuyau au convecteur. Il est préférable d'utiliser du métal-plastique. La connexion des raccords doit être parfaite.
  3. Lors de la pose du tuyau à travers chaque mètre, il doit être fixé à des clips spéciaux. Vous devez également percer des trous pour cela.
  4. Pour vérifier les connexions, vous devez appeler un employé du service de gaz.

Bilan de santé

Installer soi-même un convecteur à gaz

Avant d'allumer l'appareil, assurez-vous d'appeler le service de gaz pour vérifier les connexions pour les fuites de gaz.

Une fois les travaux d'installation terminés, il est nécessaire d'effectuer un test :

  1. Tout d'abord, ouvrez le robinet de gaz, écoutez tous les joints pour détecter d'éventuelles fuites (vous pouvez utiliser de l'eau savonneuse ou un appareil spécial).Si des fuites sont détectées, fermez le robinet et réparez-les.
  2. Après avoir vérifié tous les joints, démarrez le convecteur. Pendant le démarrage, maintenez le bouton enfoncé pendant une minute pour que le gaz pénètre dans la chambre de combustion.
  3. Une fois le brûleur allumé, réglez le fonctionnement de l'appareil.

Raccordement gaz

Amis, à ce stade, il est important d'être extrêmement prudent! Disons que vous n'avez pas les compétences nécessaires pour travailler avec des appareils à gaz - il est alors préférable de contacter des spécialistes pour effectuer les travaux suivants

Installer soi-même un convecteur à gaz

L'installation d'un réchauffeur de gaz sur une source d'alimentation en gaz s'effectue selon l'algorithme suivant.

  1. Imaginons qu'il y ait une branche spéciale avec un filetage sur un tuyau de gaz. Ensuite, il vous suffit de visser un robinet de gaz sur ce tuyau. S'il n'y a pas de retrait spécial, alors il faudra le faire !
  2. L'étape suivante consiste à amener le tuyau de gaz au convecteur et à les connecter avec un raccord. Ce processus n'est pas précipité.
  3. Fixez le tuyau connecté avec des clips spéciaux. La distance entre eux est de 1 mètre. Pour ce faire, il faudra percer des trous sur le mur extérieur du bâtiment.
  4. Traiter les raccords et les joints de tuyaux avec du silicone pour assurer l'étanchéité.
  5. Assurez-vous d'appeler un représentant du service de gaz afin qu'il puisse vérifier que l'installation et les connexions sont correctes.

Alimentation en gaz : étapes principales

L'installation du convecteur à gaz est terminée, vous devez maintenant vous occuper de l'alimentation en gaz. Cette étape est assez complexe et responsable à la fois. Pour fournir du gaz, procédez comme suit :

  1. Selon les documents réglementaires, le tuyau adapté au convecteur doit longer la rue. Il y a deux options ici: la première - le tuyau a une connexion filetée pré-extraite, la seconde - il n'y a pas une telle connexion.S'il y a un filetage, vous pouvez visser vous-même la vanne de gaz, ce qui coupera l'alimentation en gaz du convecteur. En l'absence de retrait, il doit être fait. Pour ce faire, appelez des soudeurs au gaz professionnels du Gorgaz local ou d'un bureau similaire.
  2. Après avoir installé le robinet de gaz, il est nécessaire de conduire un tuyau en métal-plastique jusqu'au convecteur lui-même. À l'aide d'un ruban à mesurer, calculez la longueur du tuyau, en déterminant simultanément la présence de raccords.
  3. Vous devez acheter un tuyau et des raccords. Le principe de l'achat est que le vendeur doit préciser la présence d'un certificat de conformité de ces canalisations et raccords pour ce type de travaux.
  4. Posez le tuyau, fixez-le avec des clips tous les m. Pour installer les clips, vous devez percer des trous dans le mur.
  5. Lors de l'installation des raccords nécessaires, lubrifiez soigneusement le tuyau et le raccord lui-même avec du silicone, ce qui donnera une étanchéité supplémentaire. Le silicone agira également comme un lubrifiant et facilitera l'installation des tuyaux.

À la suite des travaux, vous devriez obtenir un convecteur monté sur le mur avec un tuyau de gaz qui y est connecté.

Reste maintenant la dernière étape de l'installation. Un essai est requis.

Avant de commencer, ouvrez le robinet de gaz et passez sur tous les joints des raccords et raccords filetés avec un pinceau imbibé d'une solution aqueuse de savon ou de shampoing. De cette façon, vous pourrez remarquer les bulles gonflées (le cas échéant), qui indiquent des fuites de gaz. Si cela se produit, fermez immédiatement la vanne d'alimentation en gaz. Après avoir vérifié les joints, démarrez le convecteur. Pour ce faire, maintenez enfoncé le bouton d'alimentation en gaz pendant une minute. Ainsi le gaz aura le temps de passer dans les canalisations et de rentrer dans la chambre de combustion. Appuyez sur l'allumeur piézo, l'étincelle devrait enflammer le gaz. Une flamme bleue s'allumera dans le four.

Réglez le fonctionnement du convecteur en réglant une température confortable. Pendant les premières heures de fonctionnement, vous pouvez ressentir une odeur désagréable d'huile brûlée. Ceci est normal car le convecteur est neuf et la chambre de combustion brûle. Si l'odeur persiste longtemps, il vaut la peine de couper le gaz et de revérifier tous les joints et raccords filetés.

Il est conseillé que tous les travaux d'installation de convecteurs à gaz soient effectués par un professionnel ayant une expérience suffisante dans l'exécution de tels travaux. Cela est également dû au fait que l'auto-installation du convecteur peut annuler la garantie de l'appareil. Le convecteur à gaz doit être repris par Gorgaz.

Vous devez avoir une autorisation documentaire pour le raccordement entre vos mains. De plus, toutes les décisions d'installation, ainsi que les conclusions de la commission de mise en service de l'appareil, doivent être documentées et signées de manière appropriée.

Les convecteurs à gaz ne sont pas aussi populaires que leurs homologues électriques. Les appareils à gaz nécessitent une alimentation ou une bouteille de gaz centralisée connectée et ne sont pas aussi sûrs. Mais les modèles à gaz sont moins chers à utiliser, ils constitueront donc une excellente solution dans une maison de campagne ou un chalet où un maintien constant de la chaleur dans la pièce n'est pas nécessaire.

Lire aussi :  Réparation du geyser "Oasis": un aperçu des pannes typiques et des recommandations pour leur élimination

Des mesures de précaution

L'utilisation d'appareils électroménagers nécessite le respect des règles de sécurité. Soyez prudent et écoutez les conseils des fabricants :

  • ne pas utiliser de convecteur dont la fenêtre de visualisation est endommagée,
  • si l'appareil s'éteint spontanément, ne le rallumez pas avant 3 minutes,
  • pour éviter les brûlures, le convecteur est protégé par une grille de protection.

Il est strictement interdit :

  • sécher les choses sur un appareil en état de marche,
  • allumer et éteindre l'appareil pour les enfants et les personnes à capacité juridique limitée,
  • faire fonctionner l'appareil avec le boîtier extérieur retiré,
  • réparer l'appareil par vous-même,
  • placer des objets inflammables à une distance inférieure à 1 m de celui-ci,
  • laissez-le allumé s'il y a des signes de fuite de gaz.

S'il y a une odeur désagréable dans la maison, prenez d'urgence des mesures de précaution:

  • couper l'arrivée de gaz,
  • Éteignez toutes les flammes nues
  • ne touchez pas les interrupteurs et les téléphones portables,
  • aérer la pièce
  • appeler en urgence le service de gaz d'urgence,
  • contacter le service après-vente des convecteurs à gaz.

Quand et pourquoi est-il efficace d'utiliser des convecteurs à gaz ?

Les convecteurs à gaz se caractérisent par une faible consommation de ressources, mais ils ne sont pas en mesure de développer la puissance appropriée pour chauffer de grandes pièces. Par conséquent, les petites maisons privées pour un ou deux salons, les chalets d'été, les garages et les bâtiments temporaires sont devenus le champ d'application de leur application. Dans de telles conditions, le convecteur à gaz de chauffage offre les avantages suivants :

  • compacité, bon marché relatif et facilité d'installation des équipements;
  • pas besoin de développer et d'approuver la documentation du projet ;
  • autonomie en cas d'alimentation du convecteur à partir de bouteilles de gaz ;
  • rendement élevé (jusqu'à 90 % dans les appareils de production industrielle et jusqu'à 80 % dans les convecteurs artisanaux) ;
  • résistance aux basses températures, pas d'"effet de congélation" ;
  • l'utilisation d'oxygène atmosphérique et non situé à l'intérieur;
  • la polyvalence du carburant, c'est-à-dire la possibilité de passer du méthane au propane en remplaçant les buses.

Parmi les lacunes du système, les plus importantes sont de graves pertes d'efficacité lors du chauffage de grandes pièces et une augmentation de leur temps de préchauffage.

Le deuxième problème est en partie éliminé en installant des convecteurs à circulation forcée, c'est-à-dire équipés d'un ventilateur soufflant, cependant, dans les maisons de trois pièces ou plus, la rationalité d'une telle solution est très douteuse.

Un autre problème qui peut survenir lors de la tentative de conversion d'un appartement pour le chauffage par convecteur est l'interdiction du service de gaz municipal, causée par le danger potentiel de l'appareil pour les voisins. Par conséquent, les résidents des immeubles d'habitation doivent coordonner ces travaux à l'avance.

Classification des convecteurs à gaz

1. Selon le lieu d'installation :

  • mur. Le convecteur à gaz mural est compact, n'occupe pas d'espace au sol et ne crée pas de restrictions sur le placement des éléments intérieurs. L'installation de l'équipement au-dessus de la fenêtre vous permet d'obtenir l'effet d'un rideau thermique, lorsque l'air entrant par la fenêtre se réchauffera en entrant dans la pièce. Les convecteurs muraux se distinguent par leur faible puissance (jusqu'à 10 kW), mais ils sont plus populaires.
  • sol. Le convecteur à gaz au sol est plus puissant et est conçu pour chauffer de grandes pièces. La puissance d'un convecteur au sol peut atteindre 100 kW, ce qui influe sur le poids et les dimensions de l'appareil.
  • convecteurs intégrés. Mais ils appartiennent au groupe "convecteur à eau".

2. Selon la source d'approvisionnement en gaz :

principale (gaz naturel). Tous les convecteurs sont initialement axés sur la connexion au gazoduc;

gaz liquéfié (propane-butane en bouteille). La transition vers ce type d'alimentation en gaz est possible grâce à l'installation d'un kit d'adaptation.Mais, il convient de noter que les coûts de chauffage seront les mêmes qu'avec le chauffage de manière traditionnelle, et les exigences pour un appareil de chauffage à partir d'un ballon sont beaucoup plus strictes.

La méthode d'alimentation en gaz détermine la mobilité du convecteur et le coût du chauffage.

3. Selon le mode d'organisation de la combustion :

chambre fermée (par exemple, convecteur à gaz Alpine Air NGS 50). Ici, l'alimentation et l'évacuation d'air sont organisées par un tuyau télescopique horizontal, ce qui permet d'éviter l'agencement d'une cheminée traditionnelle, en la remplaçant par une cheminée coaxiale (tuyau dans un tuyau). Ce principe permet d'évacuer les gaz d'échappement par le tuyau intérieur et d'amener l'air par le tuyau extérieur.

chambre ouverte (par exemple, convecteur à gaz Hosseven HP-8 ou Alpine Air M-145). Dans ce cas, l'organisation de la cheminée est nécessaire. L'appareil de chauffage, selon le principe de fonctionnement, est similaire à une cheminée et les utilisateurs peuvent regarder le jeu d'un feu réel.

4. Selon le matériau de fabrication de l'échangeur de chaleur :

fonte. Résiste à des températures plus élevées ;

acier. Utilisé dans les unités de la gamme de prix inférieure.

Notez que le matériau à partir duquel l'échangeur de chaleur est fabriqué détermine la durée de fonctionnement du convecteur.

5. Selon le degré de dépendance énergétique :

indépendant. Ils ne nécessitent pas de connexion électrique pour fonctionner. Exigé dans les régions avec des pannes de courant ;

dépendant. L'électricité est utilisée pour allumer le brûleur principal. Cette technique a un effet positif sur la consommation de gaz en la réduisant d'un quart par rapport aux modèles indépendants.

6. Pour des fonctionnalités supplémentaires

Ainsi sont :

ventilateur. Permet d'augmenter la vitesse de l'air traversant l'échangeur de chaleur.D'une part, cela réduit le temps de réchauffement de la pièce, d'autre part, cela refroidit l'échangeur de chaleur lui-même, évitant sa défaillance ;

minuteur. Permet d'automatiser l'allumage et l'extinction de l'appareil.

Sélection du convecteur

Comment choisir un convecteur à gaz ? Tout d'abord, l'attention est attirée sur les caractéristiques techniques de l'unité. La meilleure option peut être considérée comme un appareil avec une chambre de combustion fermée et un échangeur de chaleur en fonte. La présence d'une unité de contrôle programmable est considérée comme importante.

Considérez d'autres facteurs auxquels vous devez prêter attention lors du choix d'un convecteur à gaz domestique

La présence d'une unité de contrôle programmable est considérée comme importante.

Considérez d'autres facteurs auxquels vous devez prêter attention lors du choix d'un convecteur à gaz domestique

Puissance des machines

Étant donné que le chauffage est dû à la circulation de l'air, les unités ne fonctionnent efficacement que dans une seule pièce. Par conséquent, chaque pièce nécessitera l'installation d'une unité distincte. La puissance est déterminée à partir du calcul : 100 watts sont nécessaires pour 1 m 2 de surface.

Matériau de l'échangeur de chaleur

Étant donné que les convecteurs de chauffage au gaz fonctionnent avec du gaz qui brûle dans une chambre spéciale, l'échangeur de chaleur est soumis à de forts effets de température. S'il brûle après un certain temps, l'appareil tombe en panne. Par conséquent, le matériau de cette pièce doit être résistant aux hautes températures. Le leader parmi les matériaux de l'échangeur de chaleur est la fonte. Ce métal résiste aux contraintes thermiques, de plus, il se refroidit très lentement et répartit uniformément la chaleur. Les convecteurs à gaz avec échangeur de chaleur en fonte peuvent durer jusqu'à 50 ans. Les principaux inconvénients de tels dispositifs sont le prix élevé et la masse importante de l'unité.Un appareil de chauffage avec un échangeur de chaleur en acier est moins cher et plus léger

Mais lors du choix d'une unité, vous devez faire attention à la qualité de l'acier. Les échangeurs de chaleur en acier peuvent durer au moins 20 ans

Installer soi-même un convecteur à gaz

Type de chambre de combustion

Les réchauffeurs peuvent différer structurellement selon le type de chambres de combustion :

  1. ouvert la chambre de combustion. L'installation d'une unité avec une telle chambre nécessite l'installation d'une cheminée avec accès au toit. De plus, pendant le fonctionnement de l'appareil, pour maintenir le processus de combustion, de l'air sera prélevé dans la pièce. Par conséquent, une bonne ventilation de la pièce est nécessaire.
  2. Fermé la chambre de combustion. De tels modèles sont plus populaires, car le tuyau n'a pas besoin d'être conduit à travers le toit (un tuyau coaxial est installé en face de l'appareil). Et un autre avantage peut être appelé le fait que l'oxygène dans la pièce n'est pas brûlé, car l'air est prélevé à l'extérieur du bâtiment.

Installer soi-même un convecteur à gaz

Présence d'un ventilateur

Un convecteur à gaz avec ventilateur chauffe rapidement et uniformément toute la pièce. En raison de l'alimentation en air forcé de l'échangeur de chaleur, ce dernier est mieux refroidi. Et comme la surchauffe n'est pas autorisée, la durée de vie de l'échangeur de chaleur est considérablement augmentée.

Type de chambre

Si vous souhaitez installer un convecteur dans l'appartement

, alors le meilleur choix serait un appareil avec une chambre de combustion fermée et une cheminée avec un tuyau coaxial. Ce type d'appareil ne brûle pas d'oxygène dans la pièce. Àbâtiments privés vous pouvez installer n'importe quel fichier . Mais lors de l'utilisation d'un appareil avec une chambre de combustion ouverte, la pièce doit avoir une ventilation forcée.

Type de carburant

L'utilisation de gaz liquéfié est interdite dans les immeubles d'habitation. Par conséquent, l'appareil est connecté uniquement à l'autoroute

Lire aussi :  Comment couper le gaz dans l'appartement: la procédure de refus d'alimentation en gaz

. Chez les particuliers, utiliser un convecteur à gazsur le gaz en bouteille c'est possible, à condition que le cylindre soit installé à l'extérieur dans une armoire métallique spéciale.

Installer soi-même un convecteur à gaz

La quantité de carburant consommée

La consommation de combustible dans les équipements de chauffage au gaz est considérée comme économique. Pour calculer le débit de gaz, les paramètres de base suivants sont acceptés :

  • 1 kW de puissance nécessitera 0,11 m 3 de gaz du réseau principal;
  • 0,09 m 3 de gaz liquéfié seront nécessaires pour 1 kW de puissance.

Sur la base de ces indicateurs, vous pouvez faire un calcul. Par exemple, un appareil de chauffage de 4 kW (conçu pour 40 m 2 de surface) consommera 0,44 m 3 de gaz par heure de fonctionnement et 10,56 m 3 par jour. Mais, comme l'appareil ne fonctionne pas en permanence, ce chiffre sera bien moindre.

Convecteur GPL

Le réchauffeur d'air peut être converti pour fonctionner avec du gaz en bouteille (liquéfié). Pour cela, des buses spéciales et une boîte de vitesses sont achetées. S'il y a plusieurs convecteurs de ce type dans la maison, ils équiperont une pièce spéciale à l'extérieur de la maison pour stocker les bouteilles de propane.

Une température confortable dans la maison est obtenue grâce au thermostat intégré. Il empêche la surchauffe de l'air dans la pièce, tandis que le gaz est consommé plus efficacement.

Important! Les produits de combustion de gaz n'entreront pas dans l'espace d'air de la pièce s'ils sont évacués dans la cheminée. Avant d'acheter un aérotherme, calculez la puissance nécessaire pour chauffer le volume de la pièce dans laquelle vous envisagez de l'installer.

Veillez à tenir compte de la hauteur des plafonds, sinon l'appareil risque de ne pas répondre à vos attentes. Le meilleur emplacement pour les convecteurs est sous les fenêtres.Dans ce cas, l'air froid n'a pas le temps de pénétrer dans la pièce.

Avant d'acheter un aérotherme, calculez la puissance nécessaire pour chauffer le volume de la pièce dans laquelle vous envisagez de l'installer. Veillez à tenir compte de la hauteur des plafonds, sinon l'appareil risque de ne pas répondre à vos attentes. Le meilleur emplacement pour les convecteurs est sous les fenêtres. Dans ce cas, l'air froid n'a pas le temps de pénétrer dans la pièce.

Parfois, ces appareils sont utilisés comme source de chaleur supplémentaire lors de fortes gelées. Environ 0,095 kg de gaz liquéfié par 1 kW de puissance de transfert de chaleur brûle par jour. Gardez à l'esprit qu'un échangeur de chaleur en fonte dans un convecteur à gaz dure beaucoup plus longtemps qu'un échangeur en acier. Sa durée de vie peut durer jusqu'à 50 ans, mais un tel appareil coûte beaucoup plus cher. Les fabricants accordent une garantie d'usine pouvant aller jusqu'à 5 ans. Assurez-vous que tous les documents, y compris la carte de garantie, sont remplis dans le magasin lors de l'achat de l'appareil.

Raccordement gaz

Amis, à ce stade, il est important d'être extrêmement prudent! Disons que vous n'avez pas les compétences nécessaires pour travailler avec des appareils à gaz - il est alors préférable de contacter des spécialistes pour effectuer les travaux suivants

Installer soi-même un convecteur à gaz

L'installation d'un réchauffeur de gaz sur une source d'alimentation en gaz s'effectue selon l'algorithme suivant.

  1. Imaginons qu'il y ait une branche spéciale avec un filetage sur un tuyau de gaz. Ensuite, il vous suffit de visser un robinet de gaz sur ce tuyau. S'il n'y a pas de retrait spécial, alors il faudra le faire !
  2. L'étape suivante consiste à amener le tuyau de gaz au convecteur et à les connecter avec un raccord. Ce processus n'est pas précipité.
  3. Fixez le tuyau connecté avec des clips spéciaux. La distance entre eux est de 1 mètre.Pour ce faire, il faudra percer des trous sur le mur extérieur du bâtiment.
  4. Traiter les raccords et les joints de tuyaux avec du silicone pour assurer l'étanchéité.
  5. Assurez-vous d'appeler un représentant du service de gaz afin qu'il puisse vérifier que l'installation et les connexions sont correctes.

Qu'est-ce qu'un convecteur à gaz

Il convient de noter tout de suite que le convecteur n'est pas un type de chaudière, il fonctionne non seulement selon un principe différent (il ne chauffe pas le liquide de refroidissement, mais l'air dans une certaine pièce), mais a également une portée légèrement différente. Le plus souvent, les radiateurs à gaz sont utilisés dans les petites maisons où il n'y a pas besoin de chauffage constant. Ils sont capables de chauffer uniquement la pièce où ils sont installés.

De quoi est composé un convecteur ?

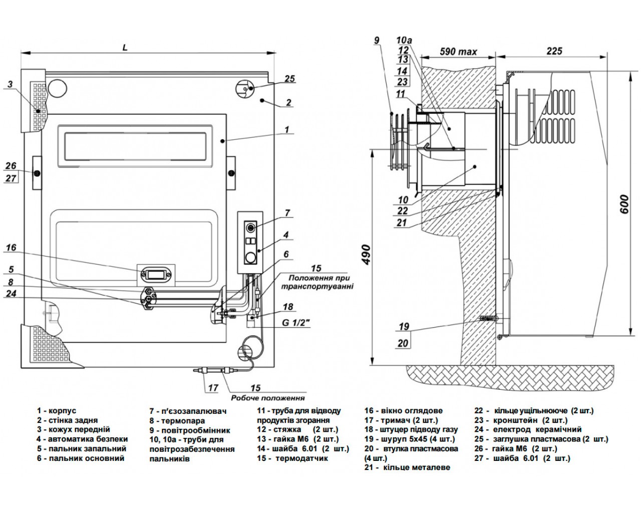
La conception de l'appareil n'est pas trop compliquée, elle comprend :

Installer soi-même un convecteur à gaz

Schéma d'un convecteur à gaz standard avec ventilateur pour convection forcée.

  • un échangeur de chaleur qui chauffe l'air;
  • programmateur - un appareil pour contrôler et maintenir la température dans la pièce;
  • panneau de contrôle avec divers indicateurs;
  • vanne de gaz pour contrôler l'alimentation en gaz ;
  • un ventilateur alimentant en air la vanne et l'échangeur de chaleur ;
  • un ventilateur qui fournit un apport forcé d'air chaud dans la pièce.

Convecteur à gaz - principe de fonctionnement

Installer soi-même un convecteur à gaz

Comme vous pouvez le voir sur le schéma, tout est assez simple. Le convecteur joue le rôle d'un brûleur à gaz, l'air froid entre par le bas sous l'action de la convection, se réchauffe et sort par une ouverture en haut.

L'appareil fonctionne assez simplement: le principe de fonctionnement est basé sur le phénomène de convection - lorsqu'il est chauffé, l'air chaud monte et l'air froid descend. Les modèles à gaz peuvent fonctionner à la fois par convection naturelle et par convection forcée.Dans ce dernier cas, un ventilateur spécial est utilisé pour fournir de l'air.

Avantages et inconvénients

La qualité de l'appareil lui-même, ainsi que son travail, dépendent du prix. En choisissant un modèle pas cher, vous ne ferez pas d'économies, puisque l'appareil peut vous durer moins d'un an. La réparation dans cette situation ne sera pas rentable. Par conséquent, nous examinerons les avantages et les inconvénients en nous basant uniquement sur des appareils de haute qualité. Alors les avantages :

  • efficacité et chauffage rapide de la pièce;
  • installation simple d'un convecteur à gaz de vos propres mains;
  • il n'est pas nécessaire de faire un système de chauffage (eau);
  • bas prix;
  • contrairement à leurs homologues électriques, les modèles à gaz ne brûlent pas d'oxygène;
  • mode de fonctionnement entièrement autonome ;
  • non lié à l'électricité (sauf convecteurs à circulation forcée) ;
  • Il est possible de raccorder le réchauffeur à une bouteille de gaz.

Mais les convecteurs à gaz ne sont pas sans inconvénients :

  • si le gaz est utilisé à partir d'un système centralisé, il est impératif d'obtenir l'autorisation de connecter l'appareil;
  • il est nécessaire de percer des trous dans le mur vers l'extérieur où le radiateur sera fixé ;
  • dimensions considérables;
  • si vous décidez d'installer plusieurs convecteurs, le gaz devra être fourni à chacun d'eux, de plus, uniquement à l'extérieur du bâtiment.

Choisissez des modèles avec un ventilateur intégré. Ils sont plus efficaces que leurs homologues sans ventilateur.

Types de convecteurs

Les appareils peuvent être classés par leur puissance, ainsi que par leur exécution. Si tout est clair avec la puissance : choisissez celui qui est capable de chauffer la pièce, alors avec les types de performances, les choses sont un peu plus compliquées.

Il existe deux types de radiateurs :

Installer soi-même un convecteur à gaz

Les modèles muraux peuvent très bien s'intégrer à l'intérieur.

  1. Sol - les appareils sont installés sur le sol, ne nécessitent pas de compétences ni d'aptitudes particulières pour l'installation. Un tel convecteur peut chauffer une pièce assez grande (même industrielle), mais il est lourd et nécessite une fondation spéciale.
  2. Fixation murale - modèles plus compacts qui s'intègrent bien à l'intérieur de la maison. Souvent, des appareils sont montés sous une fenêtre pour créer un rideau thermique à partir de l'air froid traversant la vitre. Les convecteurs de ce type ont une faible puissance, ils ne conviennent donc que pour chauffer des pièces dans des maisons jusqu'à 100 mètres carrés.

Il existe un autre sous-type de radiateurs - intégrés. Ils peuvent être installés au sol ou au mur, non seulement pour ne pas gâcher l'intérieur, mais aussi pour le décorer. En termes de paramètres, ces modèles ne diffèrent pas des modèles muraux. Mais il est plus difficile de les installer, car il est nécessaire de préparer à l'avance une niche pour l'appareil.

Lors du choix d'un convecteur, vous devez également faire attention au matériau de l'échangeur de chaleur. Ce dernier peut être en acier, en fonte ou en cuivre.

Les modèles avec un échangeur de chaleur en acier sont maintenant plus courants, cependant, ceux en fonte ont une plus grande efficacité en raison des propriétés de l'alliage et peuvent également durer plus longtemps. Leur seul inconvénient est leur poids élevé. Les homologues en cuivre sont efficaces et durables, mais coûteux.

Tous les convecteurs considérés sont fermés. Il en existe aussi des ouverts, mais ils prélèvent l'air nécessaire à la combustion du gaz dans la pièce, et les déchets entrent dans la ventilation générale. En raison de ces propriétés, il est fortement déconseillé d'installer des radiateurs de type ouvert dans des locaux résidentiels.

Évaluation
Site sur la plomberie

Nous vous conseillons de lire

Où remplir la poudre dans la machine à laver et combien de poudre verser