- Tuyauterie de radiateur de chauffage avec by-pass
- Le principe de fonctionnement du by-pass sur le radiateur
- Nuances de cerclage
- Réparation d'un mitigeur à bec pivotant
- Types de robinets à tournant sphérique
- Dysfonctionnements possibles et moyens de les éliminer
- Remplacement du joint et nettoyage du boîtier
- Remplacement de la garniture de presse-étoupe
- Réparation de fissures
- Dépannage d'un problème de joint usé
- Principales causes de dysfonctionnements
- Quel robinet à tournant sphérique est préférable de choisir pour qu'il fonctionne longtemps et de manière fiable
- Option quatre. On change la cartouche
- Le besoin d'arrêt
- Vannes d'ouverture et de fermeture
- Détermination de la position du robinet à tournant sphérique
- Détermination de la position d'une vanne à boisseau
- Meilleures réponses
- Comment fermer la batterie
- Si nécessaire, fermez et retirez le radiateur
- Réparation d'un mitigeur monocommande avec un bloc à bille
- Ordre de démontage
- Problèmes typiques d'engrenage de vanne de mélangeur à bille
- Assemblage d'un mitigeur monocommande avec mécanisme à bille
- Problèmes avec le bec pivotant
- Fissure dans la coque
- Aérateur bouché
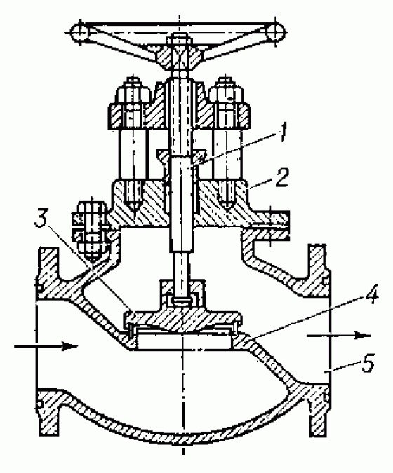
Tuyauterie de radiateur de chauffage avec by-pass
Après avoir décidé pourquoi une dérivation est nécessaire dans le système de chauffage, vous pouvez commencer les travaux d'installation. Dans le même temps, des calculs sont effectués et des composants sont sélectionnés. Le matériau des tuyaux doit idéalement correspondre au matériau de la ligne principale.Le diamètre du régulateur doit être inférieur à la section transversale de la canalisation principale.

Options de cerclage pour différents systèmes
Quelques conseils pour vous aider à installer :
- les robinets à tournant sphérique conviennent aux vannes d'arrêt. Ils vous permettent de couper de manière fiable l'alimentation en liquide de refroidissement;
- vous ne devez pas installer de mitigeur, qui ne sera pas utile dans un câblage normal ;
- l'installation d'un mécanisme de régulation pour les systèmes monotubes est jugée nécessaire.

Le schéma montre les éléments constitutifs de la structure
Avant l'installation, la distance entre les lignes de retour et directe de la batterie est mesurée. Ensuite, un morceau de tuyau de la taille souhaitée est coupé. Cette pièce, à son tour, est également coupée en deux et un robinet à tournant sphérique y est installé. Dans le cas de l'utilisation de tuyaux en polypropylène, les tests de pression sont effectués à l'aide d'une méthode hydraulique. Les tés sont coupés dans les branches d'alimentation et de retour et un cavalier préparé est installé. Pour pouvoir remplacer les radiateurs sans vidanger tout le système, des vannes à bille sont également montées à l'entrée et à la sortie de l'appareil. Ensuite, les tuyaux sont remplis de liquide de refroidissement.

Les nuances de l'installation d'un dispositif de contrôle sont indiquées dans le schéma
Le principe de fonctionnement du by-pass sur le radiateur
Dans une conception monotube, l'installation d'un by-pass pour le chauffage est nécessaire pour que lors du remplacement de l'appareil de chauffage, le liquide continue de circuler. Dans une installation verticale, le radiateur est relié à la colonne montante par des tuyaux. Le régulateur combine des tuyaux et est monté devant la batterie.

Le schéma montre l'emplacement d'installation du cavalier de dérivation sur l'ensemble du système de chauffage lors de l'utilisation d'une chaudière à combustible solide
Les fonctions du cavalier, qui est placé devant le radiateur, comprennent :
- création d'un mouvement constant le long du contour principal;
- régulation de la température et du débit de liquide de refroidissement directement dans le radiateur.
L'installation d'un by-pass permet de mélanger le liquide de refroidissement de la ligne centrale avec la ligne de retour de la batterie. De ce fait, la température et l'efficacité de chauffage dans son ensemble augmentent.
Nuances de cerclage
Il est important de comprendre ce qu'est un by-pass dans un système de chauffage avant de l'installer. Voici quelques conseils utiles pour vous aider à faire l'installation de bricolage :
- pour diriger l'eau dans la bonne direction, il est nécessaire que la section du cavalier soit inférieure à la section de la canalisation principale;
- l'installation de la structure est effectuée à côté du dispositif de chauffage, mais aussi loin que possible de la colonne montante;
- des prises sont montées entre l'entrée/sortie de la batterie et le cavalier de commande ;
- les thermostats sont utilisés pour automatiser la température de l'appareil;
- lors de l'installation de la structure à côté de la chaudière, la surchauffe ne doit pas être autorisée;
- les tees sont montés sur des tronçons de l'autoroute ;
- ne pas installer de valve ou de valve sur un appareil sans valve.

Option de tuyauterie pour la construction à un seul tuyau
Lors de l'installation de l'appareil, les règles de construction doivent être respectées. Des fixations ou des supports de tuyauterie spéciaux doivent être présents à proximité du dispositif de dérivation.
Réparation d'un mitigeur à bec pivotant
Les robinets à bec pivotant sont installés sur les éviers de la cuisine ou de la salle de bain. De temps en temps, une fuite commence par dessous. Le mécanisme de verrouillage dans ce cas n'est pas à blâmer, seuls les joints ont perdu leur élasticité ou le lubrifiant s'est tari.
Réparation d'un mitigeur à bec mobile
Dans ce cas, démontez le mitigeur comme décrit ci-dessus, puis retirez-le en tirant le bec vers le haut. Retirez tous les anciens joints.S'ils sont coincés, vous pouvez utiliser un tournevis à tête plate ou même une lame de couteau. Vous devez les supprimer, mais ils doivent encore être remplacés. Sur les joints retirés, sélectionnez-en de nouveaux. Il est souhaitable qu'ils soient en silicone et non en caoutchouc. Le silicone est plus élastique, conserve ses propriétés plus longtemps, tolère mieux le contact avec l'eau.
Lubrifiez les nouveaux joints avec de la graisse de silicone sanitaire, installez-les en place. Installez le bec en place. Il doit être bien enfoncé afin qu'il repose contre l'écrou-raccord sur le corps du mitigeur. Vient ensuite l'assemblage du reste du mécanisme.
Types de robinets à tournant sphérique
Les grues diffèrent les unes des autres principalement par leur objectif. Certains d'entre eux peuvent être utilisés pour l'eau froide, d'autres pour l'eau chaude. Le but des grues détermine leurs caractéristiques de conception. Certains modèles de grues sont pliables, d'autres sont détachables. Les grues PP de conception amovible sont montées là où la question de la déconnexion du réseau peut se poser. À propos, le connecteur peut être installé sur un ou les deux côtés du corps de vanne.
Lors de la connexion d'un robinet pliable, des écrous-raccords sont utilisés. Ils sont installés dans des systèmes où des raccords en métal sont utilisés, dans des canalisations en acier et à côté de radiateurs de chauffage.
Les robinets pliables en propylène ont deux modèles - droits et coudés. Si tout est clair avec des robinets droits, l'avantage des robinets d'angle est qu'ils sont directement connectés à la ligne principale, sans l'aide de raccords auxiliaires. Cette conception facilite non seulement l'installation, mais augmente également la maintenabilité du produit. Grâce à la conception de la valve, elle peut être rapidement démontée et réparée.
Les fabricants produisent des vannes de différentes couleurs.De plus, au stade de la fabrication, un marquage de couleur est appliqué sur la carrosserie, qui peut indiquer à quoi est destinée telle ou telle grue. Par exemple, une bande bleue indique que ce produit est conçu pour un service froid.
Dysfonctionnements possibles et moyens de les éliminer
L'appareil doit être réparé si :
- la vanne ne coupe pas l'eau. Les causes du dysfonctionnement peuvent être :
- usure du joint d'étanchéité servant de dispositif de verrouillage ;
- déconnexion de la vanne d'arrêt de la broche ;
- torsion de la broche ;
- contamination de la vanne par des dépôts contenus dans l'eau ;
Lors de la flexion de la tige ou de la déconnexion de la vanne, remplacement de caisse de grue.
- vanne qui fuit ou qui goutte. Les principales raisons d'un tel dysfonctionnement peuvent être:
- la formation d'une fissure sur le corps de l'appareil;
- absence ou quantité insuffisante de presse-étoupe.
Remplacement du joint et nettoyage du boîtier
Pour réparer la vanne de vos propres mains lorsque le joint est usé, vous aurez besoin des outils et matériaux suivants :
- clé;
- un morceau de caoutchouc de plomberie;
- les ciseaux;
- pinces;
- couteau;
- fil de lin ou autre matériau d'étanchéité.
Du caoutchouc et des ciseaux sont nécessaires pour l'auto-fabrication du joint. Si vous savez quel joint est installé sur la broche, vous pouvez acheter le produit fini dans un magasin de plomberie.
Le joint est remplacé comme suit :
- à l'aide d'une clé à molette, il est nécessaire de dévisser le boîtier de grue qui fixe la tige de soupape;

Démontage de la vanne pour remplacement du joint
- une pince dévisse l'écrou qui fixe le joint;
- la rondelle et le joint défectueux sont retirés ;
- un morceau de caoutchouc est découpé dont les dimensions sont légèrement supérieures aux dimensions de la valve;
- un trou est fait au centre du morceau de caoutchouc coupé;
- le caoutchouc est monté sur la valve et fixé avec un écrou;
- l'excès de caoutchouc est coupé avec des ciseaux autour de la valve. Le joint fini doit être entièrement conforme aux dimensions de la vanne ;

Fixation d'un nouveau joint à la broche
- à l'aide d'un couteau, le corps de la vanne est nettoyé. Il est recommandé de retirer soigneusement tous les dépôts non seulement dans le boîtier de l'appareil, mais également dans la connexion filetée ;
S'il n'est pas possible de nettoyer le boîtier par action mécanique, vous pouvez utiliser du kérosène ou du liquide WD-40.
- le boîtier de la grue est monté sur le filetage ;
- la connexion est scellée, après quoi l'appareil peut être complètement fixé.

Étanchéité des fils avec du fil de lin
La réparation de la vanne doit être effectuée lorsque l'alimentation en eau (chauffage) est coupée.
Remplacement de la garniture de presse-étoupe
Si la vanne du robinet fuit, dans la plupart des cas, le problème est l'absence ou l'étanchéité excessive de la garniture du presse-étoupe. Pour les réparations, vous aurez besoin de :
- une clé à molette ou une clé de la taille appropriée ;
- presse-étoupe ;
- un couteau ou un tournevis à tête plate pour sceller.
Dans cette situation, vous pouvez réparer vous-même la vanne selon le schéma suivant:
- couper l'alimentation en eau du système ;
- retirer la poignée de rotation ;
- dévisser l'écrou de fixation. Lors du desserrage de la fixation, il est recommandé de maintenir la broche dans une position;
- retirer la bague d'étanchéité qui fixe l'emballage ;
- utilisez un couteau ou un tournevis pour retirer l'ancien emballage ;

Le processus de remplacement de la garniture de presse-étoupe pour éliminer la fuite
- appliquer et tasser le nouveau matériau d'étanchéité ;
- assembler le robinet dans l'ordre inverse.
Le processus de remplacement du joint et de la garniture de presse-étoupe est décrit en détail dans la vidéo.
Réparation de fissures
Si la vanne fuit et que la cause de la fuite est une fissure sur le corps de la vanne, vous pouvez :
- remplacer complètement la vanne ;
- fermez la fissure avec des matériaux spéciaux.

Fissure dans le corps de soupape
Parmi les matériaux utilisés pour sceller les fissures, on peut distinguer un moyen de soudage à froid.

Moyens de soudage à froid des métaux
Des instructions détaillées pour l'utilisation du produit sont indiquées sur l'emballage. Le modèle d'utilisation général est le suivant :
- l'endroit où la fissure doit être réparée est nettoyé de la saleté et dégraissé avec de l'acétone;
- la composition est préparée pour l'application ;
- le mélange fini est appliqué sur la fissure et uniformément réparti sur la surface;
Pour la résistance du soudage, il est recommandé d'appliquer le mélange sur une surface plus grande que celle occupée par la fissure elle-même.
- un séchage complet de la composition est attendu, après quoi il est possible de nettoyer et de peindre le site de soudage.

La méthode d'utilisation du soudage à froid pour réparer une fissure
Ainsi, vous pouvez éliminer vous-même les problèmes de valve les plus courants. Si les travaux de réparation effectués n'ont pas aidé à corriger la situation, la vanne doit être remplacée.
Dépannage d'un problème de joint usé
C'est la cause la plus fréquente de pannes dans les réducteurs à vis sans fin. De plus, il existe des joints en caoutchouc dans les boîtes d'essieux en céramique, ils sont utilisés à la fois comme joints d'étanchéité et dans les rondelles de chemise flexibles. Le contact du joint avec des pièces métalliques dans le milieu aquatique, la pression exercée sur celui-ci par les pièces du mécanisme et l'éventuel assèchement, dans certains cas, entraînent une déformation du joint.En raison de l'usure du caoutchouc, l'eau fuit du robinet ou son bourdonnement commence.
Lorsque de l'eau s'écoule d'un robinet, que devez-vous faire pour remplacer le joint :
- bloquer l'écoulement de l'eau vers l'appartement;
- à l'aide d'un tournevis et d'un couteau plat, démontez le mélangeur et retirez le joint endommagé;
- remplacez le joint par un nouveau produit, il est préférable d'utiliser les options d'usine, bien que vous puissiez fabriquer vous-même le joint à partir d'un caoutchouc approprié;
- assembler le mélangeur;
- vérifier le fonctionnement de la grue.
Principales causes de dysfonctionnements

Robinet de salle de bain
Un mitigeur est un appareil conçu pour contrôler la température et le débit de l'eau d'un robinet. Les produits utilisés dans les salles de bain ont pour fonction de redistribuer le débit d'eau du robinet vers la douche.
L'auto-réparation d'un robinet dans la salle de bain est grandement simplifiée si la cause de la panne est correctement déterminée:
- Produits de basse qualité. C'est un moment problématique pour les marchandises en provenance de Turquie et de Chine. Parmi eux ne sont pas rares - les contrefaçons.
- Le degré de pureté de l'eau du robinet est d'une importance décisive.
- Utilisation de matériaux ne correspondant pas à la qualité de l'appareil. Par exemple, les mélangeurs modernes sont équipés de joints en silicone ou en céramique - le marché regorge de produits en caoutchouc similaires (ils sont moins chers, leur fiabilité est moindre).
- L'eau dure entraîne la fissuration des pièces du mécanisme, la formation de dépôts nocifs dans les cavités internes.
- Usure naturelle des pièces - capteurs, cartouches, etc.
Dans le même temps, il est important de savoir comment démonter le robinet dans la salle de bain avec douche et quels dysfonctionnements provoquent un tel besoin. Un démontage et une installation incorrects du produit réduisent sa durée de vie.
Ici, le type de conception du mélangeur joue un rôle décisif :
- levier unique;
- soupape double ;
- sensoriel.
Chacun a ses spécificités en cas de pannes, notamment lors du démontage et du montage. Ensuite, nous déterminerons quelles pannes sont typiques pour chaque type de mélangeur, méthodes d'auto-réparationcomment démonter le robinet dans la salle de bain selon un algorithme détaillé.
Quel robinet à tournant sphérique est préférable de choisir pour qu'il fonctionne longtemps et de manière fiable
Les robinets à tournant sphérique sont depuis longtemps largement utilisés dans les systèmes de canalisations, en raison de la simplicité de l'appareil et de la facilité d'utilisation. Cependant, ils doivent avoir une autre qualité précieuse : la fiabilité. Après tout, si la grue est fabriquée avec des matériaux de qualité insuffisante, elle peut tomber en panne prématurément, voire provoquer un accident. Il n'est pas rare que les acheteurs, lorsqu'ils décident de la question: "quelle vanne choisir?", À la recherche d'économies, achètent des vannes à bille en alliages à base d'aluminium bon marché, fabriquées par une société inconnue. Et cela peut se transformer en gros problèmes et en pertes - par exemple, si le robinet se brise sous la pression de l'eau et que l'appartement des voisins du dessous est inondé.
Option quatre. On change la cartouche
Comme indiqué précédemment, il est beaucoup plus pratique d'utiliser des cartouches que des boîtes de grue, mais si les premières échouent, alors doit être remplacé immédiatement mécanisme. La séquence des actions est donnée ci-dessous.
Étape 1
. Tout d'abord, dévissez le bouchon sur le levier, puis dévissez la vis de fixation elle-même.
Étape 2
. Retirer les éléments décoratifs, puis dévisser l'écrou maintenant la cartouche.
Étape 3
. Retirez le mécanisme, regardez l'état des joints à son extrémité. Vous pouvez essayer de les remplacer.
Étape 4
. Si les joints ne peuvent pas être remplacés, installez un nouvel élément de disque dans la vanne.
Étape 5
. Assemblez tous les éléments du mélangeur.
Le besoin d'arrêt
Avant de passer au schéma de déconnexion de la batterie de la colonne montante dans un immeuble à appartements, nous vous suggérons de considérer les raisons fondamentales qui peuvent provoquer un dysfonctionnement du système de chauffage.
Voici une liste des causes les plus probables de panne de batterie :
- une urgence qui menace d'inonder votre appartement et celui de votre voisin avec un liquide de refroidissement chaud ;
- peindre les radiateurs pendant la saison froide, lorsque le chauffage est déjà allumé ;
- s'il est nécessaire de changer le radiateur ou de le rincer;
- en hiver, les batteries sont trop chaudes et vous souhaitez baisser la température ambiante.
Dans certains appartements, les résidents pratiquent l'arrêt des batteries en été sans vidanger le liquide de refroidissement afin de protéger les radiateurs des blocages lors du chauffage d'automne. A cette époque, l'eau à travers les tuyaux est souvent accompagnée de fragments de rouille. Comment le faire correctement, nous le dirons dans l'une des sections de cet article.
Vannes d'ouverture et de fermeture
Il est possible de déterminer si la vanne est ouverte ou fermée par plusieurs signes, selon le type d'appareil installé.
Détermination de la position du robinet à tournant sphérique
Pour déterminer l'état d'un robinet à tournant sphérique, vous pouvez utiliser :
- bouton de controle;
- évidement situé sur la tige.
Le robinet à tournant sphérique peut être équipé de deux types de poignées :
- une poignée, qui est un élément allongé fixé au corps du dispositif ;
- une poignée papillon composée de deux parties similaires disposées symétriquement par rapport au point d'attache.
La vanne se ferme si la poignée est tournée perpendiculairement à l'appareil et à la direction de la canalisation, et s'ouvre si la poignée est tournée dans la direction de l'axe de l'appareil et, par conséquent, de la canalisation.

Détermination de l'état de la vanne par la poignée installée sur l'appareil
La vidéo suivante aidera à déterminer l'état de la vanne par la poignée.
Si les poignées sont cassées ou complètement manquantes pour une raison quelconque, est-il possible de connaître la position de la vanne ? Pour déterminer l'état de l'appareil dans les circonstances considérées, vous pouvez utiliser l'évidement situé sur la tige.

Elément permettant de déterminer la position de la vanne
Si la rainure est parallèle à la canalisation, la vanne est ouverte et laisse passer le liquide (gaz). Si l'évidement est situé perpendiculairement à la direction des tuyaux, la vanne est fermée et le mouvement du fluide à travers le système est impossible.

Détermination de la position de la vanne par évidement
Pour faciliter l'utilisation du robinet à tournant sphérique, des saillies spéciales sont situées sur le corps de l'appareil, qui sont conçues pour limiter la rotation de la poignée et, par conséquent, prolonger la durée d'utilisation de l'appareil.
Détermination de la position d'une vanne à boisseau
Dans quel sens faut-il dévisser la vanne à boisseau s'il n'y a pas de poignée sur l'appareil, et comment connaître la position de la vanne dans ce cas ?
Pour déterminer la position d'une vanne qui n'a pas de poignée, vous devez :
- trouver une fente sur le dessus de la tige (risque);
- vérifier visuellement l'état de l'appareil.

Détermination de l'état de la vanne à boisseau en l'absence de poignée
Pour fermer une vanne de tout type, il est nécessaire de tourner la poignée de commande ou la tige de montage dans le sens des aiguilles d'une montre.Pour ouvrir la vanne, la poignée tourne dans le sens opposé, c'est-à-dire dans le sens antihoraire.
Meilleures réponses
Truculent :
Pour remplacer le pédalier - retirez le capuchon décoratif sur l'agneau (poignée), dévissez la vis avec un tournevis, retirez l'agneau, dévissez le pédalier avec une clé de 17. Changez le joint dessus ou vissez un nouveau boîtier de grue. Assemblez dans l'ordre inverse.

Emzar k :
Prenez la clé de gaz
Denis Vladimirov :
clé de gaz
Pierre Vasiliev :
la question n'est pas le mari
vnemugI :
Quel genre de «rond est-ce»?))) Tout est dévissé par un agneau avec un tournevis (c'est la chose qui est dévissée et tordue pour que l'eau coule) en dessous se trouve la grue à douille elle-même, vous la dévissez avec un réglable ou une clé (mais la clé à molette est universelle et s'adapte à presque toutes les tailles d'écrous)
Comment fermer la batterie
Pour effectuer certains travaux, il suffit d'éteindre le radiateur :
Si des vannes d'arrêt sont installées - vannes à bille. c'est simple à faire : il faut tourner la poignée du robinet jusqu'en butée sur les tuyaux d'alimentation et de retour. Le flux de liquide de refroidissement est bloqué, le réchauffeur peut être retiré.

S'il y a des vannes à bille devant le radiateur, elles sont fermées et le radiateur est retiré
Parfois, une vanne de commande manuelle est installée sur l'alimentation. Il peut également couper l'alimentation en liquide de refroidissement, mais sa fonction principale est de réguler : il est installé pour maintenir une température constante dans la pièce.
Si la saison de chauffage est terminée, en fermant les robinets, vous pouvez retirer le radiateur en toute sécurité. S'il est nécessaire d'effectuer des travaux pendant la période de chauffage, il est nécessaire de prendre en compte la particularité de l'installation. Dans un système monotube avec câblage vertical, l'arrêt sans arrêter le système n'est possible que si un by-pass est présent.
Un système monotube avec câblage vertical ressemble à ceci : sortant du plafond un tuyau entre dans le radiateur, le second sort par un autre trou de la batterie et va au sol.
Le by-pass est un cavalier devant le radiateur. Il relie les tuyaux d'alimentation et de retour. Il est effectué, en règle générale, avec une taille de tuyau inférieure d'un pas au diamètre de la gaine.
S'il y a une dérivation, alors lorsque le radiateur est éteint, le liquide de refroidissement continue de circuler à travers la colonne montante, mais passe déjà par ce cavalier. Résultat, personne ne souffre : les voisins sont chaleureux, vous effectuez les travaux nécessaires.

Le bypass est un cavalier devant la batterie. Sur la photo de droite, bien qu'il y ait un by-pass, il n'y a rien pour couper la batterie : il n'y a pas de clapets à bille
Lors de la connexion selon un schéma à deux tuyaux, il n'y a aucun problème: il y a des robinets, fermez-les, retirez le radiateur. Avec un système monotube, mais avec un câblage horizontal, des cavaliers sont également nécessaires. Mais, en leur absence, vous gèlerez votre appartement.
En général, un by-pass est un élément très nécessaire : si nécessaire, il vous permet d'installer un thermostat (thermostat) à l'entrée du radiateur, avec lequel vous pouvez maintenir une température constante dans la pièce. Sans ce cavalier, l'installation d'appareils de commande est interdite. C'est juste que sans cela, il s'avère que vous réglez non seulement la température de votre batterie, mais aussi l'ensemble de la colonne montante, ce que les voisins n'apprécieront probablement pas.
Mais seule la présence d'un by-pass ne garantit pas la possibilité de débrancher la batterie pendant la saison de chauffe. Il devrait également y avoir des vannes à bille sur l'alimentation et le retour. De plus, il est préférable de prendre des robinets à passage intégral pour chauffer les batteries. Il en existe aussi des standards. En eux, le jeu en position ouverte est d'environ 70 à 80% du diamètre. Dans les modèles à passage intégral, il est de 100 %. Pour assurer un transfert de chaleur normal, ils sont nécessaires.

La batterie peut être déconnectée à tout moment s'il y a des vannes à bille à son entrée et à sa sortie. Mais pour que le transfert de chaleur ne tombe pas, il est nécessaire d'installer des modèles à passage intégral
S'il n'y a pas de contournement, pour effectuer tous ces travaux, vous devrez désactiver la colonne montante, et cela ne se fait pas de sitôt, et même moyennant des frais.
Si nécessaire, fermez et retirez le radiateur
Les travaux liés à l'enlèvement du radiateur sont mieux effectués après la fin de la saison de chauffage. Si des travaux doivent être effectués pendant la saison de chauffage, un certain nombre de nuances doivent être prises en compte. Si vous avez un système de chauffage monotube et un câblage vertical, vous ne pouvez retirer la batterie que s'il y a un by-pass.
Un tel système peut être identifié par des tuyaux, dont l'un vient du plafond et se connecte au radiateur, tandis que l'autre sort du radiateur et disparaît dans le sol. Le by-pass est un cavalier reliant les tuyaux entrants et sortants. Il s'agit d'un tuyau d'un diamètre approximativement identique ou légèrement inférieur à celui des tuyaux principaux. Le principe de fonctionnement du by-pass est le suivant : si le radiateur est éteint, l'eau commence à s'écouler dans la colonne montante en passant par le by-pass sans passer par la batterie. Dans ce cas, la colonne montante fonctionne, le chauffage des appartements voisins ne s'éteint pas.
Si le système est à deux tuyaux, s'il y a des robinets, il suffit de les fermer, après quoi vous pouvez retirer la batterie.
Réparation d'un mitigeur monocommande avec un bloc à bille
Les problèmes avec un robinet à bille à levier unique sont généralement causés par un mécanisme de valve cassé. Le levier, fixé par une vis, s'enlève de la même manière que dans le cas d'un robinet à cartouche. Le capuchon métallique bombé, situé en dessous, fixe l'ensemble du mécanisme de la valve dans le corps.Sous le capuchon se trouve une came en plastique qui limite le mouvement du levier de commande. Au bas de la came se trouve une rondelle en forme de dôme pour un ajustement parfait à la boule du mélangeur. Le dispositif de la balle et le principe du mélange, nous l'avons déjà décrit ci-dessus.
Ordre de démontage
- Retirez les tampons en plastique rouge et bleu et dévissez le levier comme décrit ci-dessus. La différence sera que la goupille à partir de laquelle vous voulez tordre le levier n'est pas en polymère et rectangulaire, mais en métal, avec un filetage pour la vis fixant le levier.
- Dévissez le capuchon bombé. Il peut être équipé de fentes pour une prise en main confortable. Mais s'il n'y a pas de fente, utilisez un tournevis: posez-le dans la rainure et frappez-le doucement vers le haut et dans le sens des aiguilles d'une montre, en déchirant la pièce de sa place. Vous pouvez également utiliser des pinces à bec rond en les insérant dans les rainures depuis l'intérieur du capuchon.
- Après avoir retiré le capuchon, retirez la came avec une rondelle figurée. Nettoyez-les avec un chiffon.
- Sortez la boule du mélangeur et examinez sa partie valve.
- Déposer les sièges de soupape. Ils s'enlèvent facilement avec un tournevis fin. Avec une pince à épiler ou un tournevis, vous pouvez faire passer les ressorts de serrage sous les selles.
Problèmes typiques d'engrenage de vanne de mélangeur à bille
Des fuites ou un bruit excessif peuvent être causés par les problèmes suivants :
- L'intérieur de la rondelle en dôme ou le siège dans le corps où repose le bas de la bille est usé ou très sale. Ces cavités sphériques doivent être soigneusement nettoyées.
- Usure de balle. Il peut présenter des fissures, des rainures. Tout cela est causé par une eau sale et dure avec des impuretés de particules solides. La seule façon d'y remédier est de replacer la balle.
- Usure du siège de soupape. S'ils commencent à mal s'adapter au ballon, ils laissent passer l'eau. Ils doivent également être remplacés.
- Un mauvais ajustement du siège peut être causé non seulement par des sièges usés, mais aussi par des ressorts desserrés. Le problème est résolu en remplaçant les ressorts par des neufs.
Assemblage d'un mitigeur monocommande avec mécanisme à bille
Cela se fait dans l'ordre inverse, avec les anciennes pièces nettoyées et lubrifiées et les nouvelles pièces remplacées :
Nettoyez la cavité du robinet.
Insérez des ressorts neufs dans les selles, placez l'ensemble dans les douilles qui lui sont destinées.
La boule nettoyée est lubrifiée avec de la graisse de silicone. La boule est insérée dans le corps du mélangeur.
Une rondelle avec une came est installée. Pour un assemblage correct, il y a une rainure dans le corps qui doit être alignée avec la patte sur la came.
Appât et vis à capuchon supérieur en métal pur
Il est important d'éviter les distorsions.
Mettez une tige métallique et vissez le levier pour régler l'eau.
Problèmes avec le bec pivotant
Si l'eau d'un robinet à levier unique s'écoule au-dessus et au-dessous du bec pivotant, cela est dû à des joints usés. Les anneaux en caoutchouc sont utilisés comme joints, moins souvent - manchettes. Pour remplacer les anneaux, vous devez démonter le mélangeur comme suit :
- Après avoir retiré la cartouche, vous devez retirer le côté pivotant du bec du corps. Comment faire cela deviendra clair lors du démontage. Dans certains modèles, ce nœud est supprimé vers le haut. Sur le corps, il est arrêté par un embrayage spécial. Mais le plus souvent, le bloc de bec est retiré vers le bas, où un tuyau flexible ondulé est attaché. Pour retirer le bloc, vous devez le démonter jusqu'au démontage du mélangeur de l'évier ou de l'évier.
- Sur la face inférieure du mélangeur démonté, vous devez dévisser l'écrou en forme d'anneau et retirer l'anneau en fluoroplastique situé en dessous.
- Vous pouvez maintenant retirer le bloc de bec du corps en le tirant vers le bas. Des joints en caoutchouc usés se trouveront au niveau des joints avec le corps.Vous devez acheter pour mettre les mêmes nouveaux et remplacer en même temps les anneaux en plastique fluoré en haut et en bas avant d'installer le mélangeur.
Fissure dans la coque
Ce dysfonctionnement est immédiatement perceptible et nécessite le remplacement de l'ensemble du mélangeur. Certains artisans ont recours au mastic silicone pour "réparer" le boîtier. Mais il s'agit d'une mesure temporaire. Bientôt, vous devez encore vous rendre au magasin pour un nouveau mélangeur.
Aérateur bouché
Si, avec des robinets complètement ouverts, vous constatez une pression insuffisante, il peut y avoir plusieurs raisons. Il s'agit d'un blocage des canalisations et des tuyaux d'arrivée, et simplement d'une mauvaise pression dans le réseau d'alimentation en eau. Mais il peut aussi s'agir d'un aérateur bouché sur le tuyau du bec. Pour réparer, dévisser l'aérateur. Si l'effort manuel ne suffit pas, utilisez une clé à molette. L'aérateur a des fentes pour la torsion. À l'intérieur de la maille, vous trouverez de nombreuses particules et couches solides qui empêchent l'écoulement de l'eau et réduisent la pression. La maille peut être nettoyée sous l'eau courante.











































