- objectif
- But du produit
- Autorisations et interdictions
- Comment nettoyer le drain du climatiseur
- Comment se débarrasser de la condensation
- Erreurs typiques lors de l'installation d'un climatiseur
- Début des travaux
- Saint-Pétersbourg
- Évaluation de l'impact sur la santé
- Vidange dans le réseau d'égouts
- Schéma de l'embranchement à l'intérieur de la maison
- Installation d'un siphon pour les condensats
- Nettoyage du système de drainage
- Règles et ordre d'installation
- Caractéristiques du placement de l'unité extérieure sur un balcon vitré :
- Sur le parapet
- Vitrage panoramique
- modèle de fenêtre
- Dilatation des tuyaux en cuivre
- Conclusions et vidéo utile sur le sujet
objectif
Un siphon pour un système divisé est un dispositif spécial qui relie le tuyau de sortie des condensats au système d'égout. Le but principal de l'appareil est d'éliminer l'humidité du climatiseur pour drainer les communications et protéger les locaux de l'odeur désagréable des eaux usées. De plus, l'utilisation d'un siphon assure l'esthétique de l'extérieur des bâtiments en empêchant l'eau de ruisseler sur les murs et le trottoir. En même temps, à côté de la composante esthétique, il y a aussi une composante pratique.
Ainsi, l'eau qui goutte du tuyau de sortie forme des flaques d'eau et humidifie excessivement les zones aveugles des maisons. Ceci, à son tour, affecte négativement la fondation et conduit finalement à sa destruction.En hiver, les climatiseurs qui ne sont pas équipés d'un siphon risquent de tomber en panne en raison du gel des condensats à l'intérieur du tuyau d'évacuation.


But du produit
Le principe de fonctionnement du dispositif de climatisation est basé sur l'absorption d'eau de l'air, c'est pourquoi du condensat est produit. L'humidité reste sur les plaques froides de l'échangeur de chaleur, qui est ensuite collectée dans un récipient spécial - un tuyau de drainage. Par conséquent, on considère que si de l'eau s'écoule du climatiseur (réservoir externe), il s'agit de son état de fonctionnement normal.
L'égouttement constant d'eau du tuyau de drainage externe du climatiseur ne dérange pas du tout ses propriétaires - il ne goutte pas dans l'appartement. Cependant, cette situation peut avoir de nombreuses conséquences négatives :
- Des gouttes d'eau constantes, en particulier lors de l'installation d'un climatiseur dans une maison privée, peuvent endommager non seulement la zone aveugle, mais également les fondations du bâtiment.
- Lors de l'installation d'un climatiseur dans un immeuble à logements, les gouttes d'eau peuvent causer des problèmes aux occupants des étages inférieurs. Il est peu probable que quiconque soit heureux d'écouter le bruit constant des gouttes sur le rebord de la fenêtre, le balcon ou de se mouiller sur le mur extérieur de l'appartement.
- En soi, le type de dispositif de climatisation à partir duquel l'eau s'égoutte n'est pas particulièrement agréable à l'œil.
- La présence de problèmes avec l'utilisation du dispositif de climatisation en hiver, car le liquide dans le tuyau de vidange peut geler et, par conséquent, le climatiseur lui-même peut se casser.

De plus, l'Union européenne a déjà complètement interdit l'installation de climatiseurs impliquant la pénétration de condensat dans l'environnement extérieur. Dans un avenir proche, les législateurs nationaux pourraient également s'occuper de cette question.
Autorisations et interdictions
L'approbation obligatoire et l'obtention de permis pour l'installation d'unités extérieures sur les façades ne sont réglementées qu'au niveau de la législation régionale. Par exemple, à Moscou jusqu'en 2011, il était nécessaire d'obtenir un permis obligatoire pour la climatisation. Et à Saint-Pétersbourg, une norme similaire est valable aujourd'hui. Il existe également un certain nombre d'interdictions similaires dans la plupart des grandes villes. Selon eux, vous ne pouvez pas :
- Montez les unités extérieures sur la face avant des bâtiments au design moderne et unique (à certains endroits, l'interdiction est remplacée par une approbation obligatoire ou la nécessité de recouvrir l'appareil d'un élément décoratif);
- Installer des climatiseurs sur les murs des bâtiments à valeur historique et artistique ;
- Installer les climatiseurs dans les arches de manière à gêner les piétons et le passage des véhicules ;
- Fixez les équipements aux éléments muraux décoratifs (pilastres, colonnes, rosaces, entablement).
Il n'y a pratiquement aucun problème d'installation sur les murs des maisons typiques donnant sur la cour de la maison. Mais si la maison est classée monument architectural, le montage de blocs extérieurs sur ses murs nécessite des autorisations spéciales, qui ne sont délivrées que dans de rares cas.
Comment nettoyer le drain du climatiseur
Souvent, le propriétaire essaie lui-même de nettoyer le tuyau de vidange du climatiseur à la maison à l'aide de moyens improvisés, par exemple du fil. Cette méthode résout le problème, mais seulement pendant quelques jours. Bientôt, les débris de l'échangeur de chaleur pénétreront à nouveau dans le système de drainage et obstrueront le tuyau de vidange, entraînant une fuite du climatiseur. Par conséquent, il sera correct de nettoyer non seulement le système de drainage, mais également de désinfecter les filtres situés dans l'unité intérieure.
Avant de nettoyer vous-même la vidange du climatiseur, vous devez lire le mode d'emploi de l'unité murale installée, mais dans la plupart des cas, l'appareil doit être partiellement démonté. Comment démonter correctement, il vaut mieux regarder la vidéo.
Le système est nettoyé dans l'ordre suivant :
Préparation préliminaire. Avant de nettoyer la vidange du climatiseur, débranchez l'appareil du secteur. Ensuite, vous devez démonter le couvercle qui bloque l'accès à l'unité intérieure du climatiseur.
Nettoyage du filtre. Après avoir démonté le couvercle, les filtres grossiers peuvent être retirés. Ils doivent être lavés à l'eau courante, en utilisant, si nécessaire, une solution savonneuse pour éliminer les anciennes salissures. Les filtres lavés doivent être soigneusement séchés.
Nettoyage de palettes. L'étape suivante consiste à retirer le bac dans lequel le condensat s'accumule, tout en débranchant le tuyau de vidange. Pour que l'opération se déroule correctement, il est recommandé de clarifier la méthode de déconnexion dans les instructions d'utilisation.
La casserole est soigneusement lavée à l'eau savonneuse, il est particulièrement important de bien nettoyer le drain
Nettoyage du tube de vidange. Pour nettoyer le tuyau de vidange, utilisez un aspirateur. Avec un nettoyage régulier, il fait un excellent travail d'élimination de la saleté, mais si le système a été entretenu pour la dernière fois il y a longtemps, vous devrez verser un liquide spécial pour nettoyer les climatiseurs dans le tube, ce qui adoucira le blocage. Le liquide est versé dans le tube avec une seringue et attendez environ 30 minutes, après quoi l'aspirateur est à nouveau utilisé pour éliminer la saleté ramollie.

Désinfection du système. Après avoir effectué toutes les procédures de nettoyage du système, vous devez vous occuper de la désinfection de l'appareil.Pour traiter la palette, les filtres et les tubes, vous pouvez utiliser à la maison de la chlorhexidine, qui peut être achetée dans n'importe quelle pharmacie (un aperçu des produits est donné dans cet article, et la procédure générale de nettoyage des systèmes divisés peut être trouvée ici).
Le plateau est essuyé avec un chiffon imbibé de solution, les filtres sont traités à l'aide d'un pistolet pulvérisateur et la chlorhexidine est simplement versée dans le tube de vidange pendant 15 minutes, après quoi elle est lavée à l'eau courante.
L'étape finale. Après avoir traité les systèmes principaux, retirez la poussière et la saleté de l'échangeur de chaleur avec une brosse à vêtements douce et replacez le couvercle.
Un entretien régulier du climatiseur aidera à maintenir un climat favorable et sûr dans l'appartement.
Comment se débarrasser de la condensation
-
Le moyen le plus courant et le plus rentable, mais pas le meilleur et le plus correct, consiste simplement à faire sortir le tuyau de vidange par la fenêtre à travers un trou dans le mur. Les avantages sont évidents - j'ai percé un trou, posé un tuyau et le tour est joué. Les côtés négatifs sont l'effet des "gouttes de pluie" qui tambourinent sur les rebords de fenêtre, et plus la hauteur est élevée, plus le coup est fort. Une telle décision se heurte à une confrontation avec un voisin en colère qui est empêché de dormir par votre "batterie". Le côté esthétique de la mise en œuvre doit également être noté dans les inconvénients - les tuyaux suspendus au mur n'ajoutent aucune beauté à l'intérieur de la pièce.
Sur une note. Les éditions modernes de SNiP et SanPiN interdisent le retrait du ruissellement à travers le mur. Il est également interdit de s'écraser dans un égout pluvial - lors de fortes pluies, la pression dans l'égout pluvial sera si forte que la pièce sera inondée par un flux d'eau inverse du LC.Cela se produit lorsque le LC ne peut pas faire face au flux de pluie et est complètement rempli sur toute sa longueur - alors la pression qu'il contient atteint sa valeur maximale.
-
Beaucoup plus compétent sera l'évacuation du condensat du climatiseur dans les égouts.
Dans cette option, les inconvénients de la première méthode sont résolus - les déchets issus du fonctionnement de l'unité sont fusionnés dans un réseau spécialement conçu à cet effet. Il peut s'agir soit du système d'assainissement général du bâtiment, soit d'un réseau de canalisations spécialement aménagé. Le drainage s'effectue soit par gravité, du fait de la pente négative des canalisations, soit à l'aide d'une pompe.
Il convient de prêter attention à certaines nuances lors de la mise en œuvre d'un rejet dans l'égout général:
- Pour empêcher la pénétration d'odeurs désagréables du tuyau dans la pièce, il est nécessaire d'installer un joint hydraulique - une partie du tuyau de drainage courbée sous la forme de la lettre anglaise S. L'eau qui restera dans le bas du genou créera une barrière insurmontable aux "arômes d'en bas".
- Pendant la saison chaude et avec des temps d'arrêt prolongés des climatiseurs, le joint d'eau peut se dessécher et l'air commencera à "sentir". Pour éliminer une telle nuisance, il suffit de verser quelques litres d'eau dans le drain.
- Si la gravité est utilisée, assurez-vous de calculer le diamètre et la pente minimum requis du système afin que tout le condensat s'écoule librement le long de celui-ci.
Il existe des systèmes fractionnés
Il ne faut pas oublier que la prévention du système de vidange doit être effectuée au moins une fois tous les trois mois. Même si le climatiseur n'a pas fonctionné tout ce temps, rien n'a empêché la saleté de s'accumuler et les organismes pathogènes de se développer dans tous ses coins et recoins.
Erreurs typiques lors de l'installation d'un climatiseur
Le non-respect des exigences d'installation est une cause fréquente de défaillances dans le fonctionnement des systèmes divisés et d'augmentation déraisonnable des factures d'électricité. Voici une liste des défauts populaires.
N° 1. Installation au mauvais endroit. Les exigences pour le placement des blocs divisés ont été discutées ci-dessus. Les artisans inexpérimentés commettent des erreurs courantes : installation au-dessus d'un radiateur ou dans une zone d'exposition directe au soleil.
N° 2. Roulement de mauvaise qualité.
La présence de rugosités, de rainures et de bavures empêche la circulation normale du fréon et détériore l'ajustement aux raccords. En conséquence, il peut y avoir une fuite de fréon (+)
Numéro 3. Incohérence du volume de fluide frigorigène avec la longueur du parcours. La quantité de fréon est directement proportionnelle à la longueur du circuit. Si la ligne a été augmentée / diminuée, mais que son volume n'a pas été corrigé, le climatiseur ne fonctionne pas correctement et finit par tomber en panne.
Numéro 4. Manque d'isolation thermique. Le trou dans le mur pour la pose de la ligne doit être rempli de mousse. Si cela n'est pas fait, les changements de température provoqueront l'apparition de condensat - l'humidité se déposant sur le béton entraînera la formation de champignons.
N ° 5. Tuyaux en cuivre cassés.

Dans les lieux d'inflexions, le débit est réduit. En conséquence, la charge sur le compresseur augmente et l'appareil produit la ressource requise plus tôt que prévu.
Numéro 6. Connexion par câble peu fiable. Les erreurs dans la disposition du câblage électrique entraînent non seulement une panne de l'équipement climatique, mais également un incendie ou un choc électrique.
N° 7. L'utilisation de matériaux de mauvaise qualité. Les supports fragiles peuvent ne pas être en mesure de supporter la charge, surtout en hiver lorsque la neige s'accumule sur le bloc fendu.Mesures préventives : choisir un support fiable et installer une visière de protection au-dessus de l'unité extérieure.
Début des travaux
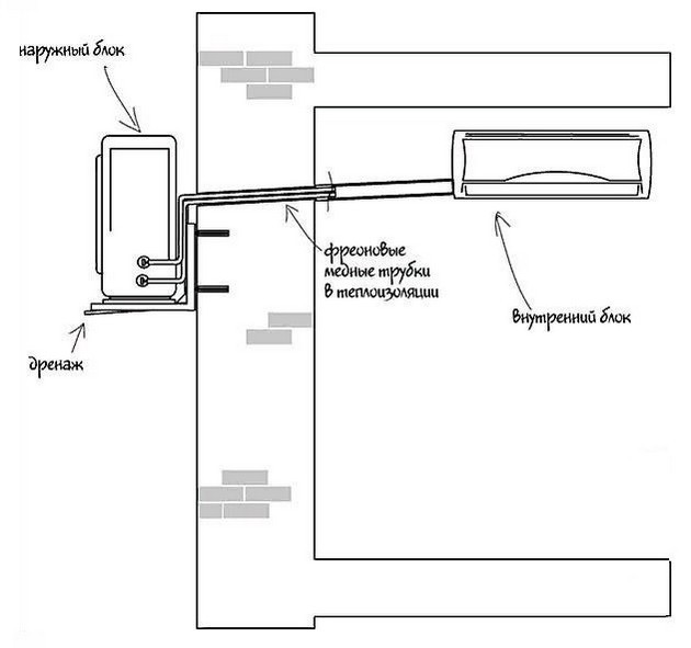
La première étape consiste à concevoir l'emplacement du système de climatisation. Ainsi, par exemple, vous devez déterminer où les deux unités de climatisation seront situées. C'est un fait bien connu que le système divisé se compose de deux blocs, dont l'un est situé à l'intérieur de la pièce et l'autre - à l'extérieur, à l'extérieur du bâtiment. Ils sont respectivement appelés unités intérieures et extérieures. Parallèlement, un préalable est également la prise en compte du fait qu'ils doivent être reliés par un parcours particulier, présenté sous forme de tubes en cuivre.
Les premières étapes sont également liées à l'étude de la documentation fournie avec votre système de climatisation. Il devrait également être écrit ce qui peut être fait et ce qui ne peut pas être autorisé. En outre, il décrit les caractéristiques de la longueur maximale possible reliant les deux blocs de l'autoroute. Le travail lui-même est réalisé comme suit:
- Ainsi, le travail proprement dit commence par l'installation du composant externe. Comme pour le condenseur, cet élément doit être placé à l'extérieur du mur. Dans ce cas, les résidents de l'étage inférieur et les heureux propriétaires d'un balcon non vitré ont été particulièrement chanceux. Cela s'explique par la facilité d'installation de l'unité extérieure du système split, qui peut se faire à la main. Dans toutes les autres situations, l'aide d'installateurs en haute altitude sera nécessaire.
- La fixation de la partie extérieure du système au mur s'effectue à l'aide de supports. Ils sont également fixés avec des boulons d'ancrage.Si vous réfléchissez à la manière d'installer correctement un système divisé, n'oubliez pas de positionner parfaitement uniformément le composant extérieur du système divisé. Une fiabilité maximale doit également être assurée. Cela peut s'expliquer par le fait que le condensateur sera situé sous l'influence de toutes sortes d'influences naturelles pendant plus d'un an.
- D'autres actions sont liées à une étape telle que l'installation de l'unité intérieure. Pour atteindre cet objectif avec compétence et correctement, vous devrez également essayer. Nous prenons le niveau du bâtiment et, à l'aide de chevilles, installons une barre spéciale dans le mur, sur laquelle l'évaporateur sera monté. Il convient également de noter que la barre correspondante dans la grande majorité des cas est le kit de livraison du système de climatisation. Comme vous pouvez le constater, les règles d'installation de l'unité extérieure sont quelque peu différentes.
Évaluation de l'impact sur la santé
Le danger de condensat ne réside pas seulement dans l'inondation ou la panne probable du climatiseur lui-même. La principale menace est l'atteinte à la santé. Plusieurs facteurs contribuent à la reproduction confortable des bactéries : la chaleur, la saleté et l'eau. Pourquoi pas des conditions idéales pour le développement de diverses maladies?
Les moisissures noires peuvent causer de nombreuses maladies graves, dont le cancer. Les bactéries provoquent souvent une pneumonie. La mortalité due à la "maladie du légionnaire" est très élevée.
Si le tuyau de vidange est obstrué, débranchez-le et soufflez-le. Si le système a été correctement monté, sans plis, la saleté accumulée devrait s'envoler de l'extrémité opposée
Une odeur dégoûtante est le moindre de tous les maux.L'apparition d'une odeur désagréable signale clairement au propriétaire du système de climatisation qu'un nettoyage majeur du drainage est nécessaire.
Vidange dans le réseau d'égouts
La meilleure solution consiste à évacuer le condensat à l'égout. Le problème avec ce drain est que les logements climatisés n'ont généralement pas de section d'égout.
Que faire si le condensat de l'unité climatique s'écoule dans la pièce traitée sera décrit dans l'article suivant, que nous vous recommandons de lire.
La solution est l'une des suivantes :
- Pose d'un tuyau de drainage en respectant les pentes vers l'égout dans une autre pièce.
- Installation d'un tuyau d'égout dans la pièce dans laquelle le climatiseur est installé.
Choisissez la méthode d'évacuation des condensats qui vous convient. En règle générale, la complexité et le coût des matériaux sont inférieurs dans le premier cas.
Schéma de l'embranchement à l'intérieur de la maison
L'unité extérieure ne produit pas de condensat en mode refroidissement. Dégoulinant sur la tête des passants en été chaud, l'eau du climatiseur est collectée dans le module interne. Et puis il est retiré du bain de stockage spécial par le tuyau de drainage vers l'extérieur.
Mais il n'est pas nécessaire d'évacuer le liquide vers le module externe du système. Le condensat recueilli dans la pièce peut être envoyé du climatiseur à l'égout jusqu'à la colonne montante la plus proche indiquée dans le schéma de tuyauterie à l'intérieur de la maison. Plus la longueur de la section du système de drainage entre le module intérieur du système divisé et l'égout est courte, plus il sera facile d'entretenir et de réparer la conduite principale.

Lors de la conception et de l'installation, un grand nombre de tours de la conduite d'évacuation des condensats doit être évité. Il est préférable de faire un trou dans le mur lors de la pose de la ligne vers la pièce voisine
Le raccordement d'une conduite d'évacuation des condensats à un système d'égouts nécessite des connaissances et de l'expérience. Si vous allez faire ce travail vous-même, consultez des artisans qui ont une expérience pratique dans ce domaine.
Installation d'un siphon pour les condensats
Un joint hydraulique sert de protection contre la pénétration d'odeurs désagréables de l'égout dans la pièce. Cette fonction est assurée par un siphon d'égout conventionnel. L'appareil est monté à la jonction du raccordement des tuyaux d'égout et de drainage.
L'humidité du climatiseur s'accumule d'abord dans le siphon. À un certain niveau de l'appareil, il y a un obturateur qui libère du liquide dans les égouts. Les siphons sont équipés d'une valve de protection qui protège contre la pénétration des odeurs.
Par méthodes d'installation, les siphons sont classés en:
- fermé encastré dans le mur;
- conception ouverte extérieure;
Structurellement, ils sont conventionnels avec un joint d'eau, à bille avec un élément de blocage en caoutchouc, à sec avec un jet break et sans cette fonction, etc.
Les siphons fermés intégrés ont différentes dimensions de profondeur. Pour les monter dans le mur, vous devez sélectionner le modèle correspondant aux dimensions spécifiques.

Siphons externes pratiques en plastique transparent, permettant de surveiller leur débordement et leur contamination
L'efficacité d'un appareil se caractérise par son débit. Différents modèles de siphons diffèrent par le type de filetage. Gardez cela à l'esprit lors de l'achat d'équipement.
Nettoyage du système de drainage
Éliminez les fuites d'eau du climatiseur, qui ont été causées par le colmatage du système de drainage, l'utilisateur peut le faire indépendamment. Dans le même temps, il est nécessaire de nettoyer non seulement le système de drainage, mais également les filtres de l'échangeur de chaleur.Sinon, la poussière accumulée sur l'évaporateur obstruera à nouveau le trou de vidange du bac de récupération. Pour nettoyer le système de drainage, vous devez :
- Débranchez le climatiseur de l'alimentation électrique.
- Retirez le couvercle et les filtres grossiers.
- Retirez délicatement le bac où le condensat s'accumule. Pour ce faire, débranchez le tuyau de vidange.
Ensuite, vous devez bien rincer la casserole, nettoyer le trou de vidange des débris et de la saleté accumulés. Vérifier ensuite l'état du tube de vidange. S'il est obstrué, nettoyez-le avec de l'air. En cas de colmatage important, il est nécessaire de verser dans le tube un liquide spécial pour le nettoyage des climatiseurs. Ensuite, après avoir attendu 20 à 30 minutes, enlevez la saleté avec un aspirateur.
La chlorhexidine désinfecte les pièces du climatiseur
Les filtres grossiers retirés sont également soigneusement lavés puis séchés. L'évaporateur est dépoussiéré à l'aide d'une brosse douce et d'un aspirateur.
Pour terminer le processus de nettoyage du système de drainage, de nombreux experts recommandent de le désinfecter. Pour ce faire, utilisez une solution de chlorhexidine, qui est utilisée pour traiter le bac et les filtres grossiers. De plus, une petite quantité de médicament doit être versée dans le tuyau de vidange, après avoir attendu 15 à 20 minutes, il est lavé à l'eau courante, tout en éliminant les débris et la saleté du tuyau de drainage.
Sur ce point, le processus de nettoyage du système de drainage peut être considéré comme terminé. Après avoir installé toutes les pièces retirées à leur place, vous pouvez connecter le climatiseur au secteur et poursuivre son fonctionnement.
Règles et ordre d'installation
En fonction de l'endroit choisi pour placer la partie extérieure climatiseur sont déterminés par les nuances d'installation. Il existe plusieurs options pour l'emplacement de la structure, donc lors de l'installation, vous devez utiliser les instructions appropriées.
Caractéristiques du placement de l'unité extérieure sur un balcon vitré :
Les caractéristiques sont pertinentes pour les pièces vitrées. L'emplacement du climatiseur sur les balcons ouverts ne diffère pratiquement pas de l'installation sur la façade.
1. L'unité extérieure du système split évacue la chaleur de l'unité intérieure et augmente la température de l'air ambiant. Pour éviter qu'il ne surchauffe et réduise l'efficacité du système de fenêtres sur la loggia, ouvrez les fenêtres pendant toute la durée de fonctionnement du climatiseur. Ou vous pouvez commander l'installation d'un treillis pour un balcon ou une isolation thermique complète du climatiseur.
2. Le son de l'unité extérieure en fonctionnement sera réfléchi par les plans du balcon et peut être légèrement plus élevé par rapport à un placement à l'extérieur. Le niveau et l'intensité dépendent directement du système split, il est donc préférable de choisir des climatiseurs inverter silencieux de marques éprouvées (par exemple, Fujitsu, Daikin, Tosot, Lessar).
3. Gardez la porte de la loggia fermée. Cela empêchera l'air chaud d'entrer dans la chambre réfrigérée.
4. Si vous prévoyez d'utiliser un système split pour le chauffage, commandez en plus une évacuation des condensats de l'unité extérieure.
Conseils: Si vous souhaitez rafraîchir plusieurs pièces, et que vous n'avez qu'une seule loggia et que sa surface est petite, au lieu de plusieurs climatiseurs, il vaut mieux commander un système multi-split. Il peut être connecté à jusqu'à 8 unités intérieureset l'espace que vous économisez peut être utilisé à bon escient.
Sur le parapet
L'option la plus courante pour fixer le climatiseur consiste à fixer l'unité extérieure sur le parapet.Vous pouvez fixer la structure de la façade ou sur les côtés.
Lorsque vous placez l'unité extérieure sur le parapet, il est recommandé de la renforcer d'abord, car le poids de la structure est assez important. Pour ce faire, pré-installation d'une structure de montage spéciale. L'installation du climatiseur lui-même s'effectue comme suit:
Un trou est fait dans le mur de la pièce pour les communications avec le balcon.
Montez l'intérieur du climatiseur.
Des supports pour l'unité extérieure sont installés sur le parapet, après quoi il est fixé sur la clôture. Les supports sont mieux soudés aux parties métalliques de la clôture ou fixés avec des ancres.
Les unités intérieure et extérieure sont reliées par une voie de communication
Il est important que les tubes de réfrigérant ne soient pas pliés une fois les blocs combinés.
La voie de communication est recouverte d'une boîte en plastique pour la protéger des influences extérieures.
Vitrage panoramique
Il est possible d'installer une unité extérieure d'un climatiseur sur un balcon avec des vitraux, mais l'installation ne s'effectue pas au mur. Le bloc est placé dans l'un des coins du sol. Pour masquer visuellement le design et donner un aspect décoratif, il est recommandé de construire une boîte à partir d'un profilé métal-plastique. Des portes avec poignées sont fabriquées des deux côtés pour permettre l'accès au climatiseur pour le nettoyage et l'entretien périodiques.
modèle de fenêtre
Les variétés de climatiseurs de fenêtre sont assemblées dans un seul boîtier et sont montées directement dans une ouverture de fenêtre ou un trou dans le mur. Par rapport au système fractionné, ces modèles d'équipement présentent les différences suivantes :
- le corps recouvre une partie de la fenêtre, ce qui réduit la quantité de lumière transmise ;
- lors des travaux d'installation, il est nécessaire de modifier la structure standard du cadre de fenêtre;
- le coût de construction est beaucoup moins cher en raison de la présence d'une seule unité et de moins de réfrigérant ;
- pour installer un modèle de fenêtre de climatiseur, vous n'avez pas besoin de compétences particulières et vous pouvez effectuer le travail vous-même;
- certains types de structures de fenêtres ventilent en outre la pièce, car une partie de l'air sort et en même temps de l'air frais entre.

Dilatation des tuyaux en cuivre
Nous passons à l'étape de préparation des tubes.
Erreur #5
Il est permis de les couper uniquement à l'aide d'un coupe-tube spécial, pas de scies à métaux ni de meuleuses!
Lors d'une coupe, il est nécessaire de maintenir l'extrémité du tuyau en cuivre strictement vers le bas afin d'empêcher tout copeau de pénétrer à l'intérieur.
Les extrémités sont traitées avec un rimmer.
Attention à ne pas rayer la jupe avec le liseré. La qualité du roulement est l'un des points les plus importants dans l'installation d'un climatiseur.
Erreur #6
L'évasement est effectué avec un outil spécial avec un excentrique. N'oubliez pas de mettre l'écrou-raccord sur le tube avant cette étape !
La largeur de l'évasement doit être telle que la connexion aboutisse librement et sans entrave dans l'écrou.
La hauteur d'installation du tube dans la pince à rouler est strictement réglementée.
La façon la plus simple et la plus éprouvée de déterminer la qualité du roulement, au moins au stade initial, est de voir votre reflet dans la «jupe».
L'évasement des tuyaux de l'unité extérieure devra se faire sur rue en poids. Sinon, la ligne ne passera tout simplement pas dans le trou.
Erreur #7
Veuillez noter - si l'installation n'a pas lieu par une journée chaude et chaude, alors ramenez les tuyaux en cuivre de la rue à la maison, fermez leurs extrémités et assurez-vous d'attendre que le cuivre atteigne la température ambiante.
Si vous les apportez froids et ouverts, en raison de l'effet du point de rosée, de la condensation se forme à l'intérieur du tube, ce qui, sur un climatiseur mal évacué, peut avoir de tristes conséquences.
Conclusions et vidéo utile sur le sujet
La vidéo suivante vous familiarisera avec les caractéristiques du dispositif d'évacuation de l'eau condensée lors du fonctionnement du climatiseur :
Lors de l'installation d'équipements climatiques, il est nécessaire de prendre en compte les caractéristiques du dispositif de vidange du climatiseur. Si les tuyaux du système divisé ont été correctement posés et qu'un joint hydraulique a été installé, le fonctionnement de l'unité ne gênera personne. Où éliminer le condensat, il est préférable de décider au stade de la conception de l'itinéraire et de l'emplacement des blocs.
Voulez-vous parler de votre propre expérience dans l'organisation du drainage pour la technologie climatique ? Avez-vous des informations sur une solution intéressante et pratique au problème? Veuillez laisser des commentaires dans le formulaire ci-dessous, poser des questions, partager vos impressions et photos sur le sujet de l'article.

















































