- Comment créer un four à faire soi-même
- Poêle de garage et ses caractéristiques
- Chauffage bricolage
- De deux pots
- Modèle compte-gouttes
- Installation et test de l'appareil
- Comment faire un poêle à ventre en acier
- Séquence de fabrication
- Quel métal utiliser
- Nous fabriquons un poêle à ventre au travail
- brique chaude
- Poêles de garage et leurs variétés
- Puzzle bricolage
- Avantages et inconvénients
- Fours métalliques
- Avantages
Comment créer un four à faire soi-même
Fours, créés indépendamment, et fonctionnant dans l'huile usée sont les unités de chauffage de garage les plus populaires. Aucune compétence ou connaissance particulière n'est requise pour réaliser le modèle le plus simple d'un tel four. Le carburant de cet appareil peut être n'importe quel pétrole (schiste, machine, industriel, transmission), diesel et mazout, déchets de production de peinture et de vernis. Tout cela peut donner un transfert de chaleur, qui est similaire à un radiateur électrique.

besoin d'un nettoyage régulier
L'ensemble du four se compose de deux conteneurs, qui sont reliés entre eux par un tuyau vertical avec de nombreux trous. Il est recommandé de respecter certaines normes :
- Dimensions générales du four - 70 * 50 * 35 cm;
- Faites la coupe transversale de la hotte à moins de 105 cm;
- La capacité des conteneurs est d'environ 12 litres ;
- Poids total - 30 kg;
- La consommation de carburant ne doit pas dépasser 1 à 1,5 l/heure.
Pour fabriquer un tel four, il vous faut:
- Deux conteneurs en métal ;
- Tuyaux en acier;
- Coin en métal;
- Branche de tuyau ;
- Cheminée galvanisée ou finie.
Outils importants :
- Bulgare;
- Machine de soudage;
- outil de mesure;
- Boulons ou rivets, petits outils.
Poêle de garage et ses caractéristiques
Le poêle dans le garage est en métal ou en matériau mural - briques, blocs, pierres.
Compte tenu de la spécificité du poêle dans le garage, les exigences suivantes sont avancées pour celui-ci :
- petite taille;
- coût budgétaire ;
- facilité d'utilisation;
- taux de chauffage élevé;
- maintenir une température élevée pendant une longue période;
- facilité de construction;
- capacité à utiliser des combustibles solides et liquides.
Dimensions du four pour le garage.
Les fournaises sont divisées en plusieurs types, selon le type de combustible:
- Four à gaz.
Un chauffage au gaz est plus pratique lorsqu'il y a un chauffage central à proximité. Le coût d'un tel système de chauffage est faible, mais vous devez être conscient du risque d'explosion. - Poêle à bois.
Les combustibles solides sont assez pratiques et peu coûteux pour le chauffage. Ils chauffent rapidement n'importe quelle zone, alors que le coût des matériaux est faible. - Radiateurs électriques.
Un radiateur électrique est très efficace en termes de puissance calorifique, mais le coût de ce type de chauffage de buanderie n'est pas bon marché. - Le four sur les matériaux remplis.
Souvent, après une utilisation à long terme de l'huile moteur, les matériaux sont utilisés pour le chauffage des locaux.Étant donné que l'huile ne s'éteint pas d'elle-même et qu'il s'agit également d'un matériau liquide qui se décompose en composés chimiques nocifs, cette méthode peut être une option dangereuse non seulement pour la sécurité incendie, mais également pour la santé humaine.
Un poêle à bois est l'option la plus populaire et la moins chère parmi les consommateurs pour chauffer un garage.
Chauffage bricolage
Bien sûr, un four solaire pour locaux résidentiels, garages, serres et autres petites installations peut être acheté au magasin. Leurs prix sont raisonnables. Mais aucun modèle de moins haute qualité ne peut être fabriqué indépendamment.
Il existe plusieurs types de réchauds pour le kérosène, le carburant diesel ou l'huile usée, c'est-à-dire pour le carburant liquide. Chacun a ses propres mérites et démérites.

Un réchaud à combustible liquide à faire soi-même ne différera pas beaucoup en qualité de celui acheté dans un magasin
De deux pots
Cette version du four se compose de deux parties de forme ronde ou rectangulaire. Dans le bas, réalisé sous la forme d'un récipient à pattes, on verse peu de carburant ou de carburant diesel. Ici, le combustible liquide, en s'évaporant, passe par l'étape de la combustion primaire. Le récipient inférieur est relié au supérieur au moyen d'un tuyau perforé, dans lequel a lieu la combustion secondaire. De nombreux trous sont percés dans le tuyau lui-même, qui fournissent de l'air secondaire.
Le couvercle du réservoir inférieur a deux ouvertures : pour verser le carburant et avec un registre pour aider à réguler l'intensité de la combustion. La combustion elle-même est réalisée grâce à l'apport naturel d'air, c'est-à-dire à la poussée.
Un tel poêle a un rendement élevé et chauffe bien la pièce, mais il présente un certain nombre d'inconvénients.
Premièrement, même lorsqu'une petite quantité d'eau pénètre dans un liquide combustible, des gaz d'échappement bruyants et désagréables commencent à se produire, souvent avec des flammes ou des étincelles provenant de la combustion d'huile, ce qui peut provoquer un incendie.
Deuxièmement, à la fois pendant l'allumage et pendant le fonctionnement, un tel modèle dégage une odeur désagréable. Cela peut être un problème sérieux lors de l'utilisation du poêle dans une zone résidentielle.
Une telle modification ne nécessite pas l'utilisation de matériaux spéciaux et peut être réalisée à partir de matières premières improvisées. Cela explique son immense popularité.
En savoir plus sur le réchaud ballon :
Modèle compte-gouttes
Une version similaire du poêle, bien que techniquement plus difficile pour une production artisanale, est plus sûre et plus efficace. Auparavant, il était utilisé sur le terrain. Le poêle peut être appelé militaire, car ce sont souvent les militaires ou les géologues qui ont fabriqué de tels appareils.
Le fonctionnement du poêle pour une serre au diesel ou à un autre combustible liquide est basé sur la méthode d'alimentation goutte à goutte dans la chambre de combustion. Pour mettre en œuvre un tel projet, vous pouvez utiliser une vieille bouteille de gaz ou un tuyau de grand diamètre. Au fond, il y a un petit récipient, comme un bol, où le carburant diesel brûlera.
Un tuyau perforé est installé par le haut jusqu'au bol lui-même, à travers lequel l'air pénètre. De ce fait, le four s'avère particulièrement économique, car non seulement la combustion des vapeurs de carburant, mais également des gaz de pyrolyse se produit.
Un tube est installé à l'intérieur du tuyau d'alimentation en air à travers lequel le carburant est fourni.Et le réservoir de carburant lui-même est situé à distance de la structure principale, ce qui rend l'installation plus sûre. Le dosage du carburant est intéressant. Ici, un compte-gouttes ordinaire trouve son application et le débit est régulé par un distributeur.

Un tel four peut fonctionner non seulement sur le carburant diesel, mais aussi sur l'exploitation minière
Il serait utile de faire deux trous supplémentaires, dont l'un sert de fenêtre de visualisation et le second est conçu pour nettoyer l'appareil de l'intérieur. Ils agiront également comme une valve explosive en cas de besoin.
Afin d'augmenter les performances d'un tel radiateur, il est possible d'ajouter un ventilateur réglable pour souffler de l'air. Cela donnera non seulement une meilleure combustion, une augmentation de la température et une meilleure efficacité, mais aussi la possibilité d'un contrôle plus précis de la température.
Le modèle résultant d'un poêle fait maison peut fonctionner à la fois au diesel et à l'huile usée.
Installation et test de l'appareil
Le poêle est installé dans un endroit à l'épreuve du feu et non sur un sol en bois (linoléum). Il est conseillé de prévoir un bac avec du sable dans le garage en cas d'incendie. Les courants d'air, l'installation dans des conditions exiguës (sous des étagères à charnières, des racks) sont exclus. Versez de l'huile dans le réservoir inférieur. Il est conseillé de le nettoyer avant utilisation, laissez-le reposer.
Une cheminée doit être installée, sinon le poêle du garage ne peut pas être utilisé. Les impuretés de l'eau ne sont pas autorisées dans l'huile. Tout d'abord, versez une petite portion, quelques litres. Ensuite, à l'aide d'une mèche en papier, l'huile du réservoir est enflammée. En ouvrant ou en fermant l'amortisseur, une traction stable est obtenue. Après 2-3 minutes, le poêle se met en marche, l'huile bout. L'appareil est prêt à l'emploi.
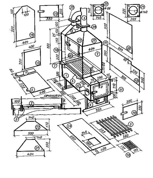
Comment faire un poêle à ventre en acier
Poêle à ventre plat de type convection.
Si vous avez besoin de chauffer une maison à la campagne et de cuisiner, vous devez absolument savoir comment souder vous-même un poêle à ventre en tôle d'acier. Cette conception ne nécessitera pas beaucoup de carburant. Ceci est réalisé grâce à l'installation de cloisons dans le four, à une fixation fiable des portes et à la possibilité de régler le débit d'air. Pour fabriquer un tel appareil de vos propres mains, vous devrez préparer les éléments suivants:
- tôle d'une épaisseur de 4 mm ou plus;
- métal d'une épaisseur de 8 à 12 mm, à partir duquel des cloisons seront fabriquées;
- treillis;
- cheminée;
- coins à partir desquels les jambes seront construites;
- appareil de soudage.
Séquence de fabrication
Dans la tôle d'acier, la première étape consiste à découper les éléments pour le corps et plusieurs cloisons qui seront montées sur le dessus du foyer. Ils pourront créer un labyrinthe pour la fumée, ce qui augmentera l'efficacité du poêle. Dans la partie supérieure, vous pouvez faire un évidement pour la structure de la cheminée. Le diamètre d'évidement recommandé est de 100 mm. Ensuite, vous devrez faire un évidement pour la table de cuisson d'un diamètre de 140 mm.
Poêle poêle à ventre en tôle d'acier.
À l'aide d'un appareil de soudage, vous devez fixer les éléments latéraux au bas de la structure. Aux parois latérales, vous devrez fixer des bandes de métal de grande épaisseur. En conséquence, il sera possible de fixer la grille. Il peut s'agir d'une tôle avec des évidements d'un diamètre d'environ 20 mm. Le treillis peut être constitué de barres de renforcement. À l'étape suivante, les éléments de support d'une bande métallique doivent être fixés aux parois latérales. Après cela, l'installation des partitions est effectuée.
Les portes du foyer et du cendrier doivent être découpées dans du métal. Ils peuvent être installés sur des charnières ordinaires. Cependant, une option plus fiable consiste à utiliser des rideaux constitués de tubes et de tiges en acier. Ils peuvent être fixés sur des tas de coins. Les éléments sont découpés dans une tôle d'acier inoxydable, après quoi ils sont fixés avec des boulons. Afin de pouvoir régler l'intensité de la combustion du carburant, sur la porte qui ferme le cendrier, il est nécessaire de faire un évidement pour le montage de l'amortisseur.
À l'évidement de la structure de la cheminée, vous devez fixer un manchon de 200 mm de haut, sur lequel le tuyau sera monté. Un amortisseur dans le tube aidera à garder la chaleur à l'intérieur. Pour elle, il faudra découper un cercle dans une tôle. Une partie extrême de la tige d'acier doit être pliée. Après cela, plusieurs trous parallèles devront être faits dans le tube. Ensuite, une tige est montée, après quoi un amortisseur rond y est soudé.
Schéma d'une clôture en briques pour un poêle à ventre plat.
Le conduit de fumée doit être installé à un angle de 45°. Si elle traverse un renfoncement dans le mur, à cet endroit, la pièce doit être enveloppée de fibre de verre, puis fixée avec un mélange de ciment.
Pour éviter l'apparition de brûlures en touchant un poêle chaud, il sera nécessaire de construire un écran de protection en acier de plusieurs côtés et de le placer à une distance de 50 mm. Si l'on souhaite augmenter le coefficient de transfert de chaleur, la structure peut être recouverte de briques. Une fois la chambre de combustion terminée, la brique chauffera la maison pendant un certain temps. La pose doit être effectuée à une distance de 12 cm du corps métallique.
Le coussin d'air peut devenir une protection contre la chaleur.
Pour sa mise en œuvre, des trous pour la ventilation doivent être pratiqués dans la maçonnerie au-dessus et au-dessous.
Quel métal utiliser
En prévision de la fabrication du four, il est impératif d'inspecter le métal à la recherche de défauts - corrosion, fissures, renflements. S'ils le sont, ils doivent être traités par meulage, soudage, estampage.

La fiabilité et la durabilité du four sont données par le matériau à partir duquel il est assemblé. Les métaux appropriés pour la tâche thématique peuvent être considérés :
- Acier ordinaire;
- acier résistant à la chaleur;
- Fonte.

Si le poêle est fabriqué à partir d'un récipient fini, une canette ou un extincteur agit parfois comme ce dernier. Le matériau le plus solide est l'acier. Mais cet indicateur (force) dépend aussi de l'épaisseur. S'il est de 10-18 mm, le four durera longtemps.


S'il y a une grande quantité de fonte, vous devrez fabriquer un four lourd avec des parois de 6 à 25 mm d'épaisseur. Malgré leur poids énorme, les structures correspondantes chauffent rapidement et conservent longtemps la chaleur. En d'autres termes, les poêles en fonte ont un bon rendement.








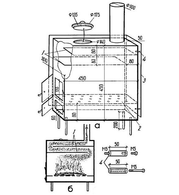
Nous fabriquons un poêle à ventre au travail
Le carburant diesel et l'huile moteur usagée sont des carburants très caloriques. Si vous l'obtenez à peu de frais, cela n'a aucun sens de jouer avec du bois de chauffage et du charbon, il est plus facile de fabriquer un poêle fiable - un compte-gouttes. Son principe de fonctionnement est de brûler l'exploitation minière, dégoulinant dans un bol chauffé au rouge. De plus, en cours de route, le carburant liquide a le temps de se réchauffer lorsqu'il traverse l'oléoduc intégré dans le tuyau - la postcombustion. Le dispositif de poêle à ventre de type goutte à goutte est illustré en détail sur le dessin.

Pour une combustion efficace du mazout, l'air est pompé dans le poêle à l'aide d'un ventilateur, et l'extraction s'écoule naturellement à partir d'un réservoir suspendu au mur à côté du radiateur.Une autre option est l'alimentation forcée en carburant en pressurisant le réservoir de carburant (par exemple, avec une pompe à main).

Un tuyau Ø219 mm et une bouteille de propane d'un diamètre de 30 cm peuvent servir de corps de four.Fabriquer un poêle à mazout avec vos propres mains est une tâche simple, l'essentiel est de faire des trous et des fentes dans la postcombustion correctement et posez le tuyau de carburant sur le bol installé au fond. Un guide de montage complet est fourni dans notre autre article. Vous pouvez voir de plus près le fonctionnement de l'appareil de chauffage à partir de la vidéo :
brique chaude
Un poêle à ventre rond au bois, au charbon et à d'autres types de combustibles peut augmenter considérablement son efficacité. Pour ce faire, il suffit de construire un écran de briques d'argile cuite autour de ses propres mains. Si vous regardez attentivement les dessins d'un tel mini-bâtiment, vous pouvez voir que les briques sont posées à une courte distance des murs du poêle (environ 10-15 cm) et, si vous le souhaitez, autour de la cheminée.
Les briques ont besoin d'une fondation. Voulez-vous que la maçonnerie dure longtemps? Versez ensuite la base à la fois pour former un monolithe. Le matériau de la fondation est préférable de prendre du béton, qui doit être renforcé avec une armature en acier de vos propres mains. Il est souhaitable de réaliser une couche de renforcement à une distance d'environ 5 cm de la surface du socle en béton.
Des trous de ventilation sont pratiqués en bas et en haut de la maçonnerie, ce qui assurera la circulation de l'air (les masses chauffées monteront, l'air froid s'écoulera par le bas). La ventilation prolonge également la durée de vie des parois métalliques du poêle ventru, retardant le moment de leur épuisement dû au refroidissement par circulation d'air.
Les briques posées autour du poêle accumulent de la chaleur, puis la dégagent pendant longtemps, réchauffant l'air de la pièce même après l'extinction du poêle à ventre. De plus, la maçonnerie protège également les objets entourant le poêle du feu.
Si vous le souhaitez, le poêle peut être entièrement en brique. Une telle structure est avantageuse en ce sens qu'elle durera de nombreuses années sans effort supplémentaire de la part du propriétaire. Cependant, il y a aussi certains inconvénients. Les inconvénients de cette option incluent les suivants :
- le processus de pose d'un tel poêle est assez laborieux et ne convient qu'aux personnes ayant une expérience de la maçonnerie de leurs propres mains;
- un poêle à ventre en brique coûte assez cher, car il nécessite l'utilisation de matériaux réfractaires, notamment des briques en argile réfractaire et de l'argile spéciale pour le mortier.
Pour obtenir un petit poêle à ventre sur bois, il suffit de disposer un cône mesurant 2 par 2,5 briques, 9 briques de haut. Dans la chambre de combustion, 2 à 4 rangées sont disposées en briques réfractaires. La brique cuite en argile ordinaire convient à une cheminée, dans laquelle vous devez vous rappeler d'insérer un manchon en acier inoxydable.
Quelle que soit la méthode de fabrication d'un poêle miniature ou d'un poêle à ventre de vos propres mains, vous les fabriquez selon un dessin ou à l'œil nu, l'essentiel est qu'à la sortie vous obteniez un appareil de chauffage efficace, et dans une configuration étendue également une plaque de cuisson pour cuisiner. Cherchez des matériaux adaptés (fûts, tôles, etc.) et dirigez-vous vers votre propre poêle fait maison ou même vers une cheminée ventrale !
Comment fabriquer une fendeuse à bois de vos propres mains? Comment installer une cheminée sandwich de vos propres mains Il n'est pas difficile de construire une cheminée pour une chaudière de vos propres mains Poêle en métal à faire soi-même Comment fabriquer soi-même un fumoir à la maison ou à la campagne
Poêles de garage et leurs variétés
Avant de vous dire comment fabriquer un poêle à faire soi-même pour une ville, essayons de considérer les principaux types de poêles et les types de combustibles à notre disposition. Pour chauffer les garages, nous pouvons utiliser :
- Gas-oil;
- Le bois de chauffage le plus courant;
- Charbon;
- Essence;
- Travailler.
Un four diesel d'atelier fonctionne sans cheminée et prend peu de place.
Un poêle diesel acheté pour un garage est une excellente solution esthétique. Il vous permettra de réchauffer complètement le garage en travaillant sur un simple carburant diesel. Un tel poêle s'enflamme rapidement et entre en mode de fonctionnement, ne nécessite pas de cheminée. Mais vous devez vous rappeler que vous serez toujours hanté par l'odeur du carburant diesel, dont il est tout simplement impossible de se débarrasser. De plus, vous devrez acheter du carburant diesel quelque part, en dépensant des sommes importantes pour le chauffage.
Il n'y a pratiquement pas de carburant diesel de haute qualité, qui donnera un minimum d'odeur désagréable, en vente.
À l'aide d'un poêle à essence pour le garage, dont nous décrirons la conception dans notre revue, vous pouvez rapidement réchauffer la salle de travail. L'essentiel est d'obtenir de l'essence bon marché quelque part. Un four de garage baril à essence vous ravira par sa facilité de fabrication. De plus, une telle unité peut être utilisé pour le chauffage tout autre local, par exemple des maisons de campagne.
La principale caractéristique de notre poêle sera l'absence de forte odeur désagréable lors de son fonctionnement.
Si vous avez un poêle à combustible solide, vous devrez trouver un endroit pour entreposer le bois de chauffage.
Les poêles à combustible solide au bois et au charbon plaisent avec simplicité et prix abordable. Le carburant pour eux est bon marché et, dans certains cas, gratuit. Le poêle de garage à bois est de conception simple, ne produit pas d'odeur désagréable de produits pétroliers et peut fonctionner avec différents types de combustibles solides. Ce n'est que maintenant que le propriétaire du garage devra constamment en retirer les cendres, mais il peut être utilisé comme engrais dans votre jardin ou votre potager.
Un poêle à mazout (c'est aussi un poêle de travail) vous plaira par la simplicité de sa fabrication. Un appareil de bricolage installé dans un garage procurera de la chaleur aux gens. Et si votre activité est liée à des vidanges fréquentes, vous disposerez alors d'une source de carburant inépuisable et gratuite. Voyons comment fabriquer un four de garage et ce dont vous avez besoin pour cela.
Puzzle bricolage

Un carré en acier avec un boulon soudé est fabriqué à la main comme bloc porte-lime.
Le bloc amélioré est soudé à l'ancien porte-scie.
Concentrez-vous sur le bureau. Le contreplaqué est choisi comme base
La zone étroite de la table en taille répète les paramètres du puzzle.
Les pieds des meubles sont montés dans le plan avant de la table, un petit support en bois est fixé au plan arrière de la zone de travail.
Pour créer un levier, utilisez uniquement des bois durs.
Le trou du levier doit être créé un peu plus grand que le diamètre du goujon (régule la tension du ressort).
Le métier fait maison décrit doit reposer sur une "semelle" qui n'interférera pas avec le flux de travail. Si nécessaire, un coin est coupé dans la zone de la plaque de base.
Avantages et inconvénients
Comme tout appareil de chauffage, un poêle à bois a ses avantages et ses inconvénients.
Regardons quelques-uns des avantages :
- Coût du carburant relativement faible.
- La polyvalence de l'appareil pendant le fonctionnement. Vous pouvez utiliser le radiateur pour chauffer des locaux, cuisiner et réchauffer des aliments.
- L'installation et l'installation d'un four de garage sont très simples et ne nécessitent pas de coûts élevés.
- Pour la fabrication de l'unité, des matériaux improvisés peuvent être utilisés.
- Pendant le fonctionnement, l'utilisation d'installations et d'appareils supplémentaires n'est pas nécessaire.
- Les petites dimensions globales de l'unité le rendent polyvalent lorsqu'il est utilisé dans les garages.
- Le fonctionnement d'un tel appareil ne nécessite pas l'utilisation d'un type d'énergie supplémentaire (électricité).
Les inconvénients de cette conception comprennent:
- Ces fours ont un transfert de chaleur important, ce qui leur permet de chauffer rapidement et de se refroidir rapidement.
- Pour maintenir une température élevée dans le four, il est nécessaire d'ajouter périodiquement du bois de chauffage.
- Une surveillance constante du processus de chauffage est nécessaire pour garantir la sécurité.


Fours métalliques
Les poêles en métal sont l'option de chauffage de garage la plus populaire. En effet, ces unités présentent de nombreux avantages :
- Compacité ;
- Poids léger;
- Niveau de chauffage élevé ;
- Facile à installer (ne nécessite pas de préparation de fondation);
- Aptitude à la cuisson.
Les poêles Potbelly se distinguent également par leur simplicité de conception :
- Foyer pour la pose de bois de chauffage ;
- Grilles (grille pour créer de la traction);
- Cendrier pour recueillir les cendres ;
- Cheminée pour évacuer la fumée.
Un tel four pour un garage sur bois de chauffage à faire soi-même devront être fabriqués à partir de structures usées en étain ou en fonte.Cependant, le marché propose des poêles à ventre prêts à l'emploi et d'occasion à des prix attractifs.
Le seul inconvénient du poêle à ventre plat est son chauffage dû au combustible solide. Ce dernier n'est pas toujours facile à obtenir, il brûle rapidement et forme un échappement.
Avantages
Un four auto-construit dans le garage plaira à l'automobiliste avec un certain nombre de qualités positives:
- la possibilité de créer des conditions de température optimales à l'intérieur, ce qui évitera les risques d'odeurs désagréables, de moisissures, de champignons. En ajustant les amortisseurs, le soufflage d'une personne est capable de réduire le taux de combustion du bois de chauffage, du charbon. Si vous jetez du bois de chauffage dans le foyer, la température de l'air augmentera rapidement. Il sera beaucoup plus agréable de travailler dans une pièce chaude, le risque d'attraper un rhume diminuera lors de la réparation d'une voiture en hiver;
- longue période de refroidissement. Un poêle en brique bien construit est supérieur dans ce paramètre aux structures en fonte et en acier. Après avoir jeté du combustible dans la fournaise pendant une longue période, l'espace sera chaud;
- plus la structure en brique est grande, plus elle sera puissante en termes de chauffage de l'air ambiant. Cependant, même une structure minuscule, si elle est correctement érigée, peut réchauffer un petit garage;
- le coût d'achat du charbon et du bois de chauffage est nettement inférieur à celui de l'utilisation du gaz principal.




































