- Montage de la minuterie du ventilateur d'extraction
- Ventilateur avec capteur d'humidité intégré
- Schéma d'aménagement de la ventilation naturelle
- Comment l'air entre-t-il dans la salle de bain ?
- Où vont la vapeur et les odeurs de la salle de bain ?
- Dispositif de ventilation pour deux pièces
- Procédure d'installation du ventilateur
- Détermination du schéma de connexion optimal dans la salle de bain et les toilettes
- Caractéristiques du montage de la hotte
- exigences de ventilation de la salle de bain
- Quelle est la différence entre ventilation forcée et ventilation naturelle ?
- Connexion via un interrupteur double
- Pour terminer
Montage de la minuterie du ventilateur d'extraction
Ainsi, la première chose à faire est de couper l'alimentation électrique du site d'installation avec le disjoncteur approprié dans le panneau électrique.
Nous préparons maintenant la minuterie pour la connexion selon le schéma indiqué ci-dessus. Étant donné que les fils de l'appareil sont toronnés, il est plus pratique d'utiliser des bornes à pince WAGO pour l'installation.
Tout d'abord, nous connectons ensemble un fil rouge et un fil noir, en les plaçant dans une prise de borne - ce seront les contacts pour connecter un zéro commun.
Maintenant, nous connectons la minuterie au câble d'alimentation, selon le schéma. Ça devrait se passer comme ça :
Fil libre restant ROUGE - connecter à PHASE
Fil NOIR restant libre - connecter à la PHASE provenant de l'interrupteur
Fils COMBINÉS ROUGE ET NOIR - connecter AU ZÉRO COMMUN
Les DEUX fils BLANCS restants sont connectés directement au ventilateur d'extraction.
Comme les fils sont assez courts, ils doivent être rallongés.
Détails sur l'installation d'un ventilateur d'extraction, nous avons déjà écrit ICI. La minuterie elle-même, le plus souvent, est cachée derrière le ventilateur, dans le conduit de ventilation.
Une fois la connexion de la minuterie terminée et le ventilateur installé, vous pouvez allumer l'alimentation et vérifier le fonctionnement de la minuterie. Ceci termine la connexion.
Ventilateur avec capteur d'humidité intégré
Il existe 2 manières de connecter des appareils équipés d'un capteur d'humidité. L'un d'eux est conçu pour un fonctionnement automatique.
- Zéro est appliqué à la borne N.
- Sur phase L -.
- Le ventilateur est connecté à la fois via l'interrupteur et directement.
L'appareil fonctionnera en continu si l'humidité de la pièce reste supérieure à 60 %. S'il tombe à 50 %, l'appareil s'éteint. Dans ce mode, la minuterie n'est pas activée.
La deuxième version du schéma de connexion implique un mode de fonctionnement étendu. Comme dans et dans la version précédente, une phase est appliquée à L, et zéro à N. Un cavalier est installé entre la borne 1 et L, sur laquelle l'interrupteur est monté.
Lorsque le circuit est fermé, l'appareil s'allume et fonctionne pendant un certain temps, à condition que l'humidité soit inférieure à 50 %. S'il est plus élevé, l'appareil continuera à fonctionner jusqu'à ce que le niveau d'humidité redescende à des niveaux normaux. Ce n'est qu'alors que le chronomètre démarre.
Schéma d'aménagement de la ventilation naturelle
Pour le fonctionnement efficace du système de ventilation naturelle dans une maison de campagne, il est nécessaire d'organiser l'entrée d'air frais de la rue et la sortie des masses d'air à travers les gaines de ventilation. Dans une maison avec des fenêtres en bois, l'air frais peut s'infiltrer à travers des fissures microscopiques dans les cadres.

La hauteur optimale de la vanne d'entrée de ventilation dans le mur extérieur de la maison est considérée comme une distance de 2 à 2,1 mètres.Il est conseillé d'installer des vannes climatiques pour un apport régulier d'air extérieur dans les fenêtres en plastique à double chambre à plusieurs chambres. fenêtres vitrées. Ces dispositifs sur les fenêtres peuvent être remplacés par des vannes d'alimentation installées dans les murs porteurs sous les appuis de fenêtre au-dessus des radiateurs ou sur le côté des ouvertures de fenêtre.
Dans le même temps, les flux d'air froid provenant de la rue seront mélangés à de l'air chaud réchauffé par des batteries. Cela signifie que les courants d'air désagréables et dangereux n'apparaîtront pas dans la maison.
Comment l'air entre-t-il dans la salle de bain ?
Des portions d'air neuf pénètrent dans la salle de bain depuis d'autres pièces d'habitation de la maison par un espace de 2 à 2,5 cm entre le sol et le vantail de la porte, prévu lors de l'installation de la porte de la salle de bain. Une autre option pour que l'air pénètre dans la salle de bain consiste à acheter et à installer des portes spéciales, au fond desquelles se trouvent des trous de ventilation sous forme de grilles ou de fenêtres rondes. Parfois, à ces fins, la porte de la salle de bain n'est pas bien fermée, surtout lorsqu'elle n'est pas utilisée.
Portes intérieures pour la salle de bain, équipées de quatre ouvertures rondes, fermées par des éléments décoratifs en treillis
Où vont la vapeur et les odeurs de la salle de bain ?
Les conduits d'évacuation sont des gaines de ventilation dirigées verticalement vers le haut.La salle de bain doit avoir son propre conduit de ventilation séparé, dont la sortie latérale est conçue en haut du mur dans le local sanitaire.
L'accès direct au conduit de ventilation est découpé directement dans le plafond de la salle de bain. C'est dans ces canaux que la vapeur est aspirée, ainsi que toutes les odeurs étrangères. La fenêtre de ventilation est fermée par une grille décorative. Les fenêtres de ventilation ne doivent en aucun cas être scellées avec du papier peint ou d'autres matériaux de finition.
Avec une bonne installation de ventilation naturelle dans la salle de bain, il y aura de l'air sec. En raison de l'élimination rapide de l'air humide, vous ne serez pas confronté aux problèmes de moisissure et de pourriture des matériaux à partir desquels votre maison est construite.
La fenêtre de ventilation dans le mur de la salle de bain a une forme ronde et est recouverte d'une grille décorative légère assortie au plafond blanc.
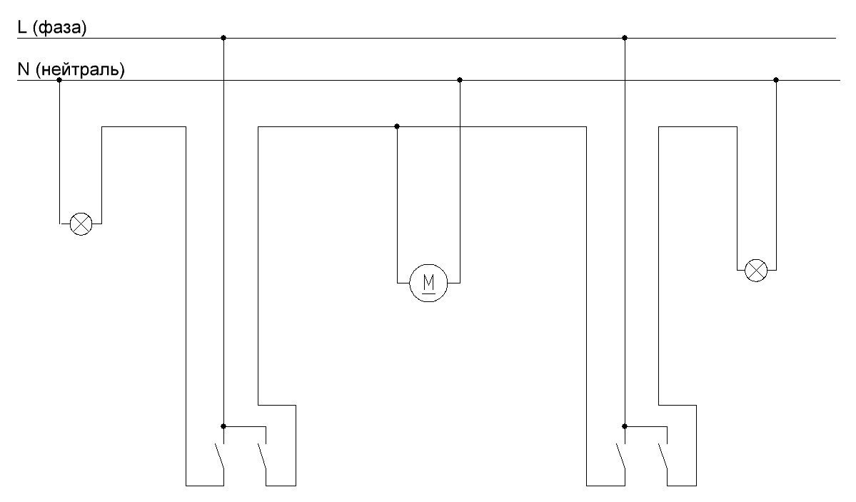
Dispositif de ventilation pour deux pièces
Dans une maison de campagne à deux étages, à travers le conduit de ventilation provenant de la salle de bain située au premier étage de l'objet, il est possible d'organiser l'évacuation de l'air des locaux au deuxième étage.
En même temps, ils coupent le conduit de ventilation non pas immédiatement à angle droit, mais à travers un petit coude, dont une partie est parallèle à la colonne montante d'échappement.
Il s'avère que l'air est aspiré par un trou situé sous l'entrée de la gaine de ventilation. Ceci est fait afin d'empêcher l'aspiration de l'air humide allongé de la salle de bain dans le salon au deuxième étage.
Procédure d'installation du ventilateur
Comme dans tout ouvrage de construction, le système de ventilation doit d'abord être conçu.Il est préférable de le faire au tout début de la rénovation de la salle de bain afin de pouvoir masquer toutes les communications dans les murs et sous le plafond.
Si nous parlons d'une salle de bain dans un appartement où il y a déjà un trou dans le mur dans un conduit de ventilation commun, il vous suffit de transformer la ventilation naturelle en ventilation forcée. Pour ce faire, il suffit de déterminer le modèle du ventilateur et le schéma de raccordement à l'électricité.
L'exception concerne les appartements dans lesquels la gaine de ventilation est adjacente à une seule des pièces d'une salle de bain séparée - un canal y sera nécessaire
Dans une maison privée, vous devez généralement construire un système à partir de zéro, conduisant le tuyau de ventilation dans la rue à travers le toit, moins souvent à travers le mur. Dans ce cas, il est nécessaire non seulement de tout réfléchir, mais également d'établir un plan, selon lequel il conviendra de compter les matériaux nécessaires et de procéder à l'installation.
Il convient de vérifier la présence de tirage naturel dans la mine existante et, en cas d'absence totale, de contacter le ZhEK pour le nettoyage. Pour un échange d'air efficace, il est préférable de placer la hotte en face de la porte ou de la vanne de débit, le cas échéant.
La prochaine étape consiste à acheter tout ce dont vous avez besoin. Cela vaut même la peine d'acheter à l'avance ce qui sera installé à la toute fin de la réparation, car un autre modèle de ventilateur peut ne pas se connecter aux fils déjà connectés.
Après avoir compris comment connecter le ventilateur acheté et choisi un schéma de ventilation, vous pouvez commencer à réparer la salle de bain.
Lors de la finition décorative des murs et du plafond, les fils sont posés dans des tubes isolants ondulés. Si nécessaire, un conduit de ventilation est construit et la taille du trou pour le ventilateur est ajustée. Le câblage et l'installation des interrupteurs sont également effectués à ce stade.
Une option alternative, disponible uniquement dans une maison privée, est l'installation d'un ventilateur de conduit. Lors de son installation, seule une plaque spéciale est vissée au mur et le corps principal avec le moteur s'enclenche dans les fixations latérales
Le ventilateur lui-même est installé après avoir terminé. L'ordre d'installation est :
- Assurez-vous que les fils du ventilateur sont hors tension.
- Retirez le panneau avant, insérez le boîtier dans le trou et marquez les points de montage sur le carreau avec un marqueur.
- Percez des trous avec une perceuse avec un foret pour céramique, enfoncez-y des chevilles. Cette étape peut être complètement négligée ou seule une partie des fixations fournies peut être utilisée. Les ventilateurs en plastique pèsent un peu, généralement des clous liquides ou de la colle polymère suffisent pour les fixer.
- Même lors du montage sur des vis autotaraudeuses, le périmètre du boîtier du ventilateur doit être enduit de silicone ou d'un autre polymère pour absorber les vibrations et éviter le bruit.
- Insérez le boîtier dans le trou, vérifiez par niveau (pour les modèles à face carrée) et appuyez fermement jusqu'à ce que le mastic prenne.
- Connectez les fils aux bornes de l'appareil et fixez-les de manière à ce qu'il ne reste plus de zones nues.
- Allumez la ventilation, vérifiez le fonctionnement dans tous les modes fournis.
- Installez le panneau avant.
Cette commande est universelle, adaptée aux ventilateurs aériens de tout modèle. Peu importe également que le ventilateur soit installé dans le mur ou au plafond - seule l'installation des modèles de conduits diffère.
Certains modèles ont un tableau de commande avec la possibilité de régler le mode de fonctionnement de la salle de bain ou des toilettes, ainsi que de régler la minuterie
Si la conception du ventilateur comprend une minuterie, un hygromètre, un commutateur de mode ou un autre équipement, n'oubliez pas de le régler avant de mettre le panneau décoratif.
Souvent, depuis l'usine, la vis de réglage de la minuterie est tournée au minimum - sélectionnez expérimentalement la durée de travail requise.
Il peut également y avoir un commutateur de mode qui ressemble à 3 ou 4 broches métalliques avec un cavalier amovible sur deux d'entre elles.
En mode "toilettes", le ventilateur démarre immédiatement, en même temps que la lumière s'allume, et fonctionne pendant le temps défini par la minuterie. En mode "salle de bain", le signal de départ est d'éteindre les lumières, ainsi le bruit et les courants d'air ne vous dérangeront pas sous la douche.
Après réglage et réglage n'oubliez pas de fermer ouvertures sur le couvercle pour protéger la carte de l'humidité, si prévu par la conception
L'hygromètre intégré peut être réglé sur un certain niveau d'humidité auquel le ventilateur démarrera.
Détermination du schéma de connexion optimal dans la salle de bain et les toilettes
Comme le montre la pratique, les appartements ordinaires dans un nouveau bâtiment ont besoin d'un système plus puissant que la ventilation naturelle d'un bain à travers des toilettes. Dans ce cas, une partie importante de l'humidité reste à l'intérieur de l'habitation. Un bain sans ventilation ne peut être dans des maisons privées que lorsqu'il y a une fenêtre dans la salle de bain. L'utilisation d'un système forcé prévoit la nécessité de sélectionner le mode de fonctionnement optimal de la hotte.

Souvent, le ventilateur est relié à un interrupteur d'éclairage, ce qui permet d'orienter le fonctionnement de l'appareil en fonction du temps qu'une personne passe dans la salle de bain. Cependant, cela ne suffit pas toujours, c'est pourquoi un interrupteur séparé est équipé pour le ventilateur.Comme le montre la pratique, les gens oublient souvent d'allumer / éteindre l'équipement. La solution la plus optimale dans ce cas est l'introduction d'un capteur d'humidité dans le circuit de ventilation. Cela permet de transférer l'appareil en mode hors ligne.
Caractéristiques du montage de la hotte
Avant de procéder à l'installation du système de ventilation dans la salle de bain ou les toilettes, vous devez déterminer l'emplacement du ventilateur d'extraction. La conception de la hotte doit être placée en face de la porte dans la partie supérieure du mur ou au plafond. Dans ce cas, vous devez vous soucier de la présence de câblage électrique, bien sûr, si le ventilateur n'est pas équipé d'une batterie. Après avoir choisi un endroit pratique, vous pouvez procéder à l'installation, au cours de laquelle les experts conseillent de respecter les recommandations suivantes.
Il est préférable de monter une ventilation pour une salle de bain ou des toilettes pendant le processus de réparation dans un appartement.
Il est préférable de connecter le ventilateur à l'interrupteur d'éclairage.
Le câblage allant au ventilateur peut être caché dans les stroboscopes.
Pour simplifier considérablement le processus d'installation et protéger le ventilateur des influences extérieures, un tuyau en plastique est inséré dans le trou du mur, qui se fixe facilement avec du mortier de ciment
Mais avant cela, vous devez connecter l'appareil.
Si la hauteur du plafond dans la salle de bain ou les toilettes est suffisante, vous pouvez utiliser une structure de ventilation plus fonctionnelle, bien que complexe, construite à l'aide de boîtes en plastique, fixant l'appareil lui-même directement au-dessus des toilettes.
Lors du processus de connexion du dispositif d'évacuation, il est important d'étudier en détail les instructions fournies avec le ventilateur afin de le connecter correctement au secteur.La procédure d'installation de la hotte pour une salle de bain ou des toilettes ne devrait pas poser de difficultés particulières
Pour ce faire, il vous suffit de démonter le couvercle de protection de l'appareil, d'appliquer un mélange spécial d'adhésif de construction sur le corps et d'appuyer sur le dispositif d'échappement à l'endroit préparé à l'avance et de le maintenir pendant quelques minutes jusqu'à ce que la colle prenne.
La procédure d'installation d'une hotte pour une salle de bain ou des toilettes ne devrait pas poser de difficultés particulières. Pour ce faire, il vous suffit de démonter le couvercle de protection de l'appareil, d'appliquer un mélange adhésif de construction spécial sur le corps et d'appuyer sur le dispositif d'échappement à l'endroit préparé à l'avance et de le maintenir pendant quelques minutes jusqu'à ce que la colle prenne.
De plus, pendant le fonctionnement de l'appareil, il est important de nettoyer la grille de la poussière et autres saletés avec une certaine régularité. Pour cela, un aspirateur ménager standard ou un détergent et de l'eau chaude feront l'affaire.
exigences de ventilation de la salle de bain
Un certain nombre de règlements municipaux indiquent ce que devrait être un système d'échange d'air efficace, pratique et fiable :
- GOST 30494-2011, qui décrit à quoi devrait ressembler le climat intérieur;
- SP 60.13330.2012, qui définit les exigences et les règles indiquant ce que devrait être la ventilation.
De plus, l'échange d'air est mentionné dans SP 55.13330.2016 et SP 54.13330.2016, mais ils se réfèrent au Code de règles indiqué ci-dessus.
Les règlements énumérés stipulent que l'échange d'air est nécessaire pour maintenir la qualité de l'air au niveau requis.
Il en sera ainsi si la teneur en substances nocives ne dépasse pas des valeurs modérées. Par exemple, lorsque la quantité de dioxyde de carbone dans chaque mètre cube ne dépasse pas 400 cm³. Un indicateur de 400-600 cm³ est considéré comme moyen, 600-1000 cm³ n'est pas confortable, mais acceptable, et plus de 1000 cm³ est une très mauvaise qualité de l'air.
Selon la législation, les paramètres du microclimat dans la salle de bain doivent être conformes aux exigences réglementaires. Et pour cela, un système d'échange d'air efficace doit être disposé dans la pièce.
Dans le même temps, lors de l'organisation de l'échange d'air dans des locaux résidentiels et de bureaux, y compris une salle de bain, il convient de rappeler qu'il doit contribuer à la création de conditions de vie confortables.
Pour ce faire, les éléments suivants doivent être pris en charge au niveau requis :
- température de l'air;
- la vitesse de circulation de l'air dans les locaux;
- l'humidité de l'air;
- la température résultante et son asymétrie locale.
Tous ces indicateurs caractérisent de manière exhaustive l'impact sur une personne des indicateurs ci-dessus, ainsi que le rayonnement thermique. Autrement dit, la température dans la salle de bain doit être de 24 à 26 ° C, ce qui est la valeur optimale. Et il est garanti de ne pas descendre en dessous de 18 ° C, puisque la valeur indiquée est considérée comme le minimum acceptable. Dans ce cas, la température résultante doit être comprise entre 23 et 27 °C et les valeurs autorisées de son asymétrie sont comprises entre 17 °C et 26 °C.
La conséquence d'une ventilation mal organisée de la salle de bain est divers processus négatifs. Par exemple, l'apparition de moisissures, de champignons sur diverses surfaces
L'humidité relative dans les salles de bains n'est pas réglementée, mais des hottes y sont généralement installées, conçues pour évacuer l'air de toute la maison privée ou de l'appartement à l'extérieur du bâtiment. Ce qui affecte les caractéristiques des locaux d'habitation. Par conséquent, il faut tenir compte du fait que l'humidité dans les pièces où se trouvent les personnes doit être comprise entre 30 et 45% (en été) et en hiver, elle peut atteindre 60%.
Dans tous ces cas, la vitesse de circulation de l'air (optimale) ne doit pas dépasser 0,15 m/s. La valeur acceptable de ce paramètre est de 0,2 m/s.
Dans ce cas, des différences significatives dans les valeurs ci-dessus sont inacceptables. Par exemple, les conditions de vie peuvent être considérées comme optimales si la température fluctue à moins de 2 °C, et acceptables - avec des changements soudains qui ne dépassent pas 3 °C.
Les caractéristiques de température doivent également être similaires sur toute la hauteur de la pièce. Ainsi, si les différences dépassent 2 °C, les conditions de vie ne peuvent pas être qualifiées d'optimales.
La photo montre un champignon dont les spores devront être inhalées si le système de ventilation est inefficace. Et ce ne sera qu'un des facteurs négatifs. Étant donné que presque tout ce qui est utilisé dans la construction et la décoration des logements libère des substances nocives dans l'air : matériaux de construction, meubles, tapis, carrelages et autres matériaux de finition
Et maintenir toutes les caractéristiques ci-dessus sans organiser un système d'échange d'air efficace est une procédure impossible.
Quelle est la différence entre ventilation forcée et ventilation naturelle ?
Il existe deux types de hottes dans la salle de bain :
- Naturel. Dans ce cas, les ouvertures des portes et des fenêtres agissent comme une source d'air frais. Le pic de popularité des systèmes de ce type est tombé au milieu du siècle dernier. L'efficacité de la ventilation naturelle est plutôt médiocre.
- Forcé. Le cœur du système forcé dans la salle de bain est le ventilateur d'extraction des toilettes et de la salle de bain. Les communications de ce type sont capables d'assurer une ventilation complète des locaux. Cela permet de ne pas dégager de chaleur par les fenêtres ouvertes en hiver.De ce fait, le confort nécessaire est maintenu dans la pièce, malgré l'apport de portions d'air frais dans des volumes suffisamment importants.
Connexion via un interrupteur double
Une autre option appropriée consiste à connecter le ventilateur via le même interrupteur d'éclairage, mais déjà à deux boutons.
Ici, le schéma ressemblera à ceci :
En fait, votre hotte restera assise quel que soit l'éclairage. Mais pour cela, vous devrez très probablement changer le modèle à une clé en un modèle à deux clés. De plus, tirez le câble supplémentaire de la boîte de jonction vers le bas.
Il y a aussi des "pièges" ici. Tout d'abord, ne mélangez pas la connexion de phase sur les contacts de l'interrupteur.
Et cela arrive tout le temps.
Deuxièmement, n'oubliez pas que c'est la phase qui doit percer cet appareil de commutation, et non zéro. Même avec une connexion initiale correcte, avec le temps, le circuit peut changer spontanément.
Il suffit à un électricien local, dans un tableau de distribution commun ou un câblage d'accès, d'échanger accidentellement deux conducteurs L et N. Et dans tout votre appartement, la «polarité» changera automatiquement sur tous les interrupteurs.
Que va-t-il menacer ? Eh bien, par exemple, lorsque vous allumez un seul ventilateur avec la deuxième clé, vous pouvez clignoter, clignoter et éteindre le rétroéclairage LED dans les toilettes.
L'effet est assez bien connu pour les lampes à LED. 
Pour terminer

Lorsque vous installez vous-même le système de ventilation dans la maison, il est important de savoir comment connecter correctement le ventilateur de la salle de bain et des toilettes à l'interrupteur d'éclairage ou de manière autonome. Ce dispositif assurera l'élimination de l'excès d'humidité et le flux d'air frais, réduira le risque de moisissure et protégera également les objets de la rouille.
La normalisation du microclimat aura un effet bénéfique sur le bien-être humain
Ce dispositif assurera l'élimination de l'excès d'humidité et le flux d'air frais, réduira le risque de moisissure et protégera également les objets de la rouille. La normalisation du microclimat aura un effet bénéfique sur le bien-être d'une personne.
Mais pour que l'échange d'air dans la pièce soit efficace, il est important non seulement de choisir le bon ventilateur lui-même, mais également de choisir le schéma de connexion approprié, ainsi que d'assurer l'installation compétente de l'ensemble du système.





































