Schémas de construction de toilettes de campagne + projet de toilettes avec douche en dessins et photos

Toilette de campagne à faire soi-même : 48 dessins + photos

Sol et étanchéité

Quel que soit le type de finition, le sol de la salle de bain d'une maison en bois doit être imperméabilisé. Cela s'applique aux premier et deuxième étages.

Le plus fiable pour le sol est considéré comme une étanchéité roulée. Si la maison repose sur une fondation monolithique en béton armé et qu'une dalle en béton armé est utilisée pour recouvrir le premier étage, le sol de la salle de bain est imperméabilisé sur une chape de nivellement utilisant une technologie standard. Pour les parquets, d'autres règles s'appliquent :

  • le contreplaqué ou le panneau de gypse résistant à l'humidité est choisi comme base pour la pose de bandes d'étanchéité;
  • les feuilles standard sont coupées en quatre parties;
  • visser le contreplaqué (GKL) avec des vis autotaraudeuses au sous-plancher, en observant des écarts entre les parties de 3-4 mm et en déplaçant les rangées les unes par rapport aux autres;
  • les coutures sont scellées avec un mastic élastique;
  • polir la surface;
  • traité avec un apprêt résistant à l'humidité;

Schémas de construction de toilettes de campagne + projet de toilettes avec douche en dessins et photos
Une telle "tarte" est obtenue en posant du carrelage dans la salle de bain d'une maison en bois

  • une imperméabilisation enroulée est posée (les bandes se chevauchent de 15 à 20 cm et vont sur les murs de 10 à 20 cm);
  • le long du périmètre, un ruban amortisseur est fixé aux murs, ce qui assurera la mobilité du sol (technologie «flottante», sans fixation rigide aux murs);
  • une chape de nivellement en couche mince (jusqu'à 30 mm) est coulée avec une armature en treillis de fibre de verre.

Au lieu de carreaux, lors de l'aménagement du sol dans la salle de bain d'une maison en bois, une planche massive est souvent choisie (afin de ne pas violer "l'intégrité" de la conception globale). Pour ce faire, les bûches sont posées au-dessus de l'étanchéité de manière «flottante» (sans fixation rigide à la base et aux murs), et pour qu'elles ne bougent pas lors de l'installation, elles sont fixées les unes aux autres avec des barres transversales. La distance entre les extrémités de la bûche et les murs doit être d'au moins 10 mm et l'étape de pose dépend de l'épaisseur de la lame de plancher. En tant que revêtement, si vous ne considérez pas des essences de bois exotiques résistantes à l'humidité telles que le teck, il est préférable d'utiliser du mélèze, qui n'a pas peur d'une humidité élevée et d'un contact ouvert avec l'eau. Vous pouvez également choisir une planche traitée thermiquement - le même mélèze ou toute autre essence de bois domestique.

Schémas de construction de toilettes de campagne + projet de toilettes avec douche en dessins et photos
Les panneaux traités thermiquement se caractérisent par une couleur caractéristique

Bien sûr, le traitement thermique réduit la résistance à l'usure, mais une salle de bain dans une maison en bois nécessite une plus grande résistance du sol à une humidité élevée.

Au lieu d'un tableau, vous pouvez utiliser une carte d'ingénierie avec une couche de peinture protectrice déjà appliquée. Et au lieu de carreaux sur une chape de nivellement, vous pouvez poser une planche de parquet et même un stratifié résistant à l'humidité. Mais dans tous les cas, la connexion des lames de plancher les unes aux autres doit avoir lieu selon le principe de la «rainure épineuse» avec le traitement obligatoire des coutures avec du mastic hydrofuge.

Options de construction de surface

toilettes de campagne

Les toilettes du pays peuvent, à la demande du propriétaire, ressembler à:

1

Nichoir. Bâtiment en bois avec un toit en pente unilatéral. La conception la plus simple et la moins chère qui n'offre pas un niveau de confort

Structure "Nichoir"

2

Teremok (cabane). Une structure avec deux toits à forte pente qui est bien isolée en raison de sa forme inhabituelle

"Terémok"

3

Triangle (cabane). L'une des formes les plus courantes, avec une résistance élevée à l'humidité en raison du toit à pignon. Même de fortes rafales de vent n'ont pas peur d'une telle structure.

"Cabane"

4

Loger. Option confortable, où il y a suffisamment d'espace pour une personne. Dispose d'une durabilité accrue

"Loger"

Des solutions structurelles assez inhabituelles sous la forme d'un double bâtiment sanitaire ou d'une salle de bain combinée à une douche extérieure sont également populaires.

Salle de bain avec douche

Le choix de la partie au sol des toilettes dépend de plusieurs paramètres :

  • poids du bâtiment (ne doit pas être lourd pour que le sol ne s'affaisse pas et ne tombe pas en panne)
  • renforcer la fondation
  • fréquence d'utilisation prévue
  • matériau de construction (bois, plastique, carton ondulé sont les mieux adaptés)
  • disponibilité d'un schéma de construction prêt à l'emploi ou possibilité de sa fabrication
  • capacité financière pour entretenir et nettoyer

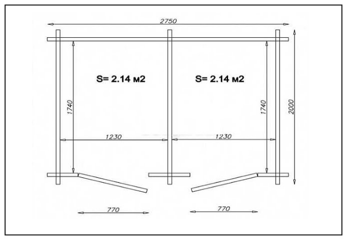
toilettes doubles

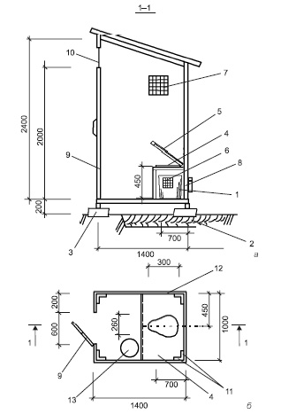
Les dimensions standard du bâtiment des toilettes, dans lesquelles il est pratique pour une personne d'être à la fois debout et assise:

  1. Hauteur 2,2–2,3 m
  2. Largeur - 1–1,2 m
  3. Profondeur - 1,4 m

dispositif d'irrigation goutte à goutte serre à faire soi-même: à partir d'un baril, d'une bouteille en plastique et même d'un système automatique. Pour tomates et autres cultures (Photo & Vidéo) + Avis

Dessin toilette "Teremok"

Cette toilette a la forme d'un diamant. Comparé au "Shalash", il prend plus de temps à construire, mais il a aussi l'air plus décoratif.Avec un design approprié, il ne gâchera pas du tout le paysage.

Schémas de construction de toilettes de campagne + projet de toilettes avec douche en dessins et photos

Dessin des toilettes "Teremok" avec dimensions (pour agrandir l'image, cliquez dessus avec le bouton gauche de la souris)

Une maison en forme de losange pour une toilette dans un chalet d'été a l'air bien. A l'extérieur, la charpente peut être tapissée d'un bois rond de petit diamètre scié en deux, d'un doublage de forte épaisseur, d'un blockhaus, d'une planche ordinaire. Si vous utilisez une planche, ne la clouez pas bout à bout, mais posez-la quelques centimètres sur le fond, comme une pomme de pin. Vous pouvez, bien sûr, de bout en bout, mais l'apparence ne sera pas la même...

La deuxième option: les toilettes de campagne "Teremok" sont fabriquées avec des parois latérales biseautées.

Schémas de construction de toilettes de campagne + projet de toilettes avec douche en dessins et photos

Toilettes de campagne "Teremok" - le deuxième projet avec des dimensions (pour augmenter la taille de l'image, cliquez dessus avec le bouton gauche de la souris)

Le principal problème de toute petite toilette en bois est de bien sécuriser les portes. Le cadre de porte est la partie la plus chargée, en particulier du côté où les portes sont fixées. Pour fixer les montants de la porte aux poutres du cadre, utilisez des goujons - la fixation sera donc fiable.

Schémas de construction de toilettes de campagne + projet de toilettes avec douche en dessins et photos

Illustrations photo: construire des toilettes à la campagne de ses propres mains. Les dessins sont présentés ci-dessus.

À partir de cette conception simple, en général, vous pouvez créer des toilettes dans n'importe quel style. Par exemple, en néerlandais. La finition est simple - plastique léger, sur lequel sont bourrées des poutres caractéristiques, colorées de teinture

Faites attention aux inserts en verre et au fait que le toit de cette instance est en polycarbonate. Si le polycarbonate est multicouche, il ne doit pas être chaud)))

Schémas de construction de toilettes de campagne + projet de toilettes avec douche en dessins et photos

Toilettes de rue de campagne sous forme de maison hollandaise

Vous pouvez même transformer les toilettes Teremok en carrosse royal. Ce n'est pas une blague… confirmation sur la photo. Il suffit de changer la forme et d'ajouter quelques éléments décoratifs typiques des calèches.Ainsi, vous obtenez une toilette sous la forme d'un chariot.

Lire aussi :  Pourquoi les balles en aluminium n'aident pas avec la lessive

Schémas de construction de toilettes de campagne + projet de toilettes avec douche en dessins et photos

Toilettes extérieures pour chariot

Voici quelques photos du processus de fabrication. L'original a un placard sec, donc la construction est simple: il n'est pas nécessaire de penser à la fosse et aux nuances qui y sont associées ... mais vous pouvez adapter une telle cabine à tout type ...

Schémas de construction de toilettes de campagne + projet de toilettes avec douche en dessins et photos

Cadre de forme caractéristique

Veuillez noter que la forme est obtenue grâce aux planches inclinées et que le fond légèrement effilé est dû aux supports taillés en conséquence.

Schémas de construction de toilettes de campagne + projet de toilettes avec douche en dessins et photos

Un placard sec est installé sur le podium

Le sol est cousu avec des planches courtes, puis le revêtement commence de l'extérieur. En haut, le chariot a également un virage en douceur - découpez les guides appropriés dans les planches courtes, clouez-les aux poteaux latéraux existants et vous pouvez commencer le revêtement du mur extérieur.

Schémas de construction de toilettes de campagne + projet de toilettes avec douche en dessins et photos

revêtement mural

L'intérieur est également gainé de bardeaux. L'extérieur du chariot-toilette est blanchi à la chaux, à l'intérieur le bois a une couleur naturelle. Après cela, il reste la décoration et l'ajout de détails caractéristiques - monogrammes peints à l'or, lanternes, chaînes «dorées», roues.

Schémas de construction de toilettes de campagne + projet de toilettes avec douche en dessins et photos

Peinture et décoration

Rideaux "royaux" et fleurs))) Il y a même un lavabo et un petit lavabo.

Schémas de construction de toilettes de campagne + projet de toilettes avec douche en dessins et photos

Vue depuis l'intérieur des fenêtres

Après tous les efforts, nous avons les toilettes les plus insolites de la région. Rares sont ceux qui peuvent se vanter d'un tel...

Schémas de construction de toilettes de campagne + projet de toilettes avec douche en dessins et photos

Aussi des valises dans le coffre))

Comment faire un siège de toilette?

Avant de fabriquer un siège de toilette, vous devez décider de ses tâches:

  • Hygiène. Sa surface doit être facile à nettoyer et à laver. Pour ce faire, les surfaces en bois peuvent être traitées avec des imprégnations spéciales ou des éléments en plastique peuvent être installés.
  • Commodité. Passer du temps dans une telle structure ne devrait pas causer d'inconfort.Un confort maximal peut être atteint en choisissant la bonne hauteur et la bonne forme du «trône» (comme on appelle souvent le siège des toilettes).
  • Force. Il faut garder à l'esprit qu'une charge importante peut affecter le cadre. Il doit le supporter. Pour la construction du cadre, sélectionnez une poutre de plus de 5x5 cm.Les planches utilisées pour le revêtement du siège des toilettes ne doivent pas être inférieures à 0,2 cm.

Forme de chaise :

La version standard est rectangulaire. Une structure rectangulaire est construite et reliée au cadre latéral et arrière. Ensuite, il est gainé et un trou est découpé. Il est souhaitable de traiter la surface avec des moyens spéciaux. Pour plus de commodité, vous pouvez installer un siège de toilette en plastique par le haut.

Schémas de construction de toilettes de campagne + projet de toilettes avec douche en dessins et photos

  • Triangulaire - dirigé à angle aigu vers l'entrée. Le design se fond dans le cadre de la paroi arrière. Cette option est plus confortable pour certaines personnes assises.
  • Turc. Il est possible d'aménager une toilette sans utiliser de siège de toilette. Un trou est simplement fait dans le sol. Avec cette conception, il n'est pas nécessaire de parler de commodité, mais les économies de matériaux et l'amélioration de l'hygiène sont évidentes.
  • Toilette. Il y a des toilettes lorsqu'une toilette ordinaire est installée à la place d'un siège de toilette. Dans ce cas, vous devez calculer la charge au sol et prévoir sa fixation.

Les toilettes à la campagne sont une structure simple que chacun peut construire de ses propres mains. Dans ce cas, vous devez choisir le bon endroit pour son emplacement et le dessin, sur lequel le travail est effectué sans écarts.

Finition

Décorer une salle de bain est une activité qui demande une approche créative. L'opinion sur l'exclusivité de l'arbre est dépassée. Son abondance agace le ménage lorsque le ton du sol, des murs, du plafond et des meubles est identique. Il crée le sentiment d'être dans une boîte en bois. Ceci est inacceptable et crée une atmosphère oppressante.De plus, souvent le ton du bois masque le niveau d'éclairage de la salle de bain. L'accent est mis sur des idées intéressantes, le revêtement, qui vous permet de rendre l'intérieur expressif

Il est important d'utiliser des matériaux légers, respectueux de l'environnement et ne nécessitant pas de systèmes de châssis complexes. Ce besoin est lié au rétrécissement de la maison, qui distingue les bâtiments privés du village et les maisons de campagne.

Les matières premières de finition légère conviennent également si la maison est construite en briques ou en blocs de mousse.

Le plus souvent, la finition est réalisée sur du plâtre de ciment. Le matériau de gypse absorbe l'humidité et s'écaille de la surface. Il est également indésirable dans des toilettes séparées, où il y a presque toujours du condensat. La finition de surface avec des carreaux de céramique est effectuée après le retrait de toute la structure. Parfois, il faut attendre ce moment pendant 1 an. Une technologie similaire a des lattes, qui peuvent être murales et plafonnières. Si la maison s'est assise, le plafond peut être décoré avec une construction en plaques de plâtre avec un film étirable. Vous pouvez utiliser la méthode d'enregistrement de la cassette. Sa technologie permet d'accueillir des panneaux-luminaires au lieu de pièces individuelles. Le papier peint dans la salle de bain n'est pas souhaitable - sous l'influence de l'humidité, ils s'éloigneront de la base.

Schémas de construction de toilettes de campagne + projet de toilettes avec douche en dessins et photos

Règles pour choisir un emplacement pour les toilettes

Schémas de construction de toilettes de campagne + projet de toilettes avec douche en dessins et photos

Avant d'installer des toilettes dans le pays, choisissez un endroit approprié, en tenant compte du type de structure, ainsi que des caractéristiques du puisard

Lorsque vous recherchez un site pour la construction, faites attention aux points suivants :

Il est important de tenir compte de la profondeur de la nappe phréatique dans le chalet d'été. Avec une hauteur GWL de plus de 2,5-3 m, il est impossible de faire un puisard, seule l'option latrine avec traitement des déchets avec des poudres spéciales convient.
En cours de choix toilettes dans le pays tiennent compte de la localisation des bâtiments dans les zones voisines et sur leur propre territoire

Placard érigé loin des autres structures.
Assurez-vous de prendre en compte les normes sanitaires et hygiéniques en vigueur et respectez les distances normalisées par rapport aux autres bâtiments du pays.
La structure est érigée dans un endroit auquel il est facile de fournir un accès pour un camion d'égout.
Lors du choix d'un lieu, le paysage du territoire est pris en compte. S'il est placé au point le plus bas du site, le bâtiment sera inondé d'eau de fonte pendant la période automne-printemps. À des altitudes plus élevées, des courants d'air et des vents forts sont souvent présents.

Types de toilettes de campagne

Considérez trois types: jeu - placards à poudre, placards secs.

placard de jeu

Il tire son nom du conduit de ventilation, associé à la cheminée. En raison de son échauffement, une traction se forme. Naturellement, pas d'odeurs. Été créer de la traction un simple réchauffeur est intégré dans la partie inférieure de la cheminée type de lampe à incandescence à 15 - 20 watts.

La fosse est périodiquement pompée.

Il devrait avoir un mur extérieur, une fenêtre y est aménagée.

Riz. 3. 1 - cheminée; 2 - canal de jeu ; 3 - couverture isolée; 4 - trappe d'égout standard; 5 - tuyau de ventilation; 6 - château d'argile; 7 - murs de briques.

Riz. 4. Placard de jeu intérieur avec ventilation individuelle

Une conception sanitaire assez compliquée, mais impeccable. Le calcul du volume est le suivant: lors du nettoyage une fois par an, 1 mètre cube par personne: avec quatre - 0,25 mètre cube. Pour tout calcul, la profondeur est d'au moins 1 mètre : le niveau du contenu ne doit pas être à moins de 50 cm du sol.

Lire aussi :  Comment faire une cheminée pour une cheminée: règles d'installation d'un canal de fumée et comparaison des conceptions

La fosse est étanche : un fond en béton est coulé sur le château d'argile, les parois sont également en béton ou revêtues de briques. Les surfaces internes sont isolées au bitume. L'évent doit toujours être plus haut que le bord du tuyau d'évacuation.

Bien sûr, un tel schéma ne correspond pas tout à fait au concept de maison de campagne, mais ce type de toilettes ne provoquera pas de réclamations de la part des voisins ou des autorités locales.

Il est très important!. Même conception de type de rue

La même conception du type de rue.

Riz. 5 ; 1 - conduit de ventilation; 2 - couvercle scellé; 3 - château d'argile; 4 - coque hermétique de la fosse; 5 - contenu ; 6 - panneau d'impact; 7 - fenêtre d'aération.

Il existe de nombreux modèles de siège de toilette, il est produit spécifiquement pour ces toilettes et appareils sanitaires.

Riz. 6. Cuvette de toilette pour placards de jeu.

Diamètre du trou intérieur 300 mm, couvercle non inclus.

nettoyage

Au fil du temps, du limon se forme dans la fosse, ce qui empêche le liquide de s'écouler. En conséquence, le trou se remplit rapidement.

Afin de rétablir sa filtration, les artisans conseillent de mélanger le contenu par voie chimique : chaux vive, carbure de calcium, levure. Un effet positif peut être observé dans 1 à 2 cas sur 10. Dans le reste - de gros problèmes.

Aujourd'hui, il existe une large gamme d'agents biologiques et de stimulants pour les puisards qui éliminent les boues sans bruit ni poussière, transforment le contenu en compost, adapté à la culture même de légumes.

Bien sûr, cela prend du temps : au moins 2 à 3 ans, selon la température annuelle moyenne, respect strict des instructions du fabricant, notamment en termes d'application. L'odeur peut être éliminée en quelques semaines.

Si cela n'a pas de sens pratique ou est contraire aux traditions culturelles, faire appel à un véhicule spécial résoudra tous les problèmes. Lorsque de telles visites semblent coûteuses, il est temps d'envisager une autre option, dont nous parlerons ci-dessous.

Normes sanitaires

Vous devrez construire de vos propres mains des toilettes de campagne avec un puisard, en tenant compte du fait qu'avec un débit quotidien moyen inférieur à 1 mètre cube, il peut avoir un fond ouvert, d'en haut il ne peut être fermé.

Il est libéré du contenu moins de 2 fois par an. Le signal pour cela est que le niveau du contenu est à moins de 35 cm du niveau du sol.

La désinfection des puisards des latrines de rue est réalisée avec un mélange d'une telle composition.

  • Chlorure de chaux 10%.
  • Hypochlorite de sodium 5 %.
  • Naphtalizol 10%.
  • Créoline 5%
  • Métasilicate de sodium 10 %.

L'eau de Javel sèche pure est interdite : libère du chlore mortel lorsqu'elle est mouillée.

Armoire à poudre

Ici, la fosse est remplacée par un petit récipient. Il existe des seaux avec un couvercle scellé, qui est retiré avant la procédure. A son extrémité, le contenu est « saupoudré » de matière organique. Il y a une odeur lorsque le couvercle est ouvert, surtout par temps chaud. L'utilisation de biopréparations le réduit considérablement.

Riz. 7. 1 - fenêtre de ventilation; 2 - couverture; 3 - siège de toilette; 4 - capacité ; 5 - cadre en bois; 6 - base de cadre; 7 - remblai de gravier et pierre concassée; 8 - porte.

Les avantages d'une telle conception sont que toilettes extérieures pour ce n'est pas obligatoire. Il peut s'agir d'un angle de dépendance, d'un sous-sol. La présence d'une fenêtre ou d'un tuyau de ventilation est requise.

La poudre de placard se transforme facilement en compost et vice versa. Une solution rationnelle consiste à le combiner avec une douche ou une buanderie.

Riz. 8. Structure combinée.

Les modèles modernes sont présentés par Elena Malysheva.

Les toilettes électriques laissent derrière elles une poignée de cendres, mais vous ne pouvez pas les utiliser comme engrais. Ceci s'applique également aux appareils chimiques.

matériaux

En tant que matériaux pour la construction des toilettes, vous pouvez utiliser différentes options. Souvent, ce qui reste de la construction des structures principales sur le site est utilisé.

Pour construction d'un puisard les éléments suivants seront requis :

  • le sable;
  • mélange de ciment;
  • gravier;
  • renforcement pour renforcer la fondation;
  • un treillis métallique pour s'adapter au fond et aux parois de la fosse, ainsi que des épingles métalliques pour fixer ce treillis au sol.

Une autre option au lieu d'un maillon de chaîne et de béton est une brique, qui définit également le fond et les parois de la fosse. Vous pouvez également utiliser un anneau de puits en béton, qui a des trous dans ses parois ou de gros pneus en caoutchouc. L'option la plus simple consiste à acheter un conteneur spécial prêt à l'emploi, traité avec une solution septique et produit en différentes tailles.

La maison de toilette peut être fabriquée à partir de différents matériaux.

du bois

Pour fabriquer un bâtiment en bois peu lourd, il est préférable d'utiliser des planches. A partir d'une barre, la structure sera plus lourde, dans ce cas, vous devez d'abord prendre soin de la fondation.

La version la plus courante des toilettes de campagne est constituée de planches de bois. Il présente à la fois des avantages et des inconvénients.

Les avantages d'un bâtiment en bois comprennent:

  • Aspect esthétique. Par rapport à une maison en métal ou en plastique, une maison en bois semble plus solide et confortable. De plus, il s'intègre harmonieusement dans l'atmosphère naturelle, car il est fait de matériaux naturels.
  • La construction d'une telle maison ne nécessite pas de coûts financiers importants.
  • Durabilité.Avec un traitement rapide du bois avec des solutions de protection et le nettoyage de la surface de la saleté, le bâtiment peut durer de nombreuses années.
  • L'arbre lui-même a la propriété de neutraliser les odeurs désagréables, surtout la première fois après l'installation de la structure, dégageant un agréable arôme de forêt.
  • Si le bâtiment devient impropre à une utilisation ultérieure, il peut être facilement démonté et éliminé à l'aide d'un poêle ou d'un feu à allumer.

de la brique

C'est une option solide, laborieuse et coûteuse. Il nécessitera également la construction d'une fondation. Il faut comprendre que l'utilisation de ce matériau ne fournira pas de chaleur supplémentaire à l'intérieur des toilettes. Pour ce faire, la pièce doit être isolée séparément, en utilisant des matériaux légers, tels que la mousse.

Et du carton ondulé

Une telle structure peut être érigée sans dépenser plus de temps et d'efforts. De plus, un bâtiment léger est obtenu à partir de la feuille profilée, ce qui ne permettra pas au sol de se déposer.

En contreplaqué ou panneau OSB

Option assez simple et pratique. Sa construction ne nécessitera pas beaucoup de temps et de coûts financiers. Vous pouvez également utiliser ce matériau pour recouvrir un cadre construit à partir d'un tuyau profilé ou de bois.

Les inconvénients d'une structure en bois sont les facteurs suivants :

  • Tous les bâtiments en bois sont inflammables et en cas d'incendie, ils sont complètement détruits en peu de temps. Ceci peut être évité par une imprégnation spéciale avec une solution résistante à la chaleur.
  • Si la surface n'est pas traitée avec un agent spécial, les planches peuvent rapidement devenir humides et pourrir.
  • Le bois est un matériau dans lequel divers insectes peuvent commencer à détruire le bâtiment. Seul un traitement périodique des locaux avec un pesticide peut les éliminer.
Lire aussi :  Soudage bout à bout fixe arraché

Types de toilettes

La simplicité de la conception vous permet d'équiper les toilettes du pays avec vos propres dessins, et dont les dimensions peuvent être étudiées dans les catalogues des entreprises ou calculées par vous-même. Le bois est le matériau le plus populaire et le plus abordable, facile à traiter et ne nécessite pas d'outils spéciaux pour la construction. La structure elle-même est constituée d'un cadre gainé d'une planche et recouvert d'un matériau de toiture.
Il est facile de construire une toilette de campagne de vos propres mains, vous n'avez pas besoin de faire des calculs complexes pour cela, il suffit de connaître les dimensions standard, d'étudier les instructions de construction, de préparer le matériel et les outils et de commencer à reconstruire la salle de bain.Schémas de construction de toilettes de campagne + projet de toilettes avec douche en dessins et photosSchéma et projet d'une toilette en bois pour une résidence d'étéSchémas de construction de toilettes de campagne + projet de toilettes avec douche en dessins et photosToilettes en bois pré-assemblées à la campagneSchémas de construction de toilettes de campagne + projet de toilettes avec douche en dessins et photosSchémas de construction de toilettes de campagne + projet de toilettes avec douche en dessins et photosConception simplifiée toilettes de campagne
Frais
notez que la construction d'une maison est la moitié de la bataille, la seconde moitié consiste à créer un réservoir spécial pour l'élimination des déchets. Il existe plusieurs catégories de toilettes qui se différencient par le principe de recyclage.

placard de jeu

Dans ce type de toilettes, seule la partie inférieure de la cuvette des toilettes est installée, avec une pente technologique du sol vers le réservoir d'évacuation. Grâce à lui, les restes s'écoulent d'eux-mêmes dans le puisard équipé. Le conteneur à déchets lui-même est disposé derrière la cabine et se vide au fur et à mesure qu'il se remplit.Schémas de construction de toilettes de campagne + projet de toilettes avec douche en dessins et photosArmoire à jeu schématique de l'appareilSchémas de construction de toilettes de campagne + projet de toilettes avec douche en dessins et photosDessin de jeu d'un placard pour une résidence d'été ou à la maisonSchémas de construction de toilettes de campagne + projet de toilettes avec douche en dessins et photos
Cette conception est bonne car elle peut être installée à l'intérieur, créant une salle de bain chaleureuse, et le collecteur de déchets peut être creusé à l'extérieur de la maison. Pour ce faire, fixez un tuyau en polypropylène d'un diamètre de 100 à 150 mm aux toilettes.

Dans cette situation, il n'est pas nécessaire de monter une communication à part entière coûteuse.Schémas de construction de toilettes de campagne + projet de toilettes avec douche en dessins et photosLes noms des éléments du contrecoup du placardSchémas de construction de toilettes de campagne + projet de toilettes avec douche en dessins et photos

Important! Lors de l'aménagement d'un placard de campagne avec le retrait de la fosse à l'extérieur de la maison, il n'y aura pas d'odeurs étrangères dans la salle de bain.
Il vaut la peine d'adopter une attitude responsable quant à la disposition du réservoir pour les résidus, il est isolé de haute qualité, recouvert d'un couvercle scellé et d'un système de ventilation compétent.
L'inconvénient d'une telle toilette est que lors de son agencement, il sera nécessaire de violer l'intégrité du mur

Armoire à poudre

La conception et la conception les plus simples des toilettes pour un chalet d'été. Pour sa construction, il suffit de creuser un trou, qui servira de collecteur de déchets, au-dessus duquel une maison en bois est installée. Pour éviter les odeurs, les déchets doivent être versés après être allés aux toilettes. La sciure de bois, la tourbe sont utilisées sous forme de poudre.Schémas de construction de toilettes de campagne + projet de toilettes avec douche en dessins et photosDessin dimensionnel du dispositif de poudre de placardSchémas de construction de toilettes de campagne + projet de toilettes avec douche en dessins et photosProjet de poudre de placard dans le paysSchémas de construction de toilettes de campagne + projet de toilettes avec douche en dessins et photos
Il n'est pas nécessaire de construire des toilettes dans le pays de vos propres mains, vous pouvez faire un simple croquis schématique pour comprendre l'idée des étapes de travail. Lors de l'achat d'un design similaire dans un magasin, un récipient contenant de la bio-poudre est inclus dans le kit de salle de bain. Son utilisation est simple, il suffit de mettre un seau de sciure ou de tourbe et d'utiliser une cuillère à poudre.Schémas de construction de toilettes de campagne + projet de toilettes avec douche en dessins et photosLe processus de fabrication de poudres de toilette dans leur chalet d'étéSchémas de construction de toilettes de campagne + projet de toilettes avec douche en dessins et photosSchémas de construction de toilettes de campagne + projet de toilettes avec douche en dessins et photos
L'avantage de ces toilettes est l'utilisation des déchets comme engrais. Lors du remplissage de la fosse, la structure est transférée et le réservoir est recouvert de terre, en le laissant jusqu'à l'obtention d'humus.
Moins le sol sera pollué par les eaux usées liquides, ce qui n'est pas entièrement bénéfique. Si les eaux du fond se trouvent près de la surface, il n'est pas recommandé d'installer un tel bâtiment sur le site.

placard sec

Il s'agit d'une toilette, un clapier en bois, équipé d'un réservoir de stockage fabriqué en usine dans lequel les déchets sont traités par des bactéries sans accès à l'air.Schémas de construction de toilettes de campagne + projet de toilettes avec douche en dessins et photosDessin dimensionnel pour l'installation d'un placard sec à la campagneSchémas de construction de toilettes de campagne + projet de toilettes avec douche en dessins et photosSchémas de construction de toilettes de campagne + projet de toilettes avec douche en dessins et photos
Les bactéries sont versées dans l'accumulateur avec la préparation d'origine biologique. Il est acheté séparément dans un magasin spécialisé. Les déchets sont rapidement recyclés, il n'est souvent pas nécessaire de nettoyer le conteneur, les déchets peuvent être immédiatement appliqués comme engrais pour le chantier.

Tendances de l'époque

Les toilettes de campagne aujourd'hui ne sont plus du tout les mêmes qu'il y a 20 ou même 10 ans. Et ce n'est pas que la mode :

  • La situation environnementale dans son ensemble s'est détériorée et, par conséquent, les exigences sanitaires se sont durcies. Les solutions traditionnelles ne s'y adaptent pas toujours.
  • Il y a eu une véritable révolution dans la technologie du recyclage et de la neutralisation des déchets, et nombre de ses réalisations se déclinent dans la vie de tous les jours.
  • Les exigences des gens en matière de qualité de vie ont augmenté, y compris non seulement le confort avec l'ergonomie, mais aussi le design extérieur.

Sur cette base, nous découvrirons comment construire des toilettes de campagne de nos propres mains. Avec une petite mise en garde : nous n'aborderons qu'en passant les structures en brique et en béton : il s'agit déjà d'une construction capitale avec toutes les exigences qui en découlent. Au chalet d'été, il est possible de construire des toilettes de capital chaudes séparées uniquement dans des cas exceptionnels en raison de la petite superficie du terrain. Mais attardons-nous sur la conception architecturale du bâtiment le plus important, qui est inclus dans la qualité de vie, et les toilettes à cet égard sont l'un des objets les plus difficiles. Si ce n'est le plus dur. Cependant, susceptible de décision ; pour un exemple, voir fig.

Schémas de construction de toilettes de campagne + projet de toilettes avec douche en dessins et photos

Diverses toilettes de pays

Voyons comment apporter de la beauté à la fin.Vous devez d'abord vous occuper de la construction, et la conception y est déjà liée. Pour construire des toilettes confortables, propres, hygiéniques et agréables à l'œil, vous devez d'abord résoudre d'autres problèmes :

  1. Choisissez le type de système de drainage, de drainage et d'utilisation des eaux usées en fonction des conditions locales.
  2. Déterminez l'emplacement des toilettes sur le site.
  3. Choisissez le type et la solution de conception de la structure au sol ; simplement - cabines ou cabines.
  4. Occupez-vous de son design décoratif: lequel des éléments appropriés dans ce cas sera en mesure de faire.
  5. Estimer les coûts de construction.

Je dois dire que ces problèmes sont étroitement liés et qu'il faut les traiter ensemble. Un peu à l'écart il n'y a qu'un stand ; il n'interagit presque pas avec la partie souterraine et la base. Ainsi, la cabine de toilette peut être fabriquée, en général, comme vous le souhaitez, et c'est la partie la plus simple et la moins chère du travail. Par conséquent, nous allons commencer par cela.

Évaluation
Site sur la plomberie

Nous vous conseillons de lire

Où remplir la poudre dans la machine à laver et combien de poudre verser