- Étape #1 : Préparer le sable
- Chloration de l'eau de la piscine à faire soi-même
- Que sont les filtres de piscine ?
- Les principaux types de filtres "piscine"
- Unité #1 - filtre à sable
- Unité #2 - plante de terre diatomée
- Unité #3 - système de filtre à cartouche
- Nettoyage du filtre
- Page 2
- Étape 3 : Montage du filtre
- Nuances de fonctionnement
- Remplacement de remplissage
- Instructions de fabrication étape par étape
- Étape 1. Nous sélectionnons le corps
- Étape 2. Nous montons les raccords et les éléments internes
- Étape 3. Préparez le mastic de sable
- Étape 4. Installez des appareils qui garantissent un fonctionnement correct
- Étape 5. Nous attachons et connectons le système de filtration à la piscine
- Notes des meilleurs modèles
- Crystal Clear Intex 26644
- Bestway 58495
- Aquaviva FSF350
- Haut Powerline Hayward
- Remplacement du sable
Étape #1 : Préparer le sable
L'efficacité du futur filtre dépendra directement de la qualité du sable utilisé, la première étape importante est donc de choisir le bon enduit. Le sable de quartz est considéré comme la meilleure option en termes de rapport de durabilité et de disponibilité. Ses grains anguleux à surface polie n'ont pas tendance à coller, garantissant ainsi une filtration en profondeur. Le diamètre de travail des grains de quartz est de 0,5 à 1,5 mm. Avant utilisation, la charge de quartz doit passer par plusieurs étapes de traitement :
- Dépistage.Il est nécessaire de retirer de la masse totale des grains de sable qui ne correspondent pas à la taille. Cela s'applique principalement aux petits filtres - il n'est pas recommandé d'utiliser une charge d'un diamètre supérieur à 1 mm.
- Nettoyage. Il est nécessaire de rincer plusieurs fois le mastic à l'eau tiède jusqu'à ce que le liquide avec du sable soit clair.
- Élimination de la contamination bactérienne. Faire bouillir le sable pendant une heure pour tuer toutes les bactéries. Vous pouvez également utiliser des produits chimiques spéciaux, mais dans ce cas, une fois le traitement terminé, la charge devra être lavée plusieurs fois.
Chloration de l'eau de la piscine à faire soi-même
Quel produit contenant du chlore dans la composition choisir et en quelle quantité l'utiliser dépend du degré de pollution de l'eau. Il affecte également la température de l'eau et de l'air. Dans un volume plus petit, le chlore se dissout dans l'eau à 40 ° C, c'est-à-dire que dans ce cas, seulement 4,6 g de la substance sont nécessaires. Plus de poudre contenant du chlore (6,5 g) doit être diluée dans un milieu aquatique à une température de 25°C. Ainsi, pour chlorer un litre d'eau dont la valeur physique est de 0°C, il faut 14,8 g de désinfectant.
Avant la chloration, l'eau de la piscine doit être préparée. Le chlore ne doit être dissous dans l'environnement aquatique que si le niveau de pH fluctue entre 7, 0 et 7, 5. Le pH détermine la manière dont les molécules de chlore effectueront la tâche. Si le pH est supérieur à 7,6, il faudra utiliser plus de chlore, car il se transforme en une substance volatile et s'évapore. En conséquence, une odeur désagréable peut provenir de la piscine.

La substance contenant du chlore pour la purification de l'eau dans la piscine est disponible sous forme de comprimés
Généralement, lorsque l'eau de la piscine est choquée, une grande quantité d'agent instantané est utilisée. Il est préférable de commencer la chloration avant la saison balnéaire. Il est conseillé d'effectuer une re-désinfection de l'eau de la piscine après 30 jours. Le traitement choc éliminera tous les micro-organismes qui ne peuvent être éliminés en dissolvant une petite quantité d'eau de Javel et stoppera la croissance des algues.
Après avoir désinfecté l'eau avec du chlore, vous devez nettoyer le filtre et vérifier les indicateurs du milieu aquatique à l'aide d'un testeur. L'eau est considérée propre et inoffensive si le pH est compris entre 7 et 7,5 et la quantité de chlore est de 0,3 mg/g - 0,5 mg/g. Il est recommandé de vérifier périodiquement ces valeurs et de les modifier si nécessaire.
Il n'y a rien d'impossible dans l'auto-création du filtre. Il suffit de préparer le matériel et les outils nécessaires. Après avoir commencé la fabrication d'un mécanisme de nettoyage de la piscine, vous devez suivre clairement toutes les recommandations.
Que sont les filtres de piscine ?
Aujourd'hui, il existe de nombreux appareils différents qui sont prêts à prendre soin avec diligence de la propreté de votre piscine.
- Chimique : les cartouches de ces filtres contiennent une substance active aux propriétés désinfectantes. Il sévit sans pitié contre les bactéries et les microbes qui souhaitaient vous tenir compagnie sans invitation. Les appareils de ce type sont de taille impressionnante, mais ce n'est pas leur principal inconvénient. Le fait est que le baigneur lui-même est dans une certaine mesure affecté par le remplissage du filtre, qui, hélas, n'ajoute pas de santé. Par conséquent, éclabousser longtemps dans la piscine ne fonctionnera pas. De plus, après la baignade, vous devrez certainement prendre une douche.
- Mécanique : l'eau est pompée à travers une couche d'une substance qui joue le rôle d'un tamis très fin. Le filtre n'a pas d'effet bactéricide sur les micro-organismes, mais les plus gros d'entre eux persistent encore. Dans le même temps, le coût des filtres mécaniques, ainsi que leurs dimensions, est bien inférieur à celui des filtres chimiques. Malheureusement, les performances de ces appareils sont tout aussi faibles, il est donc conseillé de les utiliser uniquement pour le nettoyage de petits bassins.
En ce qui concerne les filtres chimiques, le principe « plus c'est cher, mieux c'est » est particulièrement prononcé. Ceux qui ont dû utiliser à la fois des appareils bon marché et coûteux ont noté une différence significative dans le degré d'effet sur la peau. La conclusion est donc évidente: lors de l'achat d'un filtre de ce type, les tentatives d'économiser de l'argent seront très inappropriées.

Filtre à sable après installation
Par type de charge filtres mécaniques sont divisés en types suivants :
Les inconvénients des filtres à diatomées sont le coût élevé et la nécessité de faire appel à un spécialiste pour remplacer la charge, ce qui est dû à sa forte toxicité.
Les principaux types de filtres "piscine"
Trois types d'unités de filtration peuvent être utilisées pour purifier l'eau de la piscine :
- sablonneux;
- diatomées;
- cartouche.
Unité #1 - filtre à sable
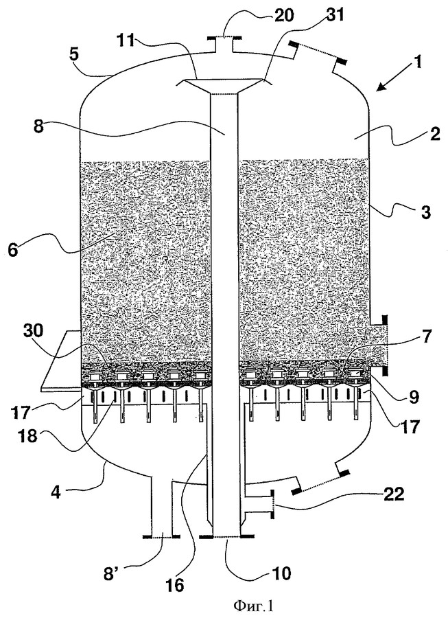
Les systèmes de filtre à sable sont le moyen le moins cher et le plus simple de garder votre petite piscine privée propre et bien rangée. Le filtre à sable se compose d'un réservoir, d'un manomètre et d'une vanne à six positions. Le média filtrant est du sable de quartz de plusieurs fractions, capable de retenir des particules d'un diamètre d'environ 20 microns. Cela suffit pour garder l'eau relativement propre.

L'hémisphère dans le diagramme est un filtre à eau grossier.Il est nécessaire pour que le sable ne pénètre pas dans la piscine à partir d'un baril d'eau. Son rôle peut être joué par un récipient enveloppé de tissu en nylon
À travers un skimmer ou un réservoir de trop-plein, l'eau pénètre dans l'unité de filtration par un tuyau. Sous pression, il passe à travers du sable de quartz, qui emprisonne diverses particules de saleté, après quoi il retourne dans la piscine à travers les buses. La masse filtrante peut être constituée uniquement de sable, de plusieurs couches de "sable-gravier" ou "sable-gravier-carbone-anthracite". Les deux dernières charges purifient beaucoup mieux l'eau. Si du sable de verre est utilisé à la place du sable de quartz, un remplacement complet du matériau filtrant sera nécessaire non pas après trois ans, mais après cinq à six ans.
Naturellement, après un certain temps, le filtre se bouche et le manomètre indique un excès de pression de travail. Le filtre est nettoyé par contre-lavage environ une fois tous les sept à dix jours, après quoi l'appareil peut continuer à fonctionner normalement. Si le site dispose de sa propre source d'eau, un tel nettoyage fréquent n'affecte pas le budget. Mais si nous parlons d'une piscine en ville, le compteur remontera quelques mètres cubes supplémentaires par mois.
La construction d'un filtre à sable pour une piscine est si simple que de nombreux artisans préfèrent les assembler eux-mêmes, en les ajustant selon leurs propres besoins.
Unité #2 - plante de terre diatomée
Un filtre à base de terre diatomée est considéré comme le plus fiable et le plus cher. Il vous permet d'éliminer les particules en suspension d'un diamètre allant jusqu'à 1 micron de l'eau.Ce sol contient du dioxyde de silicium, qui donne des propriétés curatives à l'eau, qui est généralement appelée silicium.
Le filtre à diatomées est le plus cher des trois, mais c'est lui qui permet non seulement de purifier l'eau, mais aussi de lui conférer certaines propriétés curatives. Ainsi, vous pouvez à la fois tempérer et guérir
La terre de diatomées elle-même est une roche sédimentaire formée par la fossilisation de coquilles de diatomées. Il est jaune-brun ou gris. Si nécessaire, la couche filtrante est nettoyée par rétrolavage. Si un remplacement complet de la terre de diatomées est nécessaire, n'oubliez pas qu'elle appartient à la catégorie des déchets dangereux et nécessite une élimination spéciale.
Unité #3 - système de filtre à cartouche
Le troisième type de systèmes de filtration pour piscines sont les filtres à cartouches. L'élément de nettoyage - cartouche - se compose de plusieurs couches de papier spécial et de polyester, sur lesquelles se déposent des particules d'une taille allant jusqu'à 5 à 10 microns.
Il est recommandé de nettoyer périodiquement la cartouche avec des fosses septiques spéciales qui tueront toutes les bactéries pathogènes. Pour éliminer simplement les dépôts de saleté de l'élément filtrant, vous pouvez le rincer à l'eau courante.
Selon la marque et le modèle, il y a de une à quatre cartouches cylindriques dans le conteneur. S'ils sont obstrués, les fabricants recommandent de les remplacer. Cependant, l'expérience client montre qu'il est possible de prolonger la durée de vie de la cartouche pendant un certain temps si elle est lavée avec de l'eau d'un tuyau sous basse pression ou avec une solution de nettoyage d'une marque appropriée.
Nettoyage du filtre
Pour le nettoyage, la pompe doit être arrêtée et rincée.Pour ce faire, les tuyaux sont connectés un peu différemment: la canalisation vers la pompe est connectée par le bas et le drain est connecté par le haut.
Cet arrangement est appelé "flux inversé" où l'eau s'écoule à travers le filtre dans la direction opposée et peut laver la saleté du sable jusqu'à ce qu'il soit complètement propre. Après ponçage, le mode filtration doit être bien compacté puis rallumé.
Le sable de quartz dans le filtre doit être remplacé régulièrement. Il faut à cet effet :
- éteindre la pompe ;
- Lorsque le filtre est installé dans la piscine, vidangez l'eau ;
- Déconnectez le filtre du système ;
- enlever le vieux sable contaminé;
- nettoyer les buses;
- s'endormir dans du nouveau sable sous la pression de l'eau;
- fermer le couvercle;
- Connectez le filtre au système.
Comme vous pouvez le constater, construire un filtre à sable de vos propres mains n'est pas si difficile, car vous disposez des outils, du matériel et des instructions d'installation nécessaires. Le plus important est de ne pas oublier de le nettoyer régulièrement et de changer le sable à temps.
Regardez le didacticiel vidéo sur la fabrication d'un filtre à sable de vos propres mains :
Page 2
Lors de la construction de la piscine, une attention particulière est portée à l'eau avec laquelle elle est remplie. J'utilise souvent l'eau du robinet à cet effet.
L'inconvénient est que cette eau n'est pas de la plus haute qualité.
Il contient de nombreux oligo-éléments et autres additifs. Par conséquent, il est nécessaire d'examiner sérieusement l'équipement du système de nettoyage. À cette fin, des filtres pour les pools de pays sont souvent utilisés. Avec leur aide, vous pouvez purifier l'eau de divers additifs et améliorer considérablement sa qualité.
Le principe de fonctionnement est basé sur le fait que l'eau sale s'écoule à travers un réservoir avec un élément filtrant.
Le processus de nettoyage élimine les micro-organismes, les particules et autres contaminants.
Après avoir rempli la piscine d'eau, vous pouvez l'utiliser plusieurs fois avec un filtre.
Cela permet à l'eau de passer par plusieurs cycles de nettoyage. Cela réduit les coûts d'entretien du réservoir car les changements d'eau sont effectués moins fréquemment que d'habitude.
Chacun de ces matériaux a ses propres avantages et inconvénients. Pour choisir le bon, vous devez examiner attentivement chaque type de filtre de piscine. Alors ils arrivent :
- Sablonneux. .
De nombreux experts considèrent que de telles installations sont inefficaces. Cependant, ceci est compensé par le faible coût du filtre. Le filtre à sable de piscine est un bac barrière rempli de sable.
Pendant le nettoyage, tous les agents de nettoyage étrangers sont éliminés de l'eau et se déposent au fond du réservoir. L'inconvénient de ce système est son inefficacité.
Cela est dû au fait que tous les corps étrangers ne sont pas éliminés de l'eau lors du nettoyage. Cela réduit considérablement la qualité de l'eau de sortie.
Le principal inconvénient est la maintenance coûteuse des systèmes. Par exemple, le sable dans le filtre doit être régulièrement nettoyé de la saleté. Le rinçage s'effectue par écoulement d'eau en sens inverse. Cela nécessite beaucoup d'eau.
diatomées.
Un mélange de silice est utilisé comme élément filtrant. Il est composé de particules planctoniques fossiles.
Le filtre se compose de plusieurs cartouches recouvertes de diatomées. L'installation est très coûteuse en raison de son efficacité.
Ainsi, même les particules de 3 microns peuvent être éliminées de l'eau.L'entretien de tels filtres doit être effectué par un spécialiste. En effet, ce mélange est un déchet dangereux et vous devez savoir comment vous en débarrasser correctement.
Cartouche.
Ces investissements sont considérés comme des moyennes dorées. Pour des raisons de coût, ils sont intermédiaires entre les filtres à sable et à diatomées. Ils sont très faciles à utiliser et très efficaces.
Avec leur aide, vous pouvez nettoyer la piscine des particules de 5 microns ou plus. Pour nettoyer les cartouches, elles doivent être retirées du boîtier et rincées à l'eau courante.
Comme vous pouvez le voir, les filtres montés sont faciles à entretenir. Bien sûr, ils doivent être nettoyés régulièrement avec des produits de nettoyage spéciaux.
Chacun des appareils énumérés ci-dessus a ses propres avantages et inconvénients. Ces informations doivent être utilisées lors de la recherche d'une option appropriée.
Lors du choix d'un filtre, il faut faire attention non seulement à son entretien et à son fonctionnement, mais également à ses propriétés techniques. Cela s'applique, en particulier, à la capacité de l'installation, qui détermine l'efficacité de son utilisation.
Étape 3 : Montage du filtre
Avant d'installer le dispositif de filtrage, il doit être rempli de sable. Le remblayage est effectué avec une alimentation en eau parallèle. Du charbon actif ou du graphite peuvent être ajoutés au sable propre - cela améliorera considérablement la qualité de l'eau après le nettoyage. Mais n'utilisez pas deux composants à la fois.
Dispositif de filtrage
Après vous pouvez commencer l'installation. Le filtre doit être situé à proximité de la pompe. Le tuyau de sortie peut être situé à n'importe quelle profondeur et dans n'importe quelle zone de la piscine.Assurez-vous que le libre accès au filtre est maintenu pour son entretien ultérieur.
Pour effectuer les procédures d'installation les plus simples, effectuez un essai du système.
Vous savez maintenant comment fabriquer vous-même un filtre à sable à part entière pour la piscine. C'est une entreprise tout à fait réalisable, si vous suivez les instructions étape par étape et ne négligez pas les conseils utiles. Et rappelez-vous que ce n'est qu'après avoir tout fait conformément aux règles vérifiées que vous recevrez un appareil fonctionnel capable de garantir une purification de l'eau de haute qualité dans votre réservoir.
Nuances de fonctionnement
Lors de la purification de l'eau avec un filtre à sable fait maison, il est nécessaire de se conformer aux exigences de sécurité et de comprendre toutes les subtilités de son travail. Périodiquement, vous devez effectuer les opérations suivantes :
- contrôler les lectures du manomètre, qui informe sur le changement de pression à l'intérieur du réservoir. Avec une augmentation de la pression normale de 0,8 à 1,3 bar, l'appareil doit être lavé à contre-courant;
- ouvrir le filtre lorsque la pompe est éteinte. Cela évitera d'avoir de petites particules et de l'eau sale sur la muqueuse;
- connecter l'appareil en respectant une distance d'un mètre par rapport aux parois de la piscine. Pour entretenir le filtre, il est nécessaire de prévoir de l'espace libre ;
- éliminer les dépôts calcaires à l'intérieur du filtre après six mois de fonctionnement. Utilisez une composition spéciale pour nettoyer la chaux;
-
remplacer la charge une fois tous les deux ans. Pendant le fonctionnement, le sable durcit progressivement, se sature de saleté et se compacte, ce qui le rend difficile à filtrer ;
- assurer un retrait maximal des conduites d'aspiration et d'alimentation. Cela améliorera la circulation de l'eau.
Remplacement de remplissage
Effectuez les activités de remplacement des charges selon l'algorithme suivant :
- Éteignez le dispositif de filtrage.
- Ouvrez le couvercle du filtre.
- Retirer la masse de sable à l'aide d'un aspirateur technique.
- Rincez les tuyaux et l'intérieur du filtre.
- Remplissez le boîtier du filtre avec du sable frais. Versez une grande fraction au fond et ajoutez du sable fin sur le dessus.
Instructions de fabrication étape par étape
Pour effectuer les travaux, il est nécessaire de sélectionner un boîtier, d'y insérer des raccords, d'installer des éléments internes, de préparer un élément filtrant et des dispositifs assurant le fonctionnement de la structure. Ensuite, vous devez attacher le système et le connecter à la piscine.
Fût en polypropylène
Étape 1. Nous sélectionnons le corps
Le choix de la chambre de filtration est déterminé par les conditions de son fonctionnement - il doit s'agir d'un récipient hermétique résistant aux influences agressives pouvant supporter la pression développée par les équipements de pompage.
Des fûts en polypropylène de soixante litres ou d'autres récipients en plastique souvent disponibles dans les maisons de campagne conviennent. Fiable en fonctionnement vase d'expansion durable avec une membrane. Il doit être supprimé et un analogue d'équipement industriel sera obtenu.
Étape 2. Nous montons les raccords et les éléments internes
Filtre grossier
Pour assurer le pompage du liquide épuré et l'entrée du liquide contaminé dans le filtre, des raccords sont découpés dans son corps ou couvercle. Les joints sont soigneusement enduits de composés imperméables.
Un dispositif de filtrage est fixé au raccord d'entrée, qui retient de grandes fractions de contaminants, par exemple, une coupe en forme de cône d'une bouteille en plastique recouverte de collants en nylon.
En plus de capter les gros débris, un tel filtre grossier empêche la formation d'un jet dirigé qui creuse des entonnoirs dans l'épaisseur du sable.
Opinion d'expert
Koulikov Vladimir Sergueïevitch
La chambre de drainage reliée au tuyau de sortie est constituée d'un tuyau en plastique coupé à la taille souhaitée et percé de trous. A l'extérieur, il est recouvert d'un grillage à petites alvéoles qui ne laisse pas passer les granulés de sable. Vous pouvez également utiliser une cartouche cylindrique préfabriquée utilisée pour filtrer l'eau potable.
Étape 3. Préparez le mastic de sable
Le sable de quartz spécial disponible dans le commerce ne nécessite aucune préparation pour être utilisé dans le filtre. Il n'y a pas de microflore pathogène, les particules de charge sont broyées à la taille optimale. Le sable de quartz non préparé est tamisé à travers un tamis qui retient les fractions supérieures à un millimètre et demi de diamètre.
La charge triée est ensuite lavée. Le sable ordinaire n'est pas recommandé. Trop petit a tendance à s'agglutiner, trop grand ne purifiera pas l'eau correctement.
L'installation d'un manomètre permet de contrôler la pression et d'éviter les pannes inutiles
Étape 4. Installez des appareils qui garantissent un fonctionnement correct
Lors de l'installation d'un équipement de pompage sous pression, un manomètre doit être utilisé pour contrôler la pression développée. L'installation d'une soupape de sécurité à travers laquelle l'excès de liquide est purgé lorsque la pression dans le système augmente de manière critique aidera à éviter d'endommager le boîtier.
Il devrait également être possible d'évacuer l'air libéré de l'eau par un tuyau de dérivation séparé avec un robinet d'arrêt.
Étape 5. Nous attachons et connectons le système de filtration à la piscine
La pompe doit être puissante et fiable
Le filtre à sable fabriqué est attaché avec une tuyauterie avec des éléments de verrouillage et des raccords situés aux endroits appropriés. La tuyauterie doit permettre la circulation du fluide à travers l'épaisseur de sable à la fois de haut en bas en mode filtration, et en sens inverse pour rincer le filler.
Les performances de l'équipement de pompage sont sélectionnées en fonction du pompage total à travers le filtre de tout le volume d'eau de la piscine en 6 heures. La réduction de ce temps entraînera la nécessité d'un remplacement fréquent de la charge. Le système de filtration est relié à la piscine en raccordant des tuyaux aux tuyaux d'entrée et de sortie qui alimentent l'eau contaminée de la piscine et drainent le liquide purifié dans le réservoir.
En conclusion, nous notons qu'un filtre à sable bien fait, soumis aux règles de fonctionnement et d'entretien en temps opportun, fonctionnera longtemps sans perte de caractéristiques techniques. Le coût d'un appareil fabriqué soi-même est bien inférieur à celui d'une copie industrielle.
- Pompes de surface pour puits. Aperçu et critères de sélection
- Station de pompage pour une résidence d'été. Comment choisir? Aperçu du modèle
- Fendeuse à bois de leurs propres mains. Types d'appareils et instructions
- Système d'arrosage automatique de la pelouse. Installation et appareil à faire soi-même
Notes des meilleurs modèles
Pour obtenir un degré élevé de purification de l'eau dans la piscine, lors du choix d'une installation de filtrage, il est recommandé de prêter attention aux produits des entreprises qui occupent une position de leader sur le marché. Parmi les modèles qui composent le top list des filtres de piscine, il existe des modèles de volume et de design différents
Mais pour évaluer la qualité et les performances, nous avons choisi des modèles qui figurent en tête des listes de préférences des consommateurs depuis plusieurs saisons.
Crystal Clear Intex 26644
Modèle de marque populaire fabricant de piscines domestiques à ossature. L'avantage de ce modèle est la haute performance avec de petites dimensions. La capacité déclarée de 4,5 m3 est suffisante pour nettoyer des piscines jusqu'à 25 m3. Le raccordement à une piscine standard s'effectue à l'aide de flexibles de marque 38 mm. Le modèle a la capacité de fonctionner dans l'un des 6 modes. Pour le confort d'utilisation dans le modèle, la minuterie et le manomètre sont fournis. Intex cristallin 26644 peut être rempli de quartz et de sable de verre avec une fraction de 0,4-0,8 mm. Pour une charge standard, vous avez besoin de 12 kg de sable ordinaire, pour le verre - 8 kg.
Les instructions du fabricant indiquent qu'un seul ravitaillement suffit pour 3 à 5 ans de fonctionnement.
La conception est faite sur la plate-forme. Le boîtier est en polyéthylène résistant aux chocs. L'installation diffère dans les tailles compactes par une connexion pratique aux connecteurs réguliers des piscines d'Intex. L'instruction, en plus de la description, contient également un disque avec un film - des instructions pour connecter et entretenir l'installation.

Bestway 58495
Le modèle de filtre de piscine le plus compact. La productivité est de 3,4 m3 d'eau par heure. Une vanne 6 positions est intégrée dans la cuve en polypropylène. La minuterie permet l'allumage et l'extinction automatique de l'appareil. Le manomètre intégré vous permet de contrôler la pression à l'intérieur du réservoir.
Une caractéristique du modèle est la présence d'un distributeur ChemConnect intégré. L'appareil vous permet d'ajouter automatiquement des produits chimiques désinfectants à l'eau filtrée.La conception fournit un filtre supplémentaire pour piéger les particules non dissoutes. Cette fonction assure une protection à long terme de la pompe contre les dommages.
Les tuyaux de dérivation pour le raccordement de tuyaux de 3,8 cm rendent le filtre universel pour le raccordement aux modèles les plus courants de piscines à cadre. Le volume de sable à remplir dans le boîtier du filtre est de 9 kg.

Aquaviva FSF350
L'un des plus grands filtres pour piscines résidentielles. Pour charger, vous aurez besoin de 20 kg de sable de quartz avec une granulométrie de 0,5 à 1 mm. Le réservoir de l'unité de filtration est en fibre de verre. Le matériau du boîtier n'a pas peur des rayons ultraviolets, il peut être installé à l'extérieur.
Le système a des types de connexion standard avec des tuyaux de 50 mm. La productivité est de 4,3 m3 d'eau par heure. Le boîtier résiste à une pression jusqu'à 2,5 bars.
En comparaison avec d'autres modèles, Aquaviva FSF350 fonctionne à une température de l'eau de +43 degrés.
Le système a une conception modulaire. Le boîtier du filtre et la pompe sont montés sur une plate-forme commune. Le fabricant recommande d'utiliser l'unité pour les piscines d'un volume de 15-18 m3.

Haut Powerline Hayward
Il s'agit du filtre le plus célèbre et de la plus haute qualité pour les piscines domestiques. Ce modèle offre une filtration d'eau d'une capacité de 5 à 14 m3 par heure. Une telle variation des indicateurs est due au fait que la pompe est sélectionnée pour ce filtre en fonction du volume de la piscine. Le volume de bol recommandé pour le Hayward powerline Top est de 25 m3. La conception est équipée d'une vanne standard à 6 positions et d'un manomètre. Le corps est en polypropylène résistant aux chocs et est capable de résister à une pression de 2 bar.
Pour que le filtre fonctionne, 25 kg de sable de quartz avec une fraction de 0,4 à 0,8 kg seront nécessaires.Tous les modèles Hayward Powerline Top sont connectés à l'aide de tuyaux de 38 mm.

Remplacement du sable
Le sable de quartz ordinaire doit être remplacé tous les trois ans. Certaines unités commerciales (par exemple, les filtres de piscine à sable Intex) utilisent du sable, qui doit être remplacé moins fréquemment, environ une fois tous les 5 ans. L'opération n'est pas difficile :
- Éteignez la pompe qui alimente le filtre en eau.
- Si vous utilisez un système de filtration fabriqué en usine, fermez les buses et fermez les vannes de l'écumoire.
- Si le filtre est installé à l'intérieur de la piscine, l'eau du bain doit être vidangée.
- Débranchez le filtre du système.
- Après avoir ouvert la trappe, retirez tout le sable du corps, sans oublier de nettoyer les buses.
- Sous la pression de l'eau, déposez le nouveau sable. Comme mentionné ci-dessus, la couche inférieure doit être formée par le sable le plus gros, puis le matériau de fraction moyenne est posé et le sable le plus fin est placé sur le dessus.
- Il reste à fermer le couvercle du filtre sur le loquet et à le connecter au système.
Après chaque opération d'entretien du filtre à sable, qu'il s'agisse d'un changement de sable ou d'un rinçage, vérifiez que l'orifice du manomètre n'est pas obstrué par de la saleté ou du sable.










































