- Types de circulation forcée du caloporteur dans le chauffage
- Systèmes avec induction artificielle du mouvement du liquide de refroidissement
- informations générales
- Moments de base
- Autorégulation
- Taux de circulation
- Modes de circulation de l'eau dans les systèmes de chauffage
- Circulation naturelle du liquide de refroidissement
- Circulation forcée du liquide de refroidissement
- Système à deux tubes avec câblage inférieur
- Avantages et inconvénients d'un système à deux tubes avec câblage inférieur
- Caractéristiques du montage d'un système à deux tubes avec câblage inférieur
- La différence entre les systèmes monotubes et bitubes
- Caractéristiques du câblage monotube
- 2 Exigences relatives à l'agencement et au fonctionnement
- Circulation gravitaire
- informations générales
- Moments de base
- Autorégulation
- Taux de circulation
- Classification des systèmes de chauffage de l'eau selon le principe de fonctionnement
- avec circulation naturelle
- Circuit à circulation forcée
- Méthodes de montage
- Chauffage du collecteur
- Nous calculons nous-mêmes un système de chauffage monotube
- Comment installer correctement le chauffage
- Fer à cheval théorique - comment fonctionne la gravité
Types de circulation forcée du caloporteur dans le chauffage
L'utilisation de systèmes de chauffage à circulation forcée dans les maisons à deux étages est utilisée en raison de la longueur des lignes du système (plus de 30 m). Cette méthode est réalisée à l'aide d'une pompe de circulation qui pompe le liquide du circuit.Il est monté à l'entrée du réchauffeur, là où la température du liquide de refroidissement est la plus basse.
Avec un circuit fermé, le degré de pression que la pompe développe ne dépend pas du nombre d'étages et de la superficie du bâtiment. La vitesse d'écoulement de l'eau devient plus grande, par conséquent, lors du passage dans les canalisations, le liquide de refroidissement ne se refroidit pas beaucoup. Cela contribue à une répartition plus uniforme de la chaleur dans tout le système et à l'utilisation d'un générateur de chaleur en mode économe.
Le vase d'expansion peut être situé non seulement au point le plus élevé du système, mais également à proximité de la chaudière. Pour parfaire le circuit, les concepteurs y ont introduit un collecteur accélérateur. Maintenant, s'il y a une panne de courant et l'arrêt subséquent de la pompe, le système continuera à fonctionner en mode convection.
- avec un tuyau
- deux;
- collectionneur.
Chacun peut être monté par vous-même ou inviter des spécialistes.
Variante du schéma avec un tuyau
Des vannes d'arrêt sont également montées à l'entrée de la batterie, ce qui sert à réguler la température dans la pièce, ainsi que nécessaire lors du remplacement de l'équipement. Une vanne de purge d'air est installée sur le dessus du radiateur.
Soupape de batterie
Pour augmenter l'uniformité de la distribution de chaleur, des radiateurs sont installés le long de la ligne de dérivation. Si vous n'utilisez pas ce schéma, vous devrez sélectionner des batteries de différentes capacités, en tenant compte de la perte de caloporteur, c'est-à-dire plus loin de la chaudière, plus il y a de sections.
L'utilisation de vannes d'arrêt est facultative, mais sans elle, la maniabilité de l'ensemble du système de chauffage est réduite. Si nécessaire, vous ne pourrez pas déconnecter le deuxième ou le premier étage du réseau pour économiser du carburant.
Pour s'éloigner de la répartition inégale du caloporteur, des schémas à deux tuyaux sont utilisés.
- impasse;
- qui passe;
- collectionneur.
Options pour les schémas sans issue et de dépassement
L'option associée permet de contrôler facilement le niveau de chaleur, mais il est nécessaire d'augmenter la longueur de la canalisation.
Le circuit collecteur est reconnu comme le plus efficace, ce qui permet d'amener un tuyau séparé à chaque radiateur. La chaleur est répartie uniformément. Il y a un inconvénient - le coût élevé de l'équipement, à mesure que la quantité de consommables augmente.
Schéma de chauffage horizontal du collecteur
Il existe également des options verticales pour fournir le caloporteur, qui se trouvent avec le câblage inférieur et supérieur. Dans le premier cas, le drain avec l'alimentation en caloporteur traverse les étages, dans le second, la colonne montante monte de la chaudière au grenier, où les tuyaux sont acheminés vers les éléments chauffants.
Disposition verticale
Les maisons à deux étages peuvent avoir une superficie très différente, allant de quelques dizaines à des centaines de mètres carrés. Elles se différencient également par l'emplacement des pièces, la présence de dépendances et de vérandas chauffées, la position par rapport aux points cardinaux. En vous concentrant sur ces facteurs et sur de nombreux autres, vous devez décider de la circulation naturelle ou forcée du liquide de refroidissement.
Un schéma simple de circulation du liquide de refroidissement dans une maison privée avec un système de chauffage à circulation naturelle.
Les schémas de chauffage avec circulation naturelle du liquide de refroidissement se distinguent par leur simplicité. Ici, le liquide de refroidissement se déplace seul dans les tuyaux, sans l'aide d'une pompe de circulation - sous l'influence de la chaleur, il monte, pénètre dans les tuyaux, est réparti sur les radiateurs, se refroidit et pénètre dans le tuyau de retour pour revenir à la chaudière. Autrement dit, le liquide de refroidissement se déplace par gravité, obéissant aux lois de la physique.
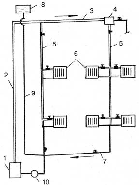
Schéma d'un système de chauffage fermé à deux tuyaux d'une maison à deux étages à circulation forcée
- Chauffage plus uniforme de toute la maison;
- Sections horizontales sensiblement plus longues (selon la puissance de la pompe utilisée, elle peut atteindre plusieurs centaines de mètres) ;
- La possibilité d'une connexion plus efficace des radiateurs (par exemple, en diagonale);
- Possibilité de monter des raccords et des coudes supplémentaires sans risque de chute de pression en dessous de la limite minimale.
Ainsi, dans les maisons modernes à deux étages, il est préférable d'utiliser des systèmes de chauffage à circulation forcée. Il est également possible d'installer un by-pass, qui vous aidera à choisir entre circulation forcée ou naturelle afin de sélectionner l'option la plus optimale. Nous faisons un choix vers des systèmes coercitifs, car plus efficaces.
La circulation forcée présente quelques inconvénients - il s'agit de la nécessité d'acheter une pompe de circulation et du niveau de bruit accru associé à son fonctionnement.
Systèmes avec induction artificielle du mouvement du liquide de refroidissement
Les schémas d'un système de chauffage ouvert avec une pompe impliquent dans tous les cas l'utilisation d'un appareil approprié. Cela vous permet d'augmenter la vitesse de déplacement du liquide et de réduire le temps de chauffage de la maison. Dans ce cas, le flux de caloporteur se déplace à une vitesse d'environ 0,7 m/s, de sorte que le transfert de chaleur devient plus efficace et que toutes les sections du système d'alimentation en chaleur sont chauffées de manière égale.
Lors de l'installation d'un système de chauffage de type ouvert avec pompe, plusieurs caractéristiques doivent être prises en compte:
- La présence d'une pompe de circulation intégrée nécessite une connexion au système d'alimentation électrique.Pour un fonctionnement ininterrompu lors d'une panne de courant d'urgence, il est recommandé d'installer la pompe sur la dérivation.
- L'équipement de pompage doit être placé sur le tuyau de retour devant l'entrée de la chaudière, à une distance maximale de 1,5 mètre de celle-ci.
- La pompe s'écrase dans la canalisation, en tenant compte du sens de déplacement du liquide de refroidissement.

informations générales
Moments de base
L'absence de pompe de circulation et généralement d'éléments mobiles et d'un circuit fermé, dans lequel la quantité de suspensions et de sels minéraux est finie, rend la durée de vie de ce type de système de chauffage très longue. Lors de l'utilisation de tuyaux galvanisés ou en polymère et de radiateurs bimétalliques - au moins un demi-siècle.
La circulation naturelle du chauffage signifie une perte de charge assez faible. Les tuyaux et les appareils de chauffage offrent inévitablement une certaine résistance au mouvement du liquide de refroidissement. C'est pourquoi le rayon recommandé du système de chauffage qui nous intéresse est estimé à environ 30 mètres. De toute évidence, cela ne signifie pas qu'avec un rayon de 32 mètres, l'eau gèlera - la frontière est plutôt arbitraire.
L'inertie du système sera assez grande. Plusieurs heures peuvent s'écouler entre l'allumage ou le démarrage de la chaudière et la stabilisation de la température dans toutes les pièces chauffées. Les raisons sont claires: la chaudière devra réchauffer l'échangeur de chaleur, et alors seulement l'eau commencera à circuler, et plutôt lentement.
Toutes les sections horizontales des canalisations sont réalisées avec une pente obligatoire dans le sens du mouvement de l'eau. Il assurera la libre circulation de l'eau de refroidissement par gravité avec une résistance minimale.
Ce qui n'est pas moins important - dans ce cas, tous les bouchons d'air seront expulsés vers le point supérieur du système de chauffage, où le vase d'expansion est monté - scellé, avec un évent ou ouvert.

Tout l'air s'accumulera au sommet.
Autorégulation
Le chauffage domestique à circulation naturelle est un système autorégulateur. Plus il fait froid dans la maison, plus le liquide de refroidissement circule rapidement. Comment ça fonctionne?
Le fait est que la pression de circulation dépend de:
Différences de hauteur entre la chaudière et le chauffe-eau inférieur. Plus la chaudière est basse par rapport au radiateur inférieur, plus l'eau y débordera rapidement par gravité. Le principe des vases communicants, tu te souviens ? Ce paramètre est stable et inchangé pendant le fonctionnement du système de chauffage.

Le schéma montre clairement le principe de fonctionnement du chauffage.
Avec une baisse de la température du liquide de refroidissement, sa densité augmente et il commence à déplacer rapidement l'eau chauffée de la partie inférieure du circuit.
Taux de circulation
En plus de la pression, le taux de circulation du liquide de refroidissement sera déterminé par un certain nombre d'autres facteurs.
- Diamètre du tuyau de câblage. Plus la section interne du tuyau est petite, plus la résistance qu'il fournira au mouvement du fluide dans celui-ci sera grande. C'est pourquoi, pour le câblage en cas de circulation naturelle, des tuyaux de diamètre délibérément surdimensionné sont pris - DN32 - DN40.
- Matériau du tuyau. L'acier (surtout corrodé et recouvert de dépôts) résiste plusieurs fois plus à l'écoulement que, par exemple, un tuyau en polypropylène de même section.
- Le nombre et le rayon des virages. Par conséquent, le câblage principal est mieux fait aussi droit que possible.
- La présence, le nombre et le type de vannes, les diverses rondelles de retenue et les transitions de diamètre des tuyaux.

Chaque vanne, chaque coude provoque une perte de charge.
C'est précisément à cause de l'abondance de variables qu'un calcul précis d'un système de chauffage à circulation naturelle est extrêmement rare et donne des résultats très approximatifs. En pratique, il suffit d'utiliser les recommandations déjà données.
Modes de circulation de l'eau dans les systèmes de chauffage
Le mouvement du fluide le long d'un circuit fermé (contours) peut se produire en mode naturel ou forcé. L'eau chauffée par la chaudière de chauffage se précipite vers les batteries. Cette partie du circuit de chauffage est appelée course aller (courant). Une fois dans les batteries, le liquide de refroidissement refroidit et est renvoyé à la chaudière pour le chauffage. Cet intervalle de la route fermée est appelé inverse (courant). Pour accélérer la circulation du liquide de refroidissement le long du circuit, des pompes de circulation spéciales sont utilisées, coupées dans la canalisation au "retour". Des modèles de chaudières de chauffage sont produits, dont la conception prévoit la présence d'une telle pompe.
Circulation naturelle du liquide de refroidissement
Avec la circulation naturelle, le mouvement de l'eau dans le système se fait par gravité. Ceci est possible en raison de l'effet physique qui se produit lorsque la densité de l'eau change. L'eau chaude a une densité plus faible. Le liquide allant en sens inverse a une densité élevée, et donc déplace facilement l'eau qui s'est déjà réchauffée dans la chaudière. Le liquide de refroidissement chaud se précipite dans la colonne montante, puis est réparti le long de lignes horizontales, tracées selon une légère pente ne dépassant pas 3 à 5 degrés.La présence d'une pente permet ainsi le mouvement du fluide à travers les canalisations par gravité.
Le schéma de chauffage, basé sur la circulation naturelle du liquide de refroidissement, est le plus simple et donc facile à mettre en œuvre dans la pratique. De plus, dans ce cas, aucune autre communication n'est requise. Cependant, cette option ne convient que pour les maisons privées d'une petite superficie, car la longueur du circuit est limitée à 30 mètres. Les inconvénients incluent la nécessité d'installer des tuyaux de plus grand diamètre, ainsi qu'une basse pression dans le système.

Circulation forcée du liquide de refroidissement
Dans les systèmes de chauffage autonomes à circulation forcée d'eau (liquide de refroidissement) en circuit fermé, une pompe de circulation est obligatoire, qui fournit un débit accéléré d'eau chauffée aux batteries et d'eau refroidie au réchauffeur. Le mouvement de l'eau est possible en raison de la différence de pression qui se produit entre le flux direct et le flux inverse du liquide de refroidissement.
Lors de l'installation de ce système, il n'est pas nécessaire d'observer la pente du pipeline. C'est un avantage, mais un inconvénient important réside dans la dépendance énergétique d'un tel système de chauffage. Par conséquent, en cas de panne de courant dans une maison privée, il doit y avoir un générateur (mini-centrale électrique) qui assurera le fonctionnement du système de chauffage en cas d'urgence.

Un schéma avec circulation forcée de l'eau comme caloporteur peut être utilisé lors de l'installation du chauffage dans une maison de toute taille. Dans ce cas, une pompe de puissance appropriée est sélectionnée et son alimentation électrique ininterrompue est assurée.
Système à deux tubes avec câblage inférieur
Ensuite, nous considérerons les systèmes à deux tuyaux, qui se distinguent par le fait qu'ils assurent une répartition uniforme de la chaleur même dans les plus grands ménages avec de nombreuses pièces. C'est le système à deux tuyaux qui est utilisé pour chauffer les bâtiments à plusieurs étages, dans lesquels il y a beaucoup d'appartements et de locaux non résidentiels - ici, un tel système fonctionne très bien. Nous envisagerons des projets pour des maisons privées.
Système de chauffage à deux tubes avec câblage inférieur.
Un système de chauffage à deux tubes se compose d'un tuyau d'alimentation et d'un tuyau de retour. Les radiateurs sont installés entre eux - l'entrée du radiateur est connectée au tuyau d'alimentation et la sortie au tuyau de retour. Qu'est-ce que ça donne ?
- Répartition uniforme de la chaleur dans tout le local.
- Possibilité de contrôler la température ambiante en éteignant complètement ou partiellement les radiateurs individuels.
- Possibilité de chauffer des maisons privées à plusieurs étages.
Il existe deux principaux types de systèmes à deux tubes - avec câblage inférieur et supérieur. Pour commencer, nous considérerons un système à deux tuyaux avec un câblage inférieur.
Le câblage inférieur est utilisé dans de nombreuses maisons privées, car il vous permet de rendre le chauffage moins visible. Les conduites d'alimentation et de retour passent ici l'une à côté de l'autre, sous les radiateurs ou même dans les planchers. L'air est évacué par des robinets Mayevsky spéciaux. Les schémas de chauffage dans une maison privée en polypropylène prévoient le plus souvent un tel câblage.
Avantages et inconvénients d'un système à deux tubes avec câblage inférieur
Lors de l'installation d'un chauffage avec un câblage inférieur, nous pouvons cacher les tuyaux dans le sol.
Voyons quelles sont les caractéristiques positives des systèmes à deux tubes avec câblage inférieur.
- La possibilité de masquer les tuyaux.
- La possibilité d'utiliser des radiateurs avec une connexion inférieure - cela simplifie quelque peu l'installation.
- Les pertes de chaleur sont minimisées.
La possibilité de rendre au moins partiellement le chauffage moins visible attire de nombreuses personnes. Dans le cas du câblage inférieur, nous obtenons deux tuyaux parallèles qui affleurent le sol. Si vous le souhaitez, ils peuvent être amenés sous les planchers, offrant cette possibilité même au stade de la conception du système de chauffage et de l'élaboration d'un projet de construction d'une maison privée.
Si vous utilisez des radiateurs avec une connexion inférieure, il devient possible de masquer presque complètement tous les tuyaux dans les sols - les radiateurs sont connectés ici à l'aide de nœuds spéciaux.
Quant aux inconvénients, ils sont la nécessité d'une évacuation manuelle régulière de l'air et la nécessité d'utiliser une pompe de circulation.
Caractéristiques du montage d'un système à deux tubes avec câblage inférieur
Attaches en plastique pour tuyaux de chauffage de différents diamètres.
Afin de monter le système de chauffage selon ce schéma, il est nécessaire de poser les tuyaux d'alimentation et de retour autour de la maison. À ces fins, il existe des attaches en plastique spéciales en vente. Si des radiateurs à raccordement latéral sont utilisés, nous faisons un robinet du tuyau d'alimentation au trou latéral supérieur, et prenons le liquide de refroidissement à travers le trou latéral inférieur, en le dirigeant vers le tuyau de retour. Nous avons placé des bouches d'aération à côté de chaque radiateur. La chaudière dans ce schéma est installée au point le plus bas.
Il utilise une connexion diagonale des radiateurs, ce qui augmente leur transfert de chaleur. La connexion inférieure des radiateurs réduit la production de chaleur.
Un tel schéma est le plus souvent fermé, à l'aide d'un vase d'expansion scellé.La pression dans le système est créée à l'aide d'une pompe de circulation. Si vous avez besoin de chauffer une maison privée à deux étages, nous posons des tuyaux aux étages supérieur et inférieur, après quoi nous créons une connexion parallèle des deux étages à la chaudière de chauffage.
La différence entre les systèmes monotubes et bitubes
Les systèmes de chauffage de l'eau sont divisés en deux types principaux - ce sont les monotubes et les bitubes. Les différences entre ces schémas résident dans la méthode de connexion des batteries de transfert de chaleur au réseau principal.
Le réseau de chauffage monotube est un circuit en anneau fermé. La canalisation est posée à partir de l'unité de chauffage, les radiateurs y sont connectés en série et ramènent à la chaudière.
Le chauffage avec une ligne est simplement monté et ne comporte pas un grand nombre de composants, il peut donc économiser considérablement sur l'installation.
Les circuits de chauffage monotube avec mouvement naturel du liquide de refroidissement ne conviennent qu'avec un câblage supérieur. Un trait caractéristique - dans les schémas, il y a des colonnes montantes de la ligne d'alimentation, mais il n'y a pas de colonnes montantes pour le retour
Le mouvement du liquide de refroidissement du chauffage à deux tuyaux s'effectue le long de deux autoroutes. Le premier sert à acheminer le liquide de refroidissement chaud de l'appareil de chauffage vers les circuits de dégagement de chaleur, le second à drainer l'eau refroidie vers la chaudière.
Les batteries de chauffage sont connectées en parallèle - le liquide chauffé entre dans chacune d'elles directement à partir du circuit d'alimentation, il a donc presque la même température.
Dans le radiateur, le liquide de refroidissement dégage de l'énergie et se refroidit dans le circuit de sortie - le "retour". Un tel schéma nécessite deux fois plus de raccords, de tuyaux et de raccords, cependant, il vous permet d'organiser des structures ramifiées complexes et de réduire les coûts de chauffage en ajustant individuellement les radiateurs.
Le système à deux tuyaux chauffe efficacement de grandes surfaces et des bâtiments à plusieurs étages. Dans les maisons de faible hauteur (1 à 2 étages) d'une superficie inférieure à 150 m², il est plus opportun d'organiser une alimentation en chaleur monotube d'un point de vue esthétique et économique.
Le schéma à deux tuyaux pour le raccordement des radiateurs n'est pas largement utilisé dans l'alimentation en chaleur individuelle des maisons privées, car il est plus difficile à installer et à entretenir. De plus, le double du nombre de tuyaux semble inesthétique
Caractéristiques du câblage monotube
Il est assez simple d'installer tous les détails du système à l'intérieur de la maison. Dans ce cas, il part du point d'alimentation en eau et se termine à l'équipement de chauffage. La connexion diagonale est la plus efficace, elle est donc choisie plus souvent. Un vase d'expansion doit être placé dans le bâtiment.

Il existe également une option plus simple et facile à mettre en œuvre par vous-même. Dans ce cas, il est nécessaire de mettre la porte sur la volée d'escalier. Cela isolera les étages les uns des autres. Cette option est assez efficace, bien que peu esthétique.
Conseils! Avant le câblage, il est nécessaire d'étudier différents schémas. Ensuite, il sera beaucoup plus facile de décider du choix du système.

2 Exigences relatives à l'agencement et au fonctionnement
Selon les caractéristiques de conception, les appareils à deux tuyaux sont un peu plus compliqués et plus chers. Mais cela est justifié par certains avantages qui couvrent les lacunes de la version monotube. L'eau est chauffée à une température uniforme, puis s'écoule simultanément vers tous les appareils.À son tour, le liquide de refroidissement refroidi est renvoyé par le tuyau de retour et ne passe pas par le radiateur suivant.

Lors de l'équipement d'un système de chauffage ouvert avec une pompe et un vase d'expansion, il est nécessaire de mettre en évidence plusieurs règles et exigences pour les travaux à venir. Ils sont les suivants :
- 1. Au stade de l'installation, l'installation de la chaudière doit être fixée au point le plus bas de la ligne et le vase d'expansion au plus haut.
- 2. Idéalement, la chaudière devrait être située dans le grenier. Pendant la période froide, le réservoir et la colonne montante d'alimentation doivent être isolés.
- 3. Lors de la pose de l'autoroute, un grand nombre de virages, d'éléments de connexion et de formes doivent être évités.
- 4. Dans les systèmes gravitationnels, la circulation du liquide de refroidissement s'effectue à faible vitesse - pas plus de 0,1-0,3 m par seconde. Pour cette raison, il est nécessaire de réchauffer l'eau progressivement, en évitant l'ébullition. Sinon, la durée de vie des tuyaux sera considérablement réduite.
- 5. Si le système de chauffage ne fonctionne pas pendant la saison froide, il est préférable de vidanger le liquide de refroidissement. Cette approche évitera des dommages prématurés aux tuyaux, aux radiateurs et à la chaudière.
- 6. Le volume de liquide de refroidissement dans le vase d'expansion doit être surveillé et restauré au fur et à mesure que le liquide est épuisé. Si cela n'est pas fait, le risque de poches d'air augmentera, ce qui réduira l'efficacité des radiateurs.
- 7. La meilleure option pour un liquide de refroidissement est l'eau. Le fait est que l'antigel contient des substances toxiques dans sa composition et, lorsqu'ils interagissent avec l'atmosphère, ils peuvent nuire à la santé humaine. Ce type de liquide peut être utilisé lorsqu'il n'est pas possible de vidanger le liquide de refroidissement pendant la période froide.
Les normes de conception actuelles sont réglementées par le numéro SNiP 2.04.01-85. Dans les circuits à circulation gravitationnelle de liquide, le diamètre de la section de tuyau est nettement plus grand que dans les systèmes avec pompe.
Circulation gravitaire
Dans les systèmes où le liquide de refroidissement circule naturellement, il n'y a pas de mécanismes pour favoriser le mouvement du fluide. Le processus est effectué en raison de la dilatation du liquide de refroidissement chauffé. Pour que ce type de système fonctionne efficacement, une colonne montante accélératrice d'une hauteur de 3,5 mètres ou plus est installée.
Le principal dans le système de chauffage avec circulation naturelle du liquide a certaines restrictions de longueur, en particulier, il ne doit pas dépasser 30 mètres. Par conséquent, un tel apport de chaleur peut être utilisé dans de petits bâtiments, dans ce cas les maisons sont considérées comme la meilleure option, dont la superficie ne dépasse pas 60 m2. La hauteur de la maison et le nombre d'étages sont également d'une grande importance lors de l'installation d'une colonne montante accélératrice. Un autre facteur doit être pris en compte, dans un système de chauffage à circulation naturelle, le liquide de refroidissement doit être chauffé à une certaine température; en mode basse température, la pression requise n'est pas créée.

Le schéma avec le mouvement gravitationnel d'un fluide a certaines possibilités:
- Combinaison avec des systèmes de chauffage par le sol. Dans ce cas, une pompe de circulation est installée sur le circuit d'eau menant aux éléments chauffants. Sinon, l'opération s'effectue dans le mode habituel, sans arrêt même en l'absence d'alimentation.
- Travaux de chaudronnerie. L'appareil est installé dans la partie supérieure du système, mais à un niveau inférieur à celui du vase d'expansion.Dans certains cas, une pompe est installée sur la chaudière pour assurer son bon fonctionnement. Cependant, il faut comprendre que dans une telle situation le système devient forcé, ce qui rend nécessaire l'installation d'un clapet anti-retour pour empêcher la recirculation du fluide.
informations générales
Moments de base
L'absence de pompe de circulation et généralement d'éléments mobiles et d'un circuit fermé, dans lequel la quantité de suspensions et de sels minéraux est finie, rend la durée de vie de ce type de système de chauffage très longue. Lors de l'utilisation de tuyaux galvanisés ou en polymère et de radiateurs bimétalliques - au moins un demi-siècle.
La circulation naturelle du chauffage signifie une perte de charge assez faible. Les tuyaux et les appareils de chauffage offrent inévitablement une certaine résistance au mouvement du liquide de refroidissement. C'est pourquoi le rayon recommandé du système de chauffage qui nous intéresse est estimé à environ 30 mètres. De toute évidence, cela ne signifie pas qu'avec un rayon de 32 mètres, l'eau gèlera - la frontière est plutôt arbitraire.
L'inertie du système sera assez grande. Plusieurs heures peuvent s'écouler entre l'allumage ou le démarrage de la chaudière et la stabilisation de la température dans toutes les pièces chauffées. Les raisons sont claires: la chaudière devra réchauffer l'échangeur de chaleur, et alors seulement l'eau commencera à circuler, et plutôt lentement.
Toutes les sections horizontales des canalisations sont réalisées avec une pente obligatoire dans le sens du mouvement de l'eau. Il assurera la libre circulation de l'eau de refroidissement par gravité avec une résistance minimale.
Ce qui n'est pas moins important - dans ce cas, tous les bouchons d'air seront expulsés vers le point supérieur du système de chauffage, où le vase d'expansion est monté - scellé, avec un évent ou ouvert.

Tout l'air s'accumulera au sommet.
Autorégulation
Le chauffage domestique à circulation naturelle est un système autorégulateur. Plus il fait froid dans la maison, plus le liquide de refroidissement circule rapidement. Comment ça fonctionne?
Le fait est que la pression de circulation dépend de:
Différences de hauteur entre la chaudière et le chauffe-eau inférieur. Plus la chaudière est basse par rapport au radiateur inférieur, plus l'eau y débordera rapidement par gravité. Le principe des vases communicants, tu te souviens ? Ce paramètre est stable et inchangé pendant le fonctionnement du système de chauffage.

Le schéma montre clairement le principe de fonctionnement du chauffage.
Curieux : c'est pourquoi il est recommandé d'installer la chaudière de chauffage au sous-sol ou le plus bas possible à l'intérieur. Cependant, l'auteur a vu un système de chauffage parfaitement fonctionnel dans lequel l'échangeur de chaleur dans le four du four était sensiblement plus haut que les radiateurs. Le système était pleinement opérationnel.
Différences de densité de l'eau à la sortie de la chaudière et dans la canalisation de retour. Ce qui, bien sûr, est déterminé par la température de l'eau. Et c'est précisément grâce à cette caractéristique que le chauffage naturel devient autorégulateur : dès que la température dans la pièce baisse, les radiateurs se refroidissent.
Avec une baisse de la température du liquide de refroidissement, sa densité augmente et il commence à déplacer rapidement l'eau chauffée de la partie inférieure du circuit.
Taux de circulation
En plus de la pression, le taux de circulation du liquide de refroidissement sera déterminé par un certain nombre d'autres facteurs.
- Diamètre du tuyau de câblage. Plus la section interne du tuyau est petite, plus la résistance qu'il fournira au mouvement du fluide dans celui-ci sera grande. C'est pourquoi, pour le câblage en cas de circulation naturelle, des tuyaux de diamètre délibérément surdimensionné sont pris - DN32 - DN40.
- Matériau du tuyau. L'acier (surtout corrodé et recouvert de dépôts) résiste plusieurs fois plus à l'écoulement que, par exemple, un tuyau en polypropylène de même section.
- Le nombre et le rayon des virages. Par conséquent, le câblage principal est mieux fait aussi droit que possible.
- La présence, la quantité et le type de vannes. une variété de rondelles de retenue et de transitions de diamètre de tuyau.

Chaque vanne, chaque coude provoque une perte de charge.
C'est précisément à cause de l'abondance de variables qu'un calcul précis d'un système de chauffage à circulation naturelle est extrêmement rare et donne des résultats très approximatifs. En pratique, il suffit d'utiliser les recommandations déjà données.
Classification des systèmes de chauffage de l'eau selon le principe de fonctionnement
Selon le principe de fonctionnement, le chauffage a une circulation naturelle et forcée du liquide de refroidissement.
avec circulation naturelle
Utilisé pour chauffer une petite maison. Le liquide de refroidissement se déplace dans les tuyaux en raison de la convection naturelle.
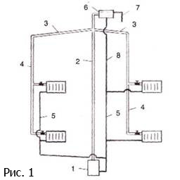
Photo 1. Schéma d'un système de chauffage de l'eau à circulation naturelle. Les tuyaux doivent être installés en légère pente.
Selon les lois de la physique, un liquide chaud monte. L'eau, chauffée dans la chaudière, monte, après quoi elle descend à travers des tuyaux jusqu'au dernier radiateur du système. En refroidissant, l'eau entre dans le tuyau de retour et retourne à la chaudière.
L'utilisation de systèmes fonctionnant à l'aide de la circulation naturelle nécessite la création d'une pente - cela simplifie le mouvement du liquide de refroidissement. La longueur du tuyau horizontal ne peut pas dépasser 30 mètres - la distance entre le radiateur le plus à l'extérieur du système et la chaudière.
De tels systèmes attirent par leur faible coût, aucun équipement supplémentaire n'est requis, ils ne font pratiquement pas de bruit lorsqu'ils fonctionnent. L'inconvénient est que les tuyaux ont besoin d'un grand diamètre et doivent être posés aussi uniformément que possible (il n'y a presque pas de pression de liquide de refroidissement en eux). Il est impossible de chauffer un grand bâtiment.
Circuit à circulation forcée
Le schéma utilisant la pompe est plus compliqué. Ici, en plus des batteries de chauffage, une pompe de circulation est installée qui déplace le liquide de refroidissement à travers le système de chauffage. Il a une pression plus élevée, donc:
- Il est possible de poser des tuyaux avec des coudes.
- Il est plus facile de chauffer de grands bâtiments (même plusieurs étages).
- Convient aux petits tuyaux.
Photo 2. Schéma d'un système de chauffage à circulation forcée. Une pompe est utilisée pour déplacer le liquide de refroidissement à travers les tuyaux.
Souvent, ces systèmes sont fermés, ce qui élimine la pénétration d'air dans les réchauffeurs et le liquide de refroidissement - la présence d'oxygène entraîne la corrosion des métaux. Dans un tel système, des vases d'expansion fermés sont nécessaires, qui sont complétés par des soupapes de sécurité et des dispositifs de purge d'air. Ils chaufferont une maison de toute taille et sont plus fiables en fonctionnement.
Méthodes de montage
Pour une petite maison composée de 2-3 pièces, un système monotube est utilisé. Le liquide de refroidissement se déplace séquentiellement à travers toutes les batteries, atteint le dernier point et retourne par le tuyau de retour à la chaudière. Les batteries se connectent par le bas. L'inconvénient est que les pièces éloignées se réchauffent moins bien, car elles reçoivent un liquide de refroidissement légèrement refroidi.
Les systèmes à deux tuyaux sont plus parfaits - un tuyau est posé sur le radiateur éloigné et des robinets sont fabriqués à partir de celui-ci vers le reste des radiateurs.Le liquide de refroidissement à la sortie des radiateurs pénètre dans le tuyau de retour et se dirige vers la chaudière. Ce schéma chauffe uniformément toutes les pièces et vous permet d'éteindre les radiateurs inutiles, mais le principal inconvénient est la complexité de l'installation.
Chauffage du collecteur
Le principal inconvénient d'un système à un et deux tubes est le refroidissement rapide du liquide de refroidissement; le système de raccordement au collecteur ne présente pas cet inconvénient.
Photo 3. Système de chauffage du collecteur d'eau. Une unité de distribution spéciale est utilisée.
L'élément principal et la base du chauffage du collecteur est une unité de distribution spéciale, communément appelée peigne. Raccords de plomberie spéciaux nécessaires à la distribution du liquide de refroidissement par des conduites séparées et des anneaux indépendants, une pompe de circulation, des dispositifs de sécurité et un vase d'expansion.
L'ensemble collecteur pour un système de chauffage à deux tubes se compose de 2 parties :
- Entrée - il est connecté à un appareil de chauffage, où il reçoit et distribue du liquide de refroidissement chaud le long des circuits.
- Sortie - connectée aux tuyaux de retour des circuits, il est nécessaire de collecter le liquide de refroidissement refroidi et de l'alimenter en chaudière.
La principale différence entre le système de collecteur est que toute batterie de la maison est connectée indépendamment, ce qui vous permet de régler la température de chacune ou de l'éteindre. Parfois, un câblage mixte est utilisé : plusieurs circuits sont connectés indépendamment au collecteur, mais à l'intérieur du circuit, les batteries sont connectées en série.
Le liquide de refroidissement fournit de la chaleur aux batteries avec des pertes minimales, l'efficacité de ce système augmente, ce qui vous permet d'utiliser une chaudière de moins de puissance et de dépenser moins de carburant.
Mais le système de chauffage des capteurs n'est pas sans inconvénients, notamment :
- Consommation de tuyaux.Vous devrez dépenser 2 à 3 fois plus de tuyau que lors de la connexion de batteries en série.
- La nécessité d'installer des pompes de circulation. Nécessite une haute pression dans le système.
- Dépendance énergétique. Ne pas utiliser là où il peut y avoir des pannes de courant.
Nous calculons nous-mêmes un système de chauffage monotube
Les principales étapes du calcul du chauffage de l'eau:
- calcul de la puissance nécessaire de la chaudière ;
- calcul de la puissance de tous les appareils de chauffage qui seront connectés au système ;
- dimensionnement des tuyaux.
Calcul de la puissance de la chaudière
Les indicateurs de puissance de la chaudière sont calculés en tenant compte des pertes de chaleur par les sols, les murs et le toit de la maison
Lors de la détermination de la puissance, vous devez faire attention à la surface, au matériau de fabrication, ainsi qu'à la différence de température à l'extérieur et à l'intérieur de la pièce lors du chauffage de la maison
Calcul de la puissance de la batterie et de la taille du tuyau
Vous pouvez calculer le diamètre de tuyau requis comme suit :
- Déterminer la pression de circulation, qui dépend de la hauteur et de la longueur des tuyaux, ainsi que de la différence de température du liquide à la sortie de la chaudière ;
- calculer la perte de pression dans les sections droites, les virages et dans chaque appareil de chauffage.
Il est très difficile pour une personne sans connaissances particulières d'effectuer de tels calculs, ainsi que de calculer l'ensemble du schéma de chauffage à circulation naturelle. Une petite erreur entraînera d'énormes pertes de chaleur. Par conséquent, il est préférable de confier les calculs et l'installation ultérieure du système de chauffage à des spécialistes.
Comment installer correctement le chauffage
Pour que le système de chauffage fini à circulation naturelle fonctionne correctement et efficacement, il est important de suivre certaines règles lors de son installation.
En général, le schéma d'installation ressemble à ceci:
- Les radiateurs de chauffage doivent être installés sous les fenêtres, de préférence au même niveau et en respectant les renfoncements nécessaires.
- Ensuite, installez le générateur de chaleur, c'est-à-dire la chaudière sélectionnée.
- Monter le vase d'expansion.
- Les tuyaux sont posés et les éléments préalablement fixés sont réunis en un seul système.
- Le circuit de chauffage est rempli d'eau et un contrôle préalable de l'étanchéité des raccordements est effectué.
- La dernière étape consiste à démarrer la chaudière de chauffage. Si tout fonctionne correctement, la maison sera chaude.

Faites attention à certaines nuances:
- La chaudière doit être située au point le plus bas du système.
- Les tuyaux doivent être installés avec une pente vers le retour.
- Il devrait y avoir le moins de virages possible dans le pipeline.
- Pour augmenter l'efficacité du chauffage, des tuyaux de grand diamètre sont nécessaires.
Nous espérons que cet article vous sera utile et que vous pourrez monter indépendamment un système de chauffage sans pompe de circulation dans votre maison de campagne.
Fer à cheval théorique - comment fonctionne la gravité
La circulation naturelle de l'eau dans les systèmes de chauffage fonctionne par gravité. Comment cela peut-il arriver:
- Nous prenons un récipient ouvert, le remplissons d'eau et commençons à le chauffer. L'option la plus primitive est une casserole sur une cuisinière à gaz.
- La température de la couche liquide inférieure augmente, la densité diminue. L'eau devient plus légère.
- Sous l'influence de la gravité, la couche supérieure plus lourde coule au fond, déplaçant l'eau chaude moins dense. La circulation naturelle du fluide commence, appelée convection.
Exemple : si vous chauffez 1 m³ d'eau de 50 à 70 degrés, elle deviendra 10,26 kg plus légère (ci-dessous, voir le tableau des densités à différentes températures).Si le chauffage continue jusqu'à 90 °C, le cube de liquide perdra 12,47 kg, bien que le delta de température reste le même - 20 °C. Conclusion : plus l'eau est proche du point d'ébullition, plus la circulation est active.
De même, le fluide caloporteur circule par gravité dans le réseau de chauffage domestique. L'eau chauffée par la chaudière perd du poids et est poussée vers le haut par le liquide de refroidissement refroidi qui est revenu des radiateurs. La vitesse d'écoulement à une différence de température de 20 à 25 °C n'est que de 0,1…0,25 m/s contre 0,7…1 m/s dans les systèmes de pompage modernes.
La faible vitesse de déplacement des fluides le long des autoroutes et des appareils de chauffage entraîne les conséquences suivantes :
- Les batteries ont le temps de dégager plus de chaleur et le liquide de refroidissement refroidit de 20 à 30 °C. Dans un réseau de chauffage conventionnel avec une pompe et un vase d'expansion à membrane, la température baisse de 10 à 15 degrés.
- Par conséquent, la chaudière doit produire plus d'énergie thermique après le démarrage du brûleur. Maintenir le générateur à une température de 40 ° C est inutile - le courant ralentira jusqu'à la limite, les batteries deviendront froides.
- Pour fournir la quantité de chaleur requise aux radiateurs, il est nécessaire d'augmenter la section d'écoulement des tuyaux.
- Les raccords et les raccords à haute résistance hydraulique peuvent aggraver ou arrêter complètement l'écoulement par gravité. Il s'agit notamment de clapets anti-retour et à trois voies, de virages serrés à 90° et d'étranglements de tuyauterie.
- La rugosité des parois internes des canalisations ne joue pas un grand rôle (dans des limites raisonnables). Faible vitesse du fluide - faible résistance au frottement.
- Une chaudière à combustible solide + un système de chauffage par gravité peut fonctionner sans accumulateur de chaleur et sans unité de mélange. En raison du débit lent de l'eau, aucun condensat ne se forme dans le foyer.
Comme vous pouvez le voir, il y a des moments positifs et négatifs dans le mouvement de convection du liquide de refroidissement. Le premier doit être utilisé, le second doit être minimisé.











































