- Recommandations d'utilisation de l'appareil
- Les 5 principaux avantages pour les propriétaires d'usines
- Le principe de fonctionnement de l'appareil
- Intérieur pompe à chaleur
- Avantages de l'installation
- Pompe à chaleur pour le chauffage domestique, principe de fonctionnement
- Processus d'assemblage de la pompe à chaleur Frenetta à faire soi-même: dessins
- Options de conception de la pompe Frenette
- Comment fonctionne une pompe à chaleur
- Le principe de fonctionnement de l'appareil
- Réalisation d'une installation géothermique
- Calcul des échangeurs de chaleur du circuit et de la pompe
- Equipements et matériels nécessaires
- Comment assembler l'échangeur de chaleur
- Disposition du contour du sol
- Ravitaillement et premier démarrage
- Comment fabriquer soi-même un tel appareil?
- Conclusion
Recommandations d'utilisation de l'appareil
Il est à noter que des variantes de la pompe Eugène Frenette utilisant l'eau comme liquide de refroidissement existent toujours. Mais ce sont généralement de grands modèles industriels qui sont utilisés dans des entreprises spécialisées. Le fonctionnement de tels dispositifs est strictement contrôlé à l'aide de dispositifs spéciaux. Il est presque impossible de fournir un tel niveau de sécurité à la maison.

La version la plus populaire de la pompe Frenett, qui utilise de l'eau plutôt que de l'huile comme liquide de refroidissement, est un dispositif développé par des scientifiques de Khabarovsk : Nazyrova Natalya Ivanovna, Leonov Mikhail Pavlovich et Syarg Alexander Vasilyevich. Dans cette structure en forme de champignon, l'eau est volontairement portée à ébullition et transformée en vapeur.
Ensuite, la puissance réactive de la vapeur est utilisée pour augmenter la vitesse de déplacement du fluide caloporteur à travers les canaux de la pompe jusqu'à 135 mètres par minute. En conséquence, les coûts énergétiques pour déplacer le liquide de refroidissement sont minimes et le retour sous forme d'énergie thermique est très élevé. Mais une telle unité doit être extrêmement durable et son fonctionnement doit être surveillé en permanence afin d'éviter un accident.
Que faire si à l'aide de la pompe Frenette il est censé organiser le chauffage d'une grande pièce ou de toute la maison ? L'eau est un liquide de refroidissement traditionnel, la plupart des systèmes de chauffage sont conçus spécifiquement pour cela. Oui, et remplir tout le système de chauffage avec la bonne huile liquide peut être une entreprise coûteuse.
Ce problème est résolu très simplement. Il est nécessaire de construire en plus un échangeur de chaleur conventionnel dans lequel l'huile chauffée chauffera l'eau circulant dans le système de chauffage. Un peu de chaleur sera perdue dans ce cas, mais l'effet global restera assez perceptible.

Une idée intéressante serait d'utiliser une pompe Frenett en combinaison avec un système de chauffage par le sol. En même temps, le liquide de refroidissement est acheminé à travers des tuyaux en plastique étroits posés dans une chape en béton. Un tel système de chauffage fonctionne de la même manière qu'un plancher chauffant à eau classique.Bien entendu, un projet de ce type ne peut être mis en œuvre que dans une maison privée, car seul le chauffage au sol électrique est autorisé pour les immeubles d'habitation de grande hauteur.
Un moyen pratique et pratique d'utiliser un tel appareil consiste à chauffer une petite pièce : un garage, une grange, un atelier, etc. La pompe Frenett vous permet de résoudre efficacement et rapidement le problème du chauffage autonome dans de tels endroits. Le coût de l'électricité pour son fonctionnement est faible par rapport à l'effet thermique qui en résulte, et il n'est pas difficile de construire une telle unité à partir des matériaux les plus simples.
Les 5 principaux avantages pour les propriétaires d'usines
Les avantages des systèmes de chauffage avec pompes à chaleur sont les suivants :
- L'efficacité économique. Avec le coût de 1 kW d'énergie électrique, vous pouvez obtenir 3 à 4 kW de chaleur. Ce sont des indicateurs moyens, parce que. le coefficient de conversion thermique dépend du type d'équipement et des caractéristiques de conception.
- Sécurité environnementale. Pendant le fonctionnement de l'installation thermique, les produits de combustion ou d'autres substances potentiellement dangereuses ne pénètrent pas dans l'environnement. L'équipement est sans danger pour la couche d'ozone. Son utilisation vous permet d'obtenir de la chaleur sans le moindre dommage pour l'environnement.
- Polyvalence d'application. Lors de l'installation de systèmes de chauffage alimentés par des sources d'énergie traditionnelles, le propriétaire de la maison devient dépendant des monopoles. Les panneaux solaires et les éoliennes ne sont pas toujours rentables. Mais les pompes à chaleur peuvent être installées n'importe où. L'essentiel est de choisir le bon type de système.
- Multifonctionnalité. Pendant la saison froide, les installations chauffent la maison et pendant la chaleur estivale, elles peuvent fonctionner en mode climatisation. L'équipement est utilisé dans les systèmes d'eau chaude, connectés aux contours du chauffage par le sol.
- Sécurité opérationnelle.Les pompes à chaleur ne nécessitent pas de carburant, n'émettent pas de substances toxiques pendant leur fonctionnement et la température maximale des unités d'équipement ne dépasse pas 90 degrés. Ces systèmes de chauffage ne sont pas plus dangereux que les réfrigérateurs.
Il n'y a pas d'appareils idéaux. Les pompes à chaleur sont fiables, durables et sûres, mais leur coût dépend directement de la puissance.
Équipement de haute qualité pour le chauffage et l'eau chaude à part entière d'une maison de 80 m². coûtera environ 8000-10000 euros. Les produits faits maison sont de faible puissance, ils peuvent être utilisés pour chauffer des pièces individuelles ou des locaux techniques.
L'efficacité de l'installation dépend de la perte de chaleur de la maison. Il est logique d'installer l'équipement uniquement dans les bâtiments où un haut niveau d'isolation est fourni et où les indicateurs de perte de chaleur ne dépassent pas 100 W / m2.
Les pompes à chaleur peuvent durer 30 ans ou plus. Leur utilisation est particulièrement rentable pour l'approvisionnement en eau chaude, ainsi que dans les systèmes de chauffage combinés, y compris le chauffage au sol.
L'équipement est fiable et tombe rarement en panne
S'il est fait maison, il est important de choisir un compresseur de haute qualité, le meilleur de tous - d'un réfrigérateur ou d'un climatiseur d'une marque éprouvée
Le principe de fonctionnement de l'appareil
Ceux qui entrent en contact avec les problèmes de chauffage rentable, le nom de "pompe à chaleur" est bien connu. Surtout en combinaison avec des termes comme "terre-eau", "eau-eau", ou "air-eau", etc.
Une telle thermopompe n'a pratiquement rien de commun avec l'appareil Frenette. En plus du nom et du résultat final sous forme d'énergie thermique, qui est finalement utilisée pour le chauffage.
Les pompes à chaleur fonctionnant selon le principe Carnot sont très appréciées à la fois comme moyen économique d'organiser le chauffage et comme système respectueux de l'environnement.
Le fonctionnement d'un tel complexe d'appareils est lié à l'accumulation d'énergie à faible potentiel contenue dans les ressources naturelles (terre, eau, air) et à sa conversion en énergie thermique à haut potentiel.
L'invention d'Eugène Frenette est arrangée et fonctionne d'une toute autre manière.
Le principe de fonctionnement de cet appareil repose sur l'utilisation de l'énergie thermique, qui est libérée lors du frottement. La conception est basée sur des surfaces métalliques situées non pas les unes à côté des autres, mais à une certaine distance. L'espace entre eux est rempli de liquide.
Les parties de l'appareil tournent les unes par rapport aux autres à l'aide d'un moteur électrique, le liquide à l'intérieur du boîtier et en contact avec les éléments rotatifs est chauffé.
La chaleur qui en résulte peut être utilisée pour chauffer le liquide de refroidissement. Certaines sources recommandent d'utiliser ce fluide directement pour le système de chauffage. Le plus souvent, un radiateur ordinaire est attaché à une pompe Frenett maison.
Les experts recommandent fortement d'utiliser de l'huile plutôt que de l'eau comme liquide de refroidissement du système de chauffage.
Lors du fonctionnement de la pompe, ce liquide a tendance à s'échauffer très fortement. L'eau dans de telles conditions peut simplement bouillir. La vapeur chaude dans un espace confiné crée une surpression, ce qui entraîne généralement la rupture de tuyaux ou d'un boîtier. Il est beaucoup plus sûr d'utiliser de l'huile dans une telle situation, car son point d'ébullition est beaucoup plus élevé.
Pour fabriquer une pompe à chaleur Frenette, il vous faudra un moteur, un radiateur, plusieurs tuyaux, une vanne papillon en acier, des disques en acier, métal ou plastique ensemble tige, cylindre métallique et écrou (+)
Il existe une opinion selon laquelle l'efficacité d'un tel générateur de chaleur dépasse 100% et peut même atteindre 1000%. Du point de vue de la physique et des mathématiques, ce n'est pas une affirmation tout à fait correcte.
L'efficacité reflète les pertes d'énergie dépensées non pas pour le chauffage, mais pour le fonctionnement réel de l'appareil. Au contraire, les affirmations phénoménales sur l'efficacité incroyablement élevée de la pompe Frenette reflètent son efficacité, qui est vraiment impressionnante. Le coût de l'électricité pour le fonctionnement de l'appareil est négligeable, mais la quantité de chaleur reçue en conséquence est très perceptible.
Chauffer le liquide de refroidissement aux mêmes températures en utilisant un élément chauffant pour le chauffage, par exemple, nécessiterait une quantité d'électricité beaucoup plus importante, peut-être dix fois plus. Un appareil de chauffage domestique avec une telle consommation d'électricité ne chaufferait même pas.
Pourquoi tous les locaux résidentiels et industriels ne sont-ils pas équipés de tels appareils ? Les raisons peuvent être différentes.
Premièrement, l'eau est un liquide de refroidissement plus simple et plus pratique que l'huile. Il ne chauffe pas à des températures aussi élevées et il est plus facile de nettoyer les conséquences des fuites d'eau que de nettoyer le pétrole déversé.
Deuxièmement, au moment où la pompe Frenette a été inventée, un système de chauffage centralisé existait déjà et fonctionnait avec succès. Son démantèlement pour le remplacer par des générateurs de chaleur serait trop coûteux et apporterait beaucoup d'inconvénients, donc personne n'a même sérieusement envisagé cette option. Comme on dit, le mieux est l'ennemi du bien.
Intérieur pompe à chaleur
Classique la pompe à chaleur se compose de plusieurs composants :
- rotor;
- arbre;
- ventilateur à pales ;
- stator.
Une paire de cylindres - un rotor et un stator - détermine le fonctionnement du TNF.Le stator est un grand cylindre vide de l'intérieur et le rotor est un cylindre moins volumineux installé dans le stator. L'huile (liquide de refroidissement) est versée dans le stator, où elle est chauffée sous l'action du rotor. Le rotor lui-même est alimenté par un arbre sur lequel est installé un ventilateur à pales. Ce dernier souffle de l'air chaud dans la pièce, grâce à quoi la fonction de chauffage est effectuée.
Intérieur pompe à chaleur
C'est ainsi que fonctionnait la première pompe à chaleur. À l'avenir, son travail a été amélioré. Dans les modèles plus modernes, le rotor n'était plus nécessaire - il a été remplacé par des disques en acier. De plus, il n'y a pas besoin de ventilateur à pales.
Facteurs qui fournissent un rendement élevé pour une pompe à chaleur :
- le liquide de refroidissement est dans un système fermé ;
- pas besoin d'échangeur de chaleur;
- puissance de chauffage élevée;
- la partie principale du TNF a une forme conique, ce qui favorise l'apparition de zones de vide et une augmentation de la température.
Avantages de l'installation

La pompe à chaleur Frenetta peut être connectée au système de chauffage par le sol
Les pompes à chaleur Frenetta, en comparaison avec d'autres unités de ce type, sont particulièrement populaires. L'installation est largement utilisée dans les systèmes de chauffage.
De plus, la pompe peut être connectée à des systèmes de chauffage par le sol modernes.
Une telle utilisation généralisée de la pompe à chaleur s'explique par le fait qu'elle présente de nombreux avantages par rapport aux autres unités.
Ceux-ci inclus:
- grande productivité;
- rentabilité;
- la possibilité de fonctionner en mode automatique ;
- polyvalence de la pompe;
- personnalisation facile pour certains besoins ;
- dimensions compactes ;
- fonctionnement silencieux et bien plus encore.
L'introduction de nouvelles modifications dans la conception de la pompe entraîne une amélioration de ses caractéristiques techniques.
Les pompes à chaleur Frenett sont largement utilisées dans divers domaines. Le plus souvent, ils sont installés dans des maisons de campagne. Un avantage important de l'unité est qu'elle peut être assemblée à la main.
Pompe à chaleur pour le chauffage domestique, principe de fonctionnement
Le fonctionnement de la pompe à chaleur, du réfrigérateur et du climatiseur est basé sur le cycle de Carnot. Une pompe à chaleur pour le chauffage transfère la chaleur d'une zone à température plus basse vers un consommateur, où la valeur de ce paramètre doit être plus élevée. Dans ce cas, il est pris de l'extérieur, où il s'accumule, et après quelques transformations, il entre dans la maison. C'est la chaleur naturelle, et non l'énergie dégagée lors de la combustion d'un combustible traditionnel, qui augmente la température du liquide de refroidissement traversant les canalisations du système de chauffage.
En fait, le principe de fonctionnement de la pompe est beaucoup plus compliqué. Par conséquent, les appareils de cette classe sont souvent comparés à des unités de réfrigération, ne fonctionnant qu'en sens inverse. Mais l'ordre général de fonctionnement est identique, malgré le fait qu'il existe une grande différence à la fois dans la solution d'ingénierie et dans le but des parties principales des appareils. Du système de chauffage traditionnel le circuit monté sur une pompe à chaleur diffère par le nombre de circuits et les spécificités de leur travail.
Le circuit externe est monté à l'extérieur d'une maison privée. Il est posé là où la chaleur s'accumule lorsque les surfaces sont chauffées par la lumière du soleil ou pour une autre raison. L'énergie peut être tirée, par exemple, de l'air, du sol, de l'eau. Même à partir d'un puits, si la maison est sur un sol rocheux ou s'il existe des restrictions sur l'installation des tuyaux.Par conséquent, il existe plusieurs modifications de pompes à chaleur, malgré le fait que le chauffage est organisé selon le même type de schéma.
Le principe de fonctionnement de la pompe
Le circuit interne (à ne pas confondre avec le chauffage de la maison) est géographiquement localisé dans l'unité elle-même. Le liquide de refroidissement refroidi circulant dans l'extérieur élève partiellement sa température en raison de l'environnement. En passant par l'évaporateur, il transfère l'énergie extraite au fluide frigorigène dont le circuit interne est rempli. Ce dernier, en raison de sa propriété spécifique, bout et passe à l'état gazeux. Une basse pression et des températures supérieures à -5°C suffisent pour cela. C'est-à-dire que le milieu liquide se transforme en gaz.
De plus - au compresseur, où la pression est artificiellement augmentée, grâce à quoi le réfrigérant est chauffé. C'est dans cet élément structurel, qui est le deuxième échangeur de chaleur, que l'énergie thermique est transférée au liquide (eau ou antigel), en passant par la ligne de retour du système de chauffage de la maison. Un schéma de chauffage plutôt original, efficace et rationnel.
La pompe à chaleur a besoin d'électricité pour fonctionner. Mais c'est quand même beaucoup plus rentable que d'utiliser uniquement un radiateur électrique. Puisqu'une chaudière électrique ou un radiateur électrique dépense exactement la même quantité d'électricité qu'elle produit de la chaleur. Par exemple, si un radiateur a une puissance de 2 kW, alors il dépense 2 kW par heure et produit 2 kW Chauffer. Une pompe à chaleur produit 3 à 7 fois plus de chaleur qu'elle ne consomme d'électricité. Par exemple, 5,5 kWh sont utilisés pour faire fonctionner le compresseur et la pompe, et 17 kWh de chaleur sont obtenus. C'est ce haut rendement qui est le principal avantage d'une pompe à chaleur.
Il reste à ajouter qu'une solution saline ou d'éthylène glycol circule dans le circuit externe, et le Fréon, en règle générale, circule dans le circuit interne. La composition d'un tel schéma de chauffage comprend un certain nombre de dispositifs supplémentaires. Les principaux sont un réducteur à soupapes et un sous-refroidisseur.
Processus d'assemblage de la pompe à chaleur Frenetta à faire soi-même: dessins
Tout d'abord, deux trous sont percés dans le boîtier pour les tuyaux de chauffage spécifiquement pour les tuyaux de chauffage. La tige filetée est installée au centre du corps. Vissez l'écrou sur ce filetage, mettez le disque, puis vissez l'écrou suivant, etc. Et ainsi la mise en place des disques se poursuit jusqu'à ce que le logement soit complètement rempli.

Ensuite, de l'huile est versée dans le système, par exemple des graines de coton. L'étui est fermé et fixé sur la tige. Amenez les tuyaux du radiateur jusqu'aux trous pratiqués. Le moteur électrique est fixé à la tige centrale, il garantit la rotation. L'appareil peut être connecté au réseau et son fonctionnement peut être vérifié.
Options de conception de la pompe Frenette
Eugène Frenette a non seulement inventé l'appareil qui porte son nom, mais l'a également amélioré à plusieurs reprises, inventant de nouvelles versions plus efficaces de l'appareil. Dans la toute première pompe, que l'inventeur a brevetée en 1977, seuls deux cylindres étaient utilisés : un externe et un interne. Le cylindre extérieur creux avait un diamètre plus grand et était dans un état statique. Dans ce cas, le diamètre du cylindre intérieur était légèrement inférieur aux dimensions de la cavité du cylindre extérieur.
Voici un schéma de la toute première version de la thermopompe Frenette. L'arbre rotatif est situé horizontalement, le liquide de refroidissement est placé dans un espace étroit entre deux cylindres de travail
L'inventeur a versé de l'huile liquide dans l'espace étroit résultant entre les parois des deux cylindres.Bien entendu, la partie de la structure qui contenait ce fluide caloporteur a été soigneusement scellée pour éviter les fuites d'huile.
Le cylindre intérieur est relié à l'arbre moteur de manière à assurer sa rotation rapide par rapport au gros cylindre fixe. Un ventilateur avec une turbine a été placé à l'extrémité opposée de la structure. Pendant le fonctionnement, l'huile s'est réchauffée et a transféré de la chaleur à l'air entourant l'appareil. Le ventilateur a permis de distribuer rapidement l'air chaud dans tout le volume de la pièce.
Étant donné que cette conception a beaucoup chauffé, pour une utilisation pratique et sûre, la conception a été cachée dans un étui de protection. Bien sûr, des trous ont été faits dans le boîtier pour la circulation de l'air. Un ajout utile à la conception était un thermostat, avec lequel le fonctionnement de la pompe Frenett pouvait être automatisé dans une certaine mesure.
L'axe central d'un tel modèle de pompe à chaleur est situé verticalement. Le moteur est en bas, puis des cylindres imbriqués sont installés et le ventilateur est en haut. Plus tard, un modèle avec un axe central horizontal est apparu.
Un modèle de pompe à chaleur Frenette avec un arbre rotatif orienté horizontalement a été utilisé en conjonction avec un radiateur de chauffage avec de l'huile chauffée circulant à l'intérieur.
C'est un tel appareil qui a d'abord été utilisé en combinaison non pas avec un ventilateur, mais avec un radiateur de chauffage. Le moteur est placé sur le côté et l'arbre du rotor traverse le tambour rotatif et sort. Dans l'appareil ce type de ventilateur disparu.Le liquide de refroidissement de la pompe se déplace à travers les tuyaux vers le radiateur. De la même manière, l'huile chauffée peut être transférée vers un autre échangeur de chaleur ou directement dans les tuyaux de chauffage.
Plus tard, la conception de la pompe à chaleur frenet a été considérablement modifiée. L'arbre du rotor restait toujours en position horizontale, mais la partie interne était constituée de deux tambours rotatifs et d'une roue placée entre eux. Là encore, l'huile liquide est utilisée comme caloporteur.
Dans cette version de la thermopompe Frenette, deux cylindres tournent côte à côte, ils sont séparés par une turbine spécialement conçue en métal très résistant.
Lorsque cette conception tourne, l'huile se réchauffe en plus lorsqu'elle passe à travers des trous spéciaux pratiqués dans la roue, puis pénètre dans une cavité étroite. entre les parois du corps de pompe et son rotor. Ainsi, l'efficacité de la pompe Frenett a été considérablement améliorée.
De petits trous sont faits le long des bords de la roue pour la pompe à chaleur Frenett. Le liquide de refroidissement se réchauffe rapidement et efficacement en les traversant
Cependant, il convient de noter que ce type de pompe n'est pas très adapté à la fabrication à domicile. Vous devez d'abord trouver des dessins fiables ou calculer vous-même la conception, et seul un ingénieur expérimenté peut le faire. Ensuite, vous devez trouver une roue spéciale avec des trous de taille appropriée. Cet élément de la pompe à chaleur fonctionne sous des charges accrues, il doit donc être fait de matériaux très durables.
Comment fonctionne une pompe à chaleur
À la base, la technologie de fonctionnement de TNF est similaire au principe de fonctionnement d'un réfrigérateur.Les équipements de réfrigération, pour abaisser la température, prélèvent la chaleur des chambres et la restituent à l'extérieur à l'aide de radiateurs. HNF fonctionne exactement de la même manière : pour produire de la chaleur, il la prend du sol ou du liquide, la traite et la transfère au système de chauffage d'une maison privée, d'un atelier, d'une serre ou de toute autre pièce.
Comment fonctionne une pompe à chaleur
Le réfrigérant, qui peut être de l'ammoniac ou du fréon, se déplace à l'intérieur des circuits externes et internes. Dans ce cas, le circuit externe est chargé de recevoir la chaleur de l'atmosphère, de la terre ou de l'eau.
Chaque milieu naturel a dans sa composition une certaine quantité d'énergie thermique disparate. Le réfrigérant est capable de le collecter et de l'envoyer au recyclage. Pour lancer ce processus, il est nécessaire que la température du caloporteur augmente de 4 à 5 degrés.
Ensuite, du circuit extérieur, le réfrigérant est dirigé vers le circuit intérieur. Ici, l'évaporateur convertit le caloporteur de liquide en gaz. Le processus se produit en raison du fait que le fréon à basse pression ambiante a un point d'ébullition bas.
Après l'évaporateur, le fréon sous forme de gaz se précipite dans le compresseur, où se produit une compression et, par conséquent, une augmentation de la température. Ensuite, le gaz est dans le condenseur. Là, le gaz partage sa température avec le liquide (caloporteur). À la suite du refroidissement, le gaz revient à l'état liquide et un nouveau cycle de circulation dans le système commence.
Le paramètre principal qui détermine la productivité du TNF est le facteur de conversion. Cet indicateur résulte d'un certain rapport entre la puissance thermique produite par TNF et le volume d'énergie thermique consommée.
Le principe de fonctionnement de l'appareil
Ceux qui entrent en contact avec les problèmes de chauffage rentable, le nom de "pompe à chaleur" est bien connu. Surtout en combinaison avec des termes comme "terre-eau", "eau-eau", "eau-air", etc. Une telle thermopompe n'a pratiquement rien de commun avec l'appareil Frenette, si ce n'est peut-être le nom et le résultat final sous forme d'énergie thermique, qui est ultimement utilisée pour le chauffage.
Les pompes à chaleur fonctionnant selon le principe Carnot sont très appréciées à la fois comme moyen économique d'organiser le chauffage et comme système respectueux de l'environnement. Le fonctionnement d'un tel complexe d'appareils est lié à l'accumulation d'énergie à faible potentiel contenue dans les ressources naturelles (terre, eau, air) et à sa conversion en énergie thermique à haut potentiel. L'invention d'Eugène Frenette est arrangée et fonctionne d'une toute autre manière.
Galerie d'images
Photo de
Le système de génération de chaleur développé par E. Frenett ne peut être attribué sans condition à la classe des pompes à chaleur. Selon la conception et les caractéristiques technologiques, il s'agit d'un appareil de chauffage
L'unité n'utilise pas de sources d'énergie géo ou solaire dans son travail. L'huile de refroidissement à l'intérieur est chauffée par la force de friction créée par la rotation des disques métalliques.
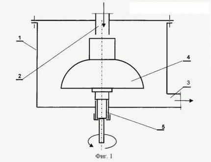
Le corps de travail de la pompe est un cylindre rempli d'huile, à l'intérieur duquel se trouve l'axe de rotation. Il s'agit d'une tige d'acier munie de disques parallèles espacés d'environ 6 cm.
La force centrifuge pousse le liquide de refroidissement chauffé dans la bobine connectée à l'appareil. L'huile chauffée sort de l'instrument au point de connexion supérieur. Le liquide de refroidissement refroidi est renvoyé par le bas
Apparition de la thermopompe Frenette
Préchauffage de l'appareil pendant le fonctionnement
Principaux composants structurels
Les dimensions réelles de l'un des modèles
Le principe de fonctionnement de cet appareil repose sur l'utilisation de l'énergie thermique, qui est libérée lors du frottement. La conception est basée sur des surfaces métalliques situées non pas les unes à côté des autres, mais à une certaine distance. L'espace entre eux est rempli de liquide. Les parties de l'appareil tournent les unes par rapport aux autres à l'aide d'un moteur électrique, le liquide à l'intérieur du boîtier et en contact avec les éléments rotatifs est chauffé.
La chaleur qui en résulte peut être utilisée pour chauffer le liquide de refroidissement. Certaines sources recommandent d'utiliser ce fluide directement pour le système de chauffage. Le plus souvent, un radiateur ordinaire est attaché à une pompe Frenett maison. En tant que fluide chauffant, les experts recommandent fortement d'utiliser de l'huile et non de l'eau.
Lors du fonctionnement de la pompe, ce liquide de refroidissement a tendance à s'échauffer très fortement. L'eau dans de telles conditions peut simplement bouillir. La vapeur chaude dans un espace confiné crée une surpression, ce qui entraîne généralement la rupture de tuyaux ou d'un boîtier. Il est beaucoup plus sûr d'utiliser de l'huile dans une telle situation, car son point d'ébullition est beaucoup plus élevé.
Pour fabriquer une pompe à chaleur Frenette, vous aurez besoin d'un moteur, d'un radiateur, de plusieurs tuyaux, d'une vanne papillon en acier, de disques en acier, d'une tige en métal ou en plastique, d'un cylindre en métal et d'un kit d'écrou (+)
Il existe une opinion selon laquelle l'efficacité d'un tel générateur de chaleur dépasse 100% et peut même atteindre 1000%. Du point de vue de la physique et des mathématiques, ce n'est pas une affirmation tout à fait correcte. L'efficacité reflète les pertes d'énergie dépensées non pas pour le chauffage, mais pour le fonctionnement réel de l'appareil.Au contraire, les affirmations phénoménales sur l'efficacité incroyablement élevée de la pompe Frenette reflètent son efficacité, qui est vraiment impressionnante.
Le coût de l'électricité pour le fonctionnement de l'appareil est négligeable, mais la quantité de chaleur reçue en conséquence est très perceptible. Chauffer le liquide de refroidissement aux mêmes températures à l'aide d'un élément chauffant, par exemple, nécessiterait une quantité d'électricité beaucoup plus importante, peut-être dix fois plus. Un appareil de chauffage domestique avec une telle consommation d'électricité ne chaufferait même pas.
Pourquoi tous les locaux résidentiels et industriels ne sont-ils pas équipés de tels appareils ? Les raisons peuvent être différentes. Pourtant, l'eau est un liquide de refroidissement plus simple et plus pratique que l'huile. Il ne chauffe pas à des températures aussi élevées et il est plus facile de nettoyer les conséquences des fuites d'eau que de nettoyer le pétrole déversé.
Une autre raison peut être qu'au moment où la pompe Frenette a été inventée, un système de chauffage centralisé existait déjà et fonctionnait avec succès. Son démantèlement pour le remplacer par des générateurs de chaleur serait trop coûteux et apporterait beaucoup d'inconvénients, donc personne n'a même sérieusement envisagé cette option. Comme on dit, le mieux est l'ennemi du bien.
Réalisation d'une installation géothermique
Il est tout à fait possible de réaliser une installation géothermique de ses propres mains. Dans le même temps, l'énergie thermique de la terre est utilisée pour chauffer l'habitation. Bien sûr, c'est un processus laborieux, mais les avantages sont importants.

Calcul des échangeurs de chaleur du circuit et de la pompe
La surface de circuit pour HP est calculée à raison de 30 m² par kilowatt. Pour une surface habitable de 100 m², il faut environ 8 kilowatts/heure d'énergie. Ainsi la superficie du circuit sera de 240 m².
L'échangeur de chaleur peut être réalisé à partir d'un tube en cuivre. La température à l'entrée est de 60 degrés, à la sortie de 30 degrés, la puissance thermique est de 8 kilowatts/heure. La surface d'échange thermique doit être de 1,1 m². Tube en cuivre d'un diamètre de 10 millimètres, un facteur de sécurité de 1,2.
Circonférence en mètres: l \u003d 10 × 3,14 / 1000 \u003d 0,0314 m.
Nombre de tube de cuivre en mètres : L = 1,1 × 1,2 / 0,0314 = 42 m.
Equipements et matériels nécessaires
À bien des égards, le succès de la fabrication de pompes à chaleur dépend du degré de préparation et des connaissances de l'entrepreneur lui-même, ainsi que de la disponibilité et de la qualité de tout ce qui est nécessaire à l'installation d'une pompe à chaleur.
Avant de commencer les travaux, vous devez acheter de l'équipement et du matériel:
- compresseur;
- condensateur;
- manette;
- raccords en polyéthylène destinés à l'assemblage de collecteurs;
- tuyau au circuit de terre ;
- pompes de circulation;
- tuyau d'eau ou tuyau en PEHD ;
- manomètres, thermomètres;
- tube de cuivre d'un diamètre de 10 millimètres;
- isolation pour canalisations;
- trousse d'étanchéité.
Comment assembler l'échangeur de chaleur
Le bloc d'échange de chaleur se compose de deux composants. L'évaporateur doit être assemblé selon le principe "pipe in pipe". Le tube intérieur en cuivre est rempli de fréon ou d'un autre liquide à ébullition rapide. A l'extérieur circule l'eau du puits.
Avant d'assembler le condenseur, il est nécessaire d'enrouler le tube de cuivre sous la forme d'une spirale et de le placer dans un fût métallique d'une capacité d'au moins 0,2 m³. Le tube de cuivre est rempli de fréon et le baril d'eau est connecté au système de chauffage de la maison.

Disposition du contour du sol
Afin de préparer la zone nécessaire pour le contour du sol, il est nécessaire d'effectuer une grande quantité de travaux de terrassement, qu'il est souhaitable d'effectuer mécaniquement.
Vous pouvez utiliser 2 méthodes :
une.Dans la première méthode, il est nécessaire d'enlever la couche supérieure du sol à une profondeur inférieure à son point de congélation. Au fond de la fosse résultante se trouvait un serpent libre partie du tuyau extérieur évaporateur et remise en culture du sol.
2. Dans la deuxième méthode, vous devez d'abord creuser une tranchée sur toute la zone prévue. Un tuyau y est placé.
Ensuite, vous devez vérifier l'étanchéité de toutes les connexions et remplir le tuyau d'eau. S'il n'y a pas de fuites, vous pouvez remplir la structure avec de la terre.

Ravitaillement et premier démarrage
Une fois l'installation terminée, le système doit être rempli de réfrigérant. Il est préférable de confier ce travail à un spécialiste, car des dispositifs spéciaux sont utilisés pour remplir le circuit interne de fréon. Lors du remplissage, la pression et la température doivent être mesurées à entrée et sortie du compresseur.

Comment fabriquer soi-même un tel appareil?
Le plus pratique pour chauffer les maisons est le modèle de pompe à chaleur Frenette, qui n'a ni ventilateur ni cylindre intérieur. Au lieu de cela, de nombreux disques métalliques sont utilisés qui tournent à l'intérieur de l'instrument. Le rôle du liquide de refroidissement est assuré par l'huile qui pénètre dans le radiateur, se refroidit puis retourne dans le système. Le fonctionnement d'un tel appareil est démontré de manière convaincante dans la vidéo:
Pour ceux qui connaissent l'anglais, cette vidéo peut être utile :
Il n'est pas difficile de fabriquer une thermopompe selon le principe d'Eugène Frenette chez soi. Pour cela vous aurez besoin de :
- cylindre métallique;
- disques en acier;
- des noisettes;
- tige en acier;
- un petit moteur électrique;
- tuyaux;
- radiateur.
Le diamètre des disques en acier doit être légèrement inférieur au diamètre du cylindre afin qu'il y ait un petit espace entre les parois du boîtier et la partie rotative. Le nombre de disques et d'écrous dépend des dimensions de la structure.Les disques sont successivement enfilés sur une tige d'acier, en les séparant par des écrous. On utilise généralement des écrous dont la hauteur est de 6 mm. Le cylindre doit être rempli de disques jusqu'en haut. Un filetage extérieur est appliqué sur la tige d'acier sur toute sa longueur. Deux trous sont pratiqués dans le corps pour le liquide de refroidissement. À travers le trou supérieur, l'huile chauffée s'écoulera dans le radiateur et, par le bas, elle reviendra au système pour un chauffage supplémentaire.
En tant que liquide de refroidissement, les développeurs de l'appareil recommandent d'utiliser de l'huile liquide, pas de l'eau, car le point d'ébullition d'une telle huile est plusieurs fois plus élevé. Si l'eau chauffe rapidement, elle peut se transformer en vapeur et surpresser le système, ce qui peut entraîner des dommages structurels.
Il s'agit d'un schéma approximatif de la conception de la pompe à chaleur Frenette, qui n'est pas difficile à mettre en œuvre à l'aide de moyens improvisés et de matériaux disponibles.
Pour monter une tige filetée, vous aurez également besoin d'un roulement. Quant au moteur électrique, tout modèle fournissant un nombre de tours suffisant fera, par exemple, un moteur en état de marche à partir d'un ancien ventilateur.
Le processus d'assemblage de l'appareil est le suivant:
- Deux trous sont pratiqués dans le corps pour les tuyaux de chauffage.
- Une tige filetée est installée au centre du corps.
- Un écrou est vissé sur le filetage, un disque est placé, l'écrou suivant est vissé, etc.
- Le montage des disques se poursuit jusqu'à ce que le boîtier soit rempli.
- De l'huile liquide est versée dans le système, par exemple des graines de coton.
- Le boîtier est fermé et la tige est fixée.
- Les tuyaux du radiateur de chauffage sont amenés dans les trous.
- Un moteur électrique est fixé à la tige centrale, qui assure la rotation.
- Connectez l'appareil au réseau et vérifiez son fonctionnement.
Afin d'améliorer les performances de ce type de pompe à chaleur et de rendre son utilisation plus pratique et économique, il est recommandé d'utiliser un système de marche-arrêt automatique du moteur. Un tel système est contrôlé à l'aide d'un capteur de température, qui est monté directement sur le corps de l'appareil.
Conclusion
Bien sûr, chauffer sa maison avec une pompe à chaleur est le rêve de nombreux propriétaires. Malheureusement, le coût des installations est trop élevé et seuls quelques-uns peuvent faire face à leur propre production. Et puis souvent il n'y a assez de puissance que pour l'approvisionnement en eau chaude, on ne parle pas de chauffage. Si tout était si simple, nous aurions une pompe à chaleur maison dans chaque maison, mais pour l'instant, elle reste inaccessible à un large éventail d'utilisateurs.
Nombre de blocs : 15 | Nombre total de caractères : 28073
Nombre de donneurs utilisés : 6
Informations pour chaque donateur :

















































