Vanne d'arrêt thermique sur le gazoduc: objectif, appareil et types + exigences d'installation

Classification des électrovannes en fonction des caractéristiques de l'appareil

Les électrovannes se distinguent par une grande variété de caractéristiques de conception, et il existe donc un vaste champ de classification.

Ils diffèrent par l'environnement d'exploitation utilisé sur les systèmes où les périphériques sont installés :

  • l'eau;
  • air;
  • gaz;
  • couple;
  • carburant, comme l'essence.

Vanne d'arrêt thermique sur le gazoduc: objectif, appareil et types + exigences d'installationDans des conditions difficiles, où il y a une possibilité d'urgence, des modèles de vannes antidéflagrantes sont utilisés

La composition de l'environnement de travail et les caractéristiques de la salle déterminent les caractéristiques de la performance :

  • ordinaire;
  • antidéflagrant.Il est courant d'installer des dispositifs de ce type sur des objets classés comme explosifs et dangereux pour le feu.

Selon les caractéristiques de contrôle, il existe une division des électrovannes en appareils :

  • action directe. Il s'agit de la conception la plus simple, caractérisée par la fiabilité et la rapidité. Il n'a pas de canal pilote. Avec une remontée instantanée de la membrane, l'appareil s'ouvre. En l'absence de champ magnétique, le piston à ressort est abaissé, appuyant sur la membrane. La vanne à action directe ne nécessite pas de perte de charge minimale, elle crée l'action nécessaire sur la tige du tiroir grâce à la force de traction de la bobine située en haut de l'appareil ;
  • ayant un renforcement de la membrane (piston). Contrairement aux dispositifs à action directe, ils utilisent le fluide transporté lui-même pour fonctionner comme un fournisseur d'énergie supplémentaire. Ces vannes ont deux tiroirs. Le but de la bobine principale est de couvrir directement le trou auquel le siège du corps est attribué. Le tiroir de commande ferme le ou les trous de décharge, à travers lesquels la pression est libérée de la cavité au-dessus de la membrane (piston). Cela fait monter le tiroir principal et ouvrir le passage principal.

Selon l'emplacement du mécanisme de verrouillage au moment où la bobine est dans un état désexcité, il est d'usage de séparer les dispositifs dits pilotes comme appartenant à un certain type :

  • normalement fermé (NC). Pour les vannes NF, lorsque le solénoïde est hors tension, le passage pour le fluide de travail est fermé. C'est-à-dire que la position statique implique l'absence de tension sur le solénoïde, l'état fermé de l'appareil.Du fait de la différence de diamètre entre les canaux pilote et by-pass, la pression au-dessus de la membrane diminue au profit du premier. La différence de pression assure que la membrane (piston) monte et que la vanne s'ouvre, restant dans cette position tant que la tension est appliquée à la bobine;
  • normalement ouvert (NO). Au contraire, dans les vannes normalement ouvertes, lorsque la bobine est dans un état hors tension, le fluide de travail peut se déplacer le long du passage dans une direction donnée. En maintenant la vanne NO fermée, une alimentation en tension constante de la bobine doit être assurée.

Vanne d'arrêt thermique sur le gazoduc: objectif, appareil et types + exigences d'installationLa vanne normalement fermée arrête le débit du fluide de travail à l'état hors tension

Il existe également des modèles de dispositif dans lesquels, lorsqu'une impulsion de commande est appliquée à la bobine, un passage de la position ouverte à la position fermée et dans le sens opposé est prévu. Une telle électrovanne est dite bistable. Un tel dispositif solénoïde nécessite une pression différentielle et une source de courant constant pour fonctionner. En fonction du nombre de raccords de tuyauterie, il est d'usage de nommer les électrovannes :

  • bidirectionnel. De tels dispositifs ont une connexion de tuyau d'entrée et de sortie. Les dispositifs bidirectionnels sont à la fois NC et NO ;
  • trois façons. Équipé de trois raccords et de deux sections de passage. Ils peuvent être produits en NC, NO ou universels. Les vannes à trois voies permettent d'alimenter alternativement en pression/vide des vannes de régulation, des vérins simple effet, des actionneurs automatiques ;
  • quatre chemins.Quatre ou cinq raccords de tuyauterie (un pour la pression, un ou deux pour le vide, deux pour le vérin) assurent le fonctionnement des vérins double effet, entraînements automatiques.

Électrovannes à gaz

Les dispositifs de ce type appartiennent aux raccords de canalisation et sont utilisés pour répartir le flux de gaz et le couper si nécessaire. Ils sont largement utilisés à la fois dans les équipements à gaz individuels et dans les équipements industriels. L'appareil est commandé automatiquement sous l'action de la tension.

Vanne d'arrêt thermique sur le gazoduc: objectif, appareil et types + exigences d'installation

Des électrovannes à gaz sont placées à l'entrée du gazoduc devant de tels consommateurs:

  • chaudières;
  • geysers;
  • fours à gaz;
  • équipement à gaz automobile;
  • entrée de tuyau dans un bâtiment à plusieurs étages.

La plupart des vannes à gaz ont une conception fermée, c'est-à-dire qu'en l'absence de tension, la vanne ferme le tuyau.

Fonctions des appareils intégrés dans les multivalves

Au moment du ravitaillement en gaz liquéfié à 80 %, la vanne de remplissage coupe l'alimentation en carburant. Le remplissage complet du volume réel de la bouteille est inacceptable selon les exigences de sécurité - sous l'influence de certains facteurs externes, par exemple un changement brusque de la température ambiante, le gaz peut se dilater considérablement, ce qui peut avoir des conséquences dangereuses lorsqu'il est complètement chargé (le récipient peut même exploser), c'est-à-dire lorsque la pression atteint l'indicateur à 25 atmosphères (dispositif de stockage standard)

Vanne d'arrêt thermique sur le gazoduc: objectif, appareil et types + exigences d'installation

Réglage du niveau d'alimentation de la conduite de gaz

Le gazoduc est équipé d'une vanne spéciale anti-coton à grande vitesse qui régule le débit d'alimentation en carburant du gazoduc.De plus, il remplit une autre fonction de sécurité - il empêche les fuites potentielles en cas de déformation ou de rupture de la ligne automatique.

La protection incendie d'urgence pour une voiture fonctionnant au gaz consiste en un élément séparé de la multivalve : le fusible libère du carburant à travers l'unité de ventilation à l'extérieur de la voiture si une forte et forte augmentation de la température (donc une pression excessive dans le système) signale un incendie qui s'est déclaré à proximité immédiate du GPL .

Lire aussi :  La sortie du gazoduc du sol: exigences et caractéristiques de l'agencement du nœud de sortie

Vanne d'arrêt thermique sur le gazoduc: objectif, appareil et types + exigences d'installation

Vanne de mesure

Pour indiquer la quantité de gaz restant dans le système, une autre vanne de remplissage séparée est utilisée, dont le fonctionnement est associé à un capteur magnétique correspondant. Dans les systèmes d'injection de 3 générations ou plus, au moment du passage automatique à l'essence en cas de pénurie de carburant alternatif, c'est la vanne de mesure du gaz qui ferme la ligne.

clapet anti-retour

Le deuxième fusible de ravitaillement fonctionne uniquement sur l'arrivée de gaz et l'empêche de revenir pendant le ravitaillement.

Vannes d'arrêt de secours

La sécurité passe avant tout : quelle que soit la modernité et l'informatisation des équipements, les pannes, les dysfonctionnements et les urgences sont toujours possibles. Dans une position qui nécessite une action décisive de la part du conducteur de la voiture, deux vannes manuelles peuvent être utiles, qui, si nécessaire, sont toujours capables de couper de force le débit de gaz dans la conduite.

Propriétés de filtration de la multivalve

La conception standard du HBO implique le placement d'une multivalve dans une unité de ventilation, qui est située directement sur le cylindre avec un conteneur amovible séparé.Des tuyaux spéciaux vont à l'extérieur pour séparer les impuretés et, en cas de danger, évacuer le gaz de l'intérieur de la voiture.

Vanne d'arrêt thermique sur le gazoduc: objectif, appareil et types + exigences d'installation

Il est recommandé de remplacer le filtre à air, qui est équipé d'un boîtier de ventilation, tous les 15 à 20 000 kilomètres afin d'éviter un colmatage important.

Parlons de qu'est-ce qu'une électrovanne à gaz
(EGK), vanne gaz ou électrovanne HBO. Vous en apprendrez plus sur le type de vanne dont il a besoin, ainsi que sur les dysfonctionnements de la vanne de gaz électromagnétique.

Electrovanne gaz

(à ne pas confondre avec) - il s'agit d'une vanne conçue pour fermer la conduite de gaz lorsque la voiture est garée ou lorsque le moteur tourne avec le type de carburant principal (essence ou diesel). L'EGK est équipé d'un filtre de purification du carburant à partir d'impuretés solides, et son contrôle peut être effectué en mode manuel et automatique au moyen d'un interrupteur gaz-essence.

Comment choisir une vanne fiable

Lors de la conception du système de chauffage, il est nécessaire de définir clairement les valeurs de pression maximales admissibles. Il prend également en compte la capacité de production de la chaudière ou de la pompe, le volume, les caractéristiques de la circulation de la température du fluide de travail. Sur cette base, les caractéristiques de type et de conception sont sélectionnées. Parmi les types répertoriés précédemment, il est recommandé aux utilisateurs d'utiliser soupapes de sécurité à ressort. Ils sont parfaits pour les petites chaudières. Utilisez également des appareils à faible ou moyenne montée pour les systèmes de chauffage de l'eau.

Si le fluide de travail est rejeté dans l'environnement, un dispositif de type ouvert doit être sélectionné. Si la décharge se produit dans le drain, la conception du corps avec un tuyau de sortie fileté est utilisée.

La vanne de sablage traditionnelle est abordable et facile à installer. Cet appareil protège bien un système de chauffage fermé avec une chaudière à gaz ou électrique, car en cas d'accident, le chauffage s'arrête immédiatement. Il est également déconseillé d'acheter des raccords chinois bon marché. Il n'est pas fiable et fuit immédiatement après la première explosion.

C'est intéressant: Le dispositif et le principe de fonctionnement d'une vanne thermostatique (vidéo)

Caractéristiques du choix des aménagements et équipements

Lors du choix des raccords pour les gazoducs, il convient d'examiner attentivement les propriétés chimiques et physiques du matériau à partir duquel il est fabriqué.

Les matériaux les plus populaires pour la fabrication de raccords de gaz sont la fonte et l'acier. Cela est dû aux exigences d'un niveau accru de résistance et de fiabilité. Les éléments polymères parfaits pour les conduites d'eau ne sont pas applicables ici, de plus, ils peuvent être facilement endommagés.

Vanne d'arrêt thermique sur le gazoduc: objectif, appareil et types + exigences d'installationL'acier est le matériau le plus populaire pour la fabrication de raccords de gaz. Un tel équipement a un coût abordable et une grande durabilité.

Les experts ne recommandent pas d'utiliser des équipements avec des inserts d'étanchéité en bronze sur les conduites de gaz. Cela est dû au fait que le GPL contient du sulfure d'hydrogène, qui peut avoir un effet négatif sur les alliages de bronze et de cuivre.

Principe d'opération

Un dispositif de verrouillage d'arrêt est souvent appelé anti-inondation, ce qui signifie que son objectif principal est d'empêcher le fluide de s'écouler hors du pipeline.

La vanne est conçue de telle manière que sur une commande manuelle du personnel, un signal d'un capteur ou un autre élément, le mouvement du fluide dans une direction non prévue par la conception, le dispositif de verrouillage est rapidement activé et l'appareil coupe le passage du fluide de travail. Une caractéristique de l'appareil est sa réponse rapide, généralement fournie par l'actionnement d'un ressort ou d'un autre mécanisme pour fermer la vanne.

Par exemple, dans une valve jetable, le fluide entrant dans le dispositif impacte le joint en silicone. Sous l'influence de l'humidité, il grossit, soulève l'obturateur du mécanisme de verrouillage. Il bloque le canal et arrête le mouvement du support.

Pourquoi des vannes d'arrêt thermiques sont-elles nécessaires ?

Les vannes d'arrêt thermiques sont des dispositifs qui sont des raccords de gaz d'arrêt. Ils coupent automatiquement le gazoduc menant à tous les appareils fonctionnant au gaz.

Tous les "stubs" sont marqués comme KTZ avec un certain nombre de chiffres après les lettres. Le deuxième chiffre indique le diamètre du tuyau de gaz pour lequel ce mécanisme peut convenir.

But de la vanne d'arrêt thermique

L'objectif principal du KTZ est de couper l'alimentation en gaz de l'équipement en cas d'incendie. Cela aide non seulement à se protéger contre une explosion, mais empêche également la zone d'incendie de doubler ou plus.

Si la vanne d'arrêt est en position ouverte, le dispositif lui-même n'empêche en aucune manière le passage d'une substance combustible vers les instruments et l'équipement.

Des mécanismes de verrouillage thermique sont montés sur des canalisations, où la pression maximale peut être de 0,6 MPa à 1,6 MPa.

Ensuite, nous notons le but des vannes, prescrit par les règles des services d'incendie.

Dans le règlement de sécurité incendie, il existe une réglementation qui implique l'utilisation de vannes :

  • Sur l'équipement de tous les pipelines de gaz naturel. Tous les types de systèmes (complexité, ramification), tout nombre d'appareils grand public sont supposés.
  • Assurer la protection des divers objets et appareils gazéifiés fonctionnant au gaz. Dans ce cas, des vannes sont applicables qui sont conçues pour l'automatisation (fonctionnement) lorsque la température dans la pièce atteint jusqu'à 100 ° C.
  • Installation de modules de verrouillage thermique à l'entrée de la chambre.
Lire aussi :  Comment économiser du gaz lors du chauffage d'une maison privée: un aperçu des meilleures façons d'économiser du gaz

Conformément à la PPB-01-03 (Règles de sécurité incendie), des dispositifs de verrouillage thermique doivent être installés dans tous les locaux où se trouve une canalisation de gaz. Cependant, cela n'inclut pas les bâtiments de la catégorie V de résistance au feu.

Il n'est pas non plus nécessaire d'installer un court-circuit dans les bâtiments où les canalisations sont équipées d'électrovannes. Ils sont généralement placés à l'extérieur du bâtiment, et si une inflammation se produit à l'intérieur du bâtiment, l'analyseur de gaz se déclenche, après quoi l'alimentation en gaz est arrêtée.

Il faut comprendre que KTZ n'est pas simplement une autre «tendance» russe. L'utilisation de ces appareils dans diverses installations où des équipements à gaz existent est obligatoire dans des pays tels que l'Allemagne, la France, les États-Unis, etc.

Où utilise-t-on une vanne thermostatique ?

Le domaine d'application des bouchons de gaz à fermeture thermique est tout d'abord les canalisations alimentant en gaz des appareils à usages divers dans lesquels du gaz est brûlé (appareils ménagers et industriels, quel que soit leur type).

L'installation d'une installation de protection contre les courts-circuits sur toute canalisation de gaz n'est pas autorisée à l'extérieur des locaux, après l'installation de tout autre raccord de gaz, également sur les dérivations, dans les pièces adjacentes et où la température de l'air de fonctionnement pendant le fonctionnement de l'équipement à gaz peut atteindre plus plus de 60°C.

Il est important de ne pas enfreindre les règles d'installation - une vanne d'arrêt est d'abord installée sur le gazoduc, et seulement après le reste des raccords, instruments et équipements de gaz

Vous pouvez placer la vanne dans différentes positions, faites simplement attention à la flèche marquée par le fabricant sur le corps

Par rapport à l'horizon, l'emplacement de la vanne installée peut être quelconque. Nous décrirons plus en détail les règles d'installation de KTZ plus en détail ultérieurement.

Les vannes d'arrêt thermiques ont une conception spéciale qui permet à l'appareil de couper automatiquement l'alimentation en gaz au bon moment. Si vous apprenez à connaître les caractéristiques de conception des vannes, vous pouvez rapidement comprendre l'essence de leur action. Ensuite, nous analyserons tout plus en détail.

Pourquoi des vannes d'arrêt thermiques sont-elles nécessaires ?

Les vannes d'arrêt thermiques sont des dispositifs qui sont des raccords de gaz d'arrêt. Ils coupent automatiquement le gazoduc menant à tous les appareils fonctionnant au gaz.

Tous les "stubs" sont marqués comme KTZ avec un certain nombre de chiffres après les lettres. Le deuxième chiffre indique le diamètre du tuyau de gaz pour lequel ce mécanisme peut convenir.

But de la vanne d'arrêt thermique

L'objectif principal du KTZ est de couper l'alimentation en gaz de l'équipement en cas d'incendie. Cela aide non seulement à se protéger contre une explosion, mais empêche également la zone d'incendie de doubler ou plus.

Si la vanne d'arrêt est en position ouverte, le dispositif lui-même n'empêche en aucune manière le passage d'une substance combustible vers les instruments et l'équipement.

Des mécanismes de verrouillage thermique sont montés sur des canalisations, où la pression maximale peut être de 0,6 MPa à 1,6 MPa.

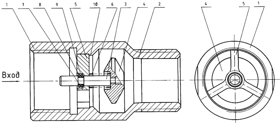
Vanne d'arrêt thermique sur le gazoduc: objectif, appareil et types + exigences d'installationVanne d'arrêt thermique de type fileté. Il est utilisé pour les équipements à basse pression (jusqu'à 0,6 MPa). Ils sont le plus souvent utilisés pour les besoins domestiques.

Vanne d'arrêt thermique sur le gazoduc: objectif, appareil et types + exigences d'installationType de bride KTZ, qui est utilisé dans les canalisations à haute pression (proche du maximum). Le plus souvent utilisé dans les installations industrielles

Ensuite, nous notons le but des vannes, prescrit par les règles des services d'incendie.

Dans le règlement de sécurité incendie, il existe une réglementation qui implique l'utilisation de vannes :

  • Sur l'équipement de tous les pipelines de gaz naturel. Tous les types de systèmes (complexité, ramification), tout nombre d'appareils grand public sont supposés.
  • Assurer la protection des divers objets et appareils gazéifiés fonctionnant au gaz. Dans ce cas, des vannes sont applicables qui sont conçues pour l'automatisation (fonctionnement) lorsque la température dans la pièce atteint jusqu'à 100 ° C.
  • Installation de modules de verrouillage thermique à l'entrée de la chambre.

Conformément à la PPB-01-03 (Règles de sécurité incendie), des dispositifs de verrouillage thermique doivent être installés dans tous les locaux où se trouve une canalisation de gaz. Cependant, cela n'inclut pas les bâtiments de la catégorie V de résistance au feu.

Il n'est pas non plus nécessaire d'installer un court-circuit dans les bâtiments où les canalisations sont équipées d'électrovannes. Ils sont généralement placés à l'extérieur du bâtiment, et si une inflammation se produit à l'intérieur du bâtiment, l'analyseur de gaz se déclenche, après quoi l'alimentation en gaz est arrêtée.

Il faut comprendre que KTZ n'est pas simplement une autre «tendance» russe. L'utilisation de ces appareils dans diverses installations où des équipements à gaz existent est obligatoire dans des pays tels que l'Allemagne, la France, les États-Unis, etc.

Où utilise-t-on une vanne thermostatique ?

Le domaine d'application des bouchons de gaz à fermeture thermique est tout d'abord les canalisations alimentant en gaz des appareils à usages divers dans lesquels du gaz est brûlé (appareils ménagers et industriels, quel que soit leur type).

L'installation d'une installation de protection contre les courts-circuits sur toute canalisation de gaz n'est pas autorisée à l'extérieur des locaux, après l'installation de tout autre raccord de gaz, également sur les dérivations, dans les pièces adjacentes et où la température de l'air de fonctionnement pendant le fonctionnement de l'équipement à gaz peut atteindre plus plus de 60°C.

Il est important de ne pas enfreindre les règles d'installation - une vanne d'arrêt est d'abord installée sur le gazoduc, et seulement après le reste des raccords, instruments et équipements de gaz

Vous pouvez placer la vanne dans différentes positions, faites simplement attention à la flèche marquée par le fabricant sur le corps

Vanne d'arrêt thermique sur le gazoduc: objectif, appareil et types + exigences d'installationVanne d'arrêt thermique avec raccord fileté. Les flèches sur l'élément en acier lors du montage sur un gazoduc doivent correspondre au sens d'écoulement du gaz

Lire aussi :  Comment gazéifier le SNT: les subtilités du raccordement des abris de jardin au réseau de gaz

Vanne d'arrêt thermique sur le gazoduc: objectif, appareil et types + exigences d'installationIci, vous pouvez voir l'emplacement du CTP sur le pipeline. L'installation de la vanne doit être effectuée d'abord à l'entrée du gazoduc, ou à la sortie de la colonne montante

Par rapport à l'horizon, l'emplacement de la vanne installée peut être quelconque. Nous décrirons plus en détail les règles d'installation de KTZ plus en détail ultérieurement.

Les vannes d'arrêt thermiques ont une conception spéciale qui permet à l'appareil de couper automatiquement l'alimentation en gaz au bon moment. Si vous apprenez à connaître les caractéristiques de conception des vannes, vous pouvez rapidement comprendre l'essence de leur action. Ensuite, nous analyserons tout plus en détail.

Conclusion

Lors de l'achat d'une vanne d'arrêt thermique, vous devez vous assurer que le mécanisme de coupure du canal n'a pas fonctionné, ce qui arrive parfois pendant le transport. Avec une distribution de gaz complexe à l'intérieur des locaux et la présence de plusieurs consommateurs de combustible situés dans différentes parties du bâtiment, il est recommandé d'installer plusieurs vannes d'arrêt pour chaque branche.

L'équipement de ballon à gaz pour une voiture, abrégé en HBO, est le moyen le plus récent, abordable et efficace d'économiser le carburant de la voiture, d'augmenter la durée de vie du moteur et de réduire les émissions de substances nocives dans l'environnement - le tout dans une seule bouteille. Chaque année, la situation défavorable du marché du prix du pétrole et la détérioration générale de la qualité de l'essence provoquent chez les propriétaires de voitures un désir constant de passer à des principes de fonctionnement plus économiques et inoffensifs pour les moteurs. La possibilité de faire le plein de propane liquéfié et de gaz de pétrole (méthane) est connue depuis le milieu du XIXe siècle, elle est apparue simultanément avec les moteurs à combustion interne à essence et diesel et s'est développée en parallèle. Mais ce n'est qu'à partir de la fin des années 70 du XXe siècle que les équipements à gaz sont devenus vraiment demandés et qu'une infrastructure développée de stations-service et de stations-service est apparue.

Dans le cas général, il comprend une bouteille de gaz, à partir de laquelle s'étend une conduite de gaz, à l'extrémité elle ferme la multivalve.Derrière lui, l'évaporateur à engrenages met le gaz en état de fonctionnement et s'accumule par portions dans le collecteur et l'injecte dans le moteur à travers des buses séparées. Le processus est contrôlé par une unité de contrôle connectée à l'ordinateur de bord (dans les modèles plus avancés).

Classification

Aujourd'hui, un grand nombre de fabricants spécialisés proposent une large gamme de moteurs à carburateur et à injection de toute complexité et configuration. Classiquement, tous les systèmes sont divisés en générations, chacune ayant son propre travail et son propre degré d'automatisation des réglages:

La première génération est le principe du vide de dosage de chaque portion de gaz. Une soupape mécanique spéciale réagit à la raréfaction qui se produit dans le collecteur d'admission de la voiture lorsque le moteur tourne et ouvre la voie au gaz. Un dispositif primitif pour les systèmes de carburateur simples n'a pas de retour de l'électronique du moteur, de réglage fin et d'autres modules complémentaires en option.

Vanne d'arrêt thermique sur le gazoduc: objectif, appareil et types + exigences d'installation

Les réducteurs de deuxième génération sont déjà équipés des cerveaux électroniques les plus simples, qui, en communiquant avec une sonde à oxygène interne, agissent sur une simple électrovanne. Ce principe de fonctionnement permet déjà non seulement à la voiture de rouler comme elle, mais régule la composition du mélange gaz-air, en recherchant des paramètres optimaux. Appareil pratique et encore largement utilisé par les propriétaires de voitures à carburateur, il est déjà interdit en Europe depuis 1996 pour son haut niveau de pollution environnementale.

La demande de représentants de la transition est assez faible. Le travail de ces systèmes de haute technologie est basé sur un logiciel autonome qui crée ses propres cartes de carburant.Le gaz est fourni par un injecteur intégré spécial à chaque cylindre séparément. Le logiciel interne émule le fonctionnement des injecteurs d'essence en utilisant son propre matériel. La conception s'est avérée peu réussie, le processeur faible du bloc s'est accroché, provoquant des défaillances dans le bon fonctionnement du mécanisme. L'idée a été perdue lorsqu'une classe plus récente et plus développée de HBO est apparue.

Vanne d'arrêt thermique sur le gazoduc: objectif, appareil et types + exigences d'installation

Les boîtes de vitesses les plus courantes aujourd'hui sont à injection divisée d'un mélange gaz-air. Il s'agit d'un projet achevé de la 3ème génération, mais utilisant les cartes d'essence standard de la voiture dans le programme de configuration, ce qui n'alourdit pas la puissance de calcul de l'unité de contrôle. Séparément, il existe une ligne de génération 4+ conçue pour les systèmes d'injection directe de carburant à flux direct directement dans le moteur FSI.

Le dernier outil introduit sur le marché automobile est la 5ème génération. La principale caractéristique du principe de fonctionnement est que le gaz ne s'évapore pas dans la boîte de vitesses, mais est injecté sous forme liquide directement dans les cylindres. Pour le reste, il est en totale conformité avec la 4ème génération : injection fractionnée, exploitation des données de la carte carburant d'usine, passage automatique du gaz à l'essence, etc. Parmi les autres avantages, citons le fait que l'équipement est entièrement compatible avec les normes environnementales en vigueur et les dernières diagnostic embarqué.

Conclusions et vidéo utile sur le sujet

Vue d'ensemble d'un appareil de signalisation domestique avec vanne, ensemble système.

Analyse de la conception du capteur et de la vanne, de ses paramètres, démonstration du fonctionnement de l'appareil.

La plupart des incendies dans les appartements sont causés par des fuites de gaz. L'installation d'un capteur avec une vanne aidera à prévenir les conséquences graves de telles situations.Mais la sécurité des biens et des vies humaines n'est garantie que lorsque l'équipement est correctement sélectionné et que son installation est effectuée par un ouvrier qualifié du service de gaz.

Avez-vous un détecteur de gaz installé dans votre appartement, avec une vanne sur la conduite de gaz, et vous voulez dire comment cet équipement a protégé votre famille et vos biens des conséquences négatives d'une fuite de gaz ? Partagez votre expérience, laissez des recommandations sur la faisabilité de l'installation de tels dispositifs de verrouillage - le formulaire de commentaire se trouve sous l'article.

Évaluation
Site sur la plomberie

Nous vous conseillons de lire

Où remplir la poudre dans la machine à laver et combien de poudre verser