- Méthodes de pose de tuyaux
- Plomberie à faire soi-même dans une maison privée
- Choisir la bonne méthode de montage
- Choisir l'emplacement de la salle de bain dans une maison de village
- Choisir le meilleur type de salle de bain
- Déterminer la taille de la salle de bain
- Caractéristiques de l'aménagement d'une pièce hygiénique dans un bâtiment en bois
- Comptabilité et contrôle
- HMS, aquastop, filtre
- Installation d'évier à faire soi-même
- Travaux de plomberie : tarifs
- Méthodes d'installation des conduites d'eau
- pose ouverte
- Pose cachée des utilités
- Particularités
- Méthodes de pose - système caché et ouvert
Méthodes de pose de tuyaux
Il existe deux méthodes de pose :
- ouvert. Les tuyaux sont fixés au mur à l'aide d'éléments de support spéciaux (colliers);
- caché. Dans les murs (parfois dans le sol), des évidements sont pratiqués dans lesquels des tuyaux sont posés.
La première option se trouve dans les maisons aux murs relativement minces qui ne permettent pas de faire des évidements. Cette méthode est plus simple, mais lors de la finition, vous devrez cacher le câblage derrière des conceptions spéciales. Le plus souvent, les boîtes sont constituées de cloisons sèches ou d'un autre matériau en feuille, sur lesquelles une finition est installée. Les boîtes occupent l'espace de la pièce, gâchent la forme uniforme des murs. Lors du montage, il est nécessaire de penser à l'avance à la possibilité d'un démontage rapide pour les travaux de réparation urgents.De nombreux propriétaires d'appartements ne tiennent pas compte du risque de fuites ou d'autres problèmes lors des réparations. Dans les situations d'urgence, ils doivent casser la finition et ensuite la restaurer, en dépensant de l'argent et du temps.

Avec une installation cachée, le plan des murs et l'espace de la pièce sont conservés intacts. Cependant, la pose d'une finition murale (généralement du carrelage) rend impossible l'accès aux canalisations. Il est impossible de prévoir la possibilité d'un démontage temporaire de la dalle. Cela pose des exigences particulières pour le montage et la qualité des connexions. S'il y a des fuites, elles ne seront pas remarquées immédiatement. Parfois, les voisins du rez-de-chaussée, qui ont gravement endommagé des réparations coûteuses, en informent. Par conséquent, il est nécessaire d'effectuer toutes les connexions avec beaucoup de soin, sans la moindre erreur.
Le choix d'une méthode ou d'une autre est l'apanage du propriétaire de l'appartement. Il est nécessaire de bien peser le pour et le contre de chaque option, en tenant compte de la configuration de l'appartement, du type et de la composition du câblage. Habituellement, l'épaisseur des murs devient le critère principal - s'ils le permettent, ils font une installation dissimulée.
Plomberie à faire soi-même dans une maison privée
Commencez par la plomberie puisque la présence d'eau est déjà nécessaire au stade de la construction d'une maison privée. Dans ce cas, vous devez d'abord penser à assurer l'approvisionnement en eau froide. Vous pouvez également installer une chaudière de chauffage, dont l'installation est une procédure simple.
Pour équiper l'approvisionnement en eau d'une maison privée, de la plomberie, du matériel et des outils sont nécessaires:
-
plomberie d'arrêt;
-
tuyaux en PVC;
-
matériel de pompage ;
-
un trousseau de clés;
-
pinces;
-
pelle;
-
Bulgare.
Avant de faire de la plomberie dans une maison privée, vous devez déterminer quels types d'équipements de plomberie seront installés.Considérez les règles générales et la séquence d'installation.
Comme mentionné ci-dessus, au stade initial, un plan doit être élaboré pour le placement des éléments de plomberie et de plomberie. Le schéma doit inclure des informations sur tous les nœuds du câblage externe et interne du système d'approvisionnement en eau d'une maison privée. En fonction des paramètres de l'approvisionnement en eau, vous devez sélectionner l'équipement optimal pour aménager une station de pompage. Les fabricants de tels équipements y attachent un schéma de câblage, indiquant les principales caractéristiques de la connexion d'une maison privée au système d'alimentation en eau. Il est nécessaire de placer le groupe hydraulique de la pompe de manière à minimiser le bruit de son fonctionnement. Pour ce faire, sélectionnez l'endroit le plus pratique de la maison (au sous-sol ou au sous-sol). Dans la documentation de la station de pompage, vous pouvez trouver des informations sur le niveau de bruit créé lors de son fonctionnement.
Une fois l'emplacement de l'équipement de pompage choisi, il est possible de commencer à aménager des tranchées pour la pose de tuyaux externes à travers lesquels l'eau de la source sera fournie à la maison. Leur profondeur doit dépasser le niveau de gel du sol. S'il n'y a aucune possibilité technique de poser un pipeline à une telle distance, il est nécessaire d'isoler la ligne à l'aide de matériaux spéciaux en fibre de verre.
Après avoir aménagé la partie extérieure de l'alimentation en eau d'une maison privée et installé la plomberie de la pompe, l'installation des tuyaux internes est effectuée. C'est une étape très importante qui doit être réalisée dans le strict respect de la technologie de travail. Lorsque la distribution des conduites d'eau est terminée, les spécialistes procèdent à l'installation de la plomberie et à l'installation du système d'égout.
Considérons l'installation des égouts pour la maison privée. Ici, avant même les travaux d'installation, un schéma technique du système est établi, indiquant les points de placement de la plomberie. Un plan d'assainissement élaboré par des professionnels éliminera les difficultés lors de l'installation et les problèmes lors de l'exploitation.
L'assainissement d'une maison privée comprend des systèmes externes et internes. Les éléments de l'installation extérieure comprennent les tuyaux d'égout et les systèmes de nettoyage. La partie interne comprend également la tuyauterie et la plomberie d'une maison privée.
Règles d'installation des égouts dans une maison privée:
-
lors du choix de l'emplacement du puisard, il est nécessaire de prévoir la possibilité d'y accéder sans entrave par les véhicules d'égout;
-
la ligne la plus basse du puisard est placée à un mètre de profondeur par rapport au niveau de congélation du sol. Le collecteur d'eaux usées est équipé d'une pente et doit avoir une profondeur de plus de 70 cm.
Dans les situations où il n'est pas possible de poser des conduites d'égout sous le niveau de congélation, le collecteur est isolé.
Pour l'installation du système d'égout d'une maison privée, des tuyaux en plastique sont actuellement utilisés. Contrairement aux produits métalliques, un tel tuyau ne rencontrera pas de problèmes de corrosion. L'installation de ces éléments d'une maison privée s'effectue en insérant un tuyau dans un autre, puis en scellant les joints. La pose des conduites d'égout est effectuée en stricte conformité avec les calculs préliminaires de la profondeur. Cela permettra à la ligne d'être posée sur un sol solide non perturbé, ce qui empêchera les éléments de se plier. Les canalisations des colonnes montantes et des collecteurs doivent être d'un diamètre supérieur à celui des canalisations d'égout provenant de plomberie chez un particulier.
Pour effectuer des travaux sur l'aménagement des systèmes d'égouts dans une maison privée, des spécialistes expérimentés et hautement qualifiés doivent être impliqués. Les travaux d'installation et de raccordement de la plomberie sont effectués en stricte conformité avec les exigences des codes du bâtiment selon le schéma établi. Seuls des spécialistes expérimentés qui effectuent des travaux sous la supervision d'un ingénieur peuvent satisfaire à de tels paramètres.
Lisez le matériel sur le sujet: Comment choisir les accessoires pour les tuyaux
Choisir la bonne méthode de montage
Dans les salles de bains modernes, toutes les communications techniques sont cachées. Pour mettre cela en œuvre, vous pouvez utiliser de faux panneaux ou faire des stroboscopes dans les murs. Une alternative est la pose ouverte lors de la tuyauterie dans la salle de bain. C'est moins esthétique, mais cela demandera moins d'efforts et de temps. Cela peut être fait indépendamment, sans l'aide d'un plombier.
Pour choisir une méthode, vous devez analyser les avantages et les inconvénients de chacune.
- Ouvrez le joint. Toutes les communications techniques sont fixées au mur ou au sol. Cela permet de faire l'installation même après la réparation finale. Avantages - surveillance constante de l'état, coût minimum, possibilité de réparation rapide. Inconvénients - la probabilité de dommages mécaniques, les canalisations gâchent l'apparence de la pièce.
- Schéma de câblage caché. Pour la pose dans les murs ou les sols, des stroboscopes sont fabriqués. Cependant, il y a des limites - elles ne peuvent pas être réalisées dans des murs porteurs. Une alternative est le montage en haut du mur, suivi de l'installation d'un faux panneau. Avantages - seuls les points de connexion aux appareils restent à l'extérieur, il est impossible d'endommager les tuyaux. L'inconvénient est la complexité de l'installation.
Dans certains cas, les deux méthodes peuvent être combinées. Une partie des communications reste ouverte, le reste est recouvert de matériaux décoratifs. Cela est vrai si l'un des murs de la salle de bain est porteur.
Important: la largeur et la profondeur du stroboscope doivent être supérieures de 2 à 3 cm au diamètre des tuyaux, ce qui est nécessaire pour compenser la dilatation thermique.
Choisir l'emplacement de la salle de bain dans une maison de village
Pour qu'une salle de bain dans une maison en bois soit belle et fonctionnelle, il est important de choisir correctement son emplacement. Étant donné que l'alimentation et l'évacuation de l'eau sont nécessaires au fonctionnement normal de la salle de bain et des toilettes, la salle de bain d'une maison en bois doit être située à proximité de la source d'eau et avoir également accès au système d'égout.
Important: selon le SNIP, la distance minimale entre la maison et la cave et les toilettes extérieures doit être d'au moins 12 m, du puits à l'égout ou au dispositif de compostage - au moins 8 m.
Disposition approximative d'un manoir sur une zone suburbaine
Choisir le meilleur type de salle de bain
La méthode d'aménagement des égouts et des toilettes est déterminée par le temps par an qu'il est prévu de vivre dans le chalet (de façon permanente ou saisonnière). Il existe plusieurs types de toilettes pour les maisons de campagne, ou les gîtes :
placard sec - un appareil portable compact composé d'un siège de toilette et d'un réservoir en dessous. Le réservoir contient un liquide spécial qui expose les déchets humains aux attaques chimiques ou organiques, les transformant en eau, en poudre ou en compost.
Astuce : le principal inconvénient des placards secs est le remplissage rapide et la nécessité de se débarrasser du contenu de la cuve.
Placard sec compact - une salle de bain à la campagne, photo
placard à contrecoups - un système d'élimination des déchets, qui est une toilette isolée à la maison, lorsque les toilettes sont reliées à un puisard à l'aide d'un système de canalisations;
Remarque : une caractéristique de conception importante du placard à contre-courant est un système de ventilation qui empêche l'accumulation d'odeurs désagréables dans la pièce.
La conception du placard à contrecoups - une salle de bain à la campagne, photo
placard à poudre - une méthode sèche d'élimination des déchets, dans laquelle les toilettes de la maison sont directement reliées à un puisard de type boîte. Une couche périodique de déchets est recouverte de tourbe pour les neutraliser. Dans ce cas, le caisson du réservoir doit être nettoyé régulièrement.
L'appareil poudrière dans une maison de campagne
Astuce: avec résidence permanente dans une maison de campagne, le placard à contre-courant sera le moyen le plus pratique et le plus pratique d'équiper les toilettes. Le reste des options est plus adapté à une utilisation occasionnelle ou saisonnière.
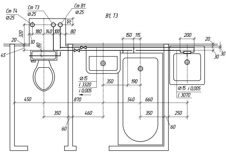
Déterminer la taille de la salle de bain
Une salle de bain dans une maison privée peut être organisée de plusieurs manières:
- comme une salle de bain à part entière (avec une douche, un réservoir-baignoire et un WC) ;
- comme une toilette (seulement une toilette et un lavabo).
Recommandation : pour le confort de tous les habitants de la maison, il devrait y avoir une salle de bain par étage.
Les dimensions de la salle de bain dans une maison privée dépendent directement du type de plomberie et d'appareils électroménagers qu'il est prévu d'y installer. Si la pièce hygiénique ne comprendra qu'une cuvette de toilette et un lavabo, sa superficie peut être de 2 à 3 mètres carrés.
L'aménagement d'une petite toilette dans une maison privée
S'il est prévu d'installer une cabine de douche dans la salle de bain, sa superficie optimale devrait être de 3 à 4 mètres carrés.La plomberie d'angle permettra d'économiser de l'espace, mais tous les appareils doivent être placés à une certaine distance les uns des autres afin qu'ils soient pratiques à utiliser.
Options de planification pour une salle de bain combinée dans une maison en bois
Si une baignoire, une machine à laver, des armoires pour ranger divers accessoires de bain sont installés dans la pièce, les dimensions de la salle de bain doivent être de 5 m².
Options pour planifier rationnellement une salle de bain dans une maison privée, photo
Caractéristiques de l'aménagement d'une pièce hygiénique dans un bâtiment en bois
L'appareil d'une salle de bain dans une maison en bois présente certaines caractéristiques. Les dimensions linéaires d'une structure en bois lors du retrait changent constamment, cela doit être pris en compte lors de la construction d'une salle de bain et de toilettes. Comment faire une salle de bain dans une maison à partir d'un bar?
Pour cela, un cadre coulissant est utilisé. La technologie d'érection de la base d'une salle de bain dans une maison en rondins consiste à installer des profilés en métal ou en bois dans les rainures verticales des rondins, ce qui permettra de fixer de manière rigide la base de la structure de la salle de bain. Les chevauchements sont renforcés à l'aide de rondins larges situés à une distance minimale les uns des autres. Ensuite, des conduites d'eau et d'égout flexibles sont posées, des câbles électriques sont acheminés et, à la fin, toutes les communications sont cousues avec des plaques de plâtre ou des planches à clin.
A noter : l'utilisation d'un cadre coulissant dans la construction d'une salle de bain permet à la pièce de résister au rétrécissement de la maison sans endommager la plomberie.
Aménagement d'une salle de bain sur châssis coulissant - une salle de bain dans une maison en rondins
C'est intéressant : la maison intelligente suivra le jardin
Comptabilité et contrôle
L'unité de sélection et de comptabilisation se compose d'une vanne d'arrêt, d'un filtre grossier, d'un compteur d'eau et d'un clapet anti-retour.Assemblé comme indiqué sur l'image. Chacun des appareils indique le sens de l'écoulement de l'eau pour celui-ci, il doit être respecté lors du montage.
Unité de distribution d'eau à comptabilité sélective, assemblage
L'ensemble est assemblé avec imperméabilisation des joints avec du ruban FUM et est également relié à la colonne montante, après avoir préalablement bloqué l'eau; N'oubliez pas de fermer le robinet d'arrêt avant de fournir de l'eau. C'est la seule opération, et de courte durée, qui nécessite de couper l'alimentation en eau des voisins dans la colonne montante.
Des compteurs séparés sont nécessaires pour l'eau froide et l'eau chaude. Il est hautement souhaitable que les compteurs et les poignées de vanne soient mis en évidence en couleur. Les relevés de compteur doivent être clairement lisibles sans aucune opération supplémentaire (enlèvement de trappe, etc.), il est donc souvent nécessaire de pré-assembler une partie d'une canalisation intégrale, parfois d'une configuration assez bizarre, pour connecter les appareils de mesure à la colonne montante. En plus des tuyaux et d'un fer à souder, cela nécessitera des raccords de transition du plastique au métal MPV - un raccord intérieur fileté. Le plastique est connecté aux unités de dosage à l'aide de MRN - raccords filetés externes.
Les compteurs sont vendus scellés, mais cela ne signifie pas que vous pouvez immédiatement appeler le service des eaux et payer l'eau aux frais. Le sceau d'usine est pour cela (la terre russe est riche en artisans) afin que personne n'entre dans le compteur et ne torde ou ne lime quoi que ce soit là-bas. Le sceau d'usine doit être protégé; sans lui, le compteur est considéré comme inutilisable, ainsi que sans certificat.
Lors de l'installation de compteurs d'eau, vous devez déclarer au service des eaux et appeler son inspecteur.Vous pouvez utiliser de l'eau avant son arrivée, l'inspecteur n'a pas besoin de lectures nulles, il notera les lectures initiales, scellera le compteur et vidangera le filtre avec son sceau. Le paiement de la consommation d'eau ira après l'enregistrement des appareils de mesure.
HMS, aquastop, filtre
Bien que la conception du HMS ne soit pas séparable et ne permette pas de voler de l'eau avec son aide, et que cet appareil ne soit pas soumis à l'étanchéité, la connexion du HMS au compteur est inacceptable: la roue du compteur peut se boucher avec des boues. HMS avec un filtre à ballon est connecté après les appareils de mesure ; filtre - immédiatement après HMS. Un aquastop peut être branché immédiatement après le filtre, mais s'il est électrodynamique, le champ magnétique du HMS peut provoquer son faux fonctionnement, mais cela n'a aucun sens d'attribuer l'aquastop loin de la colonne montante : il ne réagit pas à une percée avant ce.
Installation d'évier à faire soi-même
Ainsi, avant de commencer tous les travaux d'installation, il faut d'abord couper l'alimentation en eau de la pièce, tout en étant prudent et attentif, car cela peut entraîner une inondation de la pièce ou des voisins à l'étage inférieur.

En même temps, la jambe peut cacher les communications sommées et les mélangeurs, c'est très pratique et pratique. En fait, le travail avec l'évier est divisé en deux étapes: fixation et installation de l'évier lui-même, et la deuxième étape est le câblage des mélangeurs.

Par conséquent, ce matériel peut être considéré comme une instruction étape par étape pour les débutants, dans laquelle nous analyserons en détail les différentes nuances.

Donc, vous devez d'abord faire les marques nécessaires sur le mur pour un même lavabo mural, En utilisant le niveau du bâtiment, nous faisons des marques sur le mur, puis marquons les points pour les trous qui retiendront le support.Les trous sont percés avec une perceuse électrique ou un perforateur, des chevilles en plastique sont martelées dans les trous finis, puis les supports sont vissés.

De plus, il est possible d'amener les tuyaux de drainage et le câblage flexible sous l'eau froide et chaude
Il est très important que tous les joints soient lubrifiés avec du mastic à la silicone afin d'éviter les fuites d'eau et que tout soit bien scellé.

Cela est particulièrement vrai lors de l'installation d'un robinet avec des robinets à l'eau, tandis que du mastic à la silicone doit être appliqué sur ses filetages. Au stade final, vous devez commencer à poser le tuyau d'égout et à connecter le siphon.

Il est très important que tous les éléments des connexions soient serrés et serrés, tous les écrous et les coudes. Après avoir installé l'évier, assurez-vous d'ouvrir l'alimentation en eau et assurez-vous qu'il n'y a pas de fuite d'eau.

Travaux de plomberie : tarifs
Avec un remplacement complet de tous les appareils et tuyaux, cela peut prendre plusieurs jours. Beaucoup sont intéressés par le coût de ce service, cela dépend de plusieurs facteurs :
- la complexité des travaux et le temps imparti à leur réalisation ;
- le nombre d'appareils, de nœuds et d'autres éléments de base installés ;
- type de plomberie.
Par exemple, un complexe de douche aux fonctionnalités étendues est plus difficile à installer qu'une baignoire en fonte standard. De plus, le coût augmente avec l'utilisation de services supplémentaires.
Pour les travaux de plomberie, les prix peuvent varier selon les différents spécialistes et entreprises. En moyenne, l'installation d'un évier coûtera 1 700 roubles et l'installation d'un robinet standard coûtera 800 roubles. Lors du choix d'une entreprise, il convient de se concentrer non seulement sur les prix des services fournis, mais également sur le professionnalisme des employés, il ne sera également pas superflu d'étudier les avis sur les ressources spécialisées.

Méthodes d'installation des conduites d'eau

Les tuyaux de la salle de bain qui sont bien en vue peuvent faire une impression désagréable et gâcher l'impression extérieure. Pour résoudre ce problème, diverses technologies sont utilisées pour masquer l'approvisionnement en eau.
Avant de choisir l'une des méthodes, vous devez vous familiariser avec les avantages et les inconvénients de chacune.
pose ouverte

Les tuyaux ouverts sont montés le long des murs ou au-dessus du sol, en les fixant à l'aide de supports spéciaux. Cela n'améliorera pas la conception de la salle de bain, mais apportera un certain nombre d'autres avantages. L'installation ne nécessite pas de travaux complexes et la possibilité d'inspecter le système d'alimentation en eau aidera à détecter et à éliminer les fuites à temps. Le coût de la pose à ciel ouvert est faible.
Les tuyaux en plastique peuvent être endommagés. C'est l'une des raisons pour lesquelles la pose est effectuée dans des endroits où la probabilité d'impact mécanique sur les tuyaux est minimisée. Les boîtes de protection aideront à réduire les risques de dommages et à améliorer la conception.
Ces conceptions dans la salle de bain sont faciles à assembler de vos propres mains à partir de panneaux en plastique ou de cloisons sèches imperméables. De plus, les communications de plomberie sont cachées derrière de faux murs ou des volets roulants. Le choix du déguisement est influencé par les caractéristiques de conception de la salle de bain et les souhaits des propriétaires.
Une humidité élevée est constamment maintenue dans les salles de bains, ce qui contribue à l'apparition de rouille sur les éléments en acier. Le processus de corrosion ne ralentit même pas la peinture des composants et pièces métalliques. Si les produits métalliques sont fermés avec une boîte ou autre chose, la concentration d'humidité autour d'eux augmentera plusieurs fois. Par conséquent, il n'est pas recommandé de fermer les tuyaux en acier.
Pose cachée des utilités
Pour masquer les tuyaux de câblage, il est nécessaire de découper des rainures spéciales. Tout d'abord, ils marquent l'itinéraire sur le mur de la salle de bain, puis percent des niches avec un perforateur, dont la largeur et la profondeur doivent être supérieures au diamètre des conduites d'égout ou d'eau qui y sont posées.Le principal avantage du câblage caché est l'esthétique . Les tuyaux cachés ne peuvent pas être endommagés mécaniquement. Les sorties d'alimentation en eau sont soigneusement disposées sous la forme de douilles ou de douilles.
C'est un travail laborieux et salissant qui prend beaucoup de temps. Des matériaux de finition sont nécessaires pour sceller les tuyaux, ce qui augmente les coûts. Les conduites emmurées ne peuvent pas être inspectées et des réparations préventives peuvent être effectuées.
Dans le cas d'une décision de cacher l'alimentation en eau dans le mur, il est nécessaire de concevoir correctement l'itinéraire. Il est interdit de couper des stroboscopes dans les murs porteurs et dans les cloisons minces. La profondeur de la niche sera d'au moins 6-7 cm, ce qui affaiblit considérablement même les cloisons majuscules.
Par conséquent, l'installation cachée n'est autorisée que dans les bâtiments en briques ou ceux en blocs solides. Il est permis de couper des canaux pour l'approvisionnement en eau dans les appartements à disposition libre. Le dispositif de stroboscopes dans les dalles de plancher est interdit dans les bâtiments de tout type.
Pour masquer le pipeline dans la salle de bain du bâtiment, dont les murs ne conviennent pas aux conduits, vous pouvez poser une chape sur le câblage, faire passer des tuyaux derrière le revêtement mural ou sous le plafond.
La meilleure solution serait d'aménager un podium de la hauteur appropriée. Tous les tuyaux peuvent passer en dessous dans différentes directions.
Il est important d'installer des branches ECS au-dessus de l'alimentation en eau froide et d'envelopper les deux canalisations avec un matériau isolant - merylon ou similaire. Sinon, de la condensation apparaîtra sur les conduites d'eau froide, ce qui entraînera la destruction de la structure.
Les tuyaux montés et protégés doivent être posés dans des canaux, puis scellés avec du mortier au ras du mur. Il sera impossible d'inspecter la structure afin de détecter les fuites. Par conséquent, la résistance des éléments à la corrosion doit être maximale et la qualité des joints doit être élevée. Pour le montage encastré, les tuyaux en cuivre, en plastique et en métal-plastique conviennent.
j'aime ça j'aime pas
Particularités
Lors de l'utilisation d'un fer à souder, les joints résultants deviennent monoblocs et, s'il y a des défauts, une partie du pipeline doit être coupée pour les éliminer. Les raccords sont utilisés pour construire un tuyau dont la longueur est insuffisante.
L'une des étapes du travail est la connexion de raccords spéciaux aux sorties d'extrémité, d'une part, un tuyau flexible leur est connecté et, d'autre part, un tuyau est fixé.
La plomberie dans un nouveau bâtiment se fait de deux manières principales :
- Les tuyaux de soudure partent de la colonne montante vers les appareils de plomberie.
- Tout d'abord, l'élément de plomberie le plus éloigné de la colonne montante est connecté.

Méthodes de pose - système caché et ouvert
Les tuyaux du système d'alimentation en eau peuvent être posés de manière fermée et ouverte. Le choix de l'une des méthodes n'affecte ni la qualité des connexions ni la fonctionnalité de l'ensemble du système et ne dépend que des préférences personnelles.
Il semblerait que ce ne soit pas difficile de trancher et la méthode fermée est préférable car plus esthétique et permet de gagner jusqu'à 10 cm d'espace utilisable. Pourquoi une canalisation ouverte est-elle encore utilisée dans l'installation d'un système d'approvisionnement en eau ? Essayons de donner une réponse.
Le câblage caché vous permet de cacher les tuyaux et de ne pas gâcher la perception esthétique de l'intérieur d'une maison ou d'un appartement.La méthode cachée est utilisée lors de l'assemblage d'une conduite d'eau à partir de tuyaux en PP. Ils cachent le contour derrière un mur décoratif, par exemple en cloison sèche, ou creusent les murs et conduisent les tuyaux dans les niches formées, en les scellant avec un matériau de parement ou du plâtre le long de la grille.
Le pipeline ne doit pas être étroitement adjacent aux surfaces - laissez toujours un petit espace pour d'éventuelles réparations. Lors de l'installation d'un pipeline dans un monolithe, il est recommandé de les placer dans un boîtier, en insérant un tuyau dans un tuyau.
L'inconvénient de la méthode se manifeste lorsqu'il devient nécessaire de réparer ou de remplacer les éléments cachés du système - le plâtre ou le carrelage doit être ouvert puis re-décoré.
De plus, en cas de dégradations et de fuites, le problème peut ne pas être détecté immédiatement et conduire d'abord à la perte des caractéristiques techniques de fonctionnement des ouvrages, puis à l'inondation des locaux.
Il est préférable de procéder à l'installation du système d'alimentation en eau avec un schéma pré-dessiné - sinon, des erreurs de calcul ou d'assemblage entraîneront le fait que vous devrez abandonner de nouvelles rainures et remonter les tuyaux
Pour éviter de telles difficultés, lors de l'installation du câblage, seules des sections entières du tuyau sont masquées, plaçant les raccords d'amarrage dans des zones ouvertes. Dans les lieux d'installation de vannes d'arrêt, des portes invisibles sont fabriquées. Cela permet d'accéder pour la maintenance aux raccords de tuyauterie, qui sont les maillons les plus faibles du système.
Il convient également de noter que les tuyaux fabriqués à partir de tous les matériaux ne peuvent pas être cachés sous une couche de plâtre - seuls les produits en polypropylène, en métal-plastique ou en cuivre conviennent à cela.
La pose de tuyaux à ciel ouvert est effectuée une fois la finition terminée. La méthode implique la pose à découvert de tuyaux et d'éléments d'alimentation en eau.Il a l'air moche, réduit la surface utilisable de la pièce, mais en même temps, cette méthode est très pratique pour l'entretien, la réparation et le démontage des éléments.
Le réaménagement et le réaménagement de la plomberie dans la maison avec un tel appareil de plomberie ne causeront pas non plus de difficultés.
Le câblage ouvert permet de détecter rapidement une fuite et d'éliminer la cause de la rupture ou de l'endommagement des éléments du système








































