Dispositif de chasse d'eau : comment fonctionne la structure du drain et en quoi consiste-t-elle ?

Mécanisme de chasse d'eau WC à bouton : chasse d'eau à double inverseur, réparation et réglage robinetterie à deux boutons

Comment diagnostiquer les problèmes ?

Si le réservoir est défectueux, cela devient rapidement évident : l'eau s'infiltre dans la cuvette des toilettes ou commence à dégoutter sur le sol. Il arrive parfois que le récipient ne soit pas rempli.

Peu importe à quel point la conception du réservoir est ultra-moderne et complexe, les pannes apparaissent les mêmes dans tous les modèles.

Les fuites externes ne sont pas toujours immédiatement visibles. Il arrive que l'eau s'égoutte pendant des semaines, mais sa quantité est si faible que les zones humides ne frappent pas. Ensuite, la fuite peut être déterminée par l'apparition de taches rouges et de traînées de rouille.

Si c'est le cas, il vaut la peine de démonter le réservoir et d'établir la cause de la panne.

Dispositif de chasse d'eau : comment fonctionne la structure du drain et en quoi consiste-t-elle ?

S'il n'y a pas de filtre grossier, des particules de saleté et de rouille pénètrent constamment dans le réservoir. Ils s'accumulent dans le réservoir et peuvent endommager les mécanismes internes de la structure, provoquer des dommages

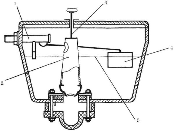
Normalement, le réservoir est rempli jusqu'à un niveau prédéterminé et la poire en caoutchouc est pressée contre le trou de vidange, le ferme solidement et est maintenue dans cette position en raison de la pression de l'eau. Lorsque vous appuyez sur le mécanisme de descente, cette poire se soulève et ouvre le trou de vidange.

La poire en caoutchouc doit être constamment remplie d'air. Pour empêcher l'eau d'y pénétrer, un tube de guidage spécial est prévu dans la conception. Il assure la bonne position de la poire dans la "selle".

Si l'intégrité de la poire ou du tube lui-même est violée, le mécanisme échoue.

Dispositif de chasse d'eau : comment fonctionne la structure du drain et en quoi consiste-t-elle ?

Voici à quoi devrait ressembler la poire en caoutchouc du réservoir, si elle est en état de marche. Il doit rester élastique et bien s'adapter à la selle.

La première chose à faire après le démontage du réservoir est d'inspecter la poire. S'il a perdu son élasticité, fissuré, c'est en lui que réside la cause de la fuite. Le caoutchouc usé ne peut pas bien couvrir le trou de vidange, l'eau s'infiltre dans les fissures et les interstices.

Les produits en caoutchouc de ce type ne peuvent pas être réparés, la poire doit donc simplement être remplacée.

Si tout est en ordre, vous devez vous assurer que des particules de saleté et de rouille ne pénètrent pas sous le caoutchouc, ce qui peut également interférer avec le fonctionnement normal de la poire.

Dispositif de chasse d'eau : comment fonctionne la structure du drain et en quoi consiste-t-elle ?

Il existe des cas où vous pouvez résoudre le problème de fuite en nettoyant simplement le réservoir. S'il s'avère que de la saleté s'est accumulée sous la poire en caoutchouc, vous pouvez l'enlever avec une éponge ordinaire. Souvent, cela suffit pour rétablir un fonctionnement normal. Il est également logique pour la prévention d'essuyer les parois du récipient avec un chiffon et d'enlever la plaque.

Si la poire est en ordre, vous devez continuer à inspecter le réservoir des toilettes à la recherche de la cause de la fuite.

Le réservoir n'est pas rempli si :

  • tuyau d'arrivée défectueux ;
  • la soupape d'admission du mécanisme à flotteur est usée.

L'eau peut fuir si :

  • le joint entre le réservoir et les toilettes est usé ;
  • une fuite est apparue à l'endroit où les vis de raccordement étaient installées.

Les fuites internes apparaissent lorsque :

  • tube de trop-plein non réglé ;
  • la vanne est défectueuse ;
  • flotteur a échoué.

Tous ces composants doivent être soigneusement vérifiés, réparer, régler ou remplacer les pièces endommagées. Comment démonter le réservoir et trouver ces éléments est montré dans la vidéo:

Mécanisme de vidange

Le mécanisme de chasse d'eau vous permet de libérer de l'eau dans la cuvette des toilettes pour évacuer les eaux usées dans les égouts. Il est activé en appuyant sur un levier ou un bouton.

Dispositif de chasse d'eau : comment fonctionne la structure du drain et en quoi consiste-t-elle ?
Cuvette de toilette avec réservoir supérieur et levier

Les dispositifs de drainage diffèrent par leur conception, mais dans la plupart des cas, ils sont interchangeables s'ils sont conçus pour être installés dans des réservoirs de dimensions standard, avec des trous de tailles standard. Le principe général du mécanisme est le suivant :

  • le trou de vidange est bouché par un clapet retenant l'eau ;
  • lorsque vous appuyez sur un bouton ou un levier, la valve monte et l'eau se précipite dans le bol avec un puissant jet;
  • valve se met en place.

La conception comprend un tuyau de trop-plein avec un dessus ouvert. L'eau qui a dépassé un niveau prédéterminé la traverse dans la cuvette des toilettes - cela élimine le débordement du réservoir, empêche l'eau de fuir par les bords du réservoir jusqu'au sol.

Dispositif de chasse d'eau : d'où vient l'eau ?

Un réservoir est un récipient en plastique, en céramique ou en métal, qui peut être réalisé sous différentes formes, peut être équipé de différents déclencheurs, mais il n'a qu'un seul but - puiser et évacuer l'eau. Cette action est possible grâce à la structure interne du réservoir. En fait, le dispositif de chasse d'eau des toilettes est un mécanisme qui se compose de seulement deux éléments principaux : un mécanisme de vidange et un mécanisme d'alimentation en eau.

Avec un examen plus détaillé à l'intérieur du réservoir, vous pouvez également trouver un flotteur, un robinet à flotteur, une poire, un trop-plein, des leviers. Ces éléments peuvent être constitués de différents matériaux, par exemple, le flotteur peut être en laiton ou en plastique, et la poire est en plastique ou en caoutchouc, ils peuvent également avoir des différences de formes et de méthodes de connexion les uns aux autres, mais le principe de leur fonctionnement ne pas changer.

Le mécanisme d'alimentation en eau fonctionne à l'aide de raccords, qui sont responsables de l'apport d'eau dans le réservoir. Le système d'alimentation en eau peut être réalisé de deux manières:

  • le raccord est en haut du réservoir de vidange, l'eau entre par le canal latéral. Le flotteur dans cette version est situé à la pointe du levier, et lorsqu'il atteint un certain niveau, l'autre extrémité de ce levier appuie sur la tige, et il bloque l'alimentation en eau à l'aide d'une membrane. Une méthode assez bruyante, mais très courante chez les fabricants de plomberie domestique ;
  • les raccords sont situés au fond du réservoir de vidange - alimentation par le bas.Le flotteur de ce système se déplace le long d'une tige verticale. L'énergie est transférée à la membrane de verrouillage à la suite du mouvement du flotteur à l'aide d'une poussée spéciale, qui est un régulateur pour limiter le niveau de liquide dans le réservoir. Une version plus silencieuse de la prise d'eau par rapport à la précédente.

En principe, le mécanisme d'approvisionnement en eau est une conception assez simple basée sur les lois de la physique. Mais même les systèmes les plus élémentaires échouent parfois et nécessitent une intervention. Pannes pouvant survenir dans le mécanisme du flotteur :

  1. approvisionnement en eau lent. Ce problème est causé par le colmatage de la membrane qui se chevauche. La solution est assez simple - vous devez nettoyer le trou d'alimentation en eau des débris. L'essentiel est de démonter soigneusement le mécanisme de la membrane, puis de l'assembler de manière séquentielle, sans laisser de détails inutiles. Aucun outil spécial n'est nécessaire, et tout le monde a des pinces et des pinces coupantes ;
  2. trop d'eau dans le réservoir. Dans ce cas, vous devez régler le niveau d'eau dans le réservoir. La façon de résoudre ce problème dépend du type de flotteur. S'il s'agit d'une alimentation latérale, le niveau est ajusté en dévissant l'écrou du levier, après quoi le côté du levier avec le flotteur descend plus bas. S'il s'agit d'une alimentation par le bas, le niveau du flotteur est réglé en tournant la tige filetée en plastique. Vous devez tourner pour que le flotteur baisse, le niveau d'eau dans le réservoir sera alors plus bas;
  3. les bras du flotteur sont cassés. Ce dysfonctionnement n'est pas réparable, il faut changer tout le mécanisme du flotteur du bac de vidange.

Fonctionne avec un réservoir encastré dans le mur

Il est assez difficile de changer et de réparer les raccords si le récipient de vidange est retiré dans le mur et masqué avec des matériaux de finition.Pour ce faire, vous devez d'abord démonter le panneau mural avec des clés affleurantes, après quoi le cadre sur le trou dans le mur est dévissé avec un tournevis. La cloison est retirée, après quoi l'accès aux raccords d'eau cachés est ouvert.

Lire aussi :  Comment choisir une toilette suspendue : quelle est la meilleure et pourquoi + aperçu des fabricants

L'eau est coupée, après quoi les vannes et autres éléments structurels sont démontés. La panne est éliminée, après quoi les pièces en plastique défectueuses sont remplacées par de nouvelles, et le mécanisme est assemblé dans l'ordre inverse. Sans expérience, il est assez difficile d'assembler correctement les composants, il est donc préférable de confier les mécanismes cachés à un spécialiste. De tels raccords sont faciles à endommager et pour remplacer complètement le conteneur, vous devrez démonter la garniture décorative.

Laisser une demande Départ gratuit dans le périphérique de Moscou

Une attitude responsable envers l'état de la plomberie peut prévenir la plupart des pannes. Il vaut mieux ne pas économiser sur l'installation de filtres à eau, car ils prolongent considérablement la durée de vie de la plomberie. Il est nécessaire de changer les raccords uniquement pour des pièces de haute qualité de marques éprouvées, cela évitera des dysfonctionnements répétés et des réparations coûteuses. Cependant, si vous avez certaines compétences et certains outils, vous pouvez même résoudre le problème par vous-même.

Pour les autres matériaux :

Rouleaux de douche - comment choisir et installer

Types de réservoirs de chasse d'eau

Le premier réservoir de chasse d'eau a été conçu en 1596 pour Elizabeth I. Mais cette conception n'a gagné en popularité que 200 ans plus tard, lorsque les eaux usées et l'approvisionnement en eau ont commencé à apparaître au Royaume-Uni.Au début, c'était un réservoir de chasse d'eau pour une cuvette de toilette à valve, puis un demi-siècle plus tard, un réservoir avec une poignée a été inventé, grâce auquel il était plus facile d'éliminer les odeurs désagréables dans les toilettes.

Aujourd'hui, la classification des réservoirs de vidange est beaucoup plus diversifiée. Afin de ne pas se perdre dans une large gamme, il ne fait pas de mal de se familiariser un peu avec cet objet de plomberie et ses variétés.

Selon le type de matériau à partir duquel ils sont fabriqués, les réservoirs sont :

  • métal (généralement en fonte) - durable, mais extérieurement pas très esthétique;
  • plastique (plastique) - le plus léger de tous les types, facile à installer, mais aussi facilement endommagé;
  • céramique - fiable, facile à installer, offre un large choix de formes et de couleurs.

Par type de lanceur :

  • Latéral - une corde (chaîne) attachée au réservoir, située à une certaine hauteur des toilettes. Le principe de fonctionnement du mécanisme de vidange est le suivant: une corde tire le levier, et un bouchon avec un joint monte sur son épaule opposée, et l'eau pénètre dans le tuyau de vidange.
  • Haut - un bouton ou une tête situé sur le dessus du couvercle, généralement au centre. Dans ce cas, l'eau pénètre dans le tuyau de vidange après avoir appuyé sur le bouton ou soulevé la tige (tige). Au moment de presser, la poire en caoutchouc se soulève de sa selle et laisse passer l'eau.

Type de déclencheur :

  • Mécanisme manuel - la vanne du réservoir s'ouvre à la demande de l'utilisateur, qui peut ainsi réguler la quantité de liquide utilisé ;
  • Mécanique - tout est réglé sans intervention de l'utilisateur.

Vous pouvez également distinguer les types de réservoirs de vidange selon la méthode de leur installation :

  • Option 1: le réservoir est situé presque sous le flux même, se connectant aux toilettes avec une longue armature.Cette option fournit une pression d'eau maximale pendant la descente, mais n'a pas l'air très attrayante dans un design moderne.
  • Option 2 : le réservoir est fixé sur les toilettes. Version compacte, pratique pour diverses réparations.
  • Option 3 : le réservoir de vidange est encastré dans le mur. Cette option vous permet d'économiser de l'espace dans les toilettes et est très soignée et esthétique. Un inconvénient important est la complexité des travaux d'installation et de réparation.

Photo d'un réservoir de toilette suspendu,

Photo d'une cuvette de toilette avec un réservoir de chasse d'eau

Photo d'un dispositif de réservoir de toilette,

Photo du mécanisme de la chasse d'eau,

Photo comment assembler un réservoir de chasse d'eau, sdelaysam.by

Réparation de réservoir

Tout mécanisme, même le plus fiable, peut tomber en panne tôt ou tard, cet axiome indéniable s'applique au système de vidange. Considérez plusieurs étagères caractéristiques des raccords de réservoir et comment les éliminer sans l'aide d'un plombier.

Que faire si le réservoir des toilettes avec un bouton fuit ?

Il y a plusieurs raisons qui peuvent entraîner une fuite d'eau dans la cuvette des toilettes, nous les listons :

  1. Le flotteur de la vanne d'arrêt s'est égaré, par conséquent, après avoir rempli un certain niveau, l'eau s'écoule à travers le tuyau de trop-plein. Ceci est facile à trouver en retirant le bouchon du réservoir et en inspectant l'intérieur. Pour éliminer la fuite, il suffit de régler la hauteur du flotteur. Alternativement, il peut y avoir une perte d'étanchéité par le flotteur, auquel cas il doit être retiré et remplacé, ou réparé (scellé).
  2. Le régulateur responsable de la hauteur du bouton s'est déplacé, en conséquence, un espace s'est formé entre le robinet de vidange et le trou dans la cuvette des toilettes. Pour résoudre le problème, ajustez simplement la hauteur du bouton.
  3. La soupape de la soupape d'arrêt s'est cassée.Il est vérifié en appuyant sur le levier venant du flotteur, si l'eau ne s'arrête pas de couler, cela indique un dysfonctionnement de la vanne. Dans ce cas, les vannes d'arrêt doivent être changées (sans oublier de couper au préalable l'arrivée d'eau).
  4. À la base du tube de trop-plein, l'écrou s'est desserré, par conséquent, de l'eau s'égoutte dans la cuvette des toilettes, la connexion doit être resserrée.

Aucune eau n'est aspirée dans le réservoir

Ce dysfonctionnement indique clairement des problèmes avec les vannes d'arrêt, en règle générale, il s'agit d'une vanne bouchée ou d'un flotteur coincé sur la poulie. Dans le premier cas, il est nécessaire de nettoyer la vanne (la procédure n'a pas donné de résultats; les raccords devront être remplacés, mais avant cela, il est recommandé de vérifier la présence d'alimentation en eau), dans le second, ajustez le flotteur .

Diminution de la force d'écoulement

Si même avec un réservoir complètement rempli, à cause d'un faible débit, le nettoyage de la cuvette des toilettes n'est pas satisfaisant, cela indique que l'orifice de vidange s'est bouché. La raison peut également être un tuyau en caoutchouc sauté (installé pour réduire le bruit). Dans ce cas, vous devrez démonter le réservoir (en le déconnectant de l'eau et en retirant les boulons de fixation) et le nettoyer.

Élimination des fuites externes

Si de l'eau commence à apparaître sous les toilettes, cela indique une fuite externe. Il est disponible aux endroits suivants :

  • Entre citerne et toilettes. La raison peut être causée à la fois par une mauvaise installation du réservoir et par le vieillissement du joint. Dans tous les cas, le réservoir doit être démonté, puis les joints doivent être nettoyés et séchés, et seulement après cela, un joint du même type doit être installé. De la colle silicone peut être utilisée pour garantir l'étanchéité (appliquée sur les joints et le joint).
  • Au point d'approvisionnement en eau.Fermez l'eau, puis retirez le tuyau, enroulez le fil autour du fil et tournez la connexion.
  • Les endroits où les boulons de montage sont installés laissent passer l'eau, la raison en est une mauvaise installation ou les joints en caoutchouc se sont asséchés. Pour éliminer la fuite, il faut dévisser et enlever les fixations (le réservoir ne peut pas être démonté) et changer les joints (nous recommandons d'installer des joints coniques).

De la condensation se forme sur le réservoir

Il y a deux raisons à une telle manifestation visuelle des lois de la physique :

  1. Humidité ambiante élevée. Éliminé en installant une ventilation forcée.
  2. Un dysfonctionnement lié au débit constant d'eau froide dans le réservoir (l'eau fuit dans la cuvette des toilettes). Il suffit d'éliminer le dysfonctionnement et le condensat cessera de s'accumuler.

Comment nettoyer une cuvette de WC rouillée ?

L'accumulation de saleté et de rouille est l'une des raisons de la défaillance du mécanisme de vidange, un entretien régulier est donc nécessaire. Pour ce faire, il est nécessaire de vidanger complètement l'eau et de traiter la surface intérieure avec des produits spéciaux, tels que Domestos ou Sanfor, puis de rincer plusieurs fois le réservoir à l'eau.

Il existe un autre moyen de nettoyer la rouille: le Sanoxgel est versé dans l'eau du réservoir des toilettes, après quoi environ un demi-litre d'essence de vinaigre est ajouté. Laissez ce mélange pendant quelques heures, après quoi vous devez puiser et évacuer l'eau plusieurs fois.

Types de raccords pour réservoirs de chasse d'eau

Le principe de fonctionnement d'un réservoir conventionnel n'est pas compliqué: il comporte un trou par lequel l'eau entre et un endroit où l'eau est évacuée dans les toilettes. Le premier est fermé par une vanne spéciale, le second - par un amortisseur.Lorsque vous appuyez sur le levier ou le bouton, le registre monte et l'eau, en tout ou en partie, pénètre dans les toilettes, puis dans les égouts.

Lire aussi :  Types et installation d'un câble chauffant pour la plomberie à l'intérieur d'un tuyau

Après cela, le registre revient à sa place et ferme le point de vidange. Immédiatement après cela, le mécanisme de la vanne de vidange est activé, ce qui ouvre le trou pour que l'eau puisse entrer. Le réservoir est rempli jusqu'à un certain niveau, après quoi l'entrée est bloquée. L'alimentation et l'arrêt de l'eau sont régulés par une vanne spéciale.

Un raccord de réservoir est un dispositif mécanique simple qui aspire l'eau dans un récipient sanitaire et la vide lorsqu'un levier ou un bouton est enfoncé.

Il existe des conceptions séparées et combinées de raccords qui collectent le volume d'eau nécessaire au rinçage et l'évacuent après l'activation du dispositif de rinçage.

Options séparées et combinées

La version séparée est utilisée depuis de nombreuses décennies. Il est considéré comme moins cher et plus facile à réparer et à installer. Avec cette conception, la vanne de remplissage et l'amortisseur sont installés séparément, ils ne sont pas connectés l'un à l'autre.

La vanne d'arrêt du réservoir est conçue de manière à pouvoir être facilement installée, démontée ou modifiée en hauteur.

Pour contrôler l'entrée et la sortie d'eau, un capteur à flotteur est utilisé, dans le rôle duquel même un morceau de mousse ordinaire est parfois utilisé. En plus d'un amortisseur mécanique, une vanne d'air peut être utilisée pour le trou de vidange.

Une corde ou une chaîne peut être utilisée comme levier pour soulever le registre ou ouvrir la vanne. Il s'agit d'une option typique pour les modèles de style rétro, lorsque le réservoir est placé assez haut.

Dans les modèles de toilettes compactes, le contrôle s'effectue le plus souvent à l'aide d'un bouton sur lequel il faut appuyer. Pour ceux qui ont des besoins spéciaux, une pédale peut être installée, mais c'est une option rare.

Ces dernières années, les modèles à double bouton ont été très populaires, ce qui vous permet de vider le réservoir non seulement complètement, mais aussi à moitié, afin d'économiser une partie de l'eau.

La version séparée des raccords est pratique dans la mesure où vous pouvez réparer et régler séparément les différentes parties du système.

Les raccords de type combiné sont utilisés dans la plomberie haut de gamme, ici le drain et l'entrée d'eau sont connectés dans un système commun. Cette option est considérée comme plus fiable, pratique et coûteuse. Si ce mécanisme se brise, le système devra être complètement démonté pour être réparé. La configuration peut également être un peu délicate.

Les raccords pour le réservoir de toilette avec alimentation en eau latérale et inférieure sont de conception différente, mais les principes de mise en place et de réparation sont très similaires

Matériaux pour la fabrication d'appareils

Le plus souvent, les accessoires de toilettes sont en matériaux polymères. Habituellement, plus un tel système est cher, plus il est fiable, mais cette méthode ne donne pas de garanties claires. Il existe des contrefaçons de marques bien connues et des produits nationaux assez fiables et peu coûteux. Un acheteur ordinaire ne peut qu'essayer de trouver un bon vendeur et espérer avoir de la chance.

Les raccords en alliages de bronze et de laiton sont considérés comme beaucoup plus fiables et il est beaucoup plus difficile de simuler de tels dispositifs. Mais le coût de ces mécanismes sera bien supérieur à celui des produits en plastique.

Le remplissage en métal est généralement utilisé dans la plomberie haut de gamme.Avec une configuration et une installation appropriées, un tel mécanisme fonctionne sans problème pendant de nombreuses années.

Dans les toilettes à alimentation par le bas, l'entrée et la vanne d'arrêt sont très proches. Lors du réglage de la vanne, assurez-vous que les pièces mobiles ne se touchent pas.

Lieu d'approvisionnement en eau

Un point important est l'endroit où l'eau entre dans les toilettes. Il peut être effectué par le côté ou par le bas. Lorsque l'eau est versée par le trou latéral, cela produit un certain bruit, ce qui n'est pas toujours agréable pour les autres.

Si l'eau vient d'en bas, cela se passe presque silencieusement. L'alimentation en eau inférieure du réservoir est plus typique des nouveaux modèles commercialisés à l'étranger.

Mais les citernes traditionnelles de production domestique ont généralement une alimentation en eau latérale. L'avantage de cette option est le coût relativement faible. L'installation est également différente. Les éléments de l'alimentation en eau inférieure peuvent être installés dans le réservoir avant même son installation. Mais l'alimentation latérale n'est montée qu'après l'installation du réservoir sur la cuvette des toilettes.

Pour remplacer les raccords, ils sont sélectionnés en tenant compte de la possibilité d'alimenter en eau le réservoir sanitaire, il peut être latéral ou inférieur

Classification

Les mécanismes d'admission peuvent être divisés en groupes selon trois critères :

  • composition du matériau,
  • emplacement,
  • type de construction.

Par matière

  • Laiton ou bronze. Les produits fabriqués à partir de ces alliages sont pratiques, durables, fiables et totalement résistants à la corrosion. Mais de telles vannes métalliques ont un coût assez élevé.
  • Plastique. Les produits en plastique sont très populaires, car avec une longue durée de vie, ils sont assez peu coûteux.

Dispositif de chasse d'eau : comment fonctionne la structure du drain et en quoi consiste-t-elle ?

Par emplacement

  • Avec ligne de fond. Les vannes avec cette connexion sont situées au fond du réservoir.Avec cette méthode, la prise d'eau est totalement silencieuse. De plus, l'emplacement inférieur vous permet de cacher le tuyau d'arrivée et de libérer l'espace de la salle de toilette des raccords inutiles.
  • Avec connexion latérale. Les vannes avec cette connexion sont situées, respectivement, sur le côté droit ou gauche du réservoir. Cette conception est la plus simple, ce qui a un effet positif sur sa durée de vie.

Il est nécessaire de choisir les unités d'admission en fonction de la conception de la cuvette des toilettes. De plus, lors du choix, vous devez respecter les règles suivantes :

  • L'ensemble complet de marchandises doit inclure la vanne elle-même, le flotteur, les joints toriques et l'écrou de fixation.
  • Les joints toriques doivent être élastiques, de forme correcte et sans défauts.
  • L'élément en plastique ne doit pas présenter de rayures ni d'entailles visibles.
  • Le mouvement du flotteur doit être fluide, sans sauts brusques.

Par type de construction

Une fois que les vannes étaient des vannes à bille, le dispositif avait la forme d'une bille, qui était utilisée dans tous les réservoirs. L'appareil moderne s'appelle une entrée, car il n'a aucune ressemblance avec la conception des mécanismes à bille, mais est utilisé avec un flotteur. Il existe plusieurs types de dispositifs à flotteur pour le réservoir de toilette :

  • Les vannes Croydon se composent d'une coque, d'un flotteur avec un levier et d'un piston avec un siège. Dans ce mécanisme, le mouvement du levier est perpendiculaire au fonctionnement du piston. Un tel système est utilisé dans les anciens réservoirs et a un prix assez bas.
  • Les pistons sont équipés d'un goujon fourchu avec un axe de levier. Ici, l'eau est ajustée en soulevant horizontalement le levier qui entraîne le piston, au bout duquel se trouve un joint spécial qui entre en contact avec le siège et bloque l'écoulement du fluide.Il s'agit d'un modèle assez courant et est inclus dans la catégorie des prix moyens.
  • Les vannes à membrane ont une membrane en caoutchouc ou en silicone au lieu d'un joint, qui est déplacée par le mouvement du piston. Il s'agit du dernier appareil utilisé uniquement dans les derniers modèles de cuvettes de toilettes. Les avantages de cette vanne sont une arrivée d'eau rapide, une fermeture instantanée de l'arrivée de liquide et, selon la qualité des raccords, un remplissage silencieux de la cuve. Parmi les lacunes, il convient de prendre en compte la présence d'une pression d'eau constante dans le système (0,05-0,1 MPa) et la pureté du liquide, car si la membrane est endommagée, il est impossible de la remplacer par elle-même. Dans ce cas, vous devrez acheter l'ensemble du mécanisme d'admission.

Dispositif de chasse d'eau : comment fonctionne la structure du drain et en quoi consiste-t-elle ?

Composants des raccords de vidange

Connaissant le fonctionnement du réservoir de la chasse d'eau, il sera très facile de le réparer ou de remplacer les pièces défectueuses. Il va sans dire que la conception des différents modèles peut varier, mais les éléments fondamentaux et le principe de leur fonctionnement sont les mêmes pour tous les types de vannes.

Mécanisme de remplissage

Comme mentionné ci-dessus, la tâche du mécanisme de remplissage est de s'assurer que l'eau pénètre dans le réservoir et le ferme, au moment où cela est nécessaire. Ce mécanisme se compose des éléments suivants :

Vanne d'arrêt Il est situé dans un logement situé à "l'entrée" de la cuve. Le robinet du réservoir des toilettes a pour tâche de couper l'eau.
Flotteur à levier La tâche de la pièce est contenue dans la régulation de la position de la vanne. Lorsque le flotteur descend, la vanne s'ouvre. Au moment où le flotteur est en haut, la vanne ferme complètement l'eau.

Il faut dire que les vannes modernes ont un aspect un peu différent, en particulier, le flotteur ne se déplace que dans un plan vertical et la vanne elle-même est située en dessous et non sur le côté. Mais, le principe de fonctionnement du mécanisme est resté le même.

Lire aussi :  Meuble avec lavabo: lequel choisir + comment l'installer correctement

Un tel dispositif de la cuvette des toilettes permettait d'assurer non pas un arrêt progressif de l'eau, mais un arrêt complet à la toute fin de l'ensemble. C'est pourquoi la capacité est recrutée beaucoup plus rapidement.

Mécanisme de vidange et de trop-plein

Le mécanisme de vidange le plus simple et le premier était un système de poire. Elle a travaillé de manière extrêmement simple - une poire en caoutchouc y a été placée, bloquant hermétiquement le trou de vidange. Cela valait la peine de soulever le levier ou de tirer la poignée de la chaîne, car l'eau se précipitait dans les toilettes avec bruit.

Actuellement, le dispositif du réservoir de toilette a changé. Cette unité de renfort se compose de deux éléments principaux :

débordement Empêche le remplissage excessif du récipient. Si le niveau d'eau atteint le niveau maximum autorisé, l'eau commence à s'écouler dans les toilettes.
Prune Commence à fonctionner en appuyant sur le bouton situé sur le couvercle d'un réservoir. Dans les modèles de toilettes modernes, il y a deux boutons - pour une vidange partielle et complète, ce qui vous permet d'économiser de l'eau.

Malgré la conception plus complexe, le principe de fonctionnement du drain reste le même - le trou de vidange ferme hermétiquement la vanne de vidange, qui monte lorsque le bouton est enfoncé.

être dirigé pour souligner que, selon le type de placement, il existe deux types de réservoirs:

Suspendu - dans ce cas, le conteneur avec les toilettes est relié à l'aide d'un tuyau à travers lequel l'eau s'écoule.

  • Monté sur l'étagère des toilettes - dans ce cas, le trou de vidange du récipient est directement aligné avec le trou de la cuvette des toilettes. Pour l'étanchéité de la connexion des tuyaux, le mastic en caoutchouc est utilisé.
  • Monté dans le mur - contrairement aux deux options décrites ci-dessus, un tel conteneur est installé dans le mur. Selon le principe de connexion avec les toilettes, la conception ressemble à des conteneurs suspendus.

Maintenant que vous savez comment fonctionne le réservoir des toilettes, vous pouvez déterminer indépendamment la cause du dysfonctionnement de l'appareil et réparez-le vous-même.

Dommages non liés aux barres d'armature

Il est important de savoir comment réparer le réservoir ou la toilette elle-même s'il y a des fissures dans le corps. Une fuite d'eau peut provoquer une inondation, donc si vous trouvez un problème, vous devez agir immédiatement.

La colle pour céramique aidera à fermer la fissure, mais dans un proche avenir, la plomberie devra être remplacée.

Une fuite peut également se produire si :

  • Les écrous des boulons avec lesquels le réservoir est fixé à la cuvette des toilettes se sont desserrés. Les fixations doivent être soigneusement serrées avec une clé. S'il est nécessaire de remplacer les joints, le réservoir devra être démonté et réinstallé.
  • La manchette de liaison entre le réservoir et la tablette des toilettes est déformée ou endommagée. Il doit être remplacé, mais à titre temporaire, les espaces qui en résultent peuvent être scellés avec du mastic à la silicone.

Comment fermer rapidement une fissure dans le réservoir

Mesures préventives

Pour éviter les problèmes liés aux fuites, avec une consommation excessive d'eau s'écoulant constamment dans la cuvette des toilettes depuis le réservoir, il est important de connaître la conception du réservoir de chasse, pour pouvoir régler et réparer les mécanismes. Recommandé systématiquement :

Recommandé systématiquement :

  • vérifier l'état de la tuyauterie flexible, nœud de raccordement ;
  • inspectez les raccords à l'intérieur du réservoir, nettoyez-le des dépôts de calcaire et autres contaminants;
  • vérifiez le serrage du collier de raccordement et des attaches boulonnées avec une serviette en papier;
  • inspecter le réservoir et les toilettes pour les fissures.

Des mesures préventives vous permettent de prolonger la durée de vie des mécanismes.

En bref sur les principaux

La cause de la rupture du réservoir de chasse d'eau est généralement des raccords usés ou endommagés, un mauvais réglage, une déformation et une contamination des joints ou du robinet de vidange. En sachant réparer un réservoir de vidange, vous pouvez réparer ou régler le mécanisme d'alimentation en eau, rétablir la fonctionnalité du dispositif de vidange, remplacer complètement les raccords ou remplacer les éléments endommagés, y compris les joints.

Possibilités de réglage et de réparation

Lors du fonctionnement de la cuvette des toilettes, divers problèmes mineurs surviennent de temps à autre. Vous ne devez pas courir immédiatement au magasin et acheter un nouveau remplissage dans le réservoir, car certains problèmes peuvent être résolus en moins d'une demi-heure. En même temps, il n'est pas nécessaire d'inviter un spécialiste et de lui verser de l'argent, mais il suffit d'essayer de le faire vous-même.

Comment régler le niveau d'eau dans le réservoir

Dans les appareils avec alimentation en eau par le bas, il est toujours préférable de régler le niveau d'eau après l'installation des toilettes, car ils sont tous réglés en usine au niveau maximum, ce qui peut être redondant et peu économique. Pour régler le niveau dans le bac de vidange, il suffit :

  • Videz le réservoir d'eau et coupez l'alimentation en eau.
  • Dévissez le bouton.
  • Retirer le couvercle.
  • Réglez la hauteur du flotteur à l'aide d'une vis spéciale située en haut du mécanisme du flotteur.

  • Fermez le réservoir avec un couvercle et installez le bouton.

Il y a des cas où, après l'installation des toilettes, de l'eau coule constamment du réservoir. Cela indique que le niveau d'eau dans le réservoir est suffisamment élevé et que l'eau s'écoule par le système de trop-plein. Dans ce cas, il est nécessaire de réduire le niveau d'eau en abaissant le flotteur selon la technologie décrite ci-dessus.

Si le mécanisme du flotteur consiste en un levier incurvé, le niveau d'eau est ajusté en pliant ce levier, ce qui est encore plus facile

Il est important de comprendre que plus le flotteur dans le réservoir est bas, moins il faudra d'eau.

Dispositif de chasse d'eau : comment fonctionne la structure du drain et en quoi consiste-t-elle ?

Fuite du réservoir des toilettes

Des fuites d'eau dans les toilettes sont possibles même si le niveau d'eau est normal, mais il faudra alors chercher d'autres raisons. L'eau peut fuir si :

  • La gomme d'étanchéité du robinet de vidange s'est envasée, il faudra donc la nettoyer. Pour cela vous devrez :
    • Fermez l'alimentation en eau et videz le réservoir.
    • Retirez le mécanisme de libération d'eau.
    • Retirez la soupape de purge et inspectez soigneusement le joint. Si nécessaire, il est nettoyé ou poli avec une toile émeri fine.
    • Réinstallez le mécanisme dans le réservoir de vidange, ouvrez l'eau et testez l'appareil. Si cela ne vous aide pas, vous devrez remplacer le joint.

Le mécanisme d'échappement a été démoli pendant le fonctionnement. C'est facile à vérifier, il suffit d'appuyer sur le mécanisme avec la main. Si l'eau cesse de couler, c'est comme ça. Dans ce cas, vous pouvez alourdir le verre en ajoutant du poids au fond du verre.
Ajouter du poids

Dans tous les cas, vous devrez démonter le mécanisme, puis le remonter et le vérifier. Si ces petites astuces ne vous aident pas, il est préférable d'acheter un nouveau mécanisme de vidange et de remplacer l'ancien par celui-ci. En fait, c'est la meilleure option.

Le réservoir ne puise pas d'eau

Il existe également un problème tel que l'eau n'est pas du tout aspirée dans le réservoir ou est aspirée, mais plutôt lentement. Si la pression de l'eau normal, alors la raison est évidente - le filtre, le tube ou la valve est bouché. Le moyen de sortir de cette situation est assez simple et se résume à nettoyer le filtre, le tube ou la vanne d'admission. Pour ce faire, vous devrez retirer complètement le mécanisme d'alimentation en eau, puis tout récupérer tel quel.

Comment le faire correctement, vous pouvez le voir dans la vidéo.

Quel est le résultat

Comme vous pouvez le voir, dans l'appareil d'une voiture moderne, des exigences accrues sont posées pour le système de refroidissement du moteur et son bon fonctionnement. Pour cette raison, un réservoir spécial est également utilisé dans la conception pour un fonctionnement efficace.

Vous devez également savoir si le vase d'expansion spécifié du système de refroidissement du moteur est impliqué dans le circuit, qu'il est hautement souhaitable de remplir le système uniquement avec de l'antigel ou de l'antigel, et non avec de l'eau.

Comme pour les pannes, si la pression monte dans le circuit de refroidissement ou si des poches d'air se forment, une attention particulière doit être portée au couvercle du vase d'expansion. ), le moteur peut surchauffer, etc. La violation des soupapes dans le couvercle entraîne souvent le fait que les tuyaux sont endommagés, le thermostat tombe en panne plus rapidement, la pompe du système de refroidissement (pompe) souffre, le moteur peut surchauffer, etc.

La violation des soupapes dans le couvercle entraîne souvent le fait que les tuyaux sont endommagés, le thermostat tombe en panne plus rapidement, la pompe du système de refroidissement (pompe) souffre, le moteur peut surchauffer, etc.

Évaluation
Site sur la plomberie

Nous vous conseillons de lire

Où remplir la poudre dans la machine à laver et combien de poudre verser