- Conception et caractéristiques
- Principaux composants de l'appareil
- 4 Comment un anémostat est installé
- Variétés
- Diffuseurs de sol
- Types de diffuseurs
- Lieu d'utilisation
- matériaux
- Emplacement
- Anémostat : qu'est-ce que c'est ?
- But du produit
- Classement des anémostats métalliques fiables
- ÉVENTS AM 150 VRF N
- Airone DVS-100
- EUROPLAST DM 100mm
- Era Anémostat universel détachable
- Classification : types et différences
- Par objectif (sens du flux d'air)
- Modèles d'alimentation et d'échappement
- Par matière
- Par appareil (conception de trou)
- Par lieu d'installation
- Modèles et prix approximatifs
- Installation d'anémostat à faire soi-même
- Installation cachée
- Autres méthodes d'installation
- Conseils des maîtres
- Diffuseur de plafond : installation
- Si la forme et les dimensions des diffuseurs plafonniers et des tuyaux de ventilation correspondent
- Utilisation d'adaptateurs
Conception et caractéristiques
Conception anémostatique
Alors, un anémostat - qu'est-ce que c'est en termes de design ? Ces séparateurs d'air sont ronds, blancs ou argentés. Le diamètre des produits varie de 10 à 13 cm.Une caractéristique distinctive des appareils est leur forme compacte, l'utilisation de matériaux légers - acier galvanisé, plastique, alliages d'aluminium.
Principaux composants de l'appareil
L'unité réglable se compose de plusieurs composants et éléments fonctionnels :
- Un étui de protection qui remplit non seulement un rôle fonctionnel, mais aussi un rôle décoratif.
- Accouplement de montage.
- Luminaire suspendu.
- Cloisons réglables décoratives (ont la forme de brides).
- Une valve avec laquelle vous pouvez régler la direction de l'air.
- Embout.
Conception interne de l'anémostat
Les extrémités de sortie du produit sont constituées d'un cadre en métal ou en plastique et de lamelles disposées horizontalement. Cette conception est considérée comme optimale en termes d'apport d'oxygène du système de ventilation à la pièce. Une vis de centrage est utilisée pour installer ou démonter le cadre. Les tuyaux sont fixés à l'aide d'armoires de raccordement avec une forme arrondie du col horizontal.
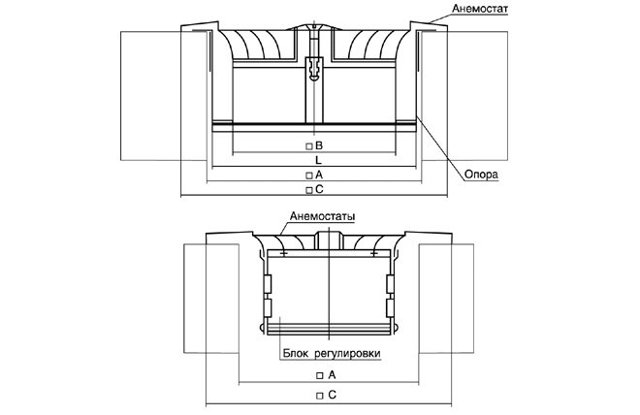
4 Comment un anémostat est installé
Il n'y a rien de compliqué à installer un dispositif de contrôle. L'installation peut être effectuée à la fois dans un mur de briques et dans une structure en plaques de plâtre. Les spécialistes préfèrent travailler avec un conduit flexible relié au système de ventilation et recouvert d'un matériau décoratif, une cloison sèche.

Il est optimal d'effectuer des activités dans le processus de construction d'une maison ou de réparation d'un appartement, lorsqu'il y a un accès libre et complet à la structure en plaques de plâtre. L'ensemble des travaux se déroule en 7 étapes :
- 1. Un système de conduits flexibles est posé dans la direction allant du conduit principal à la zone sélectionnée au plafond ou au mur.
- 2. Un trou rond est fait, dont le diamètre correspond au conduit. À quoi sert une buse spéciale, si elle n'est pas là, vous pouvez utiliser une scie sauteuse.
-
3. Un modèle d'anémostat approprié est sélectionné.
- 4. La structure tubulaire de l'appareil est montée dans le trou.
- 5.La partie extérieure du cercle est fixée avec des vis autotaraudeuses et scellée avec du ruban de menuiserie jusqu'à ce que les travaux de réparation soient terminés.
- 6. Une structure de support est placée dans le corps de l'unité (elle comporte une vis avec une plaque dessus). Il se connecte à un panneau décoratif rond et s'insère dans les rainures à l'intérieur du tuyau.
- 7. Une plaque est vissée à l'installation du support.

La vis de réglage ajuste la quantité de flux d'air entrant dans la pièce (en tournant la vis dans le sens des aiguilles d'une montre et dans le sens inverse des aiguilles d'une montre).
Variétés
Il existe un grand nombre de diffuseurs sur le marché de la construction moderne. Ils sont composés de deux matériaux : plastique et métal (acier ou aluminium). Les produits métalliques sont recouverts de peinture de différentes couleurs et coûtent généralement un ordre de grandeur plus cher que les modèles en plastique. Il est très rare de trouver des diffuseurs en bois à la vente, ils sont généralement fabriqués sur commande. Les modèles en bois s'intégreront parfaitement à l'intérieur d'une maison de campagne, ainsi que des saunas et des bains.
Les diffuseurs sont classés selon :
- forme - ronde, rectangulaire et carrée;
- but - plafond, sol, mur;
- principe de fonctionnement - déplacement ou mélange;
- appareil - externe et interne.
Il est également d'usage de distinguer les diffuseurs par la taille et la forme des trous de ventilation.
Fente. A généralement une forme rectangulaire avec des trous longs et étroits. Les lamelles peuvent être placées directement ou en biais, ce qui vous permet de régler le flux d'air, en le dirigeant droit ou dans une certaine direction. Les lamelles sont ajustées indépendamment, certains diffuseurs à fentes ont la possibilité d'ajuster chaque lame individuellement. Il est utilisé à la fois pour fournir de l'air frais et pour éliminer l'air vicié.Les modèles à fentes peuvent être installés à la fois au mur et au plafond de la pièce.
- En forme de disque. Ce sont des diffuseurs ronds. Ils sont un cadre avec un cercle fixé autour. L'alimentation en air est effectuée en raison de l'écart entre le cadre et le cercle.
- Vortex. Équipé de pales qui tournent comme un ventilateur et mélangent parfaitement les masses d'air. L'air, traversant le diffuseur vortex, se tord en spirale et la vitesse de son mouvement augmente considérablement. S'établissent dans les pièces, où le renouvellement rapide de l'air est nécessaire (par exemple, la salle de bain ou la toilette). Afin d'éviter les courants d'air, tous les modèles vortex sont équipés d'une chambre de pression statique
- Ventilateur. Représenté par tout un complexe de diffuseurs, qui sont combinés en un seul système.
Les diffuseurs à basse vitesse se distinguent. Ils fonctionnent sur le principe de l'expulsion de l'air ancien de la pièce. L'air propre entre à faible vitesse, ce qui signifie que le risque de courants d'air est minime. De plus, la température de l'air frais ne diffère que de quelques degrés, ce qui fait de ces diffuseurs l'un des plus confortables. Ils peuvent être à la fois muraux et au sol, ainsi qu'encastrables. Largement utilisé dans les musées, les complexes sportifs, les salles de concert, les cinémas. Très souvent monté dans des volées d'escaliers et de marches.
Les diffuseurs de plafond sont le modèle le plus populaire, largement utilisé dans diverses conditions, y compris industrielles. Les répartiteurs de masse d'air au sol sont généralement utilisés en combinaison avec des radiateurs ou des systèmes de chauffage complets montés au sol.
Les modèles muraux sont très rarement utilisés, car des grilles de ventilation ordinaires sont généralement installées sur ces plans.
Diffuseurs de sol
Les grilles de ventilation au sol méritent une attention particulière. Ils sont installés dans des endroits où ils sont le moins soumis à des contraintes mécaniques et sont également fabriqués exclusivement en métal. Il est interdit de placer des diffuseurs de sol directement sous le poste de travail. Le dispositif de ventilation doit être situé à au moins 40 cm de celui-ci. L'alimentation en air est effectuée en raison d'une pression statique excessive, qui se forme dans l'espace souterrain ou dans une chambre spécialement conçue à cet effet. Les avantages de ce type comprennent : un niveau de bruit extrêmement faible, une répartition uniforme de la température dans toute la zone desservie. Le plus souvent, ce type de diffuseur est utilisé pour la ventilation des locaux dans les théâtres, les auditoriums, les salles de concert, etc.
Types de diffuseurs
Dans un magasin ou une entreprise vendant du matériel de ventilation, un grand nombre de diffuseurs d'aspect et de matériaux différents vous seront proposés. Il est plus ou moins facile de choisir les matériaux - choisissez ce que vous préférez ou ce qui convient le mieux aux conditions de fonctionnement. Si les conduits de ventilation sont en métal, il est logique (mais pas nécessaire) d'utiliser des grilles métalliques. Ils sont galvanisés, en acier inoxydable, il y a de l'acier ordinaire, mais peints avec de la peinture en poudre.
Si les conduits de ventilation sont constitués de tuyaux en plastique, ils s'adaptent mieux aux diffuseurs en plastique. Ici, semble-t-il, tout est clair. Avec le reste des paramètres un peu plus compliqués, découvrons-le.

Ce sont tous des diffuseurs.
Lieu d'utilisation
Selon leur objectif, les diffuseurs sont divisés en:
- la fourniture;
- échappement;
- universel (alimentation et échappement);
- combiné.
Les noms parlent d'eux-mêmes : ils sont utilisés dans différentes parties du système de ventilation. L'alimentation et l'évacuation diffèrent par la direction et la position des lamelles et des cloisons. Il n'y a pas trop de différence, juste certains fonctionnent mieux pour la sortie d'air, d'autres pour l'entrée. En principe, vous pouvez mettre l'air soufflé sur la hotte ou vice versa. La catastrophe ne se produira pas, mais les performances du système de ventilation pourraient légèrement baisser. Dans les maisons et appartements privés, la différence, due à une faible productivité, ne peut pas être remarquée. Des changements tangibles ne peuvent être apportés qu'en ventilation haute performance.
Les diffuseurs universels laissent passer l'air dans les deux sens de manière égale. Vous pouvez donc les installer sans hésitation. Mais, comme d'habitude, les "break" fonctionnent un peu moins bien que les modèles spécialement conçus.

Voici comment fonctionne un diffuseur à soufflage réglable - il modifie la direction et la forme du flux d'air
Des explications ne sont nécessaires que, peut-être, avec des modèles combinés. Ils diffèrent en ce qu'une partie de l'appareil fonctionne pour l'afflux, une partie pour l'écoulement. En conséquence, ils sont connectés à différentes parties du système de ventilation. Autrement dit, vous ne pouvez installer qu'un seul diffuseur universel au plafond et vous devrez le connecter à deux branches - alimentation et évacuation. La méthode de connexion est décrite dans chaque modèle spécifique, en général cela n'a aucun sens d'en parler.
matériaux
Les diffuseurs sont fabriqués à partir de :
- plastiques;
- aluminium;
- acier (naturel ou inoxydable).
Dans les maisons et appartements privés, le plastique est le plus souvent utilisé. Pour cette situation, c'est la meilleure option. À un prix relativement bas, ils ont d'excellentes performances, une longue durée de vie, un entretien facile et ne sont pas sujets à la corrosion.Ils s'adaptent parfaitement aux conduits d'air en plastique, qui sont de plus en plus utilisés dans les maisons privées.

Le diffuseur de plafond peut être en plastique, en métal, avec des éléments en bois
Les diffuseurs métalliques sont utilisés dans les locaux industriels où seuls des matériaux incombustibles peuvent être utilisés. Ils coûtent beaucoup plus cher, pèsent plus, ce qui complique l'installation.
Il existe également des diffuseurs dont la partie extérieure (grille) est en bois. De tels appareils s'intégreront idéalement à l'intérieur d'une maison en bois.
Emplacement
Par emplacement, les diffuseurs sont :
- plafond;
- mur;
- sol.

Selon la méthode d'installation, les diffuseurs sont au plafond (la plupart), au mur et au sol
Le plus souvent, vous pouvez voir un diffuseur de plafond. Ils sont utilisés dans 95% des systèmes de ventilation, à la fois dans les systèmes d'alimentation et d'évacuation. Principalement parce que l'air est mélangé dans la partie supérieure de la pièce, sans causer beaucoup d'inconfort à une personne. Et aussi parce qu'avec le dispositif des faux plafonds, il est plus facile de réaliser un système de ventilation, s'il n'existait tout simplement pas auparavant. Le plus souvent, les appareils sont fixés au plafond principal et un trou est découpé dans le plafond tendu / suspendu, qui est recouvert par la grille.
Parfois, la ventilation forcée se fait par le sous-sol. Installez ensuite des diffuseurs de sol. Ce phénomène est très rare.
Les diffuseurs muraux sont encore moins utilisés. Il n'y a pas beaucoup de situations. Par exemple, dans les appartements après avoir remplacé les fenêtres par des fenêtres en plastique. Dans ce cas, un apport d'air frais est nécessaire et il ne peut être assuré qu'en faisant un trou dans le mur et en installant un diffuseur. Ou avec un manque d'air frais et une réticence à construire / reconstruire le système d'approvisionnement.
De plus, il parlera des diffuseurs de plafond, car ils sont majoritaires, et tous les autres doivent encore être recherchés - ils sont généralement livrés sur commande.
Anémostat : qu'est-ce que c'est ?
Essentiellement, un anémostat est analogue d'une grille de ventilation réglablefait d'une manière différente.
Une entretoise est insérée à l'intérieur du tuyau, sur laquelle la vis de réglage est maintenue.
Au bout de la vis se trouve une plaque : un bouclier rond qui peut se déplacer perpendiculairement à la surface dans laquelle l'anémostat est intégré. La plaque est mobile (puisqu'elle est montée sur une vis), et peut se déplacer d'avant en arrière le long du tuyau de l'anémostat.

Dispositif anémostat (vue arrière)
Lorsque le bouclier s'étend (c'est-à-dire lorsqu'une personne fait tourner la plaque dans le sens antihoraire), la fente entre celui-ci et les parois du tuyau augmente et l'entrée (ou la sortie) d'air augmente. Lorsque le bouclier se déplace (la plaque tourne dans le sens des aiguilles d'une montre), le trou diminue et la perméabilité à l'air à travers l'anémostat diminue également.
Certains modèles d'alimentation peuvent avoir non pas 1, mais 2 plaques. Dans ce cas, l'un d'eux a un diamètre plus grand et est réalisé sous la forme d'un cercle concave. Le second - a une forme standard (plaque) et est situé à l'intérieur du cercle. Un tel appareil répartira mieux l'air dans toute la pièce, mais cela ne peut pas être qualifié d'avantage trop sérieux.
La principale différence entre anémostat et diffuseur - la capacité de l'anémostat à réguler la quantité d'air qui passe (cela ne peut pas être fait dans les diffuseurs). De plus, les diffuseurs peuvent être à la fois ronds et carrés, tandis que les anémostats n'ont qu'un corps rond.
À l'intérieur, le produit n'attire pratiquement pas l'attention, car il est situé dans les parties supérieures de la pièce.Le plus souvent, c'est le plafond, moins souvent - la partie supérieure du mur. En surface (une fois les travaux d'installation et de finition terminés), cela ressemble à un petit cercle en plastique (ou en métal).

Anémostat au plafond de la chambre
La couleur du produit peut être quelconque. Le plus souvent, des anémostats blancs (ou métalliques) sont proposés en magasin. Si vous le souhaitez, le produit peut être peint dans n'importe quelle couleur pour correspondre à la couleur de l'intérieur.
But du produit
Le produit peut être utilisé dans les systèmes :
-
ventilation;
-
conditionnement;
-
chauffage à air.
L'anémostat peut être utilisé dans des locaux de n'importe quel usage - à la fois dans des installations résidentielles et industrielles, publiques ou sanitaires.
Dans les systèmes mentionnés ci-dessus, l'anémostat remplit les fonctions suivantes:
-
Répartition des flux d'air.
-
Réglage en douceur de la quantité d'air qui passe.
-
Fonction décorative : habillage de l'ouverture du conduit de ventilation.
Le premier point est pertinent dans les systèmes d'alimentation : la forme de la "plaque" contribue au fait que l'air n'est pas dirigé dans une seule direction, en un flux continu. Coulant autour du bouclier (plaque), il se répand le long de la surface. Cela permet un mélange d'air plus uniforme et ne crée pas de forts courants d'air dans la pièce.
C'est intéressant: Ventilation dans la cave, garage - comment faire capote à faire soi-même avec un ou deux tuyaux
Classement des anémostats métalliques fiables
ÉVENTS AM 150 VRF N

Un excellent appareil avec une surface habitable de 0,009 mètre carré. M. Fournit une bonne circulation de l'air à l'intérieur. Le produit peut être installé au plafond, ce qui simplifie le fonctionnement. En raison de la bonne forme, l'air est réparti uniformément dans toute la pièce.Le boîtier est en acier inoxydable durable, ce qui permet de placer l'équipement dans une pièce où il y a peu d'humidité, par exemple dans la cuisine.
Le réglage est fluide et ne prend pas de temps. Pour plus de commodité, la conception comprend un tuyau de dérivation rond de différents diamètres, qui fournit une connexion bonne et durable aux conduits d'air. La fixation s'effectue grâce à des pattes d'écartement et des vis autotaraudeuses.
Le coût moyen est de 950 roubles.
anémostat de ventilation VENTS AM 150 VRF N
Avantages :
- Caractéristiques de résistance ;
- Résistance à la corrosion;
- Distribution uniforme;
- Fournit une circulation de haute qualité;
- Durée de vie élevée.
Défauts:
- Lester;
- Prix.
Airone DVS-100

Un appareil de haute qualité qui contribue à la répartition efficace des masses d'air sur toute la surface. Le produit est facilement monté au plafond ou fixé au mur, tandis que le réglage est fluide et ne prend pas de temps. La forme du produit est universelle, ce qui convient à la plupart des intérieurs. En plus, il y a une peinture spéciale.
Le boîtier est en acier, qui est recouvert d'une poudre protectrice sur le dessus. Cela réduit les risques de corrosion et empêche la détérioration rapide des produits. Pour que l'installation ne prenne pas de temps, le fabricant a équipé l'appareil d'un raccord, qui assure un ajustement serré et sûr au conduit.
Coût moyen : à partir de 270 roubles.
anémostat de ventilation Airone DVS-100
Avantages :
- Ajustement facile;
- Force;
- Faible coût;
- Efficacité;
- Durée de vie élevée ;
- Fiabilité;
- Facile à installer.
Défauts:
EUROPLAST DM 100mm

Anémostat d'échappement, qui se distingue par sa fiabilité et sa durabilité. Il est fabriqué en acier recouvert d'une couche protectrice spéciale, ce qui augmente les caractéristiques de résistance et la fiabilité. Il peut être installé dans les pièces à vivre, ainsi que dans les salles de bain et les sanitaires. Pour plus de praticité, le constructeur a équipé le produit d'un réglage d'airflow. L'installation peut être effectuée sur presque toutes les surfaces.
Le diamètre d'installation est de 100 mm. Vendu en blanc. L'acier ne se détériore pas à la suite d'une utilisation prolongée et peut résister à des changements brusques de température.
anémostat de ventilation EUROPLAST DM 100mm
Avantages :
- Convient à tous les intérieurs ;
- Bas prix;
- Durée de vie élevée ;
- Indicateurs de force ;
- Efficacité.
Défauts:
Era Anémostat universel détachable

Un appareil fiable qui garantit une bonne répartition des masses d'air. L'installation prendra un minimum de temps, car le fabricant a équipé l'appareil de pieds d'espacement de haute qualité. Le produit peut être installé non seulement dans des locaux résidentiels, mais également dans des endroits où il y a de l'air chauffé. Par conséquent, le produit est idéal pour un usage public, industriel et domestique.
La partie extérieure est en acier massif et recouverte d'émail polymère, ce qui augmente la résistance.
Coût moyen : à partir de 320 roubles.
ventilation Era Anemostat universel détachable
Avantages :
- Exécution externe ;
- Application universelle ;
- Petit prix;
- Convient pour une utilisation dans des endroits avec de l'air chauffé ;
- Durabilité;
- Efficacité.
Défauts:
Classification : types et différences
Les produits peuvent différer par un certain nombre de fonctionnalités et de caractéristiques.
Jetons un coup d'œil aux options disponibles ci-dessous.
Par objectif (sens du flux d'air)
Les diffuseurs sont :
-
Fournir.
-
Échappement.
-
Universel.
La différence entre eux réside dans l'angle d'inclinaison des lames.
Il convient de noter que les produits sont principalement utilisés dans les systèmes de ventilation d'alimentation, moins souvent dans les systèmes d'extraction.
Modèles d'alimentation et d'échappement
Séparément, il convient de mentionner les diffuseurs d'alimentation et d'extraction, qui peuvent être installés simultanément pour extraire et fournir la ventilation. Ces modèles sont situés sur les plafonds et ont une forme rectangulaire ou carrée.
Sur les côtés - il y a des fentes dirigées à l'opposé du centre du diffuseur. À travers eux, l'air pénètre dans la pièce.
Au centre - il y a des trous pour évacuer l'air (échappement).
En raison de la direction différente des flux d'air (l'air est aspiré verticalement, au centre et fourni - sur les côtés et dirigé vers les côtés), ils ne se mélangent pas.
Par matière
Le diffuseur de ventilation peut être composé des matériaux suivants :
-
Plastique. Un diffuseur en plastique est moins cher et plus léger.
-
Métal. Les produits métalliques sont généralement en acier ou en aluminium. Pour prolonger la durée de vie et améliorer «l'apparence», la surface des produits est recouverte de peinture. Par rapport au PVC, les modèles en métal sont plus chers.
Par appareil (conception de trou)
Selon le type de trous, le diffuseur arrive :
-
fendu. Il a un cadre rectangulaire dans lequel plusieurs longs trous étroits sont découpés. Dans ce cas, les lamelles peuvent être inclinées (alors l'air sera dirigé dans une certaine direction), ou situées à angle droit par rapport au cadre (alors l'air s'écoulera en un flux droit du diffuseur). Bon pour leur invisibilité - ces produits s'intègrent bien à l'intérieur et n'attirent pas le regard.Pour certains modèles, l'inclinaison des lamelles peut être ajustée, à la fois pour tous les stores à la fois, et pour chacun individuellement.
-
Buse (jet). Fournit de l'air avec un jet continu, grâce auquel il passe plus loin. Il est généralement utilisé dans les plafonds de grands locaux (salles de concert, gymnases, locaux industriels, théâtres, galeries, entrepôts, centres commerciaux). Pour certains produits, l'inclinaison et la direction de la buse peuvent être ajustées.
-
En forme de plat (en fait - le même anémostat). Il a un cadre rond, à une petite distance à partir duquel un cercle plat (ou convexe ou concave) est fixé. L'air passe entre le cercle et le cadre et se répartit le long de la surface (plafond).
-
Vortex. La forme des produits peut être ronde ou carrée. L'emplacement des volets ressemble aux pales d'un ventilateur. Cette conception vous permet de mélanger plus efficacement l'air dans la pièce.
-
Ventilateur. Un produit rond, c'est-à-dire plusieurs diffuseurs de diamètres différents, reliés en un seul.

Diffuseur universel en plastique
La forme du corps (cadre) peut être :
-
Tour.
-
Rectangulaire.
-
Carré.
Par lieu d'installation
Selon l'emplacement du produit, il y a
-
Plafond. Le montage au plafond est l'option la plus courante.
-
Sol. Ils sont généralement utilisés pour chauffer des appareils posés sous le sol.
-
Mur. Ils sont utilisés extrêmement rarement, car les grilles de ventilation ordinaires sont généralement montées sur les murs.

Diffuseur plafonnier à fentes
Modèles et prix approximatifs
Pour référence, voici les prix approximatifs auxquels vous pouvez acheter des produits :
-
Rond, aluminium, alimentation et échappement, diamètre - 10/200 mm : environ 110/220 roubles.
-
Rond, plastique, alimentation et échappement, diamètre - 200 mm : environ 180 roubles.
-
Rond, acier inoxydable, alimentation et échappement, diamètre - 100 mm : 700-800 roubles.
-
Buse, aluminium, diamètre - 100 mm : environ 1500 roubles.
-
Carré, plastique, 150x150 mm : environ 600 roubles.
-
Carré, plastique, 600x600 mm : environ 2200 roubles.
-
Fendue (rectangulaire), plastique, 500x100 mm : environ 1200 roubles.
Fabricants populaires présents sur le marché russe :

-
Arktos (RF).
- Europlast (Lettonie).
- Airone (RF).
-
ère (RF).
- Systemair (Suède).
-
Évents (Ukraine).
-
Vanvent (RF).
Installation d'anémostat à faire soi-même
L'installation des équipements s'effectue le plus souvent dans des systèmes de ventilation dissimulés derrière des plafonds suspendus ou tendus. Si le conduit d'air rigide est amené au sommet du mur, l'installation est effectuée sur le mur. L'efficacité de la distribution d'air ne dépend pas du mode d'installation de l'anémostat.
Installation cachée
Lors de l'installation, il est nécessaire que les éléments structurels de l'anémostat soient situés parallèlement au conduit de ventilation dans lequel il est installé. Il est préférable de le faire lors de la construction d'une maison ou lors d'une révision majeure, afin que l'accès au système de ventilation soit pratique.
Demande de service:
- Depuis le conduit de ventilation (si l'installation n'est pas effectuée directement dans celui-ci), un conduit d'air flexible est réalisé jusqu'au site d'installation de l'anémostat.
- Un trou rond est fait dans le plafond. S'il est en cloison sèche, cela se fait avec une scie sauteuse électrique, s'il est suspendu, un anneau de montage spécial est utilisé.
- Encore une fois, vérifiez que le diamètre d'atterrissage de l'appareil correspond au trou dans lequel il est installé. Connectez ensuite le tube de l'anémostat et le conduit de ventilation.
- La partie extérieure du cercle est fixée avec de la colle ou des vis autotaraudeuses.
- Lors de l'installation d'appareils à commande électrique, posez le fil et montez l'interrupteur.
- La dernière étape est passée une fois tous les travaux de finition terminés. La partie support de l'appareil est placée dans le tuyau et fixée sur un cercle décoratif.
- Installez la plaque et fixez la vis de réglage.
Autres méthodes d'installation
Si l'appareil a des brides de montage spéciales, son installation est effectuée d'une manière différente. Dans ce cas, il suffit d'ancrer les brides de l'anémostat avec le tuyau du conduit d'air et de fixer l'appareil avec des boulons.
Conseils des maîtres
Si l'anémostat sera commandé par l'électricité, une ligne électrique est posée avant la fin des travaux pour l'alimenter en électricité. Lors de l'installation finale de l'appareil, n'oubliez pas de le connecter à l'électricité.
Si l'appareil doit d'abord être fixé sur le conduit, le corps principal est installé. Ensuite, le trou est fermé afin que la poussière générée lors de la réparation n'y arrive pas. Une fois les travaux de finition terminés, une plaque avec un mécanisme de commande et des éléments décoratifs sont montés.
Malgré un appareil relativement simple, un anémostat est un appareil hautement fonctionnel qui améliore le fonctionnement de tout système de ventilation. Quel que soit le type, il permet de réguler facilement et simplement le débit d'air et assure la température et la ventilation requises dans les pièces individuelles. L'appareil aide à éliminer efficacement l'air pollué dans les zones destinées aux fumeurs, ainsi que là où il y a beaucoup de fumée et d'odeurs piquantes.
Diffuseur de plafond : installation
Il existe deux manières de raccorder les diffuseurs aux conduits de ventilation : directement ou par l'intermédiaire d'un adaptateur (plenum).La deuxième option est plus correcte, mais elle nécessite un espace plus grand entre la base et le plafond décoratif.
Si la forme et les dimensions des diffuseurs plafonniers et des tuyaux de ventilation correspondent
Pour connecter le diffuseur plafonnier directement aux tuyaux de ventilation (coudes), un té/séparateur est placé dans le tuyau de ventilation sur le site d'installation. Dans la - troisième - sortie libre et placez l'appareil.
Percer un trou directement dans le tuyau pour son installation est une mauvaise décision. Le corps dépasse du tuyau, entravant la circulation de l'air, les performances du système diminuent, avec le temps, un bouchon anti-poussière se forme toujours, ce qui peut généralement obstruer la lumière. En général, cela devrait être évité.
Il est nécessaire de sélectionner les coudes du tuyau principal afin qu'ils puissent être facilement connectés aux diffuseurs. Il ne sera pas difficile de connecter un diffuseur rond à une sortie ronde du conduit et un diffuseur rectangulaire à un diffuseur rectangulaire.
Il est également important que leurs tailles correspondent. Cette simple vérité doit être rappelée lors de la création d'un système, du choix des tés ou de la réalisation de virages avec les paramètres appropriés.

Si la forme et la taille correspondent, l'installation d'un diffuseur de plafond n'est pas un problème
Des diffuseurs de même taille sont installés dans les conduits de ventilation en les insérant simplement. Les modèles de petite taille et de faible poids peuvent être fixés au boîtier avec un mastic (silicone neutre). C'est ainsi que les modèles à base ronde sont généralement fixés.
Pour plafonds suspendus de différents types (plaque de plâtre, plastique, Armstrong) a développé un système de fixation spécial - Clip in. Il se compose d'entretoises du type de celles que l'on voit sur les plafonniers encastrés.
Des modèles carrés / rectangulaires plus massifs sont fixés aux parois de la boîte avec des vis autotaraudeuses ou suspendus au plafond. La première option est plus simple, mais il vaut mieux ne pas l'utiliser, car la poussière s'accumule sur la vis saillante de la vis autotaraudeuse. À moins que la conception ne prévoie des saillies spéciales pour les fixations. Sinon, avec le temps, à l'endroit où la vis autotaraudeuse dépasse, un bouchon solide se forme qui gêne le passage de l'air.

Un exemple d'utilisation d'un adaptateur - un diffuseur de plafond rond est connecté à un conduit de ventilation rectangulaire
Si la prise est en matériau ondulé ou si l'on souhaite tout faire «correctement», les caisses lourdes sont suspendues au plafond sur des montants ou des cintres.
Utilisation d'adaptateurs
Des adaptateurs ou des plénums permettent d'éviter un phénomène aussi désagréable que les courants d'air. Dans ce réservoir, il y a une redistribution uniforme de l'air, qui circule uniformément sur toute la surface de la grille. Mais ces appareils ont un inconvénient important - ils "volent" la hauteur du plafond. Les modèles de connexion latérale sont plus petits, mais ils occupent toujours suffisamment d'espace.

Types d'adaptateurs pour diffuseurs plafonniers de ventilation
Le plus souvent, une chambre à pression statique est un parallélépipède, au fond duquel est fixé un diffuseur. D'en haut ou sur le côté il y a une sortie pour le raccordement ventkanal. Il peut être de n'importe quelle forme requise : cercle, carré, rectangle, ovale.
Il existe des adaptateurs :
- Avec vanne rotative intégrée. Si le modèle de diffuseur ne prévoit pas de réglage, cela peut être fait à l'aide d'un adaptateur.
- Avec filtre amovible. Ils vous permettent également de purifier l'air entrant.
- Avec diviseur de flux d'air. Il s'agit d'une feuille de métal avec une petite cellule.Monté sur des systèmes de soufflage performants, il permet de répartir uniformément le flux d'air sur toute la surface de la grille. .
Les chambres de pression statique des diffuseurs de ventilation sont le plus souvent en acier galvanisé. Épaisseur de la feuille - 0,5-0,8 mm. Il existe des entreprises qui fabriqueront l'appareil en fonction de vos paramètres. Des adaptateurs standard sont également en vente - pour les solutions standard. Ils peuvent être en acier (galvanisé, inox) ou en plastique.

Les adaptateurs en plastique s'adaptent aux ondulations ou aux conduits d'air en plastique
Si nécessaire, la chambre de pression statique est gainée d'isolant. Cela est nécessaire pour que lorsque la surface chaude de l'adaptateur et l'air froid interagissent, la condensation ne tombe pas dessus.

Une façon d'installer un adaptateur pour un diffuseur de ventilation
Si le diffuseur est connecté via un adaptateur, la tâche principale est de sécuriser cet appareil. S'il s'agit d'un plafond suspendu, vous pouvez monter la caméra sur les profilés. Dans le cas d'un plafond tendu, vous devrez l'accrocher au plafond principal. Les méthodes sont connues : plots ou suspentes perforées.
















































