- Instructions de montage détaillées
- Étape 1 - travaux préparatoires
- Étape 2 - assemblage et connexion des pièces
- Étape 3 - installation du levier et du siphon
- Étape 4 - vérification de l'étanchéité du bouchon
- Classement des soupapes de sécurité
- Mécanisme de soupape d'admission
- Clapets anti-retour pour pompes submersibles
- Procédure d'installation du système de vidange
- Variétés et appareil
- Causes d'actionnement des vannes
- Matériaux, marquages, dimensions
- Ce qui est indiqué sur l'étiquette
- Dimensions des clapets anti-retour pour l'eau
- Comment vérifier
- Classement des vannes
- Quelles sont les options pour les prises ?
- Possibilités de connexion aux stations
- Procédure d'installation du système de vidange
- Conclusions et vidéo utile sur le sujet
Instructions de montage détaillées
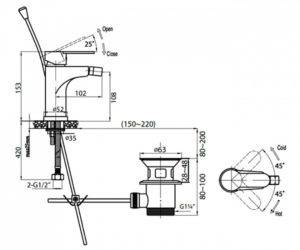
La vanne de fond, qui est incluse avec le mélangeur, est installée par étapes. Pour l'installer, vous aurez besoin des outils les plus simples et du mastic de plomberie, qui est utilisé pour sceller les joints lors de l'installation de la plomberie. Tous les travaux peuvent être effectués indépendamment.
Seul bémol : dans le set standard, tous les outils à arêtes vives pouvant endommager le revêtement de la coque. Il est conseillé de préparer les joints à l'avance et de presser les éléments métalliques à travers eux pour protéger la plomberie.
Étape 1 - travaux préparatoires
Le levier et les tuyaux descendent à travers le trou, sous l'évier.Typiquement, les mélangeurs sont équipés de tubes flexibles. Si le modèle est livré avec des durites rigides, vous devrez les plier vous-même.
Il est important de faire le travail très soigneusement afin de ne pas endommager les parois des tuyaux, sinon ils pourriront rapidement et fuiront. Il est fortement déconseillé de déposer des produits, car
les copeaux peuvent facilement pénétrer dans le mécanisme du robinet. Pendant le fonctionnement, des problèmes surviendront qui entraîneront une abrasion et une usure prématurées des pièces.
Il est hautement indésirable de déposer des produits, car. les copeaux peuvent facilement pénétrer dans le mécanisme du robinet. Pendant le fonctionnement, des problèmes surviendront qui entraîneront une abrasion et une usure prématurées des pièces.
S'il est impossible de se passer de couper des tubes durs, après avoir terminé les travaux, rincez soigneusement tous les éléments structurels avec un puissant jet d'eau courante.

Pour que le mélangeur soit solidement fixé à l'évier, il est mis sur un scellant. Vous devez choisir une composition résistante à l'humidité avec des antiseptiques (sanitaires) pour prévenir l'apparition de champignons et de moisissures
La vanne est fixée avec un écrou de serrage. En cas de doute sur la fiabilité de l'installation, vous pouvez utiliser du mastic comme méthode de fixation supplémentaire.
Étape 2 - assemblage et connexion des pièces
À l'aide d'écrous avec joints en caoutchouc, les tuyaux sont connectés aux tuyaux d'entrée. Vous devez suivre la forme du virage. S'il se présente sous la forme de la lettre U, tout va bien: l'eau passera librement.
Mais le virage en forme de S n'est pas souhaitable. Des obstacles inutiles créeront les conditions d'une augmentation inégale de la pression dans le système, ce qui entraînera des fuites au niveau des joints d'ici un an ou deux.

Tout modèle doit inclure un connecteur en plastique pour les rayons. Lors de l'achat d'une vanne, assurez-vous que la pièce est disponible.Si vous devez l'acheter séparément, il peut être difficile de sélectionner les tailles.
La vanne d'arrêt est placée dans le trou de vidange de l'évier et les aiguilles à tricoter sont assemblées. Ils sont posés en croix à l'aide d'un connecteur en plastique spécial.
La pince elle-même est tordue avec un tournevis. Vous obtenez une conception cruciforme simple mais fiable.
Étape 3 - installation du levier et du siphon
L'aiguille doit être connectée au levier et fixée à l'oreille de l'appareil, comme indiqué sur le schéma ci-dessous.
Après avoir effectué ce travail, vous devez immédiatement vous assurer que lorsque vous montez et descendez, le levier soulève et abaisse facilement le rayon. Il faut parfois ajuster la monture (+)
Il ne reste plus qu'à amener l'ondulation par le bas et fixer le siphon
Il est important que le bouchon ferme hermétiquement le trou de vidange, de sorte qu'ils vérifient immédiatement la qualité de construction du système
Il est nécessaire d'ouvrir le robinet et d'observer le fonctionnement de la plomberie pendant 3 à 5 minutes.
Un évier avec une soupape de fond, mais sans trou de trop-plein, peut être amélioré. Pour cela, il suffit d'acheter et d'installer le bon siphon (+)
Si l'eau passe bien dans les égouts et que les joints restent secs, tout est en ordre. S'il y a des signes de fuite, serrez les écrous.
Si même après cela les joints sont humides, vous devrez démonter complètement le système et refaire le travail, car l'installation n'est clairement pas faite correctement. Le ruban adhésif peut régler la situation, mais pas pour longtemps.
Étape 4 - vérification de l'étanchéité du bouchon
Le travail peut être considéré comme terminé si le siphon ne fuit pas et que la vanne d'arrêt ferme hermétiquement le trou de vidange. Ils le vérifient comme ceci : baissez le bouchon, aspirez le maximum d'eau dans l'évier et laissez-le pendant une demi-heure ou une heure.

Un bouchon qui fuit ne servira à rien.Si l'eau quitte rapidement l'évier dans les égouts, il est préférable de refaire le travail - démonter la vanne et remonter
L'indicateur du bon fonctionnement de l'appareil est un niveau constant. Il vaut mieux ne pas se fier à son propre œil et faire une marque sur l'évier avec un marqueur.
Si après une heure l'eau reste au même niveau, la vanne d'arrêt est parfaitement installée. Des changements mineurs sont une raison pour vérifier l'étanchéité du couvercle au fond de l'évier.
Classement des soupapes de sécurité
Les experts classent les appareils selon divers paramètres.
Selon le principe d'action:
- Direct. Il s'agit d'une soupape de sécurité mécanique classique.
- Indirect. Un capteur de pression, une commande automatique, une vanne télécommandée sont utilisés. Le capteur avec la vanne peut être placé à différents endroits de la structure.
Par méthode d'ouverture de l'obturateur:
- proportionnel (pour les fluides de travail peu compressibles) ;
- à deux étages (pour les gaz).
Selon la méthode de chargement de la bobine :
- le printemps;
- levier-cargaison;
- ressort magnétique.

Il existe d'autres types de soupapes de décharge d'urgence utilisées dans des installations industrielles spéciales.
Mécanisme de soupape d'admission
Le raccord d'entrée dans le réservoir a son propre principe de fonctionnement, qui doit être compris avant de procéder à son remplacement ou à sa réparation. Considérez les phases qui se remplacent dans le processus de déplacement de l'eau vers le réservoir.
Ainsi, la première phase est caractérisée par le fait que la vanne est en position ouverte. A ce moment, l'eau est aspirée dans le réservoir. La membrane, suivant le sens de l'écoulement de l'eau, s'éloigne. Cela signifie que l'eau peut entrer librement dans le réservoir.

Le mécanisme de la vidange dispositifs
Au départ, l'eau ne remplit que le compartiment préliminaire.Pour que l'eau pénètre dans le réservoir lui-même, un trou spécial est prévu dans ce compartiment. Ce processus est très similaire à ce qui se passe dans les appareils équipés de soupapes à tige, mais ici il y a une membrane qui est tendue sur le piston. La membrane a un espace à travers lequel passe une tige en plastique, qui a également un espace de 1 mm de diamètre. De ce fait, une partie de l'eau pénètre dans le compartiment de remplissage. Il est formé par la membrane elle-même et le piston.
Si le flotteur est abaissé, un petit trou s'ouvre dans le piston, d'environ 0,5 mm seulement. À travers elle, une petite partie de l'eau peut pénétrer dans le réservoir. Grâce à ce mécanisme d'action de la vanne à membrane, la même pression est assurée dans le compartiment préliminaire, dans le compartiment de remplissage et derrière celui-ci. C'est la différence entre cette conception et celle avec une valve à tige.
La deuxième phase est lorsque l'eau éclabousse dans le réservoir et soulève en même temps le flotteur. Avec lui, le niveau de la tige avec un joint en caoutchouc augmente. Le joint recouvre le trou. Avec un mouvement supplémentaire de la tige, le piston et le diaphragme seront pressés contre le siège. A partir de là, le compartiment de remplissage est scellé.
Du fait que la pression de l'eau dans le compartiment de remplissage s'ajoute à la pression du flotteur, qui monte, la membrane est étroitement comprimée avec les sièges. Et cela, à son tour, arrête l'alimentation en eau du réservoir.
Rincer les toilettes
La troisième phase est la descente de l'eau. Lorsque l'eau sort du réservoir et éclabousse la cuvette, la pression du flotteur sur la tige s'arrête.Le trou du piston n'est plus obturé par la tige, la pression dans la chambre de remplissage est donc réduite. Il ne reste que du réseau d'alimentation en eau, c'est lui qui agit sur la membrane et sur le piston, en les déplaçant sur le côté. En conséquence, le mécanisme revient à la première phase.
Clapets anti-retour pour pompes submersibles
Pour organiser un approvisionnement en eau ininterrompu dans les maisons privées à l'aide d'une pompe submersible, il est particulièrement important d'installer un clapet anti-retour immédiatement après la pompe. Cela empêchera l'eau de refluer dans le puits lorsque la pompe est éteinte et éliminera le besoin de remplir le système avec de l'eau à chaque fois.

Clapet anti-retour pour pompes submersibles
Avec un puits de grande profondeur, un diamètre de canalisation suffisant et l'éloignement du puits de la maison, on peut parler de dizaines de litres d'eau. Dans de nombreux modèles de pompes submersibles, une telle vanne est installée en usine. S'il n'y en a pas, alors, en règle générale, un dispositif en laiton avec mouvement axial de la bobine et un ressort de rappel est choisi. La lumière de l'obturateur ne doit pas être inférieure au diamètre interne de la canalisation, afin de ne pas créer de résistance supplémentaire à l'écoulement.
Procédure d'installation du système de vidange
Vous pouvez installer vous-même la vanne de fond et vous n'avez pas besoin de compétences particulières en plomberie.
Étant donné que l'installation de la vanne est inextricablement liée à l'installation du mélangeur, la séquence d'actions nécessaire doit être respectée :
Tout d'abord, des tuyaux sont posés reliant le mélangeur et la vanne de fond.
Le robinet est fixé sur l'évier, à des fins d'étanchéité, il est nécessaire d'avoir un joint en caoutchouc de la taille appropriée (vient généralement avec un robinet).
Ensuite, vous devez vérifier l'identité des diamètres des tuyaux et des tuyaux au niveau des joints.Si nécessaire, des connexions ennuyeuses sont réalisées
Cette procédure doit être effectuée avec soin, des morceaux de métal peuvent pénétrer à l'intérieur du mécanisme de vidange et entraîner sa défaillance prématurée.
Ensuite, les tuyaux et les tuyaux doivent être connectés les uns aux autres, pour cela des écrous spéciaux avec des joints en caoutchouc sont utilisés.
Une valve est insérée dans le trou de vidange, les rayons de montage doivent être fixés parallèlement les uns aux autres.
Enfin, les rayons sont reliés à la valve et au levier.
Il est important de savoir: avant d'utiliser le système installé, vous devez vérifier la fiabilité des tubes qui assurent l'écoulement de l'eau dans les égouts. Lors du choix d'un évier ou d'un bidet, il sera utile d'avoir un système dit "de vidange-débordement"
Lors de l'installation d'une vanne de fond, un tel système est particulièrement nécessaire. Le fait est que lorsque le drain est bouché, le risque d'inonder la salle de bain augmente (ils ont tout simplement oublié de fermer le robinet)
Lors du choix d'un évier ou d'un bidet, il sera utile de disposer d'un système dit de "vidange-débordement". Lors de l'installation d'une vanne de fond, un tel système est particulièrement nécessaire. Le fait est que lorsque le drain est bouché, le risque d'inonder la salle de bain augmente (ils ont tout simplement oublié de fermer le robinet).
Pour éviter les ennuis, il devrait y avoir un trou dans le haut de l'évier où l'excès d'eau entrera. Souvent, un tel trou gâche l'apparence de la plomberie design. Dans ce cas, la présence de gouttières autour du périmètre du lavabo, déguisées avec des bordures décoratives, est prévue.
Après avoir terminé les travaux d'installation et démarré l'eau, vous devez inspecter soigneusement toutes les connexions pour détecter d'éventuelles fuites.Si des fuites sont détectées, elles doivent être éliminées, sinon cela peut entraîner avec le temps des fuites plus graves.
Regardez la vidéo, qui montre clairement comment monter correctement la vanne de fond avec un mitigeur sur le lavabo suspendu de la salle de bain :
Variétés et appareil
Il existe deux principaux types de vannes de fond :
- vanne couplée à un mélangeur, avec un levier de commande ;
- vanne push open system vendue sans mitigeur.
La première variété est la plus populaire. Lors de l'achat d'un mélangeur, une vanne de fond est également incluse avec celui-ci. L'appareil est actionné par un levier spécial, situé directement derrière la base de la grue.
Un certain nombre de fabricants préfèrent placer le levier sur le côté, il n'y a pas de différence fondamentale lors du fonctionnement. Le trou de vidange est bloqué en changeant la position du levier.
Le clapet de pied classique avec un système de commande à levier se compose des pièces suivantes :
- bouchon bloquant le trou de vidange ;
- le levier par lequel la soupape est commandée ;
- une tige pour relier le levier et la soupape;
- raccord fileté pour le montage du siphon ;
- siphonner directement.
Le dispositif du système Push Open est utilisé moins fréquemment, dans ce cas, le processus de blocage du drain est effectué en cliquant sur le couvercle de la valve. Le ressort intégré contrôle la valve, empêchant l'eau de s'écouler.
Remarque : on pense que cette conception est moins hygiénique, car si vous avez besoin de vider l'eau, vous devez mettre votre main dans l'évier avec de l'eau sale. D'autre part, la soupape inférieure à ressort semble plus esthétique en raison du manque d'effet de levier.
D'autre part, la soupape inférieure à ressort semble plus esthétique en raison de l'absence de leviers.
Les vannes de fond pour éviers sont disponibles en plusieurs styles. En général, la gamme de formes et de couleurs est réduite, car la plupart des luminaires sont situés sous l'évier. Seul un capuchon rond en métal reste en vue. La forme du capuchon est due à la conception du trou de vidange, qui, en règle générale, a également la forme d'un cercle.
Dans certains éviers design, des vannes de conception plus originale peuvent être utilisées, cela n'affecte pas la fonctionnalité.
Beaucoup plus souvent, diverses options de revêtement de couleur sont utilisées - de l'argent standard à l'or exquis. Le choix dépend de la conception des couleurs du reste de la plomberie et de l'ensemble de la salle de bain dans son ensemble.
Outre les vannes de fond domestiques, il existe des dispositifs de conception plus complexe - les vannes à selle. Un tel équipement est utilisé pour la production de produits alimentaires et de produits chimiques ménagers et vous permet de contrôler le mouvement des substances dans les pipelines, en les séparant de manière fiable si nécessaire.
Les vannes de ce type sont à simple siège et à double siège. La première option est conçue pour changer la direction du flux de fluide et le bloquer. La deuxième option est utilisée lorsqu'une fiabilité accrue des substances bloquantes est nécessaire (industries chimiques et pharmaceutiques).
Causes d'actionnement des vannes

Un dispositif de protection qui fonctionne bien ne fonctionnera jamais sans raison. Chaque actionnement de la vanne doit être étudié pour déterminer le facteur précipitant. Il peut y en avoir plusieurs. Même s'ils ne sont pas toujours sérieux, tout le monde est sujet à vérification.
- Fonctionnement instable ou défaillance du système de thermorégulation de la chaudière de chauffage.Les opérations sont généralement fréquentes, les déversements d'eau sont nombreux.
- Problèmes de vase d'expansion. Cela peut être le réglage initial. Causes cachées : dysfonctionnement du mamelon, rupture de la membrane. Dans de tels cas, des surpressions soudaines se produisent dans le système, ce qui entraîne des ouvertures de soupape courtes et fréquentes.
- Valeur limite de pression dans le système de chauffage. Le mécanisme de défense fuit un peu. De telles manifestations sont présentes, car la précision du dispositif à ressort est de ± 20%. Pour éviter de telles situations, vous devez configurer le système avec plus de précision et sélectionner l'équipement approprié.
- Usure des soupapes. Après plusieurs déclenchements, les performances du dispositif de protection se dégradent. Par conséquent, il est préférable de le remplacer par un neuf ou de le réparer.
- Échec du printemps. Cela se produit au fil du temps, même s'il n'y a pas de déclencheurs. Parfois, l'affaiblissement apparaît à la suite d'une fuite de liquide de refroidissement autour de la tige. Dans de telles circonstances, la réparation ou le remplacement ne peuvent pas non plus être évités.
Vous pouvez vérifier l'état de fonctionnement de la soupape de protection à l'aide de la poignée rouge. S'il est tourné dans le sens des aiguilles d'une montre, de l'eau doit apparaître sur la valve normale. Le débit s'arrête immédiatement après l'arrêt de la rotation de la poignée. Si cela ne se produit pas, vous devez vous tordre à nouveau. Lorsque cela n'aide pas, le dispositif de protection devra être remplacé.
Matériaux, marquages, dimensions
Le clapet anti-retour pour l'eau est en acier inoxydable, en laiton, en fonte de grandes tailles. Pour les réseaux domestiques, ils prennent généralement du laiton - pas trop cher et durable. L'acier inoxydable est certainement meilleur, mais ce n'est généralement pas le corps qui tombe en panne, mais l'élément de verrouillage. C'est son choix et doit être abordé avec prudence.
Pour les systèmes de plomberie en plastique, les clapets anti-retour sont fabriqués à partir du même matériau. Ils sont en polypropylène, plastique (pour HDPE et PVD). Ce dernier peut être soudé/collé ou fileté. Vous pouvez, bien sûr, souder des adaptateurs sur du laiton, mettre une valve en laiton, puis à nouveau un adaptateur de laiton sur PPR ou plastique. Mais un tel nœud est plus cher. Et plus il y a de points de connexion, plus la fiabilité du système est faible.
Pour les systèmes en plastique et en polypropylène, il existe des clapets anti-retour fabriqués dans le même matériau
Le matériau de l'élément de verrouillage est le laiton, l'acier inoxydable ou le plastique. Ici, soit dit en passant, il est difficile de dire lequel est le meilleur. L'acier et le laiton sont plus résistants, mais si un grain de sable s'interpose entre le bord du disque et le corps, la soupape se coince et il n'est pas toujours possible de la remettre en marche. Le plastique s'use plus vite, mais il ne se coince pas. À cet égard, il est plus fiable. Pas étonnant que certains fabricants de stations de pompage installent des clapets anti-retour avec des disques en plastique. Et en règle générale, tout fonctionne pendant 5 à 8 ans sans échec. Ensuite, le clapet anti-retour commence à "empoisonner" et il est changé.
Ce qui est indiqué sur l'étiquette
Quelques mots sur le marquage du clapet anti-retour. Il est dit:
- Type de
- Passe conditionnelle
- Pression nominale
-
GOST selon lequel il est fabriqué. Pour la Russie, il s'agit de GOST 27477-87, mais il n'y a pas que des produits nationaux sur le marché.
La réussite conditionnelle est désignée par DU ou DN. Lors du choix de ce paramètre, il est nécessaire de se concentrer sur d'autres raccords ou sur le diamètre du pipeline. Ils doivent correspondre. Par exemple, vous installerez un clapet anti-retour d'eau après une pompe submersible et un filtre. Les trois composants doivent avoir la même taille nominale. Par exemple, tous doivent être écrits DN 32 ou DN 32.
Quelques mots sur la pression conditionnelle.Il s'agit de la pression dans le système à laquelle les vannes restent opérationnelles. Vous devez le prendre exactement pas moins que votre pression de travail. Dans le cas des appartements - pas moins qu'un test. Selon la norme, il dépasse celui de travail de 50%, et dans des conditions réelles, il peut être beaucoup plus élevé. La pression de votre maison peut être obtenue auprès de la société de gestion ou des plombiers.
À quoi d'autre faire attention
Chaque produit doit être accompagné d'un passeport ou d'une description. Il indique la température de l'environnement de travail. Toutes les vannes ne peuvent pas fonctionner avec de l'eau chaude ou dans un système de chauffage. De plus, il indique dans quelle position ils peuvent travailler. Certains ne doivent se tenir qu'horizontalement, d'autres uniquement verticalement. Il en existe également des universels, par exemple, des disques. Par conséquent, ils sont populaires.
La pression d'ouverture caractérise la « sensibilité » de la vanne. Pour les réseaux privés, cela importe rarement. Sauf sur les lignes d'alimentation proches de la longueur critique.
Faites également attention au fil de connexion - il peut être interne ou externe. Choisissez en fonction de la facilité d'installation
N'oubliez pas la flèche qui indique le sens du mouvement de l'eau.
Dimensions des clapets anti-retour pour l'eau
La taille du clapet anti-retour pour l'eau est calculée en fonction de l'alésage nominal et ils sont libérés pour tout - même les diamètres de canalisation les plus petits ou les plus grands. Le plus petit est DN 10 (diamètre nominal 10 mm), le plus grand est DN 400. Ils sont du même calibre que tous les autres robinets d'arrêt : robinets, vannes, piquages... Une autre "taille" peut être attribuée à la pression conditionnelle. Le plus bas est de 0,25 MPa, le plus élevé est de 250 MPa.
Chaque entreprise produit des clapets anti-retour pour l'eau en plusieurs tailles.
Cela ne signifie pas que l'une des vannes sera dans n'importe quelle variante. Les tailles les plus populaires vont jusqu'au DN 40. Ensuite, il y a les principales, et elles sont généralement achetées par les entreprises. Vous ne les trouverez pas dans les magasins de détail.
Et pourtant, veuillez noter que pour différentes entreprises avec le même passage conditionnel, les dimensions extérieures de l'appareil peuvent différer. La longueur est claire
Ici, la chambre dans laquelle se trouve la plaque de verrouillage peut être plus grande ou plus petite. Les diamètres des chambres diffèrent également. Mais la différence dans la zone du filetage de raccordement ne peut être due qu'à l'épaisseur de la paroi. Pour les maisons privées, ce n'est pas si effrayant. Ici, la pression de travail maximale est de 4-6 atm. Et pour les immeubles de grande hauteur, cela peut être critique.
Comment vérifier
Le moyen le plus simple de tester un clapet anti-retour est de souffler dedans dans la direction qui le bloque. L'air ne doit pas passer. En général. Certainement pas. Essayez également d'appuyer sur la plaque. La tige doit se déplacer en douceur. Pas de clics, de frottements, de distorsions.
Comment tester un clapet anti-retour : souffler dedans et vérifier la douceur
Classement des vannes
L'équipement diffère par la conception, le matériau et la taille. Chacun a ses propres caractéristiques lors de l'installation.
Selon les caractéristiques de conception de l'appareil sont les suivantes:
- Avec élément de verrouillage de type levage. La vanne est équipée d'une vanne qui monte ou descend pour bloquer l'écoulement de l'eau. Lorsque le liquide entre, la pièce de verrouillage remonte et le dépasse. Lorsque la pression diminue, le volet descend et bloque le retour du jet d'eau. Le mouvement du mécanisme se produit à l'aide d'un ressort.
- Avec robinet à bille. Sous pression, la balle se déplace et l'eau s'écoule dans le système.Après la chute de pression, l'élément de blocage revient à sa place.
- Avec constipation discale. Le disque bloque le flux inverse grâce à un dispositif à ressort.
- Avec deux volets. Ils se replient sous la pression et lorsque la pression diminue, ils reviennent.
Dans la vie de tous les jours, les équipements dotés d'un mécanisme de type levage sont le plus souvent utilisés. Il est facile à réparer en remplaçant le ressort.
Les appareils sont fabriqués à partir de divers matériaux. Les éléments en laiton ne sont pas sujets à la corrosion, sont faciles à entretenir et s'installent sur tous les types de canalisations. Les dispositifs de verrouillage dans un boîtier en fonte ne sont pas utilisés si souvent. Ce matériau rouille, les dépôts s'y déposent assez rapidement. Ces vannes ne conviennent que pour les conduites larges.
La plupart des éléments sont montés à l'aide d'une connexion de couplage. Pour ce faire, vous aurez besoin de deux adaptateurs filetés, sélectionnés en fonction de la section transversale du système de canalisation. Des raccords à bride boulonnés peuvent également être utilisés. Ce type de fixation est utilisé pour les petits appareils lorsqu'il n'y a pas assez d'espace sur les tuyaux pour une autre fixation. Ils sont généralement équipés de vannes en fonte de grande section.
Le prix du produit dépend de la combinaison de ces paramètres, ainsi que de la marque. Le coût moyen est de 700 roubles.
Quelles sont les options pour les prises ?
La première chose que vous devez faire est de déterminer le prix. Il est nécessaire de bien comprendre ce que le consommateur reçoit pour son propre argent - la qualité des matériaux et de la fabrication, la conception ou la commodité supplémentaire.

Un indicateur de choix essentiel est la qualité du métal et de la fixation sous forme de fil. Pour comprendre la fiabilité du modèle sélectionné, assurez-vous de la résistance du matériau. Il vaudra mieux vérifier comment la prise est montée et démontée
Considérez plusieurs caractéristiques distinctives de la conception, le prix en dépend:
- la présence de débordement;
- type de gestion;
- motif;
- marque.
Le modèle doit être choisi en fonction du type d'évier. S'il n'a pas la capacité d'évacuer l'excès d'eau, installez une vanne de fond sans trop-plein. Une option consiste à remplacer le joint hydraulique par un beaucoup plus pratique.
En ce qui concerne le mécanisme de gestion, il est nécessaire de formuler clairement les objectifs. Si de l'eau est aspirée dans l'évier pour être lavée à la main, il est peu probable qu'elle soit excessivement polluée après utilisation. Les difficultés d'abaissement de la main vers la soupape à ressort n'apparaîtront pas.
Mais si vous envisagez de laver des chaussures contaminées ou des articles gras, il vaut mieux céder au dégoût naturel et acheter un appareil à levier.

La conception affecte le prix du produit. Compte tenu de la fourchette de prix, le trop-perçu pour l'excellente conception de la vanne de fond est faible. Grâce à cela, ne vous privez pas du plaisir de poser un beau bouchon sur l'évier
Le rôle de la marque est difficile à surestimer lors du choix des ferrures. La réputation d'une société commerciale n'est pas seulement, mais aussi un indicateur de la véritable qualité des marchandises. Avant d'acheter, il sera préférable de se familiariser avec les avis des clients, de prévoir leurs réclamations auprès des différents fabricants.
La vanne d'arrêt inférieure est un petit détail, mais elle peut livrer des minutes désagréables si elle tombe en panne rapidement. Il vaut mieux payer quelques centaines de roubles de plus et obtenir une bonne et belle prise qui durera quelques années sans dysfonctionnement.
Possibilités de connexion aux stations
Il existe deux manières de connecter la station de pompage au pipeline:
- À travers l'adaptateur de forage.Il s'agit d'un dispositif qui est une sorte d'adaptateur entre le tuyau d'arrivée d'eau dans le puits de la source et les conduites d'eau à l'extérieur. Grâce à l'adaptateur de forage, il est possible de tirer la ligne hors de la structure hydraulique immédiatement en dessous du point de congélation du sol et en même temps d'économiser sur la construction du caisson.
- Par la tête. Dans ce cas, vous devrez veiller à une isolation de haute qualité de la partie supérieure de la source. Sinon, la glace se formera ici à des températures inférieures à zéro. Le système cessera de fonctionner ou se cassera à l'un des endroits.
Procédure d'installation du système de vidange

Étant donné que l'installation de la vanne est inextricablement liée à l'installation du mélangeur, la séquence d'actions nécessaire doit être respectée :
Tout d'abord, des tuyaux sont posés reliant le mélangeur et la vanne de fond.
Le robinet est fixé sur l'évier, à des fins d'étanchéité, il est nécessaire d'avoir un joint en caoutchouc de la taille appropriée (vient généralement avec un robinet).
Ensuite, vous devez vérifier l'identité des diamètres des tuyaux et des tuyaux au niveau des joints. Si nécessaire, des connexions ennuyeuses sont réalisées
Cette procédure doit être effectuée avec soin, des morceaux de métal peuvent pénétrer à l'intérieur du mécanisme de vidange et entraîner sa défaillance prématurée.
Ensuite, les tuyaux et les tuyaux doivent être connectés les uns aux autres, pour cela des écrous spéciaux avec des joints en caoutchouc sont utilisés.
Une valve est insérée dans le trou de vidange, les rayons de montage doivent être fixés parallèlement les uns aux autres.
Enfin, les rayons sont reliés à la valve et au levier.
Il est important de savoir: avant d'utiliser le système installé, vous devez vérifier la fiabilité des tubes qui assurent l'écoulement de l'eau dans les égouts.
Lors du choix d'un évier ou d'un bidet, il sera utile de disposer d'un système dit de "vidange-débordement". Lors de l'installation d'une vanne de fond, un tel système est particulièrement nécessaire. Le fait est que lorsque le drain est bouché, le risque d'inonder la salle de bain augmente (ils ont tout simplement oublié de fermer le robinet).

Après avoir terminé les travaux d'installation et démarré l'eau, vous devez inspecter soigneusement toutes les connexions pour détecter d'éventuelles fuites. Si des fuites sont détectées, elles doivent être éliminées, sinon cela peut entraîner avec le temps des fuites plus graves.
Regardez la vidéo, qui montre clairement comment monter correctement la vanne de fond avec un mitigeur sur le lavabo suspendu de la salle de bain :
Conclusions et vidéo utile sur le sujet
Recommandations pour la sélection et l'installation d'un clapet anti-retour pour une pompe submersible :
En savoir plus sur la conception et le but :
À propos des nuances d'installation de la vanne dans la vidéo suivante:
Vous ne devriez pas parler de la nécessité d'installer des clapets anti-retour - cet appareil est obligatoire pour le fonctionnement stable du système d'alimentation en eau. Il est utilisé avec des pompes submersibles et de surface pour prolonger la durée de vie de l'équipement et protéger le système contre les accidents.
Avez-vous de l'expérience dans l'installation d'un clapet anti-retour? Ou souhaitez-vous demander conseil à nos experts ou à des utilisateurs plus expérimentés ? Posez vos questions, partagez votre propre opinion dans le bloc de commentaires sous cet article.
















































